Бесплатная техническая библиотека
Вращающаяся палитра. Секрет фокуса

Справочник / Эффектные фокусы и их разгадки
Комментарии к статье
Описание фокуса:
На мольберте укрепите фанеру. Включите механизм, чтобы она вращалась. Взяв в руки 5-6 кистей, нанесите мазок на фанеру, который увидят зрители. Продолжайте писать картину, нанося краски на вертящуюся, образующую сплошной мелькающий круг фанеру. Так, меняя кисти, наносите на палитру разноцветные мазки в течение одной-двух минут. Когда фанера остановится, зрители увидят, что на ней написан красивый этюд.
Секрет фокуса:
Секрет фокусазаключен в фанере, на которой заранее пишется масляными красками этюд. Краски должны быть яркими, а мазки крупными. Когда этюд хорошо просохнет, его нужно покрыть легким слоем грунта, сделанного на клейстерной основе. Грунт делается под цвет фанеры. Он должен хорошо держаться на этюде, но в то же время в нужный момент при малейшем нажиме кистью - отскакивать от палитры.
Кисти заранее окрашиваются в разные цвета. Из тюбиков же выдавливаются не краски, а ланолин с клеящим веществом. Окрашенные и высушенные кисти опускаются в ланолин с клеем, и ими наносятся мазки на вращающуюся фанеру. В том месте, где кисть прикасается к фанере, грунт отскакивает, оседая на кисти, и там образуется пятно - появляющийся из-под грунта этюд.
Из-за частого и быстрого нанесения резких мазков разными кистями снимается вся грунтовка. Краска берется кистями лишь для виду, а на самом деле снимается приставший к кисти грунт.

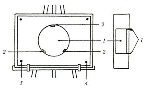
На рисунке показано приспособление для вращения фанеры: механизм с заводной пружиной (1); внутри четырехугольника находится круглый диск, сделанный по размеру фанеры; на нем видны скобки-зажимы (2), при помощи которых закрепляется и держится фанера; сбоку - слева на мольберте - находится кнопка (3), нажатием на которую приводится в действие автоспуск (как для фотографий); автоспуск "в работе" дает выдержку от 5 до 45 секунд - в зависимости от регулировки; после этого приводится в действие механизм, и диск начинает вращаться; для остановки вращающегося мольберта справа укреплена кнопка (4), которая приводит в действие стопорный механизм.
Рекомендуем интересные статьи раздела Эффектные фокусы и их разгадки:
▪ Волшебное обслуживание
▪ Фокус с левитацией
▪ Карта прибивается к стене
Смотрите другие статьи раздела Эффектные фокусы и их разгадки.
Читайте и пишите полезные комментарии к этой статье.
<< Назад
Последние новости науки и техники, новинки электроники:
Власть является ключевым фактором счастья в отношениях
11.03.2026
Исследования семейных и романтических отношений показывают, что длительное счастье пары зависит не только от привычных факторов, таких как доверие, уважение и преданность, но и от более тонких психологических аспектов. Современные ученые ищут закономерности, которые отличают действительно счастливые пары от остальных, чтобы понять, какие механизмы поддерживают гармонию в отношениях.
Группа исследователей из Университета Мартина Лютера в Галле-Виттенберге и Бамбергского университета провела опрос среди 181 пары, которые состояли в совместных отношениях более восьми лет и прожили вместе хотя бы месяц. Участники заполняли анкету, описывая различные аспекты своих отношений, включая распределение обязанностей, эмоциональную поддержку и степень вовлеченности в совместные решения.
Анализ данных показал интересный паттерн: пары, где оба партнера ощущали высокий уровень личной власти, оказывались наиболее счастливыми и удовлетворенными. В данном контексте под властью понимается способност ...>>
Защищенная колонка-повербанк Anker Soundcore Boom Go 3i
11.03.2026
Компания Anker представила новую модель линейки Soundcore - колонку Soundcore Boom Go 3i, ориентированную на активное использование на улице.
Новинка отличается высокой степенью защиты: корпус соответствует стандарту IP68, что обеспечивает водо- и пыленепроницаемость, а ударопрочный дизайн выдерживает падение с высоты до одного метра. За качество звука отвечает 15-ваттный драйвер, обеспечивающий пик громкости до 92 дБ, а технология BassUp 2.0 усиливает низкие частоты, делая звучание более насыщенным.
Колонка обладает автономностью до 24 часов, а LED-индикатор позволяет контролировать уровень заряда батареи. Кроме того, Soundcore Boom Go 3i может выполнять функцию павербанка: согласно внутренним тестам, устройство способно зарядить iPhone 17 с нуля до 40% за один час, что делает его полезным аксессуаром в походах и поездках.
Среди функциональных особенностей модели стоит выделить технологию Auracast, которая улучшает подключение и позволяет создавать стереопару из двух колонок ...>>
Раннее воздержание от алкоголя перестраивает мозг и иммунитет
10.03.2026
Алкогольная зависимость - хроническое расстройство с компульсивным употреблением спиртного, которое влияет не только на поведение, но и на функционирование мозга и иммунной системы. Недавние исследования показали, что даже на ранних этапах воздержания организм начинает перестраиваться, открывая новые возможности для терапии зависимости.
Ученые сосредоточились на пациентах, находящихся в первые недели абстиненции, и зафиксировали значительные изменения в мозговой активности. С помощью функциональной магнитно-резонансной томографии они выявили перестройку сетей нейронных связей, отвечающих за контроль импульсов и принятие решений. Эти изменения могут быть ключевыми для восстановления самоконтроля и снижения риска рецидива.
Одновременно с нейронной перестройкой исследователи наблюдали колебания иммунной системы. В крови повышался уровень цитокинов - сигнальных белков, регулирующих воспалительные процессы. Эти данные свидетельствуют о существовании нейроиммунного взаимодействия, при ...>>
Случайная новость из Архива Аккумулятор из медной пены
05.11.2013
Группа исследователей из Университета штата Колорадо близка к тому, чтобы создать прототип аккумулятора, который будет более экологически чистым и дешевым, в сравнении обычными батареями. Кроме того, новая батарея будет быстрее заряжаться и дольше работать.
По словам ученых, современные аккумуляторы имеют ряд проблем: высокая стоимость, ограниченная продолжительность работы, а также токсичные или коррозионные материалы, используемые в производстве. Но, по словам химика из Университета штата Колорадо Эми Прието (Amy Prieto), есть два основных вопроса, требующих немедленного решения: низкая плотность энергии и низкая плотность мощности.
Низкая плотность энергии означает, что обычные батареи смартфонов не могут содержать достаточно энергии, чтобы работать дольше 1-2 дней. А низкая плотность мощности означает, что аккумулятору для зарядки требуется несколько часов, а не несколько минут.
Группа ученых под руководством Прието пытается решить эти проблемы, подыскивая новые компоненты для аккумуляторов. В конце концов, исследователи применили пеномедь в качестве токоприемника на анодной стороне батареи. По словам ученых, пена - подходящая структура. Она объемная, увеличивает площадь поверхности электродов и притягивает их ближе друг к другу, что, в свою очередь, повышает плотность мощности батареи. Кроме того, сложные трехмерные структуры пены работают в качестве электрода более эффективно.
На верхней части медной пены с помощью гальванизации изготавливается анод из антимонида меди. В дальнейшем анод служит в качестве электрода для электрохимической реакции полимеризации, накапливающей твердый электролит. Наконец пространство внутри пены заполняется суспензией, которую высушивают для образования катода. Алюминиевая сетчатая структура собирает ток на катодной стороне.
Важно отметить, что группа исследователей из Университета штата Колорадо использует более дешевое гальваническое оборудование, в сравнении с тем, что используется при изготовлении обычных батарей. Прието говорит, что стоимость производства батарей из пеномеди будет примерно вдвое ниже стоимости производства обычных литий-ионных батарей. Группа также предполагает, что батареи из пеномеди будут при той же емкости на треть меньше литий-ионных. Зарядка будет происходить от 5 до 10 раз быстрее, а время работы вырастет примерно в 10 раз в сравнении с привычными аккумуляторами.
Новый аккумулятор также будет экологически чистым и безопасным. Твердый электролит снижает риск возникновения пожара. Кроме того, команда использовала нетоксичные вещества для производства батарей.
После успешного создания 2D-батареи на медной пластине исследователи приступили к интеграции всех компонентов в трехмерный прототип аккумулятора. Для первого тестирования будут использованы электрические велосипеды и портативная электроника.
|
Другие интересные новости:
▪ Фотокамера Polaroid 300
▪ Синтезировано естественное обезболивающее вещество
▪ Водопровод из пустыни
▪ Противомикробная пленка для бытовых поверхностей
▪ Китайские очки дополненной реальности
Лента новостей науки и техники, новинок электроники
Интересные материалы Бесплатной технической библиотеки:
▪ раздел сайта Инструменты и механизмы для сельского хозяйства. Подборка статей
▪ статья Играть в бирюльки. Крылатое выражение
▪ статья Откуда пошли голубой и желтый цвета украинского флага? Подробный ответ
▪ статья Организация навесной переправы. Советы туристу
▪ статья Цифровой мини-вольтметр с ЖКИ. Энциклопедия радиоэлектроники и электротехники
▪ статья Цветные огни. Химический опыт
Оставьте свой комментарий к этой статье:
Главная страница | Библиотека | Статьи | Карта сайта | Отзывы о сайте

www.diagram.com.ua
2000-2026