Áåñïëàòíàÿ òåõíè÷åñêàÿ áèáëèîòåêà
Òðàíñèâåð YES-97. Äðàéâåð âûõîäíîãî êàñêàäà. Ýíöèêëîïåäèÿ ðàäèîýëåêòðîíèêè è ýëåêòðîòåõíèêè

Ýíöèêëîïåäèÿ ðàäèîýëåêòðîíèêè è ýëåêòðîòåõíèêè / Â× óñèëèòåëè ìîùíîñòè
Êîììåíòàðèè ê ñòàòüå
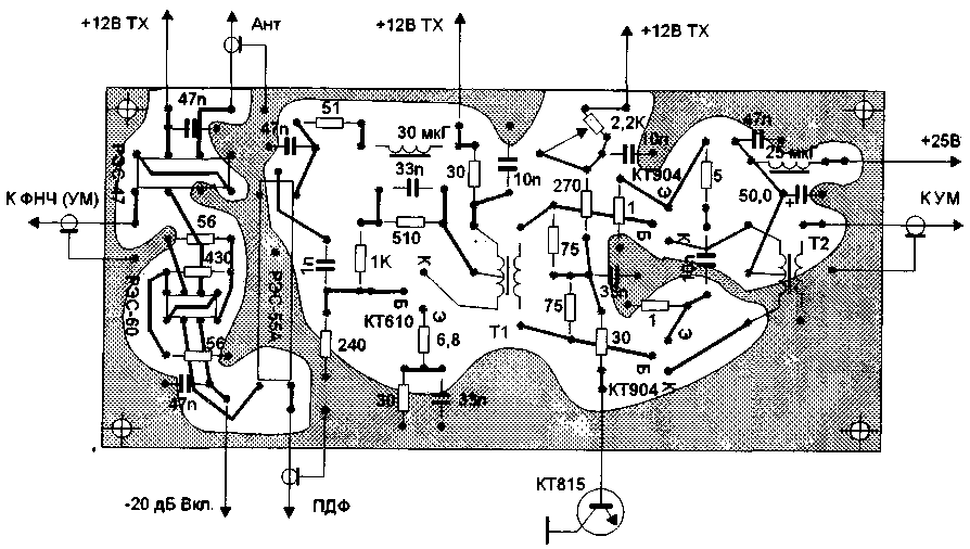
Ïðåäâàðèòåëüíûé óñèëèòåëü (äðàéâåð) áûë ñïåöèàëüíî ðàçðàáîòàí äëÿ óñèëèòåëÿ ìîùíîñòè òðàíñèâåðà "YES-97", íî ìîæåò áûòü ðåêîìåíäîâàí äëÿ èñïîëüçîâàíèÿ è â äðóãèõ ðàäèîëþáèòåëüñêèõ êîíñòðóêöèÿõ.
Îñíîâíàÿ çàäà÷à, ïîñòàâëåííàÿ ïðè åãî ðàçðàáîòêå, - óìåíüøèòü âåëè÷èíó ãàðìîíè÷åñêèõ ñîñòàâëÿþùèõ â ñïåêòðå âûõîäíîãî ñèãíàëà øèðîêîïîëîñíîãî óñèëèòåëÿ ìîùíîñòè, êîòîðûå, êàê ïðàâèëî, ÿâëÿþòñÿ ïðè÷èíîé TV1. Ïîýòîìó òðàíçèñòîðû â äðàéâåðå, òàêæå êàê è â âûõîäíîì êàñêàäå, âêëþ÷àþòñÿ ïî äâóõòàêòíîé ñõåìå, ðèñ.1.
Ðèñ.1 (íàæìèòå äëÿ óâåëè÷åíèÿ)
Äëÿ ïîëó÷åíèÿ íîìèíàëüíîé âûõîäíîé ìîùíîñòè íà âõîä äðàéâåðà ñ âûõîäà ïîëîñîâûõ äèàïàçîííûõ ôèëüòðîâ (ÏÄÔ) äîëæåí ïîäàâàòüñÿ ñèãíàë àìïëèòóäîé îêîëî 150 ì (ýôô. çíà÷åíèå), ïðè ýòîì äðàéâåð îáåñïå÷èâàåò âûõîäíîå íàïðÿæåíèå íà íàãðóçêå 50 Îì â ïîëîñå 1,5-30 ÌÃö îò 12 äî 15 (ýôô. çíà÷åíèå).
Íåêîòîðûå êîíñòðóêòèâíûå îñîáåííîñòè.
Âûõîäíûå òðàíçèñòîðû ÊÒ904 âïàèâàþòñÿ íåïîñðåäñòâåííî â ïå÷àòíóþ ïëàòó áîëòàìè ââåðõ, íà êîòîðûå âïîñëåäñòâèè ïðèâîðà÷èâàåòñÿ íåáîëüøîé ðàäèàòîð èç äþðàëþìèíèÿ ðàçìåðîì 20õ50õ5 ìì. Íà ýòîì æå ðàäèàòîðå óñòàíàâëèâàåòñÿ è òðàíçèñòîð ÊÒ815, ïðåäíàçíà÷åííûé äëÿ ñòàáèëèçàöèè òîêà ïîêîÿ (80 ìÀ) âûõîäíûõ òðàíçèñòîðîâ.
Ïîëíàÿ íàñòðîéêà äðàéâåðà çàêëþ÷àåòñÿ â óñòàíîâêå òîêà ïîêîÿ âûõîäíûõ òðàíçèñòîðîâ, êîòîðûé âûñòàâëÿåòñÿ ïîäñòðîå÷íûì ðåçèñòîðîì R10. Àìëèòóäíî-÷àñòîòíàÿ õàðàêòåðèñòèêà â îáëàñòè âûñîêèõ ÷àñòîò âñåãî óñèëèòåëÿ ìîæåò áûòü ïîäêîððåêòèðîâàíà êîíäåíñàòîðîì Ñ7.
Òðàíñôîðìàòîð Ò1 íàìîòàí íà ôåððèòîâîì êîëüöå ïðîíèöàåìîñòüþ 1000ÍÍ òèïîðàçìåðîì Ê10 õ 6 õ 5 ïðîâîäîì ÏÝËØÎ-0,31 è ñîäåðæèò 2 õ 8 è 3 âèòêà.
Òðàíñôîðìàòîð Ò2 íàìîòàí íà ôåððèòîâîì êîëüöå ïðîíèöàåìîñòüþ 600ÍÍ òèïîðàçìåðîì Ê10õ7õ12 ïðîâîäîì ÏÝËØÎ 0,31 è ñîäåðæèò 2õ8 âèòêà. Ïå÷àòíàÿ ïëàòà ñäåëàíà èç ôîëüãèðîâàííîãî ñòåêëîòåêñòîëèòà 120 õ 55 ìì, ðèñ.2.
Àâòîð: Ã. Áðàãèí, RZ4HK, ã. ×àïàåâñê; Ïóáëèêàöèÿ: Í. Áîëüøàêîâ, rf.atnn.ru
Ñìîòðèòå äðóãèå ñòàòüè ðàçäåëà Â× óñèëèòåëè ìîùíîñòè.
×èòàéòå è ïèøèòå ïîëåçíûå êîììåíòàðèè ê ýòîé ñòàòüå.
<< Íàçàä
Ïîñëåäíèå íîâîñòè íàóêè è òåõíèêè, íîâèíêè ýëåêòðîíèêè:
Ïèòîìöû êàê ñòèìóëÿòîð ðàçóìà
06.10.2025
Ïîìèìî ýìîöèîíàëüíîé ïîääåðæêè, äîìàøíèå ïèòîìöû ìîãóò îêàçûâàòü çàìåòíîå âîçäåéñòâèå íà êîãíèòèâíûå ïðîöåññû, îñîáåííî ó ïîæèëûõ ëþäåé. Íîâîå ìàñøòàáíîå èññëåäîâàíèå ïîêàçàëî, ÷òî îáùåíèå ñ êîøêàìè è ñîáàêàìè íå ïðîñòî óëó÷øàåò íàñòðîåíèå - îíî äåéñòâèòåëüíî ñïîñîáñòâóåò çàìåäëåíèþ âîçðàñòíîãî ñíèæåíèÿ óìñòâåííûõ ñïîñîáíîñòåé.
Ðàáîòà ïðîâîäèëàñü â ðàìêàõ ïðîåêòà Survey of Health, Ageing and Retirement in Europe (SHARE), îõâàòûâàþùåãî ïåðèîä ñ 2004 ïî 2022 ãîä.  èññëåäîâàíèè ïðèíÿëè ó÷àñòèå òûñÿ÷è åâðîïåéöåâ ñòàðøå 50 ëåò. Àíàëèç ïîêàçàë, ÷òî âëàäåëüöû äîìàøíèõ æèâîòíûõ äåìîíñòðèðóþò áîëåå óñòîé÷èâûå êîãíèòèâíûå ôóíêöèè ïî ñðàâíåíèþ ñ òåìè, êòî íå äåðæèò ïèòîìöåâ. Îñîáåííî âûðàæåí ýôôåêò îêàçàëñÿ ó âëàäåëüöåâ êîøåê è ñîáàê.
Ñîãëàñíî äàííûì ó÷åíûõ, âëàäåëüöû ñîáàê äîëüøå ñîõðàíÿþò õîðîøóþ ïàìÿòü, â òî âðåìÿ êàê õîçÿåâà êîøåê ìåäëåííåå òåðÿþò ñïîñîáíîñòü ê áûñòðîìó ðå÷åâîìó âçàèìîäåéñòâèþ. Èññëåäîâàòåëè ñâÿçûâàþò ýòî ñ òåì, ÷òî åæåäíåâíîå âçàèìîäåéñòâèå ñ æèâîòíûìè òðåáóåò âíèìàíè ...>>
Ìèíè-ÏÊ ExpertCenter PN54-S1
06.10.2025
Êîìïàíèÿ ASUSTeK Computer ïðåçåíòîâàëà íîâûé ìèíè-êîìïüþòåð ASUS ExpertCenter PN54-S1. Óñòðîéñòâî îðèåíòèðîâàíî íà ïîëüçîâàòåëåé, êîòîðûì âàæíî ñî÷åòàíèå ïðîèçâîäèòåëüíîñòè, ýíåðãîýôôåêòèâíîñòè è óíèâåðñàëüíîñòè - îò îôèñíûõ çàäà÷ äî ìóëüòèìåäèéíûõ ïðîåêòîâ.
 îñíîâå ExpertCenter PN54-S1 ëåæèò ñîâðåìåííàÿ àïïàðàòíàÿ ïëàòôîðìà AMD Hawk Point, èñïîëüçóþùàÿ àðõèòåêòóðó Zen 4. Ýòî ïîêîëåíèå ÷èïîâ îòëè÷àåòñÿ óëó÷øåííûì óïðàâëåíèåì ýíåðãîïîòðåáëåíèåì è ïîâûøåííîé âû÷èñëèòåëüíîé ìîùíîñòüþ. Íîâèíêà äîñòóïíà â êîíôèãóðàöèÿõ ñ ïðîöåññîðàìè Ryzen 7260, Ryzen 5220 è Ryzen 5210, ïðåäñòàâëåííûõ AMD â íà÷àëå 2025 ãîäà. Òàêèì îáðàçîì, óñòðîéñòâî îõâàòûâàåò øèðîêèé äèàïàçîí çàäà÷ - îò áàçîâûõ îôèñíûõ äî ðåñóðñîåìêèõ âû÷èñëåíèé.
Êîðïóñ ìèíè-ÏÊ âûïîëíåí èç ïðî÷íîãî àëþìèíèÿ è èìååò ðàçìåðû 130×130×34 ìì, ÷òî äåëàåò åãî ïðàêòè÷åñêè íåçàìåòíûì íà ðàáî÷åì ñòîëå èëè çà ìîíèòîðîì. Íåñìîòðÿ íà êîìïàêòíîñòü, âíóòðåííÿÿ êîìïîíîâêà ïîçâîëÿåò óñòàíîâèòü äâà ìîäóëÿ îïåðàòèâíîé ïàìÿòè SO-DIMM ...>>
Ãëàçíûå êàïëè, âîçâðàùàþùèå ìîëîäîñòü çðåíèþ
05.10.2025
Ñ âîçðàñòîì ÷åëîâå÷åñêèé ãëàç ïîñòåïåííî òåðÿåò ñïîñîáíîñòü ÷åòêî âèäåòü íà áëèçêîì ðàññòîÿíèè - ðàçâèâàåòñÿ ïðåñáèîïèÿ, èëè âîçðàñòíàÿ äàëüíîçîðêîñòü. Ýòîò åñòåñòâåííûé ïðîöåññ ñâÿçàí ñ óòðàòîé ýëàñòè÷íîñòè õðóñòàëèêà è îñëàáëåíèåì öèëèàðíîé ìûøöû, îòâå÷àþùåé çà ôîêóñèðîâêó. Ìèëëèîíû ëþäåé ïî âñåìó ìèðó ñòàëêèâàþòñÿ ñ íåîáõîäèìîñòüþ íîñèòü î÷êè äëÿ ÷òåíèÿ èëè ïðèáåãàþò ê õèðóðãè÷åñêèì ìåòîäàì êîððåêöèè. Îäíàêî èññëåäîâàòåëè èç Öåíòðà ïåðåäîâûõ èññëåäîâàíèé ïðåñáèîïèè â Áóýíîñ-Àéðåñå ïðåäñòàâèëè ðåøåíèå, êîòîðîå ìîæåò ñòàòü óäîáíîé è íåèíâàçèâíîé àëüòåðíàòèâîé - ñïåöèàëüíûå ãëàçíûå êàïëè, ñïîñîáíûå óëó÷øàòü çðåíèå íà äëèòåëüíûé ñðîê.
Ðàçðàáîòêó âîçãëàâèëà Äæîâàííà Áåíîööè, äèðåêòîð Öåíòðà. Ïî åå ñëîâàì, öåëü èññëåäîâàíèÿ ñîñòîÿëà â òîì, ÷òîáû ïðåäîñòàâèòü ïàöèåíòàì ñ ïðåñáèîïèåé ýôôåêòèâíûé è áåçîïàñíûé ñïîñîá êîððåêöèè çðåíèÿ áåç õèðóðãè÷åñêîãî âìåøàòåëüñòâà. Íîâûå êàïëè, ñîçäàííûå íà îñíîâå ïèëîêàðïèíà è äèêëîôåíàêà, ïîêàçàëè óáåäèòåëüíûå ðåçóëüòàòû: óæå ÷åðåç ÷àñ ïîñëå ïåðâîãî ïð ...>>
Ñëó÷àéíàÿ íîâîñòü èç Àðõèâà Íîâûé ìàòåðèàë ëîâèò ìîëåêóëû óãëåêèñëîãî ãàçà
20.10.2019
Èññëåäîâàòåëè èç Óíèâåðñèòåòà Êèîòî, Óíèâåðñèòåòà Òîêèî (ßïîíèÿ) è Óíèâåðñèòåòà Öçÿíñó (Êèòàé) ðàçðàáîòàëè íîâûé ìàòåðèàë, êîòîðûé ìîæåò èçáèðàòåëüíî çàõâàòûâàòü ìîëåêóëû óãëåêèñëîãî ãàçà (CO2) è ýôôåêòèâíî ïðåâðàùàòü èõ â ïîëåçíûå îðãàíè÷åñêèå ìàòåðèàëû.
Íîâûé ìàòåðèàë ïðåäñòàâëÿåò ñîáîé ïîðèñòûé êîîðäèíàöèîííûé ïîëèìåð (PCP, òàêæå èçâåñòíûé êàê MOF, ìåòàëë-îðãàíè÷åñêèé êàðêàñ) - êàðêàñ, ñîñòîÿùèé èç èîíîâ ìåòàëëà öèíêà. Èññëåäîâàòåëè ïðîâåðèëè ñâîé ìàòåðèàë ñ ïîìîùüþ ðåíòãåíîñòðóêòóðíîãî àíàëèçà è îáíàðóæèëè, ÷òî îí ìîæåò èçáèðàòåëüíî çàõâàòûâàòü òîëüêî ìîëåêóëû CO2 ñ äåñÿòèêðàòíîé ýôôåêòèâíîñòüþ ïî ñðàâíåíèþ ñ äðóãèìè PCP.
Ïîòðåáëåíèå ÷åëîâåêîì èñêîïàåìîãî òîïëèâà ïðèâåëî ê óâåëè÷åíèþ ãëîáàëüíûõ âûáðîñîâ CO2, ÷òî ïðèâåëî ê ñåðüåçíûì ïðîáëåìàì, ñâÿçàííûì ñ ãëîáàëüíûì ïîòåïëåíèåì è èçìåíåíèåì êëèìàòà. Îäèí èç ñïîñîáîâ, êîòîðûé ïîìîæåò ýòîìó ïðîòèâîñòîÿòü, - "óäàëèòü" óãëåðîä èç àòìîñôåðû, íî ñîâðåìåííûå ìåòîäû ïîäîáíîé "î÷èñòêè" î÷åíü ýíåðãîåìêè. Íèçêàÿ ðåàêöèîííàÿ ñïîñîáíîñòü óãëåêèñëîãî ãàçà çàòðóäíÿåò åãî óëàâëèâàíèå è ïðåîáðàçîâàíèå.
Êàê íîâûé ìàòåðèàë ñõâàòûâàåò ìîëåêóëû óãëåêèñëîãî ãàçà? Ó íåãî åñòü îðãàíè÷åñêèé êîìïîíåíò ñ ìîëåêóëÿðíîé ñòðóêòóðîé, ïîõîæåé íà ïðîïåëëåð: êîãäà ìîëåêóëû CO2 ïðèáëèæàþòñÿ ê ìàòåðèàëó, ýòè "ïðîïåëëåðû" âðàùàþòñÿ è ïåðåñòðàèâàþòñÿ, ÷òîáû îáåñïå÷èòü çàõâàò ÑÎ2, ÷òî ïðèâîäèò ê íåáîëüøèì èçìåíåíèÿì â ìîëåêóëÿðíûõ êàíàëàõ â PCP. Ìàòåðèàë äåéñòâóåò êàê ìîëåêóëÿðíîå ñèòî, ñïîñîáíîå ðàñïîçíàâàòü ìîëåêóëû óãëåêèñëîãî ãàçà ïî ðàçìåðó è ôîðìå. Âàæíîå ïðåèìóùåñòâî PCP: åãî ìîæíî ïåðåðàáàòûâàòü è èñïîëüçîâàòü ïîâòîðíî. Âî âðåìÿ ýêñïåðèìåíòîâ ýôôåêòèâíîñòü íå ñíèæàëàñü äàæå ïîñëå äåñÿòè ðåàêöèîííûõ öèêëîâ.
È èç ïîéìàííûõ ìîëåêóë óãëåêèñëîãî ãàçà òîæå ìîæíî èçâëå÷ü âûãîäó: äèîêñèä óãëåðîäà ìîæíî ïåðåðàáîòàòü â öåííûå õèìè÷åñêèå âåùåñòâà, òàêèå êàê öèêëè÷åñêèå êàðáîíàòû, êîòîðûå ìîæíî èñïîëüçîâàòü â íåôòåõèìèè è ôàðìàöåâòèêå.
|
Äðóãèå èíòåðåñíûå íîâîñòè:
▪ Èçâëå÷åíèå ðåäêèõ ìåòàëëîâ ñ ïîìîùüþ áàêòåðèé
▪ Ìîäèôèöèðîâàííûé ïåðîêñèä âîäîðîäà âìåñòî àíòèáèîòèêîâ
▪ Êîìôîðò è ñóõîñòü äëÿ ñàìîëåòà
▪ Ëèòèé-èîííûé òðàíçèñòîð ñ òâåðäûì ýëåêòðîëèòîì
▪ Óñòàíîâëåí ðåêîðä ïî çàïóñêàì â êîñìîñ
Ëåíòà íîâîñòåé íàóêè è òåõíèêè, íîâèíîê ýëåêòðîíèêè
Èíòåðåñíûå ìàòåðèàëû Áåñïëàòíîé òåõíè÷åñêîé áèáëèîòåêè:
▪ ðàçäåë ñàéòà Ïðåäâàðèòåëüíûå óñèëèòåëè. Ïîäáîðêà ñòàòåé
▪ ñòàòüÿ Þðãåí Õàáåðìàñ. Çíàìåíèòûå àôîðèçìû
▪ ñòàòüÿ Ãäå çàïðåùåíî ãëàäèòü äåòåé ïî ãîëîâå? Ïîäðîáíûé îòâåò
▪ ñòàòüÿ Âîäîëàç ñòðàõóþùèé. Òèïîâàÿ èíñòðóêöèÿ ïî îõðàíå òðóäà
▪ ñòàòüÿ Ïðîñòîé ðåãóëÿòîð òîêà ñâàðî÷íîãî òðàíñôîðìàòîðà. Ýíöèêëîïåäèÿ ðàäèîýëåêòðîíèêè è ýëåêòðîòåõíèêè
▪ ñòàòüÿ Ìèêðîñõåìû Ê174ÕÀ2 è Ê174ÓÐ3. Ýíöèêëîïåäèÿ ðàäèîýëåêòðîíèêè è ýëåêòðîòåõíèêè
Îñòàâüòå ñâîé êîììåíòàðèé ê ýòîé ñòàòüå:
Ãëàâíàÿ ñòðàíèöà | Áèáëèîòåêà | Ñòàòüè | Êàðòà ñàéòà | Îòçûâû î ñàéòå

www.diagram.com.ua
2000-2025