Бесплатная техническая библиотека
Антенный усилитель. Энциклопедия радиоэлектроники и электротехники

Энциклопедия радиоэлектроники и электротехники / Антенные усилители
Комментарии к статье
Предложенный в [1] усилитель на полевом транзисторе с барьером Шоттки (ПТШ) был опробован для приема слабых ТВ сигналов и показал фантастические результаты. Так, еле различимое изображение 9-го канала Каменск-Шахтинского ретранслятора (100 км) при подключении данного усилителя восстанавливалось почти до нормального. Для примера, двухкаскадный усилитель на транзисторах КТ3132 не давал даже близко такого эффекта.

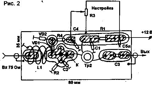
Адаптированная для приема TV схема показана на рис.1. Усилитель является резонансным и перестраивается от 6-го до 12-го каналов резистором R3. Катушка LI - бескаркасная и содержит 5 витков провода ПЭВ 0,7 на оправке диаметром 7 мм. Отвод - от 1-го витка снизу. Надо сказать, что ПТШ очень чувствительны к статическому электричеству, наводкам сети и перегрузкам по входу. Хотя затвор транзистора и соединен с корпусом через катушку L1, попадание на вход X1 даже очень небольшого заряда (от расчески например) вызывает его пробой. Поэтому рискованно подключать случайные антенны, особенно с разрезным вибратором. Центральная жила питающего кабеля должна быть соединена по постоянному току с экраном, а он, в свою очередь, - с несущей мачтой. Печатная плата усилителя показана на рис.2.

Усилитель можно изготовить широкополосным (рис.3), включив на вход широкополосный трансформатор Т1 с коэффициентом трансформации 1:9. Т2 предназначен для согласования выходного сопротивления усилителя с сопротивлением кабеля, что повышает КПД по сравнению с включением, показанным на рис.1. В усилителе не обязательно применять мощные ПТШ как в [1], вместо них почти так же хорошо работают такие как ЗП325 (АП325). Трансформатор Т1 намотан на кольце К7х4х2 100 НН и содержит 4 витка в три провода ПЭВ 0,2. Т2 - на таком же сердечнике 4 витка в два провода. В обеих схемах К - ферритовая бусинка, одетая на вывод стока для предотвращения самовозбуждения на СВЧ.

Для эксперимента можно заменить ПТШ на обычный малошумящий ПТ КП312А (с соответствующей коррекцией R1 и R2). Разница в работе более чем убедительна.
Литература
1. S.Franklin (WВ5KGL), Радиолюбитель. - 1992. - N3. - С.46 - 47.
Автор: А.Рыжкин; Публикация: cxem.net
Смотрите другие статьи раздела Антенные усилители.
Читайте и пишите полезные комментарии к этой статье.
<< Назад
Последние новости науки и техники, новинки электроники:
Рыжий ген и ускоренная эволюция
30.04.2026
Вопрос о том, как и насколько быстро меняется человеческий вид, давно занимает биологов и генетиков. Долгое время считалось, что эволюционные процессы происходят крайне медленно, однако новые данные заставляют пересматривать эти представления. Особенно интересные результаты связаны с изменением частоты редких генетических признаков, включая рыжий цвет волос.
Рыжеволосость сегодня остается редкой чертой: ее носители составляют менее 2 процентов мирового населения. Однако анализ древней и современной ДНК показывает, что ген, связанный с этим признаком, за последние примерно 10 тысяч лет стал заметно более распространенным, особенно среди популяций Европы. Более того, вместе с ним исследователи фиксируют и другие изменения в генетическом профиле человека, затрагивающие внешность и физиологические особенности.
Среди сопутствующих тенденций, выявленных в генетических данных, отмечается увеличение частоты светлой кожи, снижение вероятности мужского облысения, а также некоторые физиолог ...>>
Нейтринный лазер
30.04.2026
Нейтринный лазер - это гипотетическое устройство, способное управлять потоками одних из самых трудноуловимых частиц во Вселенной. Такая разработка открывает новые горизонты в изучении фундаментальных законов природы и может изменить представления о космосе.
Идею нового типа излучателя представили физики из Massachusetts Institute of Technology, предложив лазер, который вместо света генерирует поток нейтрино. Эти частицы, почти не взаимодействующие с материей, настолько слабо проявляют себя, что их часто называют "частицами-призраками". Тем не менее они пронизывают все вокруг: по оценкам, триллионы нейтрино ежесекундно проходят через человеческое тело, не оставляя следа.
Несмотря на их колоссальную распространенность во Вселенной, нейтрино остаются одними из наименее изученных частиц. Их крайне сложно регистрировать, а еще сложнее контролировать, поэтому традиционно их получают в крупных установках вроде ядерных реакторов или ускорителей частиц. Такие комплексы требуют огромных за ...>>
Мороженое не такое вредное, как принято считать
29.04.2026
В питании часто встречаются продукты, которые одновременно вызывают удовольствие и сомнения с точки зрения здоровья. К таким относится и мороженое: оно воспринимается как типичный десерт с высоким содержанием сахара и жиров, однако современные научные данные постепенно усложняют это привычное представление.
Долгое время считалось, что мороженое не может быть частью рационального питания, однако исследования последних лет показывают более неоднозначную картину. Ученые подчеркивают, что влияние этого продукта на организм зависит не только от его сладости или калорийности, но и от состава, качества ингредиентов и общего образа жизни человека.
Одни из наиболее масштабных данных были получены в рамках долгосрочных наблюдений в США, включавших проекты Nurses Health Study, Nurses Health Study II и Health Professionals Follow-Up Study. В этих исследованиях на протяжении 20-40 лет наблюдали примерно 190 тысяч взрослых участников, регулярно собирая данные об их питании, физической активнос ...>>
Случайная новость из Архива Сыр из водорослей
20.11.2021
Сингапурская компания, занимающаяся производством продуктов питания, создала из белковой муки и микроводорослей настоящий веганский сыр. Его можно есть твердым или расплавить в микроволновке, а по вкусу он напоминает чеддер.
Биотехнологическая компания из Сингапура Sophie's BioNutrients занимается "устойчивым" созданием продуктов питания, то есть, уделяет особое внимание экологичности своего производства. В начале этого года они объявили, что разрабатывают богатый белком сыр из фотосинтетических микроводорослей, в котором будет полностью отсутствовать животный белок. И на днях компания сообщила, что их новый продукт, наконец, готов. В мае этого года они представили безлактозное молоко из этих же водорослей, а до этого - протеиновую муку.
"Микроводоросли - это один из самых богатых питательными веществами ресурс на планете, - рассказал Юджин Ван, соучредитель и генеральный директор компании Sophie's BioNutrients. - Мы показали как еще можно использоваться этот суперпродукт - он может стать основой нового безлактозного сыра. При этом в микроводорослях содержится много белка, и такой веганский сыр содержит больше питательных веществ, чем аналоги".
Сыры без животного белка уже в большом количестве представлены на рынке, но в большинстве случаев их вкус оставляет желать лучшего. Создатели нового продукта утверждают, что их сыр имеет насыщенный вкус белка (умами) и даже напоминает чеддер.
Кроме водорослей в состав такого сыра входит и белковая мука, которую также ранее разработала Sophie's BioNutrients. Этот веганский продукт будет производиться в двух видах - привычными полутвердыми кусочками и в виде так называемого "сырного масла" - безлактозного заменителя сливочного масла. Его можно будет нарезать ломтиками, расплавить в микроволновке, добавить в бутерброд или намазать на хлеб. Одна порция (примерно 28 граммов) такого сыра содержит двойную суточную норму витамина В12.
Сингапурская компания выращивает эти фотосинтетические микроводоросли в специальных биореакторах. В естественной среде они обитают как в пресной, так и в соленой воде - для жизни и питания им необходим углекислый газ и источник света. Такие микроводоросли являются отличным источником аминокислот, жирных кислот, витаминов, минералов и антиоксидантов. Их также используют в кормах для рыб.
|
Другие интересные новости:
▪ Многорежимная технология беспроводной связи для сетей датчиков
▪ Windows перестала быть самой популярной ОС
▪ Новый пассажирский Ford Tourneo Custom
▪ Электронный браслет Jawbone UP следит за здоровьем
▪ Комнатные растения и воздух в помещении
Лента новостей науки и техники, новинок электроники
Интересные материалы Бесплатной технической библиотеки:
▪ раздел сайта Должностные инструкции. Подборка статей
▪ статья Эммануил Сведенборг. Знаменитые афоризмы
▪ статья Как древнегреческие проститутки использовали обувь для рекламы своих услуг? Подробный ответ
▪ статья Обивщик гробов. Типовая инструкция по охране труда
▪ статья Простокваша. Простые рецепты и советы
▪ статья Экономичный импульсный блок питания, 220/2х25 вольт 3,5 ампер. Энциклопедия радиоэлектроники и электротехники
[an error occurred while processing this directive]
Оставьте свой комментарий к этой статье:
Главная страница | Библиотека | Статьи | Карта сайта | Отзывы о сайте

www.diagram.com.ua
2000-2026