Menu Home

Бесплатная техническая библиотека для любителей и профессионалов Бесплатная техническая библиотека


Основы теории синтезаторов частоты. Энциклопедия радиоэлектроники и электротехники

Бесплатная техническая библиотека

Энциклопедия радиоэлектроники и электротехники / Синтезаторы частоты

Комментарии к статье Комментарии к статье

Введение

Система фазовой автоподстройки частоты (ФАПЧ) представляет собой широко используемый своеобразный узел, который выпускается некоторыми фирмами в виде отдельной ИМС. ФАПЧ содержит фазовый детектор, усилитель и генератор, управляемый напряжением (ГУН), и представляет собой сочетание аналоговой и цифровой техники. Мы вкратце рассмотрим применения ФАПЧ для тонального декодирования, демодуляции AM- и ЧМ-сигналов, умножения частоты, частотного синтеза, тактовой синхронизации сигналов в условиях помех (например, в магнитной записи) и восстановления сигналов.

Существует традиционное предубеждение против ФАПЧ, которое отчасти связано со сложностью реализации ФАПЧ на дискретных компонентах, а отчасти основано на мнении, что ФАПЧ не может достаточно надежно работать. Однако появление в настоящее время большого числа недорогих и простых в использовании устройств ФАПЧ позволяет быстро устранить первое препятствие для их широкого применения. Если устройство ФАПЧ правильно спроектировано и используется не на предельных параметрах, оно является таким же надежным схемным элементом, как операционный усилитель или триггер.

Основы теории синтезаторов частоты
Рис.1. Схема фазовой автоподстройки частоты.

Классическая схема ФАПЧ приведена на рис.1. Фазовый детектор сравнивает частоты двух входных сигналов и генерирует выходной сигнал, который является мерой их фазового рассогласования (если, например, они различаются по частоте, то будет формироваться периодический выходной сигнал разностной частоты). Если частоты fвх и fгун не равны друг другу, то сигнал фазового рассогласования после фильтрации и усиления будет воздействовать на ГУН, приближая частоту fгун к fвх. В нормальном режиме ГУН быстро производит "захват" частоты fвх, поддерживая постоянный фазовый сдвиг по отношению к входному сигналу.

Поскольку после фильтрации выходной сигнал фазового детектора представляет собой постоянное напряжение, а управляющий сигнал ГУН является мерой входной частоты, совершенно очевидно, что ФАПЧ можно применять для ЧМ-детектирования и тонального декодирования (при цифровой передаче по телефонному каналу). Выход ГУН формирует сигнал с частотой fвх; при этом он представляет собой "очищенную" копию сигнала fвх, который сам по себе может быть подвержен воздействию помех. Поскольку выходной периодический сигнал ГУН может иметь любую форму треугольную, синусоидальную и т. п.), это дает возможность формировать, скажем, синусоидальный сигнал, синхронизированный с последвательностью входных импульсов.

Часто в схемах ФАПЧ используют счетчик по модулю п, включенный между выходом ГУН и фазовым детектором. При помощи этого счетчика получают частоту, кратную входной опорной частоте fax. Это удобно для формирования тактовых импульсов, кратных сетевой частоте в интегрирующих преобразователях (двухстадийные или с уравновешиванием заряда), с целью подавления сетевых помех. На основе подобных схем строятся также и частотные синтезаторы.

Компоненты устройства ФАПЧ

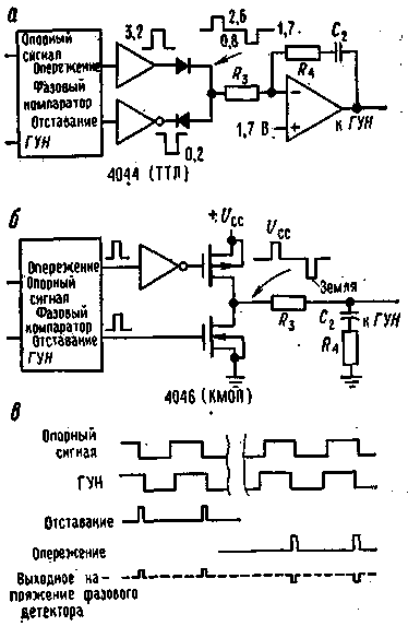
Фазовый детектор. В настоящее время существуют два основных типа фазовых детекторов, которые иногда называют тип 1 и тип 2. Детектор типа 1 работает с аналоговыми или цифровыми сигналами прямоугольной формы, а детектор типа 2 оперирует цифровыми переключениями (фронтами). Представителями типа 1 являются ИМС565 (линейный) и 4044 (ТТЛ), типа 2-4046 (КМОП).

Простейший фазовый детектор типа 1 (цифровой) - это вентиль Исключающее ИЛИ, схема которого приведена на рис.2. На этом же рисунке изображена зависимость выходного напряжения детектора (после низкочастотной фильтрации) от разности фаз для входных прямоугольных сигналов с коэффициентом заполнения, равным 50%. Фазовый детектор типа 1 (линейный) имеет аналогичные фазовые характеристики, хотя он строится на основе "четырехквадратного" умножителя, известного также под названием "балансного смесителя". Фазовые детекторы данного типа обладают высокой линейностью и используются для синхронного детектирования.

Основы теории синтезаторов частоты
Рис.2. Фазовый детектор (тип 1), выполненный по схеме Исключающее ИЛИ.

Фазовые детекторы типа 2 чувствительны только к относительному положению фронтов входного сигнала и сигнала на выходе ГУН, Как это показано на рис.3. В зависимости от того, до или после возникновения фронта опорного сигнала появится фронт выходного сигнала ГУН, на выходе фазового компаратора будут формироваться импульсы опережения или отставания соответственно.

Основы теории синтезаторов частоты
Рис.3. Фазовый детектор (тип 2) опережения - отставания, работающий "по фронтам".

Длительность этих импульсов, как показано на рисунке, равна интервалу времени между фронтами соответствующих сигналов. Во время действия импульсов опережения или отставания выходная схема соответственно отводит или отдает ток, а получаемое на выходе среднее напряжение зависит от разности фаз, как показано на рис.4. Работа данной схемы совершенно не зависит от скважности входных сигналов (в отличие от рассмотренной выше схемы фазового компаратора типа 1). Еще одно преимущество заключается в полном отсутствии выходного сигнала в случае, когда входные сигналы находятся в синхронизме. Это означает, что на выходе отсутствуют "пульсации", из-за которых в фазовых детекторах типа 1 происходит периодическая фазовая модуляция.

Основы теории синтезаторов частоты
Рис.4.

Приведем сравнительные характеристики двух основных типов фазовых детекторов:

Таблица 1
ХарактеристикаТип 1 Тип 2
Исключающее ИЛИ Срабатывание по фронту ("накачка заряда")
Коэффициент заполнения входного сигнала Оптимально 50% Не играет роли
Синхронизация по гармоникам Да Нет
Подавление помех Хорошее Плохое
Остаточная пульсация двойной частоты 2fвх Большая Малая
Диапазон синхронизации (слежения), L Весь диапазон ГУН Весь диапаэон ГУН
Диапазон захвата aL(a<1) L
Выходная частота при рассинхронизации fцентр fмин

Имеется еще одно различие между фазовыми детекторами этих двух типов. Выходной сигнал детектора типа 1 всегда требует последующей фильтрации в контуре регулирования (более подробно об этом см. ниже). Таким образом, в ФАПЧ с детектором типа 1 контурный фильтр действует, как фильтр низкой частоты, сглаживающий логические сигналы полной амплитуды. При этом всегда присутствуют остаточные пульсации, результатом которых являются периодические фазовые колебания. В схемах, где ФАПЧ используется для умножения или синтеза частот, это приводит к "боковой фазовой модуляции" выходного сигнала.

Детектор типа 2, напротив, формирует выходные импульсы только тогда, когда есть фазовое рассогласование между опорным сигналом и сигналом ГУН. Если рассогласование отсутствует, выход детектора ведет себя как разомкнутая схема, а конденсатор контурного фильтра действует как запоминающее устройство, сохраняя напряжение, при котором ГУН поддерживает необходимую частоту. Если изменится частота опорного сигнала, фазовый детектор сформирует последовательность коротких импульсов, которые зарядят (или разрядят) конденсатор до нового напряжения, необходимого для возврата ГУН в синхронизм.

Генераторы, управляемые напряжением. Важной составной частью систем фазовой автоподстройки является генератор, частотой которого можно управлять с выхода фазового детектора. Некоторые ИМС ФАПЧ включают в себя ГУН, например линейный элемент 565 и КМОП-элемент 4046. Также имеются и отдельные ИМС ГУН, такие, как 4024 (дополнительный к упомянутому выше фазовому детектору на элементах ТТЛ 4044), или различные элементы ТТЛ серии 74хх (например, 74S124 и 74LS324-327). Другой интересный класс ГУН составляют генераторы с синусоидальным выходом (8038, 2206 и т. п.). Они генерируют чистый синусоидальный сигнал при искаженных входных сигналах. В табл.2 приводится краткий перечень различных ГУН.

Таблица 2
Тип Семейство Fмакc, МГц Выход
566 Линейные 1 Прямоугольный, треугольный
2206 " 0,5 Прямоугольный, треугольный, синусоидальный
2207 " 0,5 Прямоугольный, треугольный
4024 ТТЛ 25 ТТЛ
4046 кмоп 1 КМОП
8038 Линейные 0,1 Прямоугольный, треугольный, синусоидальный
74LS124 ТТЛ 20 ТТЛ
74S124 ТТЛ 60 ТТЛ
74LS324 ТТЛ 20 ТТЛ

Следует обратить внимание, что на частоту ГУН не накладываются ограничения, существующие для логических схем. Например, можно использовать генератор радиочастоты с варактором (диодом изменяемой емкости) (рис.5).

Основы теории синтезаторов частоты
Рис.5

Не останавливаясь на этом подробно, заметим, что можно применять даже микроволновый (гигагерцы) генератор на отражательном клистроне, настройка которого производится изменением напряжения на отражателе. Естественно, что устройство ФАПЧ с генераторами подобного типа должно содержать радиочастотный фазовый детектор. В системах ФАПЧ не требуется, чтобы ГУН обладал слишком высокой линейностью зависимости частоты от напряжения. Однако при существенной нелинейности коэффициент передачи будет изменяться с частотой, и придется обеспечивать больший запас устойчивости.

Проектирование ФАПЧ

Замыкание контура регулирования. На выходе фазового детектора вырабатывается сигнал рассогласования, связанный с наличием разности фаз входного и опорного сигналов. Входное напряжение ГУН управляет его частотой. Может показаться, что для создания замкнутого контура регулирования достаточно охватить его цепью обратной связи с некоторым коэффициентом передачи, как это делается в схемах с операционными усилителями.

Здесь, однако, есть одно существенное различие. В обычных схемах величина, которая регулируется с помощью обратной связи, совпадает с величиной, которая измеряется с целью выработки сигнала рассогласования, или по крайней мере пропорциональна ей. Так, например, в усилителе измеряется выходное напряжение и соответствующим образом регулируется входное. В системе ФАПЧ происходит интегрирование. Мы измеряем фазу, а воздействуем на частоту, а фаза - это интеграл от частоты. За счет этого в контуре регулирования появляется фазовый сдвиг на 90°.

Поскольку интегратор, введенный в цепь обратной связи контура, дает дополнительное запаздывание по фазе на 90°, то на частотах, где общий коэффициент усиления контура равен единице, может возникать самовозбуждение. Самое простое решение - это исключить из схемы все прочие элементы, дающие запаздывание по фазе по меньшей мере на частотах, где общий коэффициент усиления контура близок к единице. В конце концов, операционные усилители почти во всем своем частотном диапазоне дают запаздывание' по фазе на 90° и при этом неплохо работают. В этом заключается первый подход к решению проблемы, результатом которого является так называемый "контур первого порядка". Он похож на приведенную выше блок-схему ФАПЧ, но без фильтра НЧ.

Хотя подобные системы первого порядка используются во многих случаях, они не обладают необходимыми свойствами "маховика", то есть сглаживанием помех или флуктуации входного сигнала. Кроме того, поскольку выход фазового детектора непосредственно управляет ГУН, в контуре первого порядка не может поддерживаться постоянное фазовое соотношение между выходным сигналом ГУН и опорным сигналом. Контур второго порядка для предотвращения неустойчивости содержит дополнительный НЧ-фильтр в цепи обратной связи. Благодаря этому возникает свойство сглаживания, сужается диапазон захвата и увеличивается время захвата. Более того, как будет показано ниже, контур второго порядка с фазовым детектором типа 2 обеспечивает синхронизацию с нулевой разностью фаз между опорным сигналом и выходом ГУН. Практически везде применяются контуры второго порядка, поскольку в большинстве применений система ФАПЧ должна обеспечивать малые флуктуации фазы выходного сигнала, а также обладать некоторыми свойствами памяти или "маховика". Контуры второго порядка допускают высокий коэффициент передачи на низких частотах, что дает повышенную устойчивость (по аналогии с усилителями с обратными связями). Теперь рассмотрим пример использования ФАПЧ.

Умножитель частоты.

Пример разработки. Системы ФАПЧ часто используются для формирования сигналов, частота которых кратна входной частоте. В частотных синтезаторах частота выходного сигнала получается умножением целого числа п на частоту стабилизированного низкочастотного опорного сигнала (к примеру, 1 Гц). Число п задается в цифровой форме, причем перестраиваемый задатчик числа может управляться от ЭВМ. В более прозаических случаях можно встретить применение устройства ФАПЧ для формирования тактовой частоты, синхронизированной с некоторой опорной частотой, уже имеющейся в данном приборе. Предположим, например, что для двухстадийного АЦП нужен тактовый сигнал с частотой 61,440 кГц. При такой частоте получается 7,5 измерения в секунду; первая стадия продлится 4096 периодов тактовой частоты (напомним, что в двухстадийных АЦП длительность этой стадии постоянна), а максимальная длительность второй стадии составит 4096 тактов.

Характерная особенность схемы ФАПЧ заключается в том, что тактовый сигнал частотой 61,440 кГц может быть засинхронизирован сетевой частотой 60 Гц (61,440=60x1024), что позволяет полностью подавить сетевые наводки на входе преобразователя.

Рассмотрим сначала стандартную схему ФАПЧ (рис.6), которая содержит дополнительный счетчик - делитель частоты на n, включенный между выходом ГУН и фазовым детектором.

Основы теории синтезаторов частоты
Рис.6 (нажмите для увеличения)

На схеме обозначены коэффициенты передачи каждого функционального элемента контура, что поможет нам при расчете устойчивости. Особо отметим, что фазовый детектор преобразует фазу в напряжение, а ГУН в свою очередь преобразует напряжение в производную фазы по времени, то есть в частоту. Таким образом, можно считать, что если рассматривать фазу как входную переменную, то ГУН действует как интегратор. Фиксированное входное напряжение рассогласования вызывает линейно нарастающее рассогласование по фазе на выходе ГУН. Фильтр нижних частот и делителя частоты на n имеют коэффициенты передачи меньше единицы.

Устойчивость и фазовые сдвиги

На рис.7 приведены диаграммы Боде, позволяющие оценить устойчивость ФАПЧ второго порядка.

Основы теории синтезаторов частоты
Рис.7 (нажмите для увеличения)

ГУН работает как интегратор с постоянной времени, равной 1/f, и запаздыванием по фазе на 90° (то есть постоянная времени пропорциональна 1/jw, а конденсатор заряжается от источника тока). Для того чтобы создать запас по фазе (разность между 180° и фазовым сдвигом на частоте, при которой общий коэффициент передачи контура равен 1), в фильтре нижних частот последовательно с конденсатором включают резистор, предотвращая срыв устойчивости на некоторых частотах (вводят "нуль" передаточной функции). Объединение характеристик ГУН и фильтра дает диаграмму Боде для общего коэффициента передачи контура, приведенную на рисунке. До тех пор, пока наклон характеристики будет составлять 6 дБ/октава (в области единичного коэффициента передачи), контур будет устойчивым. Это достигается при использовании фильтра нижних частот по типу "опережение - отставание" и при правильном выборе его характеристик (так же, как и в цепях фазовой компенсации опережения - отставания операционных усилителей). В следующем разделе мы покажем, как это делается.

Расчет коэффициента передачи

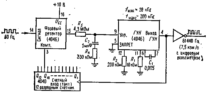
На рис.8 приведена схема ФАПЧ для синтезатора частоты 61 440 Гц. Фазовый детектор и ГУН входят в состав ФАПЧ, выполненной на КМОП ИМС типа 4046.

Основы теории синтезаторов частоты
Рис.8. Применение умножителя ФАПЧ для формирования тактовых сигналов,
синхронных с частотой сети переменного тока (нажмите для увеличения)

В данной схеме используется вариант фазового детектора, работающего по фронтам, хотя в ИМС 4046 имеются оба варианта. Выход схемы формируется парой КМОП-транзисторов, работающих в импульсном режиме и обеспечивающих импульсные сигналы о уровнями Ucc или 0 В. Фактически он представляет собой рассматривавшийся ранее выход с тремя состояниями, поскольку, за исключением моментов действия импульсов фазового рассогласования, он пребывает в состоянии с высоким выходным сопротивлением. Максимальная и минимальная частоты ГУН, задаваемые уровнями управляющего напряжения 0 В и Ucc, определяются выбором резисторов R1 и R2 и конденсатора C1 согласно паспортным данным. Из технических данных на элемент 4046 можно определить существенный недостаток схемы: высокую чувствительность к стабильности напряжений питания. Выбор остальных элементов контура осуществляется по стандартным для ФАПЧ процедурам.

После выбора диапазона ГУН остается лишь разработать фильтр нижних частот, который представляет собой весьма критичную часть системы. Начнем с расчета коэффициента передачи всего контура регулирования. В табл.3 приведены расчетные формулы для отдельных компонентов (согласно рис.6).

Таблица 3. Расчет коэффициента передачи ФАПЧ

 Основы теории синтезаторов частоты
(нажмите для увеличения)

Расчеты следует производить тщательно, не путая частоту f и круговую частоту w или герцы с килогерцами. До сих пор нами не определен только коэффициент Кj. Его можно определить, записав выражение для общего коэффициента передачи контура, но прежде вспомним, что ГУН - это интегратор и запишем:

Основы теории синтезаторов частоты

Отсюда общий коэффициент усиления равен

Основы теории синтезаторов частоты

Теперь выберем частоту, при которой коэффициент передачи становится равным единице. Идея заключается в том, что частота единичной передачи выбирается достаточно высокой, чтобы контур мог должным образом отслеживать изменения входной частоты, но и достаточно низкой, чтобы сглаживались помехи и скачки входного сигнала. Например, система ФАПЧ, предназначенная для демодуляции входных ЧМ-сигналов или для декодирования последовательности высокоскоростных тональных сигналов, должна обладать высоким быстродействием (для ЧМ-сигналов полоса пропускания контура должна соответствовать входному сигналу, то есть равняться максимальной частоте модуляции, а для тонального декодирования постоянная времени контура должна быть меньше, чем продолжительность тонального сигнала). С другой стороны, поскольку эта система предназначена для того, чтобы отслеживать определенные значения стабильной или медленно изменяющейся входной частоты, она должна иметь низкую частоту единичной передачи. Это позволит снизить фазовый "шум" на выходе и обеспечить нечувствительность к помехам и выбросам на входе. Даже кратковременные пропадания входного сигнала будут едва заметны, так как конденсатор фильтра запомнит напряжение, которое заставит ГУН продолжать формирование необходимой выходной частоты.

С учетом сказанного выберем частоту единичной передачи f2 равной 2 Гц, или 12,6 рад/с. Это значительно ниже опорной частоты, и маловероятно, чтобы отклонения сетевой частоты смогли превысить это значение (вспомним, что электрическая энергия производится крупными генераторами с огромной механической инерцией). Точка излома характеристики фильтра нижних частот (ее "нуль") выбирается, как правило, на частоте, меньшей f2 в 3-5 раз, что обеспечивает достаточный запас по фазе. Напомним, что фазовый сдвиг простой RC-цепи меняется от 0 до 90° в диапазоне частот от 0,1 до 10 относительно частоты -3 дБ ("полюсы"), при которой сдвиг равен 45°. Итак, выберем частоту нуля равной 0,5 Гц, или 3,1 рад/с (рис.9). Точка излома f1 определяет постоянную времени R4C2 : R4С2=1/2pf1. Предварительно примем: С2=1 мкФ и R4=330 кОм. Теперь осталось лишь выбрать величину сопротивления R3 из условия равенства единице коэффициента передачи на частоте f2. Проделав эту операцию, найдем, что R3=4,3 МОм.

Основы теории синтезаторов частоты
Рис.9.

Упражнение. Проверьте, что при выбранных компонентах фильтра коэффициент передачи на частоте f2=2,0 Гц действительно равен 1,0.

Иногда полученные значения параметров фильтра неудобны и их приходится пересчитывать или несколько смещать частоту единичного усиления. Эти величины приемлемы для ФАПЧ на элементах КМОП (типовое значение входного сопротивления ГУН составляет 1012 Ом), а для ФАПЧ на биполярных транзисторах (типа 4044, например) может понадобиться согласование сопротивлений при помощи операционного усилителя.

Для упрощения конструкции фильтра в данном примере использовался фазовый детектор типа 2 с переключением по фронтам. Это решение на практике может оказаться не самым лучшим из-за высокого уровня сетевых наводок. При тщательном выборе схемы аналогового входа (например, можно применить триггер Шмитта) может быть достигнута хорошая работа схемы. В противном случае рекомендуется Использовать фазовый детектор типа 1 со схемой Исключающее ИЛИ.

Метод проб и ошибок

Есть люди, для которых мастерство разработки электронных схем заключается в том, чтобы изменять параметры фильтра до тех пор, пока схема не заработает. Если читатель принадлежит к их числу, то ему следует изменить свой подход к этому вопросу. Вероятно, из-за таких разработчиков системы ФАПЧ имеют плохую репутацию, и именно поэтому мы привели детальный расчет. Тем не менее попробуем помочь разработчикам, использующим метод проб и ошибок: R3C2 определяет время сглаживания контура, а отношение R4/R3 - демпфирование, то есть отсутствие перегрузки при скачкообразном изменении частоты. Рекомендуем начинать со значения R4=0,2R3.

Формирование тактовых импульсов для видеотерминалов

Высокочастотный генератор, синхронизированный с сетевой частотой 60 Гц, можно с успехом применять для генерации тактовых сигналов в буквенно-цифровом терминальном оборудовании ЭВМ. Стандартная скорость вывода информации на видеодисплеях составляет 30 кадров в 1 с. Так как почти всегда присутствует сетевая наводка, пусть даже и небольшой величины, изображение начинает испытывать медленную "боковую качку". Это происходит в случае, если отсутствует точная синхронизация между частотой сети и вертикальным каналом дисплея. Хорошим способом решения этой проблемы является применение системы ФАПЧ. При этом следует использовать высокочастотный ГУН (с частотой порядка 15 МГц, кратной 60 Гц), а сигналы, полученные путем деления этой основной высокочастотной тактовой последовательности, должны использоваться для последовательного формирования точек каждого символа, длины строки и числа строк в кадре.

Захват и слежение в системе ФАПЧ

Очевидно, что система ФАПЧ будет оставаться в синхронизме до тех пор, пока входной сигнал не выйдет за пределы допустимого диапазона сигналов обратной связи. Интересный вопрос представляет собой первоначальное вхождение системы в синхронизм. Начальное рассогласование по частоте вызывает периодический сигнал разностной частоты на выходе фазового детектора. Пульсации будут уменьшаться после фильтрации, и появится постоянный сигнал рассогласования.

Процесс захвата. Ответ на вопрос не так уж и прост. Системы регулирования первого порядка всегда будут находиться в синхронизмe, поскольку здесь отсутствует ослабление сигнала рассогласования на низкой частоте. Контуры второго порядка могут пребывать как в синхронизме, так и вне его, в зависимости от типа фазового детектора и полосы пропускания НЧ-фильтра. Кроме того, фазовый детектор типа 1, выполненный по схеме Исключающее ИЛИ, имеет ограниченную полосу захвата, которая зависит от постоянной времени фильтра. Это обстоятельство можно использовать, если надо построить систему ФАПЧ, которая должна осуществлять синхронизацию только в определенном диапазоне частот.

Процесс захвата происходит следующим образом: когда сигнал фазового рассогласования вызывает сближение частоты ГУН с опорной частотой, форма сигнала рассогласования меняется более медленно и наоборот. Поскольку этот сигнал асимметричен, более медленные изменения происходят в той части цикла, в которой fгун приближается к fоп. В результате ненулевое среднее постоянное напряжение вводит систему ФАПЧ в режим захвата. Входное напряжение ГУН во время процесса захвата изменяется, как показано на рис.10. Обратите внимание на последний всплеск (перерегулирование) на диаграмме; причина его очень интересна. Даже если частота ГУН достигает требуемого значения (о чем свидетельствует уровень напряжения на входе ГУН), это еще не означает, что система обязательно вошла в захват, поскольку может оказаться, что отсутствует синфазность. Это может явиться причиной выброса кривой. Очевидно, что процесс захвата в каждом случае будет происходить по-разному.

Основы теории синтезаторов частоты
Рис.10.

Полоса захвата и слежения

Если используется фазовый детектор типа 1, выполненный по схеме Исключающее ИЛИ, то полоса захвата ограничена постоянной времени НЧ-фильтра. В этом есть определенный смысл, так как при наличии большого начального расхождения по частоте сигнал рассогласования будет ослаблен фильтром настолько, что захват никогда не сможет произойти. Очевидно, что увеличение постоянной времени НЧ-фильтра сужает полосу захвата, что эквивалентно уменьшению коэффициента передачи контура. Оказывается, что подобные ограничения отсутствуют в фазовом детекторе, работающем по фронтам. Полоса слежения для обоих типов схем зависит от диапазона управляющих напряжений ГУН.

Некоторые примеры использования систем ФАПЧ

Мы уже упоминали об использовании ФАПЧ в синтезаторах частоты и умножителях частоты. Что касается последних, то целесообразность применения ФАПЧ, как это видно из рассмотренного примера, настолько очевидна, что сомнений в применении ФАПЧ не должно быть. В простых умножителях (то есть генераторах тактовых импульсов высокой частоты для цифровых систем) отсутствуют даже проблемы, связанные с флуктуациями опорного сигнала, и вполне могут применяться системы первого порядка.

Рассмотрим некоторые применения ФАПЧ, интересные с точки зрения разнообразия областей использования.

Детектирование ЧМ-сигналов

При частотной модуляции информация кодируется посредством изменения частоты несущего сигнала пропорционально изменению информационного сигнала. Существуют два метода восстановления модулированной информации: при помощи фазовых детекторов или ФАПЧ. Под термином "детектирование" здесь подразумевается способ демодуляции.

В простейшем случае система ФАПЧ синхронизируется с поступающим сигналом. Напряжение, которое подается на ГУН и управляет его частотой, пропорционально входной частоте и, следовательно, является требуемым демодулированным сигналом (рис.11). В такой системе полоса пропускания фильтра должна быть выбрана достаточно широкой для прохождения модулированного сигнала. Другими словами, время реакции ФАПЧ должно быть малым по сравнению с диапазоном отклонений восстанавливаемого сигнала. На систему ФАПЧ не следует подавать сигнал, который передается по каналу связи; здесь можно использовать "промежуточную частоту", которая получается в смесителе приемника при преобразовании, частоты. Этот метод ЧМ-детектирования во избежание искажений на звуковых частотах требует ГУН с высокой линейностью.

Основы теории синтезаторов частоты
Рис.11.

Второй метод ЧМ-детектирования использует только фазовый детектор, а не систему ФАПЧ. Принцип иллюстрируется на рис.12. Исходный входной сигнал и тот же сигнал, сдвинутый по фазе, подаются на фазовый детектор, на выходе которого появляется некоторое напряжение.

Основы теории синтезаторов частоты
Рис.12.

Фазосдвигающая схема линейно изменяет фазовый сдвиг в зависимости от частоты (обычно это делается при помощи резонансных LC-контуров). Таким образом, выходной сигнал демодулятора линейно зависит от частоты на выходе. Этот метод называется "двойным балансным квадратурным ЧМ-детектированием". Он используется во многих ИМС для реализации тракта усилитель/детектор промежуточной частоты (например, типа СА3089).

Детектирование АМ-сигналов

Рассмотрим методы, обеспечивающие пропорциональность между выходным сигналом и мгновенным значением амплитуды-высокочастотного сигнала. Обычно для этого используется выпрямление (рис.13).

Основы теории синтезаторов частоты
Рис.13. ЧМ - частотная модуляция; ПЧ - промежуточная частота; ЗЧ - звуковая частота.

На рис.14 иллюстрируется оригинальный метод с применением ФАПЧ" ("гомодинный метод детектирования"). Система ФАПЧ формирует прямоугольные импульсы той же частоты, что и частота модулированной несущей. После умножения входного сигнала на выходной сигнал ФАПЧ получается как-бы двухполупериодное выпрямление, после чего остается лишь удалить остатки несущей частоты с помощью фильтра нижних частот, чтобы получить модулированную огибающую. Если используется фазовый детектор, выполненный по схеме Исключающее ИЛИ, то выходной сигнал получается сдвинутым по фазе на 90° относительно опорного сигнала. Поэтому между ФАПЧ и умножителем надо включить фазосдвигающую цепь со сдвигом фаз на 90°.

Основы теории синтезаторов частоты
Рис.14

Синхронизация тактовых импульсов и восстановление сигналов. В системах передачи цифровых сигналов информация в последовательной форме передается по каналу связи. Эта информация может быть по своей природе цифровой или представлять собой цифровой эквивалент аналоговой информации, как это имеет место при кимпульсно-кодовой модуляции" (ИКМ). Аналогичная ситуация возникает при декодировании цифровой информации с магнитной ленты или диска. В обоих случаях возникают помехи или изменения частоты импульсов (например, из-за вытягивания ленты), и требуется получить неискаженный тактовый сигнал той же частоты, что и частота поступающей информации. В данном применении рекомендуется использовать системы ФАПЧ, так как фильтр нижних частот, например, помог бы лишь устранить шумы и наводки, но не смог бы отслеживать медленные изменения скорости ленты.

Литература:

  1. П. Хоровиц, У. Хилл. Искусство схемотехники. Перевод с английского под редакцией М.В.Гальперина

Авторы: Paul Horowitz, Harvard University, Winfield Hill. Публикация: Н. Большаков, rf.atnn.ru

Смотрите другие статьи раздела Синтезаторы частоты.

Читайте и пишите полезные комментарии к этой статье.

<< Назад

Последние новости науки и техники, новинки электроники:

Оптимальная продолжительность сна 12.11.2025

Сон играет ключевую роль в поддержании здоровья, когнитивных функций и общего самочувствия. Несмотря на широко распространенный стереотип о восьмичасовом сне, последние исследования показывают, что оптимальная продолжительность сна для большинства здоровых взрослых ближе к семи часам. Эволюционный биолог из Гарварда, Дэниел Э. Либерман, утверждает, что традиционная норма восьми часов сна - это скорее культурное наследие индустриальной эпохи, чем биологическая необходимость. По его словам, полевые исследования, проведенные в сообществах, не использующих электричество, показывают, что средняя продолжительность сна составляет 6-7 часов, что значительно отличается от общепринятого стандарта. Современные эпидемиологические данные подтверждают этот взгляд. Исследования выявили так называемую "U-образную кривую" зависимости между продолжительностью сна и рисками для здоровья. Минимальные показатели заболеваемости и смертности наблюдаются именно у людей, спящих около семи часов в сутки. ...>>

Дефицит кислорода усиливает выброс закиси азота 12.11.2025

Парниковые газы играют ключевую роль в изменении климата, а закись азота (N2O) - один из наиболее опасных среди них. Этот газ не только втрое сильнее углекислого газа в удержании тепла, но и разрушает озоновый слой. Недавнее исследование американских ученых показало, что микробы в зонах с низким содержанием кислорода активно производят N2O, усиливая глобальные климатические риски. Команда из Университета Пенсильвании изучала прибрежные воды у Сан-Диего и провела наблюдения на глубинах от 40 до 120 метров в Восточной тропической северной части Тихого океана - одной из крупнейших зон дефицита кислорода. Исследователи сосредоточились на том, как морские микроорганизмы превращают нитраты в закись азота. В ходе работы выяснилось, что существует два пути образования N2O. Один путь начинается с нитрата, другой - с нитрита. На первый взгляд более короткий путь должен быть эффективнее, однако микробы, использующие нитрат, продуцируют больше газа, поскольку этот "сырьевой" источник более д ...>>

Омега-3 помогают молодым кораллам выживать 11.11.2025

Сохранение коралловых рифов становится все более актуальной задачей в условиях глобального изменения климата. Молодые кораллы особенно уязвимы на ранних стадиях развития, когда стрессовые условия и нехватка питательных веществ могут привести к высокой смертности. Недавнее исследование ученых из Технологического университета Сиднея показывает, что специальные пищевые добавки способны существенно повысить выживаемость личинок кораллов. В ходе работы исследователи разработали особый состав "детского питания" для коралловых личинок. В него вошли масла, богатые омега-3 жирными кислотами, а также важные стерины, необходимые для формирования клеточных мембран. Личинки, получавшие эти добавки, развивались быстрее, становились крепче и демонстрировали более высокую устойчивость к стрессовым факторам. Особое внимание ученые уделили липидам. Анализ показал, что личинки активно усваивают эти вещества, что напрямую влияет на их жизнеспособность. Стерины, содержащиеся в корме, повышают устойчи ...>>

Случайная новость из Архива

Ветряная турбина Challenergy, устойчивая к сильному ветру 28.02.2021

Японская компания Challenergy разработала турбины для выработки электроэнергии, которые способны выдерживать скорость ветра до 40 м/с против 25 м/с, присущих традиционным генераторам с лопастной компоновкой. Конструктивно турбины семейства Magnus VAWT имеют следующую особенность - за счет энергии ветра вращаются не лопасти, а вертикально ориентированные цилиндры, обладающие более высокой динамической стабильностью. Классическое решение с лопастями позволяет безопасно работать в диапазоне скоростей ветра от 4 до 25 м/с, при более высоких вращение останавливается для предотвращения повреждений установки.

Полгода назад Challenergy запустила экспериментальную ветряную установку мощностью 10 кВт на одном из японских островов. Срок службы турбины составляет двадцать лет, она позволит снабжать окрестности электроэнергией независимо от внешних источников. Появится подобная энергетическая установка и на Филиппинах, причем ее монтаж и приобретение будут частично субсидироваться японским правительством. К коммерческим поставкам турбин японская компания намеревается приступить к концу этого года.

Версия установки мощностью 10 кВт стоит около $188 000. Вырабатываемая ею электроэнергия оказывается в два раза дороже той, что получается при использовании традиционных ветряков. Установки нового типа также имеют ограничения по предельной мощности. Производитель намеревается занять нишу рынка, связанную с обеспечением электроэнергией удаленных островов, которые не подключены к электросетям. В данном случае использование ветряных установок все равно выгоднее, чем применение дизельных генераторов. Тайфуны часто возникают на островных территориях, поэтому у турбин Challenergy возникает определенное конкурентное преимущество.

В этом году компания рассчитывает продать до двадцати энергетических установок, в следующем оно может быть увеличено до 50-100 штук. К 2025 году Challenergy рассчитывает разработать турбины мощностью 100 кВт, а также плавучую установку мощностью 1000 кВт морского базирования.

Другие интересные новости:

▪ Прозрачная пленка превращает стекло в проекционный экран

▪ PCIe 5.0-накопитель Phison PS5026-E26

▪ Серверные процессоры Intel Xeon Scalable

▪ Обнаружен механизм, превращающий запахи в воспоминания

▪ 50-мегапиксельный фотосенсор Samsung ISOCELL GN1

Лента новостей науки и техники, новинок электроники

 

Интересные материалы Бесплатной технической библиотеки:

▪ раздел сайта Охрана труда. Подборка статей

▪ статья Ручная трамбовка грунта. Чертеж, описание

▪ статья Съедобны ли броненосцы? Подробный ответ

▪ статья Слесарь по эксплуатации и ремонту внутридомового газового оборудования. Типовая инструкция по охране труда

▪ статья Тепловые насосы для отопления и горячего водоснабжения. Энциклопедия радиоэлектроники и электротехники

▪ статья Портативная радиостанция на 28 МГц. Энциклопедия радиоэлектроники и электротехники

Оставьте свой комментарий к этой статье:

Имя:


E-mail (не обязательно):


Комментарий:




Комментарии к статье:

Карен
Класс [up] [!]


Главная страница | Библиотека | Статьи | Карта сайта | Отзывы о сайте

www.diagram.com.ua

www.diagram.com.ua
2000-2025