Menu Home

Бесплатная техническая библиотека для любителей и профессионалов Бесплатная техническая библиотека


Применение твердотельных оптоэлектронных реле средней мощности. Справочные данные

Бесплатная техническая библиотека

Энциклопедия радиоэлектроники и электротехники / Справочные материалы

 Комментарии к статье

Статья знакомит с некоторыми особенностями оптоэлектронных реле средней мощности, производимых ЗАО "Протон-Импульс". Приведенные в ней сведения будут полезны всем читателям, использующим или разрабатывающим различные тирис-торные и транзисторные коммутаторы силовых цепей.

Представление о системе обозначений и номенклатуре выпускаемых реле дает таблица.

Применение твердотельных оптоэлектронных реле средней мощности

Более подробные сведения о них можно найти на Интернет-сайте производителя <proton-impuls.orel.ru>. Все оптоэлектронные реле можно разделить на две основные группы: переменного тока с силовыми элементами на симисторах и тринисторах, однополярные и двуполярные постоянного тока с IGBT или МОП-транзисторами в силовых цепях. Их принципиальное различие в том, что для реле переменного тока характерна частичная управляемость - разрыв силовой цепи всегда происходит только при нулевом значении тока. Это создает определенные преимущества при индуктивной нагрузке, устраняя импульсы перенапряжения, возникающие при выключении. Использовать такие реле в цепях постоянного тока весьма затруднительно. А вот двуполярные реле постоянного тока способны коммутировать и переменный ток.

Одним из критериев выбора реле для конкретного применения может служить мощность, рассеиваемая на его силовом элементе. При работе в цепях переменного тока напряжением 220...380 В и токах более нескольких ампер тиристоры по этому показателю в 3...5 раз лучше IGBT. Отношение мощности, рассеиваемой на IGBT и на МОП-транзисторах, приблизительно равно численному значению тока в амперах.

РЕЛЕ ПЕРЕМЕННОГО ТОКА

Среди тиристорных реле имеются однофазные нормально-замкнутые и нормально-разомкнутые на ток 1...100А; трехфазные нормально-разомкнутые на ток 10... 100 А; одно-, дву-и трехфазные реверсивные на ток 10...40 А со встроенной защитой от межфазного замыкания и мгновенного реверса; сдвоенные на ток 1 А и более с независимым управлением, с общей точкой на выходе и без нее.

Класс реле по пробивному напряжению выхода может быть от четвертого (не менее 400 В) до двенадцатого (не менее 1200 В), а допустимое пиковое значение напряжения изоляции между входными и выходными токоведущими цепями и теплоотводом - 1500 или 4000 В.

В реле с индексом ТМ предусмотрен контроль нулевой фазы коммутируемого напряжения (они включаются только при близком к нулю мгновенном значении этого напряжения, что уменьшает создаваемые помехи). Реле с индексом ТС этим свойством не обладают.

Цепи управления реле бывают токовыми (рис. 1,а, номинальный ток - 10...25 мА) или потенциальными (рис. 1,б - постоянное напряжение 4...7 или 3...30 В, рис. 1,в - переменное 6..30 или 110...280 В). С токовым управлением выпускают только однофазные и двуканальные реле, с потенциальным - всех видов. В различных модификациях место резистора R1 (см. рис. 1,6 и в) может занимать стабилизатор тока, а "гасящий" конденсатор С1 (см. рис. 1,в) - отсутствовать. Если в реле (например, многофазных) имеется несколько излучающих диодов, они могут быть соединены последовательно или параллельно.

Применение твердотельных оптоэлектронных реле средней мощности

Тиристорные структуры весьма чувствительны к превышению допустимого напряжения, что ведет к необратимым пробоям. Основной прием защиты выхода реле - шунтирование его варистором. Рекомендуются варисторы СН2-1, СН2-2 с коэффициентом нелинейности более 30 и энергией рассеивания 10...114Дж. При выборе следует исходить из того, что классификационное напряжение варистора (при котором ток через него достигает 1 мА) должно превосходить амплитудное значение коммутируемого и быть ниже пробивного напряжения тиристоров. Необходимо обязательно учитывать возможную нестабильность и технологический разброс этих параметров. При прочих равных условиях для коммутации большего тока требуются реле более высокого класса по напряжению. Это связано с зависимостью напряжения на варисторе оттока.

Еще одна особенность тиристорных структур - чувствительность к скорости нарастания напряжения (dU/dt), приложенного к закрытому прибору. Превышение критической скорости приводит к его несанкционированному открыванию. Большие значения dU/dt возможны при подаче напряжения в цепь нагрузки в момент, близкий к максимуму синусоиды. Они могут быть вызваны импульсными помехами в коммутируемой цепи или скачками напряжения при разрыве цепи нагрузки индуктивного характера.

Чтобы уменьшить dU/dt и предотвратить нежелательные последствия, выходы тиристорных реле шунтируют демпфирующими RC-цепями, номиналы элементов которых подбирают экспериментально. Обычно они лежат в пределах 20...50 Ом и 0,01 ...0,1 мкФ.

Дополнительное средство повышения устойчивости реле к скачкам напряжения - включенный последовательно с нагрузкой реактор задержки. Он представляет собой катушку индуктивности, намотанную на магнитопроводе с высокой магнитной проницаемостью и прямоугольной петлей гистерезиса. При рабочих токах магнитопровод насыщен, индуктивность реактора мала и он не влияет на происходящие процессы. Растущая с уменьшением тока индуктивность замедляет его изменение и задерживает переполюсовку напряжения, помогая закрыванию тиристора.

Снижая скорость нарастания тока на начальной стадии включения тиристора, реактор способствует более равномерному распределению тока по сечению полупроводникового кристалла, что предотвращает локальные перегревы. Это особенно важно при работе реле с индексом ТС на емкостную или активную нагрузку или в режиме фазоимпульсной регулировки мощности. К тому же реактор, увеличивая импеданс цепи нагрузки, повышает эффективность варисторной защиты.

Для тиристоров, работающих на индуктивную нагрузку, существует опасность перегрузки по току из-за асимметрии моментов включения в положительном и отрицательном полупериодах, приводящей появлению постоянной составляющей протекающего тока, насыщению магнитопроводов нагрузки, а следовательно, - к сверхтокам.

Токовая перегрузка бывает связана и с насыщением магнитопроводов индуктивных нагрузок (трансформаторов на холостом ходу, управляющих обмоток контакторов) при совпадении направления их остаточной и создаваемой током в момент включения намагниченности.

Вызванный этим пусковой ток может в десятки раз превышать номинальный, причем случай включения в момент перехода фазы напряжения через ноль - наихудший. Оптимально включать тиристор в максимуме напряжения или "мягко" запускать его, начиная с малых углов проводимости. Для работы на индуктивную нагрузку рекомендуется применять реле с индексом ТСИ, рассчитанные на повышенный ударный ток.

Асимметрия моментов включения может быть следствием различия напряжения включения тиристоров в разной полярности. Оно играет существенную роль, если амплитуда коммутируемого напряжения незначительно превышает напряжение включения тиристора (5... 15 В). Асимметрия возникает и при некорректном фазоимпульсном управлении реле, а также при открывании тиристора не в каждом полупериоде из-за того, что обратное напряжение пересекает "окно" включения слишком быстро. Последний фактор - один из главных, ограничивающих частоту коммутируемого напряжения (обычно - не более 500 Гц).

Работа на емкостную нагрузку характеризуется возможностью больших скачков тока в силовой цепи и воздействием на тиристор напряжения, достигающего удвоенной амплитуды коммутируемого.

Пусковой бросок тока возникает, если реле включают при ненулевой фазе коммутируемого напряжения. Подключение к сети переменного тока 220 В 50 Гц разряженного конденсатора емкостью 100 мкФ способно вызвать бросок тока амплитудой до 31000 А. Скорость нарастания тока в нагрузке индуктивностью 1 мкГн достигает 310 А/мкс при предельно-допустимом для тиристоров значении 20... 160 А/мкс.

Так как напряжение включения тиристора отлично от нуля (как отмечалось выше - 5... 15 В), броски тока возникают в каждом полупериоде коммутируемого напряжения. При емкости нагрузки 100 мкф амплитуда таких бросков - 500...1500 А. Они порождают значительные электромагнитные помехи и мощные высокочастотные составляющие в спектре тока нагрузки. Последние очень опасны для некоторых конденсаторов, вызывая их перегрев и пробои. Поэтому для работы на емкостные нагрузки следует применять реле с контролем перехода фазы напряжения через ноль и с малым напряжением включения, например, с индексом ТМК, у которых нормированы напряжения включения (4 В) и выключения (10 В).

Известно, что после спада тока до нуля и выключения тиристора емкость нагрузки остается заряженной до напряжения, близкого к амплитуде коммутируемого. В следующем полупериоде к закрытому тиристору будет приложена сумма этого напряжения и сетевого противоположной полярности, которая может достичь удвоенной амплитуды, например, при напряжении в сети 380 В±10 % - 1170 В. В этих условиях реле даже наивысшего, двенадцатого класса по напряжению будет работать на пределе своих возможностей и его не удастся защитить от пробоя варистором.

В подобных случаях целесообразно использовать реле не только включаемые, но и выключаемые при нулевом напряжении, например, двуполярные постоянного тока. Это устраняет перегрузки по напряжению, значительно расширяет рабочий диапазон частот, однако несколько ухудшает энергетические показатели. Для работы на частотах до 1 кГц разработаны образцы реле серии 5П 66, ведутся работы по расширению их частотного диапазона до десятков килогерц.

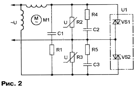
На рис. 2 показана схема использования однофазного реверсивного реле U1 для изменения направления вращения однофазного электродвигателя М1 с фазосдвигающим конденсатором С1.

Применение твердотельных оптоэлектронных реле средней мощности

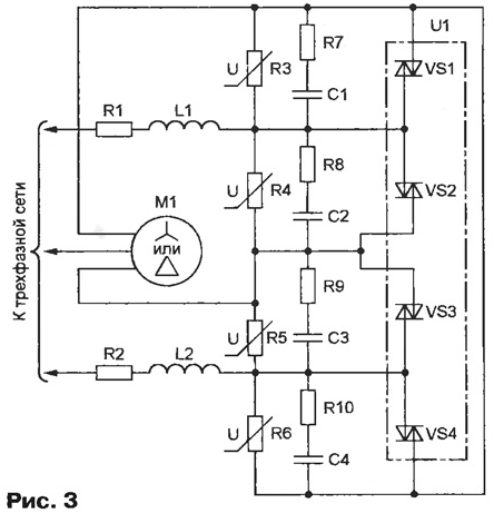
На рис. 3 представлена схема двуфазного реле для управления трехфазным двигателем. Коммутирующие элементы реле условно изображены в виде симисторов, хотя в некоторых случаях это - соединенные встречно-параллельно тринисторы.

Применение твердотельных оптоэлектронных реле средней мощности

Цепи управления реле на схемах не показаны. Они должны быть устроены таким образом, чтобы исключить одновременную подачу сигналов на открывание симисторов VS1 и VS2 (см. рис. 2 ) или VS1 и VS4, VS2 и VS3 (см. рис. 3). В любой момент должен быть открыт только один из каждой пары. Тем не менее из-за выключения симисторов только при нулевом токе, после подачи сигнала реверса, некоторые из них все же могут оказаться открытыми одновременно. В однофазном устройстве это приведет к разрядке фазосдвигающего конденсатора С1 через симисторы, в трехфазном - к межфазному замыканию.

Для исключения подобных ситуаций в реверсивных реле предусмотрена аппаратная задержка включения на 20...30 мс, благодаря чему при частоте сети более 40 Гц и "мгновенном" реверсе открытые симисторы успевают закрыться.

Есть и другие причины, по которым тиристоры иногда включаются одновременно. Например, скорость нарастания напряжения, подаваемого с помощью электромагнитного пускателя, может оказаться выше критической для двух последовательно соединенных приборов. Демпфирующие RC-цепи в данном случае почти не помогают, так как зашунтированы чрезвычайно низким импедансом питающей сети. Большие значения dU/dt могут быть вызваны импульсными помехами или коммутационными бросками напряжения.

Предусмотренные в устройстве по схеме, показанной на рис. 3, катушки индуктивности L1, L2 во взаимодействии с конденсаторами С1-С4 уменьшают скорость нарастания напряжения, снижая вероятность межфазного замыкания. Кроме того, их индуктивность ограничивает скорость нарастания тока, большие значения которой разрушительны для тиристоров.

Однако ни демпфирующие цепи, ни катушки индуктивности не гарантируют невозможности межфазных замыканий. Общепринятый метод защиты тиристоров от их последствий (его рекомендуют для своих изделий, например, фирмы Motorola, Siemens, Opto-22) - установка токоограничительных резисторов R1 (см. рис. 2) и R1, R2 (см. рис. 3). Их номиналы выбирают такими, чтобы ток межфазного замыкания не превысил допустимого для используемого реле ударного тока. Длительность его протекания не превышает половины периода сетевого напряжения. С последствиями установки ограничительных резисторов - уменьшением напряжения на обмотках электродвигателя и необходимостью отвода выделяющегося тепла - приходится мириться.

РЕЛЕ ПОСТОЯННОГО ТОКА

Реле постоянного тока с выходными цепями на IGBT и МОП-транзисторах бывают одно- и двуполярными. В последних два выходных транзистора соединены встречно-последовательно. Для МОП-транзисторов это необходимо, чтобы закрытый канал одного из них препятствовал протеканию тока через смещенный в прямом направлении шунтирующий диод второго (такие диоды обязательно присутствуют в МОП-структуре). В структуры IGBT диоды приходится вводить специально, но уже для пропускания тока, протекающего в обратном для транзистора направлении.

Отметим, что выпускаются и так называемые многоканальные реле постоянного тока с различными сочетаниями нормально-замкнутых и нормально-разомкнутых выходных цепей. Применяя их, следует учитывать, что нормально-замкнутыми выходные цепи становятся только после подачи на реле напряжения питания от источника, гальванически связанного со входами управления.

Остаточное напряжение на выходе однополярных реле на МОП-транзисторах в открытом состоянии зависит от сопротивления канала последних при температуре 25 °С, находящегося в пределах от единиц миллиом у низковольтных до единиц ом у высоковольтных транзисторов. С повышением температуры кристалла до предельной (150 °С) это сопротивление возрастает приблизительно в два раза.

У двуполярных реле на МОП-транзисторах остаточное напряжение больше. Оно складывается из падений напряжения на сопротивлении канала одного транзистора и на прямосмещенном диоде, зашунтированном сопротивлением канала второго транзистора. Вольт-амперная характеристика выходной цепи таких реле во включенном состоянии при малом токе практически линейна, затем постепенно переходит в характеристику диода. Точка перегиба лежит в области 100...200 А у низковольтных реле и единиц ампер - у высоковольтных.

Элементами управления выходными транзисторами в реле серий 5П 20 (однополярных) и 5П 19 (двуполярных) служат фотовольтаические оптроны с выходным током порядка единиц микроампер. По этой причине зарядка емкости затвор-исток МОП-транзисторов происходит довольно медленно, что приводит к задержке включения реле на десятки миллисекунд. Задержка выключения значительно меньше (не более 1 мс), так как предусмотрены специальные тиристорные узлы разрядки упомянутой емкости.

Для быстродействующих реле характерны задержки включения/выключения в единицы микросекунд, но им необходим дополнительный источник питания цепей управления. У реле различных типов этот источник должен быть гальванически связан в выходом или входом реле.

Реле с питанием по входу серий 5П 57 (двуполярные) и 5П 59 (однополярные) при задержках включения/выключения в единицы микросекунд способны переключаться с частотой не выше 10...20 Гц, так как используемые в них фотовольтаические оптроны не могут достаточно быстро восполнить рассеянную при выключении энергию.

Однополярные реле с питанием по выходу серии 5П 40 могут работать на частоте коммутации в десятки кГц. Для их питания требуется изолированный от входных цепей источник напряжения 10...15 В. 
Аналогичные параметры имеют и реле с питанием по входу серии 5П 62, однако к ним требуется подключить несколько внешних элементов, номиналы которых выбирают исходя из конкретных условий.
В принципе, как IGBT, так и МОП-транзисторы способны выдерживать, не выходя из строя, лавинный пробой. Однако допустимая энергия пробоя невелика (десятки-сотни миллиджоулей) и вероятность отказа вполне реальна. Отсюда следует необходимость защиты от бросков напряжения в силовой цепи. Для двухполярных реле, коммутирующих цепи переменного тока, справедливо все сказанное выше о защите тиристорных реле. Защитой однополярных реле может служить стабилитрон или варистор, шунтирующий выход.

Распространенный способ защиты от высоких напряжений, возникающих при отключении индуктивной нагрузки, - шунтирование ее диодом в обратной полярности. Ток I, протекавший через нагрузку до разрыва цепи, в этом случае спадает по экспоненте с постоянной времени L/r, где L и г - соответственно индуктивность и сопротивление нагрузки. Часть энергии

W= LI2
2

запасенной в индуктивности нагрузки, рассеивается на ее активном сопротивлении, другая - на шунтирующем диоде.

Можно показать, что при малых значениях r основная доля рассеиваемой энергии приходится на диод. Это вызывает перегрузку последнего по импульсной, а при высоких частотах коммутации - и по средней рассеиваемой мощности.

Если предельно-допустимое напряжение транзистора Uдоп значительно выше коммутируемого Uком, режим работы защитного диода существенно облегчит включение последовательно с ним резистора номиналом

R< Uдоп - Uком
I

В этом случае в момент выключения напряжение на выходе реле равно ином + RI на диоде выделяется энергия

Wд= LUдI
R+r

(где Uд - 0,7 В - прямое падение напряжения на диоде), а на резисторе -

WR= RLI2
2(R+r)

Следовательно, при частоте коммутации fком мощность резистора должна быть не менее

PR RLI2  fком
2(R+r)

Введение резистора дает еще один положительный эффект - уменьшает время выключения нагрузки, так как постоянная времени спада тока в этом случае равна L/(R+r).

Для реле серий 5П 19, 5П 20, как уже отмечалось, характерна задержка включения в десятки миллисекунд, что ограничивает максимальную частоту

Wком -  Uком Iком tнар
6

где lK0M - коммутируемый ток. Так как длительность спада тока при выключении на порядок меньше tнар, рассеиваемой при этом энергией можно пренебречь.

Потенциально опасны для силовых транзисторов реле два режима работы: коммутация стационарной нагрузки с частотой, близкой к предельной, и включение нагрузки с большим пусковым током (например, пусковой ток лампы накаливания более чем в 10 раз превышает номинальный).
В первом случае средняя рассеиваемая реле мощность равна

Wком fком + Rоткр I2ком
Q

где ROTKр - сопротивление выходной цепи в открытом состоянии; Q - скважность (отношение периода коммутации к длительности включенного состояния). Например, на однополярном реле 5П 20.10 П-5-0,6 (предельное напряжение - 60 В, ток - 5 A, R - 0,055 Ом, тепловое сопротивление кристалл-окружающая среда - 40 °С/Вт) при токе нагрузки 5 А в постоянно включенном состоянии выделится мощность не более 1,375 Вт, что вызовет приемлемый в большинстве случаев перегрев кристалла относительно среды на 55 °С. Однако коммутация той же нагрузки с частотой 10 Гц при скважности 2, напряжении 50 В и tнар=5 мс приведет к возрастанию выделяемой мощности до 2,77 Вт и перегреву кристалла уже на 110 °С. Это не позволит реле надежно работать при температуре окружающей среды выше 40 °С.

Во втором случае начальное значение тока нагрузки значительно больше номинального, поэтому энергия включения WBKJ1 может превысить допустимую для транзисторов реле. Так как с уменьшением tнар энергия включения уменьшается пропорционально, инерционные нагрузки целесообразно коммутировать с помощью быстродействующих реле, например, серий 5П 57, 5П 59.

Как отмечалось выше, реле серии 5П 62 для работы на частоте коммутации более 10...30 Гц требуют подключения дополнительных внешних элементов. Как и у реле серий 5П 57 и 5П 59, их внутренний источник напряжения питания цепи управления выходным транзистором - низкой средней мощности и не может быстро восполнить энергию, израсходованную при разрядке емкости затвора транзистора. Для устранения этого недостатка и предназначен внешний конденсатор, через который при выключении выходного транзистора в цепь управления от источника коммутируемого напряжения "накачивается" дополнительная энергия. Оптимальная емкость конденсатора зависит от условий работы реле, в частности, от коммутируемого напряжения. Поэтому внутрь реле он введен быть не может.

При каждом включении входного транзистора конденсатор разряжается через цепь управления затвором с рассеиванием энергии C·U2/2. Если частота коммутации достаточно велика, дополнительная мощность, выделяющаяся в реле, достигает неприемлемой величины. Для ее уменьшения служат резистор, на котором рассеивается значительная часть запасенной конденсатором энергии, и стабилитрон. Напряжение стабилизации последнего выбирают таким, чтобы при минимальном значении коммутируемого напряжения конденсатор зарядился лишь до 15 В.

ТЕПЛОВОЙ РЕЖИМ РЕЛЕ

Для реле, эксплуатируемых без теплоотвода, максимальный коммутируемый ток нормируют исходя из предельной температуры кристаллов силовых элементов Ткр. макс (125 °С - для тиристоров, 150 °С - для транзисторов) при температуре окружающей среды Токр = 25 °С. Тот же параметр реле с теплоотводом устанавливают по предельной температуре кристалла при температуре теплоотвода Ттo = 75 °С для тиристорных реле и Ттo = 90 °С - для транзисторных. Последние два значения выбраны из достаточно произвольного условия равенства теплового сопротивления внешнего теплоотвода RT0 "эквивалентному" тепловому сопротивлению кристалл- теплоотвод R3kb- Следует иметь в виду, что в справочных данных многофазных реле тепловое сопротивление обычно указано из расчета "на фазу", поэтому "эквивалентное" сопротивление, например, трехфазного реле в три раза меньше.

Основное соотношение для тепловых расчетов: Токр + P(RTO + Иэкв) < Ткрлоп, где Р - мощность, рассеиваемая реле. Пример вычисления этой мощности для реле постоянного тока с МОП-транзистором на выходе был приведен в предыдущем разделе. Для IGBT ее рассчитывают по формуле Р = UOCT-lKOM, где UOCT - остаточное напряжение на открытом транзисторе. Мощность, рассеиваемую в одной фазе тиристорного реле, вычисляют по эмпирической формуле Р = (0,145 + 0,7UOCT пик) IэфФ, где U0CT пик - пиковое значение остаточного напряжения на включенном тиристоре; Iэфф - эффективное значение протекающего через него тока.

Автор: С.Архипов, г.Орел

Смотрите другие статьи раздела Справочные материалы.

Читайте и пишите полезные комментарии к этой статье.

<< Назад

Последние новости науки и техники, новинки электроники:

Власть является ключевым фактором счастья в отношениях 11.03.2026

Исследования семейных и романтических отношений показывают, что длительное счастье пары зависит не только от привычных факторов, таких как доверие, уважение и преданность, но и от более тонких психологических аспектов. Современные ученые ищут закономерности, которые отличают действительно счастливые пары от остальных, чтобы понять, какие механизмы поддерживают гармонию в отношениях. Группа исследователей из Университета Мартина Лютера в Галле-Виттенберге и Бамбергского университета провела опрос среди 181 пары, которые состояли в совместных отношениях более восьми лет и прожили вместе хотя бы месяц. Участники заполняли анкету, описывая различные аспекты своих отношений, включая распределение обязанностей, эмоциональную поддержку и степень вовлеченности в совместные решения. Анализ данных показал интересный паттерн: пары, где оба партнера ощущали высокий уровень личной власти, оказывались наиболее счастливыми и удовлетворенными. В данном контексте под властью понимается способност ...>>

Защищенная колонка-повербанк Anker Soundcore Boom Go 3i 11.03.2026

Компания Anker представила новую модель линейки Soundcore - колонку Soundcore Boom Go 3i, ориентированную на активное использование на улице. Новинка отличается высокой степенью защиты: корпус соответствует стандарту IP68, что обеспечивает водо- и пыленепроницаемость, а ударопрочный дизайн выдерживает падение с высоты до одного метра. За качество звука отвечает 15-ваттный драйвер, обеспечивающий пик громкости до 92 дБ, а технология BassUp 2.0 усиливает низкие частоты, делая звучание более насыщенным. Колонка обладает автономностью до 24 часов, а LED-индикатор позволяет контролировать уровень заряда батареи. Кроме того, Soundcore Boom Go 3i может выполнять функцию павербанка: согласно внутренним тестам, устройство способно зарядить iPhone 17 с нуля до 40% за один час, что делает его полезным аксессуаром в походах и поездках. Среди функциональных особенностей модели стоит выделить технологию Auracast, которая улучшает подключение и позволяет создавать стереопару из двух колонок ...>>

Раннее воздержание от алкоголя перестраивает мозг и иммунитет 10.03.2026

Алкогольная зависимость - хроническое расстройство с компульсивным употреблением спиртного, которое влияет не только на поведение, но и на функционирование мозга и иммунной системы. Недавние исследования показали, что даже на ранних этапах воздержания организм начинает перестраиваться, открывая новые возможности для терапии зависимости. Ученые сосредоточились на пациентах, находящихся в первые недели абстиненции, и зафиксировали значительные изменения в мозговой активности. С помощью функциональной магнитно-резонансной томографии они выявили перестройку сетей нейронных связей, отвечающих за контроль импульсов и принятие решений. Эти изменения могут быть ключевыми для восстановления самоконтроля и снижения риска рецидива. Одновременно с нейронной перестройкой исследователи наблюдали колебания иммунной системы. В крови повышался уровень цитокинов - сигнальных белков, регулирующих воспалительные процессы. Эти данные свидетельствуют о существовании нейроиммунного взаимодействия, при ...>>

Случайная новость из Архива

Золотые наночастицы синтезировали с помощью мимиозы 22.07.2017

Международная группа исследователей научилась синтезировать содержащие золото наночастицы с помощью бактерий, обитающих внутри мимозы стыдливой (Mimosa pudica).

Полученные соединения обладают выраженными бактерицидными свойствами. По мнению авторов исследования, их работа может быть полезна для создания новых лекарств, борющихся с устойчивыми к антибиотикам бактериями.

"Настоящее исследование предлагает быстрый и экологически чистый способ синтеза наночастиц, содержащих золото, с помощью новой симбиотической бактерии Aneurin Bacillus migulanus 14, обитающей в мимозе стыдливой. Эффективность нового вещества в борьбе с патогенами показана на примере значительного снижения активности патогена Pseudomonas aeruginosa", - говорится в статье, опубликованной в журнале Environmental Toxicology and Pharmacology.

Из-за широкого применения антибиотиков сейчас в мире появляется все больше устойчивых к лекарствам микроорганизмов, поэтому люди ищут новые способы борьбы с бактериями. Исследования показывают, что сильными антибактериальными свойствами обладают различные металлические наночастицы, особенно, содержащие серебро и золото. Но, к сожалению, химический синтез таких соединений не только очень дорог, но еще и небезопасен, поскольку сопряжен с использованием опасных для здоровья людей и экологии токсичных элементов.

В новой работе сам процесс синтеза с помощью бактерии Aneurin Bacillus migulanus 14 представлял собой многоступенчатый процесс, но после оптимизации исследователями его можно провести всего за 20 минут. При этом синтез не требует ни высоких температур, ни сложной и дорогостоящей аппаратуры, ни использования токсичных реагентов.

Антимикробную активность новых соединений исследователи проверили на серии патогенных бактерий. В результате выяснилось, что золото очень хорошо помогает от различных инфекций. Лучше всего наночастицы справлялись с синегнойной палочкой P. Aeruginosa, кишечной палочкой E.Coli, золотистым стафилококком S. aureus, сенной палочкой B. Subtilis, а также клебсиеллой пневмонии K. Pneumoniae.

Другие интересные новости:

▪ Солнечные панели на фосфиде индия

▪ Найдены звезды второго поколения

▪ Микропластик расщепляет клетки легких человека

▪ Новые Toshiba Regza - телевизоры с жестким диском

▪ Изучено строение пентакварков

Лента новостей науки и техники, новинок электроники

 

Интересные материалы Бесплатной технической библиотеки:

▪ раздел сайта Переговорные устройства. Подборка статей

▪ статья Физиология высшей нервной деятельности. История и суть научного открытия

▪ статья В каком государстве почта адресуется не по улицам и номерам домов, а по их описаниям? Подробный ответ

▪ статья Аденоиды. Медицинская помощь

▪ статья Узлы радиолюбительской техники. Модуляторы. Справочник

▪ статья Регулятор освещения на микросхеме К145АП2. Энциклопедия радиоэлектроники и электротехники

Оставьте свой комментарий к этой статье:

Имя:


E-mail (не обязательно):


Комментарий:





Главная страница | Библиотека | Статьи | Карта сайта | Отзывы о сайте

www.diagram.com.ua

www.diagram.com.ua
2000-2026