Menu Home

Бесплатная техническая библиотека для любителей и профессионалов Бесплатная техническая библиотека


Однопереходные транзисторы. Справочные данные

Бесплатная техническая библиотека

Энциклопедия радиоэлектроники и электротехники / Справочные материалы

 Комментарии к статье

В статье описывается устройство, принцип работы и применение однопереходных транзисторов.

Однопереходный транзистор или, как его еще называют, двухбазовый диод, представляет собой трехэлектродный полупроводниковый прибор с одним p-n переходом. Структура его условно показана на рис. 1, а, условное графическое обозначение в схемах - на рис. 1, б.

Однопереходные транзисторы. Справочные данные

Основой однопереходного транзистора является кристалл полупроводника (например, с проводимостью n-типа), называемый базой. На концах кристалла имеются омические контакты Б1 и БЗ, между которыми расположена область, имеющая выпрямляющий контакт с полупроводником р-типа, выполняющим роль эмиттера.

Принцип действия однопероходного транзистора удобно рассмотреть, пользуясь простейшей эквивалентной схемой (рис. 1, в), где RБ1 и RБ2 - сопротивления между соответствующими выводами базы и эмиттером, а Д1- эмиттерный р-п переход. Ток, протекающий через сопротивления RБ1 и RБ2, создает на первом из них падение напряжения, смещающее диод Д1 в обратном направлении. Если напряжение на эмиттере Uэ меньше падения напряжения на сопротивлении RБ1, диод Д1 закрыт, и через него течет только ток утечки.

Когда же напряжение UЭ становится выше напряжения на сопротивлении RБ1, диод начинает пропускать ток в прямом направлении. При этом сопротивление RБ1 уменьшается, что приводит к увеличению тока в цепи Д1 RБ1, а это, в свою очередь, вызывает дальнейшее уменьшение сопротивления RБ1. Этот процесс протекает лавинообразно. Сопротивление RБ1 уменьшается быстрее, чем увеличивается ток через р-п переход, в результате на вольт-амперной характеристике однопереходного транзистора (рис. 2), появляется область отрицательного сопротивления (кривая 1). При дальнейшем увеличении тока зависимость сопротивления RБ1 от тока через р-п переход уменьшается, и при значениях, больших некоторой величины ( Iвыкл) оно не зависит от тока (область насыщения).

Однопереходные транзисторы. Справочные данные

При уменьшении напряжения смещения Uсм вольт-амперная характеристика смещается влево (кривая 2) и при отсутствии его обращается в характеристику открытого p-n перехода (кривая 3).

Основными параметрами однопереходных транзисторов, характеризующими их как элементы схем, являются:
межбазовое сопротивление RБ1Б2 - сопротивление между выводами баз при отключенном эмиттере;
коэффициент передачи характеризующий напряжение переключения;
напряжение срабатывания Ucp- минимальное напряжение на эмиттерном переходе, необходимое для перевода прибора из состояния с большим сопротивлением в состояние с отрицательным сопротивлением;
ток включения Iвкл - минимальный ток, необходимый для включения однопереходного транзистора, то есть перевода его в область отрицательного сопротивления;
ток выключения Iвыкл -наименьший эмиттерный ток, удерживающий транзистор во включенном состоянии;
напряжение выключения Uвыкл- напряжение на эмиттерном переходе при токе через него, равном Iвыкл;
обратный ток эмиттера Iэо - ток утечки закрытого эмиттерного перехода.

Эквивалент однопереходного транзистора может быть построен из двух обычных транзисторов с разным типом проводимости, как показано на рис. 3.

Однопереходные транзисторы. Справочные данные

Здесь ток, протекающий через делитель, состоящий из резисторов R1 и R2, создает на втором из них падение напряжения, закрывающее эмиттерный переход транзистора Т1. При увеличении напряжения на эмиттере транзистор Т1 начинает пропускать ток в базу транзистора Т2, в результате чего он также открывается. Это приводит к снижению напряжения на базе транзистора Т1, что, в свою очередь, вызывает еще большее открывание его и т. д. Другими словами, процесс открывания транзисторов в таком устройстве также протекает лавинообразно и вольтамперная характеристика устройства имеет вид, аналогичный характеристике однопереходного транзистора.

Устройства на однопереходных транзисторах

Однопереходные транзисторы (двухбазовые диоды) широко применяются в различных устройствах автоматики, импульсной и измерительной техники - генераторах, пороговых устройствах, делителях частоты, реле времени и т. д.

Одним из основных типов устройств на однопереходных транзисторах является релаксационный генератор, схема которого показана на рис. 1.

Однопереходные транзисторы. Справочные данные
(нажмите для увеличения)

При включении питания конденсатор С1 заряжается через резистор R1. Как только напряжение на конденсаторе становится равным напряжению включения однопереходного транзистора Т1, его эмиттерный переход открывается и конденсатор быстро разряжается. По мере разряда конденсатора эмиттерный ток уменьшается и при достижении величины, равной току выключения, транзистор закрывается, после чего процесс повторяется снова. В результате на базах Б1 и Б2 возникают короткие разнополярные импульсы, которые и являются выходными сигналами генератора.

Частоту колебаний f генератора можно рассчитать по приближенной формуле:

где R - сопротивление резистора R1, Ом;

С-емкость конденсатора С1, Ф;

η- коэффициент передачи однопереходного транзистора.

При заданной частоте колебаний емкость конденсатора следует выбрать возможно большей с тем, чтобы получить на нагрузке (R2 или R3) сигнал с нужной амплитудой. Важным достоинством генератора на однопереходном транзисторе является то, что частота его колебаний незначительно зависит от величины питающего напряжения. Практически изменение напряжения от 10 до 20 В приводит к изменению частоты всего на 0,5%.

Если вместо резистора R1 в зарядную цепь включить фотодиод, фоторезистор, терморезистор или другой элемент, изменяющий свое сопротивление под действием внешних факторов (света, температуры, давления и т. д.), то генератор превращается в аналоговый преобразователь соответствующего физического параметра в частоту следования импульсов.

Несколько изменив схему, как показано на рис. 2, этот же генератор можно превратить в устройство сравнения напряжений. В этом случае базовые цепи транзистора подключают к источнику эталонного напряжения, а зарядную цепь - к исследуемому источнику. Когда напряжение последнего превысит напряжение включения, устройство начнет генерировать импульсы положительной полярности.

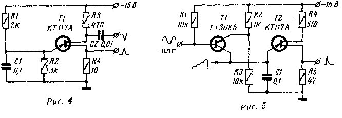
В устройстве, схема которого показана на рис. 3, конденсатор заряжается через резистор R4 и сопротивление участка эмиттер - коллектор биполярного транзистора Т1. В остальном работа этого генератора не отличается от описанного ранее. Зарядный ток, а, следовательно, и частоту пилообразного напряжения, снимаемого в этом случае с эмиттера однопереходного транзистора Т2, регулируют изменением напряжения смещения на базе транзистора Т1 с помощью подстроечного резистора R2. Отклонение линейности формы колебаний, вырабатываемых таким устройством, не превышает 1%

Однопереходные транзисторы. Справочные данные

Моментом включения однопереходного транзистора можно управлять, подавая импульс положительной полярности в цепь эмиттера или отрицательной полярности в цепь базы Б2. На этом принципе основана работа ждущего мультивибратора, схема которого приведена на рис. 4. Для получения нужного режима работы максимальное напряжение на конденсаторе С1, зависящее от соотношения сопротивлений резисторов делителя R1R2, устанавливают меньшим напряжения включения транзистора. Разность этих напряжений выбирают с учетом возможных помех в цепи запуска, которые могут привести к ложным срабатываниям устройства. При подаче импульса отрицательной полярности в цепь базы Б2 межбазовое напряжение UБ1Б2 уменьшается (модулируется), в результате транзистор Т1 открывается и на базе Б1 возникает импульс положительной полярности.

Однопереходные транзисторы. Справочные данные
(нажмите для увеличения)

Однопереходные транзисторы применяют и в генераторах напряжения ступенчатой формы. На вход такого устройства (см. рис. 5) подают сигнал симметричной (синусоидальной, прямоугольной и т, д.) формы. При положительной полуволне сигнала конденсатор С1 заряжается через резистор R2 и сопротивление участка эмиттер-коллектор транзистора Т1 до некоторого напряжения, значительно меньшего напряжения включения однопереходного транзистора Т2. За время действия следующей положительной полуволны напряжение на конденсаторе ступенчато возрастает на такую же величину и так до тех пор, пока не станет равным напряжению включения транзистора Т2.

Напряжение ступенчатой формы снимается с его эмиттера. На использовании этого принципа основана работа делителей частоты. Один каскад на однопереходном транзисторе способен обеспечить коэффициент деления до 5. Объединив в единое целое несколько таких устройств, можно получить делитель с гораздо большим коэффициентом деления. Для примера на рис. 6 приведена схема делителя частоты на 100. Первый каскад устройства делит частоту поступающих на его вход импульсов положительной полярности на 4, два других - на 5.

Однопереходные транзисторы. Справочные данные

Как видно из схемы, каскады делителя частоты отличаются друг от друга только сопротивлениями резисторов в цепях заряда конденсаторов С1-C3. Постоянная времени заряда конденсатора С1 определяется резисторами Rl, R2. R4 и R6; С2 - резисторами R3. R4 и R6; C3-R5 и R6. При включении питания конденсаторы С1-C3 начинают заряжаться. Импульсы напряжения положительной полярности, поступающие на вход устройства, складываются с напряжением на конденсаторе С1 и как только их сумма достигает величины, равной напряжению включения, однопереходный транзистор открывается и конденсатор разряжается через его эмиттерный переход. В результате скачком увеличивается падение напряжения на резисторах R4 и R6, а это приводит к уменьшению межбазовых напряжений транзисторов Т2 и ТЗ. Однако транзистор Т2 откроется только тогда, когда напряжение на конденсаторе С2 станет достаточным для его включения при пониженном межбазовом напряжении. Аналогично работает и третий каскад делителя.

Однопереходные транзисторы. Справочные данные

Схема реле времени, отличающегося очень высокой экономичностью, приведена на рис. 7. В исходном состоянии тиристор ДЗ закрыт, поэтому устройство практически не потребляет энергии (токи утечки невелики и ими можно пренебречь). При подаче на управляющий электрод запускающего импульса положительной полярности тиристор открывается. В результате срабатывает реле Р1 и своими контактами (на схеме условно не показаны) включает исполнительное устройство. Одновременно через резисторы R1 и R2 начинают заряжаться конденсаторы С1 и С2. Поскольку сопротивление первого из этих резисторов во много раз больше второго, то первым зарядится конденсатор С2, а когда напряжение на конденсаторе С1 достигнет величины напряжения включения, однопереходный транзистор откроется и конденсатор С1 разрядится через его эмиттерный переход. Возникший при этом на резисторе R2 импульс положительной полярности сложится с напряжением на конденсаторе С2, в результате чего тиристор ДЗ закроется и обесточит реле Р1 до прихода следующего запускающего импульса.

Однопереходные транзисторы. Справочные данные

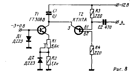
Устройство, схема которого приведена на рис, 8, предназначено для аналогового преобразования напряжения в частоту. Здесь транзистор Т2 использован в релаксационном генераторе, Т1 вместе с резисторами R1 и R2 включен в зарядную цепь конденсатора С1. При изменении напряжения на базе транзистора Т1 изменяется сопротивление его участка эмиттер-коллектор, а следовательно, в зависимости от величины входного напряжения однопереходный транзистор Т2 открывается с большей или меньшей частотой. По частоте следования импульсов, снимаемых с нагрузочного резистора R3 в цепи базы Б1 можно судить о напряжении на входе устройства.

Публикация: cxem.net

Смотрите другие статьи раздела Справочные материалы.

Читайте и пишите полезные комментарии к этой статье.

<< Назад

Последние новости науки и техники, новинки электроники:

Оптимальная продолжительность сна 12.11.2025

Сон играет ключевую роль в поддержании здоровья, когнитивных функций и общего самочувствия. Несмотря на широко распространенный стереотип о восьмичасовом сне, последние исследования показывают, что оптимальная продолжительность сна для большинства здоровых взрослых ближе к семи часам. Эволюционный биолог из Гарварда, Дэниел Э. Либерман, утверждает, что традиционная норма восьми часов сна - это скорее культурное наследие индустриальной эпохи, чем биологическая необходимость. По его словам, полевые исследования, проведенные в сообществах, не использующих электричество, показывают, что средняя продолжительность сна составляет 6-7 часов, что значительно отличается от общепринятого стандарта. Современные эпидемиологические данные подтверждают этот взгляд. Исследования выявили так называемую "U-образную кривую" зависимости между продолжительностью сна и рисками для здоровья. Минимальные показатели заболеваемости и смертности наблюдаются именно у людей, спящих около семи часов в сутки. ...>>

Дефицит кислорода усиливает выброс закиси азота 12.11.2025

Парниковые газы играют ключевую роль в изменении климата, а закись азота (N2O) - один из наиболее опасных среди них. Этот газ не только втрое сильнее углекислого газа в удержании тепла, но и разрушает озоновый слой. Недавнее исследование американских ученых показало, что микробы в зонах с низким содержанием кислорода активно производят N2O, усиливая глобальные климатические риски. Команда из Университета Пенсильвании изучала прибрежные воды у Сан-Диего и провела наблюдения на глубинах от 40 до 120 метров в Восточной тропической северной части Тихого океана - одной из крупнейших зон дефицита кислорода. Исследователи сосредоточились на том, как морские микроорганизмы превращают нитраты в закись азота. В ходе работы выяснилось, что существует два пути образования N2O. Один путь начинается с нитрата, другой - с нитрита. На первый взгляд более короткий путь должен быть эффективнее, однако микробы, использующие нитрат, продуцируют больше газа, поскольку этот "сырьевой" источник более д ...>>

Омега-3 помогают молодым кораллам выживать 11.11.2025

Сохранение коралловых рифов становится все более актуальной задачей в условиях глобального изменения климата. Молодые кораллы особенно уязвимы на ранних стадиях развития, когда стрессовые условия и нехватка питательных веществ могут привести к высокой смертности. Недавнее исследование ученых из Технологического университета Сиднея показывает, что специальные пищевые добавки способны существенно повысить выживаемость личинок кораллов. В ходе работы исследователи разработали особый состав "детского питания" для коралловых личинок. В него вошли масла, богатые омега-3 жирными кислотами, а также важные стерины, необходимые для формирования клеточных мембран. Личинки, получавшие эти добавки, развивались быстрее, становились крепче и демонстрировали более высокую устойчивость к стрессовым факторам. Особое внимание ученые уделили липидам. Анализ показал, что личинки активно усваивают эти вещества, что напрямую влияет на их жизнеспособность. Стерины, содержащиеся в корме, повышают устойчи ...>>

Случайная новость из Архива

Скоростная зарядка электрокаро 19.09.2025

Одним из главных факторов, сдерживающих повсеместное распространение электромобилей, остается не столько их запас хода, сколько длительность зарядки. Если проблема дальности уже фактически решена, то ожидание у зарядной станции по-прежнему вызывает у многих автовладельцев недовольство. Южнокорейские ученые из KAIST совместно с компанией LG Energy Solution сообщили о достижении, которое может изменить ситуацию.

Исследователи представили литий-металлический аккумулятор, способный зарядиться с 10 до 80 процентов всего за пятнадцать минут. Такой результат превосходит привычные литий-ионные батареи, которые по-прежнему преобладают на рынке. Li-ion-технология остается безопасной и надежной, но она уже достигла границ своих возможностей, в то время как литий-металлические системы открывают путь к аккумуляторам нового поколения.

Ключевое отличие заключается в аноде. В традиционных литий-ионных батареях энергия накапливается в графитовой структуре, что ограничивает плотность хранения. Литий-металлические аккумуляторы используют вместо этого тончайший слой чистого лития, что существенно увеличивает запас энергии и позволяет автомобилям проходить большее расстояние на одном заряде.

Однако ускоренная зарядка таких устройств долгое время считалась проблематичной. Высокие токи приводят к образованию дендритов - тонких игольчатых наростов на аноде, которые со временем могут повредить внутренние барьеры аккумулятора и вызвать короткое замыкание или возгорание. Даже без критических последствий дендриты снижают емкость батареи и заметно сокращают срок ее службы.

Группа ученых под руководством профессора Хи-Так Кима сумела объяснить природу этого процесса. С помощью криогенной электронной просвечивающей микроскопии они впервые наблюдали, как во время быстрой зарядки возникают разрозненные кристаллические области размером всего несколько нанометров. Это связано с неравномерной межфазной когезией лития, когда под воздействием сильного тока компоненты электролита комкуются и формируют нестабильный экран, стимулирующий рост дендритов.

Для преодоления проблемы исследователи экспериментировали с разными вариантами электролитов. Наиболее эффективным оказался жидкий состав, который препятствует формированию дендритов даже при интенсивной зарядке. Интересно, что наилучшие результаты показали сравнительно "слабые" электролиты, которые не создают прочных связей с ионами лития.

Испытания показали впечатляющие результаты. Один из прототипов заряжался от 5 до 70 процентов всего за двенадцать минут и выдерживал более 350 циклов. Более емкая версия, обладающая расчетной плотностью энергии 386 ватт-часов на килограмм, восполняла заряд от 10 до 80 процентов за семнадцать минут и сохраняла стабильность на протяжении 180 циклов.

По словам профессора Хи-Так Кима, это исследование стало важной вехой: понимание процессов на межфазном интерфейсе позволило устранить главный барьер на пути применения литий-металлических аккумуляторов в автопроме. Если дальнейшие испытания подтвердят надежность технологии, автомобили будущего смогут заряжаться почти так же быстро, как сегодня заправляются топливом.

Другие интересные новости:

▪ Планшет Asus Transformer Pad TF701T

▪ Стандарт eMMC v5.0

▪ 3D-печать металлических объектов при комнатной температуре

▪ Прогноз здоровья на 2030 год

▪ Автомобиль адаптируется под стиль вождения своего хозяина

Лента новостей науки и техники, новинок электроники

 

Интересные материалы Бесплатной технической библиотеки:

▪ раздел сайта Звонки и аудио-имитаторы. Подборка статей

▪ статья Дары Помоны и Флоры. Крылатое выражение

▪ статья Какой наркотик самый вредный по суммарному показателю вреда для себя и для окружающих? Подробный ответ

▪ статья Асафетида. Легенды, выращивание, способы применения

▪ статья Корпусная АС для акустического оформления салона автомобиля. Энциклопедия радиоэлектроники и электротехники

▪ статья Приставка для управления микродрелью. Энциклопедия радиоэлектроники и электротехники

Оставьте свой комментарий к этой статье:

Имя:


E-mail (не обязательно):


Комментарий:





Главная страница | Библиотека | Статьи | Карта сайта | Отзывы о сайте

www.diagram.com.ua

www.diagram.com.ua
2000-2025