Menu Home

Бесплатная техническая библиотека для любителей и профессионалов Бесплатная техническая библиотека


Hi-Fi и регулятор громкости. Энциклопедия радиоэлектроники и электротехники

Бесплатная техническая библиотека

Энциклопедия радиоэлектроники и электротехники / Усилители мощности транзисторные

 Комментарии к статье

Начну, пожалуй, с цитаты: "Задача регулирования уровня сигнала - проще говоря, "громкости" - является одной из непростых проблем в схемотехнике звуковой аппаратуры" [1]. Здесь автор, сильно упрощая проблему, приравнивает такие понятия как "уровень сигнала" и "громкость", а затем описывает свой регулятор уровня. Уровень сигнала - это понятие из области схемотехники усилителей звуковых (и не только) частот. Здесь пользуются терминами "регулятор уровня" или "регулятор усиления". А громкость - это понятие из области физиологической акустики, где в ходу"громкость", "уровень громкости" и др [2].

Понятие "громкость" значительно сложнее термина "уровень сигнала", применяемого аудиоинженерами и звукорежиссерами и обозначающего величину напряжения (в вольтах или децибелах) в разных точках звукоусилительного тракта. Регуляторы уровня, в отличие от регуляторов громкости, - частотноне зависимые устройства. Существует даже такое понятие как "тонкомпенсированный регулятор громкости" (попахивает тавтологией!), обозначающее регулятор, учитывающий свойства слуха. Стоит упомянуть и термин "физиологический регулятор громкости", аналогичный только что названному. Несомненно, регуляторы громкости в Hi-Fi аппаратуре - это, как правило, тонкомпенсированные, или физиологические. Аппаратуру "высокого конца" (Hi-End) рассматривать не будем, поскольку там выполняются любые прихоти снобов за очень большие деньги. Роскошь обязывает!

Известно, что чувствительность человеческого уха зависит от частоты [3], и потому одинаково воспринимаемой громкости звука на разных частотах соответствуют разные уровни звукового давления. Графически эта зависимость иллюстрируется "кривыми равной громкости" (рис.1). Чтобы обеспечить высокое качество воспроизведения той или иной звуковой программы, необходимо, ориентируясь на кривые равной громкости, компенсировать соответствующие различия в чувствительности слуха. Эту задачу призваны выполнять тонкомпенсированные регуляторы громкости [2].

Hi-Fi и регулятор громкости

Однако спроектировать такой регулятор далеко не просто. Дело в том, что форма кривых равной громкости неоднозначна. Она зависит от целого ряда факторов, в частности, от акустических свойств помещения прослушивания, от наличия маскирующих шумов, от особенностей слуха самого слушателя и т.д. В результате, необходимое в том или ином случае семейство АЧХ тон компенсированного регулятора громкости также оказывается неоднозначным. И все же неплохие результаты, по оценке слушателей, можно получить, если пользоваться стандартными кривыми равной громкости чистых тонов для плоской звуковой волны. Но их необходимо скорректировать, руководствуясь приведенными ниже соображениями.

При прослушивании музыкальных программ уровень громкости обычно не превосходит 90 фон и может быть уменьшен слушателем до порога слышимости или до уровня шумов в помещении. Для определенности, диапазон регулирования громкости на частотах 1...2 кГц возьмем равным 80 дБ. Будем считать, что АЧХ регулятора линейна, а музыкальная программа сбалансирована по тембру в положении регулятора, соответствующем максимальной громкости (80 фон). Переход от этого уровня громкости к другому, например, 60 фон, требует коррекции АЧХ регулятора.

Для получения с корректированной зависимости на рис.1 проводим горизонтальную линию через деление 80 дБ на оси L (показана пунктирной линией). Затем измеряем расстояния от этой прямой до нескольких точек, лежащих на кривой равной громкости 80 фон. Далее эти расстояния откладываем вниз от соответствующих точек на кривой равной громкости 60 фон. Через полученные таким образом новые координаты проводим кривую, которая будет скорректированной АЧХ регулятора в положении, соответствующем уровню громкости 60 фон.

Аналогичным образом, относительно кривой равной громкости 80 фон. строятся скорректированные АЧХ при уровнях громкости 40. 20 и 0 (3) фон и получается требуемое для правильной тонкомпенсации семейство АЧХ регулятора громкости. В диапазоне изменения уровня громкости 80 дБ оно показано на рис.2 (сплошные жирные линии).

Hi-Fi и регулятор громкости

Теперь необходимо построить тонкомпенсированный регулятор громкости, семейство АЧХ которого приближается к требуемому наилучшим образом. В области частот ниже 2 кГц кривая, соответствующая минимальному коэффициенту передачи, может быть аппроксимирована АЧХ RC-цепи. показанной на рис.3а. Эта характеристика левее частоты перегиба f1 (рис.3б) имеет наклон 6 дБ на октаву. Если резистор R2 этой цепи сделать переменным, а минимальное сопротивление его выбрать много меньше R1. то при регулировании сопротивления R2, наряду с изменением коэффициента передачи цепи, будет изменяться и частота перегиба ее АЧХ. Как видно из рис.2, с учетом аппроксимации в пределах 3 дБ, частота перегиба должна перемещаться в процессе регулирования по линии ЛВ, чтобы обеспечить нужную тонкомпенсацию. Диапазон изменения сопротивления R2 при этом не может быть более 100, так как fа/fв<100. С другой стороны, коэффициент передачи Кп регулятора на частоте 2 кГц, как видно из рис.2 и как было сказано ранее, должен изменяться на 80 дБ (в 10000 раз). Во столько же раз должно меняться сопротивление R2.

Hi-Fi и регулятор громкости

Совершенно очевидно, что с помощью изменения сопротивления только одного резистора R2 достичь такого сдвига частоты перегиба и изменения коэффициента передачи не удастся. Однако, увеличивая число последовательно соединенных RC-цепей и одновременно уменьшая пределы регулировки резистора R2 в каждой из них. эту проблему можно решить. Уже две такие RC-цепи (постоянная времени второй цепи должна быть в 20...40 раз больше первой) позволяют получить вполне приемлемый результат: отклонение кривых реального семейства АЧХ (пунктирные линии на рис.2) от требуемого (сплошная линия) не превышает 3 дБ.

На частотах выше 2 кГц уменьшение громкости с 80 до 60 фон сопровождается появлением перегиба на кривой 60 фон на частоте 5 кГц с наклоном 3 дБ на октаву. При дальнейшем уменьшении громкости вплоть до порога слухового ощущения {уровень 3 фон) частота перегиба смещается с 5 до 3 кГц, наклон же кривых практически не меняется. В этой области частот кривую 3 фон можно аппроксимировать АЧХ RC-цепи, показанной на рис.4а. Номиналы резисторов R1 и R2 здесь те же, что и в RC-цепи. показанной на рис.3а. Изменение сопротивления R2 не приводит к смещению частоты перегиба f2 (рис.4б).

Hi-Fi и регулятор громкости

Чтобы увеличение громкости с 60 до 80 фон не сопровождалось подъемом высших звуковых частот, RC-цепь должна обеспечивать частотную компенсацию при максимальном коэффициенте передачи, чего можно достигнуть шунтированием резистора R2 конденсатором С2 такой емкости, при которой соблюдалось бы равенство постоянных времени T2=R1C1 и x3=R2-C2. В этом случае необходимое для регулирования громкости уменьшение сопротивления R2 будет сопровождаться уменьшением постоянной времени Т3 и сдвигом частоты среза RC-цепи (f3=1/2nR2-C2) в более высокочастотную область, а частота перегиба f2 будет оставаться неизменной, что и обеспечит требуемое соответствие АЧХ RC-цепи кривым равной громкости е области частот выше 2 кГц.

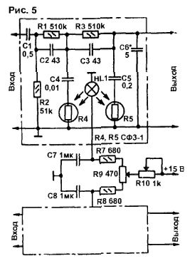
Пример практической реализации тонкомпенсированного регулятора громкости показан на рис.5 [4, 5]. Сопротивления входящих в него резисторов и конденсаторов можно рассчитать, пользуясь следующими соотношениями:

  • R1=R3=R:
  • R4min=R5min=0.01R;
  • R4max=R5max=10R;
  • R1C2=R3C3=20MKC;
  • R4minC4=4000 мкс;
  • R5minC5=100 мкс;
  • R5maxC6=20 мкс. Сопротивление R может быть выбрано в пределах 103..106 Ом. На рис.5 R=510 кОм. R5minC5=2000 мкс (4000); R4minC4=100 мкс.

Hi-Fi и регулятор громкости

Во избежание шунтирования цепи R5-C5. подключаемый к выходу регулятора усилитель ЗЧ должен иметь большое входное сопротивление и малую входную емкость. Его, в частности, можно выполнить по схеме повторителя напряжения на ОУ с полевыми транзисторами на входе. Выходное сопротивление усилителя, включенного перед регулятором, должно быть в 20 раз меньше сопротивления R2. Переменные резисторы тонкомпенсированного регулятора громкости должны быть сдвоенными. В нашем случае их функции выполняют фоторезисторы R4, R5, а органом регулировки служит резистор R10. изменяющий ток через лампу накаливания HL1. Использующиеся в регуляторе громкости фоторезисторы СФЗ-1 обладают высоким быстродействием (постоянная времени - меньше 0,06 с) и необходимым диапазоном изменения сопротивления. Лампа накаливания (сверхминиатюрная) - НСМ (6,3 Вх20 мА). ток через нее изменяется в пределах 6...18 мА. Фоторезисторы размещаются вплотную к лампе накаливания, и весь регулятор помещается в светонепроницаемый металлический экран.

На рис.5 показан двухканальный регулятор для стереофонического усилителя. В нем необходимо попарно подобрать фоторезисторы в разных каналах так, чтобы при изменении в диапазоне от 104 до 106 Ом их сопротивления отличались не более чем на 20%. В противном случае будет заметен разбаланс каналов во время изменения громкости.

Стереобаланс регулируется резистором R9 в пределах ±6 дБ. Конденсаторы С7, СВ устраняют шорохи и трески, создаваемые переменными резисторами.

Переменный резистор R10 должен иметь линейную характеристику регулирования. Постоянные резисторы - с отклонением сопротивлений от номинального значения не более ±5%. Конденсаторы С1. С4, С5 - бумажные МБМ, остальные - керамические. Емкость конденсатора С6 зависит от емкости монтажа и входной емкости усилителя, подключенного к выходу регулятора громкости. Лампы накаливания должны питаться от стабилизированного источника питания.

Настройка регулятора сводится к обеспечению линейности АЧХ при К„=0 дБ (подбором С6) и проверке идентичности семейства его АЧХ в разных каналах стерео усилителя при разных уровнях громкости.

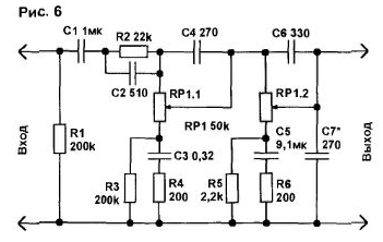
Другой пример регулятора показан на рис.6. Здесь используются сдвоенные переменные резисторы с линейной зависимостью сопротивления от угла поворота оси (группа "А"). Для стереофонического регулятора нужно применить два сдвоенных переменных резистора. Особых проблем с регулировкой баланса такое решение не вызывает, если на панели, где установлены оба резистора, нанести шкалы уровней громкости.

Hi-Fi и регулятор громкости

Попытка применить счетверенный резистор наталкивается на большие трудности; во-первых, он - очень редкая "птица" в наших краях, во-вторых, его резисторы имеют большие разбросы по сопротивлению, и в-третьих, дополнительно требуется регулятор баланса, что не упрощает всю конструкцию. Разбросы же сопротивлений сдвоенных резисторов вполне приемлемы для этой схемы. Если сдвоенные резисторы имеют другое сопротивление, то емкости конденсаторов нужно пересчитать по приведенным соотношениям. Резисторы R3 и R5 служат для прекращения подъема НЧ за пределами звукового диапазона.

При верхнем положении движков переменных резисторов коэффициент передачи регулятора равен -6 дБ. Диапазон регулировки на частоте 2 кГц- 80...85 дБ. Отклонение от требуемых АМХ - не более ±2 дБ. если сопротивление нагрузки регулятора больше 1 МОм, а емкость нагрузки менее 50 пФ. Конденсаторы С1. C3. С5 - пленочные, остальные - слюдяные. Наладка регулятора - да никакой наладки!

А напоследок я скажу, что если слушать только громкую музыку, то достаточно иметь регулятор уровня с диапазоном регулирования 10... 15 дБ. Но если вы хотите ощутить очарование и от тихой музыки, как бы доносящейся из ближайшего парка, то стройте этот регулятор громкости, не пожалеете!

Литература

  1. А.Никитин. Регулятор громкости в Hi-Fi аппаратуре. - Радиохобби, 2002. №2, С.63.
  2. Терехов П. О регулировании громкости. - Радио, 1982, №9, С.42.
  3. Цвикер Э.. Фельдкеллер Р. Ухо как приемник информации. - М.: Связь. 1971.
  4. И.Пугачев. Тонкомпенсированный регулятор громкости. - Радио, 1988. N911.C.35.
  5. Авторское свидетельство СССР №1390776. - Бюллетень "Открытия, изобретения...". 1988, №15.

Автор: И.Пугачев, г.Минск

Смотрите другие статьи раздела Усилители мощности транзисторные.

Читайте и пишите полезные комментарии к этой статье.

<< Назад

Последние новости науки и техники, новинки электроники:

Польза белкового завтрака 14.01.2026

Правильное питание по утрам играет ключевую роль в поддержании здоровья и контроле веса. Многочисленные исследования подтверждают, что состав завтрака может влиять на аппетит в течение всего дня и качество употребляемой пищи. Австралийские ученые провели масштабный эксперимент, который показал, что употребление белковой пищи с утра помогает дольше чувствовать сытость и предотвращает переедание. В исследовании участвовали более 9 тысяч человек среднего возраста 46 лет. В период с 2011 по 2012 год специалисты анализировали рационы респондентов, оценивая долю основных макронутриентов. В среднем участники потребляли 43% углеводов, 31% жиров, 18% белков, 2% клетчатки и 4% алкоголя. Такой рацион позволил ученым проследить взаимосвязь между утренним приемом пищи и пищевым поведением в течение дня. Выяснилось, что участники, чей завтрак содержал недостаточное количество белка, ощущали повышенный аппетит в течение дня. Они ели больше, чем необходимо, и часто выбирали продукты с высоким со ...>>

Технология SmartPower HDR 14.01.2026

Ноутбуки стремительно развиваются в плане графики и мультимедийных возможностей, но яркие дисплеи с высоким динамическим диапазоном (HDR) часто становятся серьезной нагрузкой для аккумуляторов. Длительная работа с видео высокого качества или играми в HDR приводит к быстрой разрядке батареи, что ограничивает мобильность пользователей и снижает комфорт работы. Решить эту проблему призвана новая технология SmartPower HDR, разработанная совместно компаниями Samsung Display и Intel. Суть технологии заключается в динамическом управлении напряжением OLED-панелей. Чипсет ноутбука в реальном времени анализирует пиковую яркость каждого кадра и передает эти данные контроллеру дисплея, который оптимизирует подачу напряжения в зависимости от количества активных пикселей. В отличие от традиционных режимов HDR, где яркость часто фиксируется на максимальном уровне, SmartPower HDR адаптируется к конкретному контенту, что снижает энергопотребление без потери качества изображения. Технология позвол ...>>

Недосып существенно сокращает жизнь 13.01.2026

Сон является одной из самых фундаментальных потребностей человека. Он влияет на обмен веществ, работу сердца и мозга, иммунитет и общее самочувствие. Современный ритм жизни часто заставляет людей жертвовать сном ради работы, учебы или развлечений, но ученые предупреждают: регулярный недосып может иметь далеко идущие последствия для здоровья и долголетия. Исследователи из Орегонского университета здравоохранения и науки пришли к выводу, что сон менее семи часов в сутки связан с сокращением продолжительности жизни. По данным специалистов, хроническая нехватка сна не только вызывает усталость и снижение работоспособности, но и постепенно сказывается на здоровье органов и систем, увеличивая риски развития различных заболеваний. Для анализа ученые использовали обширную национальную базу данных США, сопоставляя показатели ожидаемой продолжительности жизни на уровне штатов с результатами опросов Центров контроля и профилактики заболеваний за период с 2019 по 2025 годы. Они учитывали мно ...>>

Случайная новость из Архива

Вечерний кофе сбивает биологические часы 01.10.2015

Мы пьем кофе, чтобы разогнать сон, однако эффект от него может быть гораздо более глубоким и долгим - исследователи из Колорадского университета в Боулдере выяснили, что кофе влияет на суточные ритмы, так что наши внутренние часы перестают совпадать с природным временем.

Кофеин (напомним, что содержится он не только в кофе, но и в чае, в какао, в коле и в некоторых других продуктах) связывается с аденозиновыми рецепторами нейронов мозга. Аденозин не только входит в состав ДНК как одна из "букв" генетического кода, он также участвует в передаче самых разных сигналов, влияющих на метаболизм и физиологию. В частности, считается, что он подавляет процессы возбуждения в мозге, так что его замещение кофеином приводит к стимуляции мозговой активности. Но стимулирующее действие кофеина - не единственный эффект, и влияние его на циркадные ритмы некоторое время назад обнаружили в опытах с водорослями и мухами дрозофилами. Однако на людях это до сих пор не проверяли.

Эксперимент Кеннета Райта (Kenneth Wright) и его коллег состоял в следующем: нескольким добровольцам за три часа до того, когда они обычно ложились спать, давали таблетки с дозой кофеина, соответствующей двойному эспрессо. Затем у них каждые полчаса брали на анализ слюну, чтобы оценить уровень гормона мелатонина, который отвечает за сонливость: он накапливается в темноте, сигнализируя, что пора спать, и считается одним из важнейших регуляторов суточного ритма. Оказалось, как пишут авторы работы в Science Translational Medicine, "двойной эспрессо" в таблетках за три часа до сна задерживал динамику мелатонина на 40 минут. То есть когда человек ложился спать, его организм полагал, что можно еще 40 минут что-то поделать.

Похожим образом дела обстояли тогда, когда человека заставляли сидеть все три часа при ярком свете, как если бы все это время длился солнечный полдень. Свет - главный регулятор биологических ритмов, и уровень мелатонина, как было сказано, напрямую зависит от того, темно ли вокруг нас или светло, так что неудивительно, что у людей, которые находились на свету, уровень мелатонина запаздывал на целых 85 минут. Если же неурочное освещение и кофеин совмещали, никакого добавочного опоздания в биологических часах не было - скорее всего, из-за того, что свет задавал максимальный сдвиг стрелок, и кофеин сюда уже ничего добавить не мог.

Чтобы понять молекулярный механизм циркадной задержки, использовали клетки остеосаркомы человека. Ранее удалось показать, что кофеин оказывает на них ровно такой же эффект, задерживая суточные колебания в активности генов, вовлеченных в управление суточным ритмом. И вот с помощью остеосаркомных клеток исследователи выяснили, что стимулирующий эффект кофеина и его способность вмешиваться в ход биологических часов опираются на отчасти разные молекулярные механизмы: стимуляция зависит от аденозиновых рецепторов А1, а сдвиг часов - от сходных, но все же отличающихся от них рецепторов А2.

Сбои в суточных ритмах могут сильно навредить здоровью, поскольку и гормоны, и иммунитет, и прочие системы организма изменяют свою активность в соответствии с сигналом биологических часов. Например, смещение ритма ведет к гипервозбудимости иммунной системы: увеличивается число клеток, стимулирующих иммунный ответ в кишечнике, и в результате повышается риск развития беспричинного вялотекущего воспаления. С другой стороны, чувствительность к инсулину тоже зависит от времени суток, и, если биологические часы начнут идти неправильно, у нас может начаться ожирение: клетки станут постоянно поглощать глюкозу, а жир будет скапливаться в них бесполезным грузом. Так что во избежание проблем со здоровьем лучше не пить кофе перед сном, даже если на вас висит какая-нибудь срочная работа, которую нужно закончить до завтрашнего дня.

Другие интересные новости:

▪ Незаметные провода

▪ Стабильный двумерный электронный газ на поверхности полупроводника

▪ Серийное производство памяти HBM2E

▪ Модули памяти Kingston HyperX DDR4

▪ Восстановление кости с помощью звука

Лента новостей науки и техники, новинок электроники

 

Интересные материалы Бесплатной технической библиотеки:

▪ раздел сайта Телефония. Подборка статей

▪ статья Использование AVerTV Capture HD в программе VirtualDub. Искусство видео

▪ статья В чем состоит значение нейтрино с точки зрения астрофизики? Подробный ответ

▪ статья Коммерческий агент. Должностная инструкция

▪ статья Радиозвонок управляет насосом. Энциклопедия радиоэлектроники и электротехники

▪ статья Остающиеся деньги. Секрет фокуса

Оставьте свой комментарий к этой статье:

Имя:


E-mail (не обязательно):


Комментарий:




Комментарии к статье:

Борис
В тексте по рисункам 4 и 5 есть неточности в обозначениях и указанных величинах сопротивлений и постоянных времени.


Главная страница | Библиотека | Статьи | Карта сайта | Отзывы о сайте

www.diagram.com.ua

www.diagram.com.ua
2000-2026