Menu Home

Бесплатная техническая библиотека для любителей и профессионалов Бесплатная техническая библиотека


УМЗЧ с комплиментарными полевыми транзисторами. Энциклопедия радиоэлектроники и электротехники

Бесплатная техническая библиотека

Энциклопедия радиоэлектроники и электротехники / Усилители мощности транзисторные

 Комментарии к статье

Представляем читателям вариант стоваттного УМЗЧ с полевыми транзисторами. В этой конструкции корпусы мощных транзисторов можно монтировать на общем теплоотводе без изоляционных прокладок, и это существенно улучшает теплопередачу. В качестве второго варианта блока питания предложен мощный импульсный преобразователь, который должен иметь достаточно малый уровень собственных помех.

Применение полевых транзисторов (ПТ) в УМЗЧ до недавних пор сдерживалось скудным ассортиментом комплементарных транзисторов, а также их низким рабочим напряжением. Качество звуковоспроизведения через УМЗЧ на ПТ часто оценивают на уровне ламповых и даже выше за то, что по сравнению с усилителями на биполярных транзисторах они создают меньшие нелинейные и интермодуляционные искажения, а также имеют более плавное нарастание искажений при перегрузках. Они превосходят ламповые усилители как по демпфированию нагрузки, так и по ширине рабочей полосы звуковых частот. Частота среза таких усилителей без ООС значительно выше, чем у УМЗЧ на биполярных транзисторах, что благоприятно сказывается на всех видах искажений.

Нелинейные искажения в УМЗЧ вносит в основном выходной каскад, и для их уменьшения обычно используют общую ООС. Искажения во входном дифференциальном каскаде, используемом как сумматор сигналов от источника и цепи общей ООС, могут быть и невелики, но с помощью общей ООС снизить их невозможно

Перегрузочная способность дифференциального каскада на полевых транзисторах примерно в 100...200 раз выше, чем с биполярными транзисторами.

Применение полевых транзисторов в выходном каскаде УМЗЧ позволяет отказаться от традиционных двух-и трехкаскадных повторителей по схеме Дарлингтона с присущими им недостатками.

Хорошие результаты дает использование в выходном каскаде полевых транзисторов со структурой металл-диэлектрик-полупроводник (МДП). В связи с тем, что управление током в выходной цепи осуществляется входным напряжением (аналогично электровакуумным приборам), то при больших токах быстродействие каскада на полевых МДП-транзисторах в режиме переключения достаточно высокое (τ = 50 нс). Такие каскады обладают хорошими передаточными свойствами на высоких частотах и имеют эффект температурной самостабилизации.

К достоинствам полевых транзисторов относятся:

  • малая мощность управления в статическом и динамическом режимах;
  • отсутствие теплового пробоя и слабая подверженность вторичному пробою;
  • термостабилизация тока стока, обеспечивающая возможность параллельного включения транзисторов;
  • передаточная характеристика близка к линейной или квадратичной;
  • высокое быстродействие в режиме переключения, благодаря чему снижаются динамические потери;
  • отсутствие явления накопления избыточных носителей в структуре;
  • малый уровень шумов,
  • малые габариты и масса, большой срок службы.

Но кроме достоинств, эти приборы имеют и недостатки:

  • выход из строя при электрических перегрузках по напряжению;
  • возможно возникновение искажений термического происхождения на низких частотах (ниже 100 Гц). На этих частотах сигнал изменяется так медленно, что за один полупериод температура кристалла успевает измениться и, следовательно, изменяются пороговое напряжение и крутизна транзисторов.

Последний из отмеченных недостатков ограничивает выходную мощность, особенно при низких напряжениях питания; выход из положения - параллельное включение транзисторов и введение ООС.

Следует отметить, что в последнее время зарубежными фирмами (например, Exicon и др.) разработано немало полевых транзисторов, пригодных для аудиоаппаратуры: EC-10N20, 2SK133-2SK135, 2SK175, 2SK176 с каналом п-типа; ЕС-10Р20, 2SJ48- 2SJ50, 2SJ55, 2SJ56 с каналом р-типа. Такие транзисторы отличаются слабой зависимостью крутизны (forward transfer admitance) от тока стока и сглаженными выходными ВАХ

Параметры некоторых полевых транзисторов, в том числе и производства Минского производственного объединения "Интеграл", приведены в табл. 1.

УМЗЧ с комплиментарными полевыми транзисторами

Большинство транзисторных бестрансформаторных УМЗЧ выполнены по полумостовой схеме. При этом нагрузка включается в диагональ моста, образованного двумя источниками питания и двумя выходными транзисторами усилителя (рис. 1).

УМЗЧ с комплиментарными полевыми транзисторами

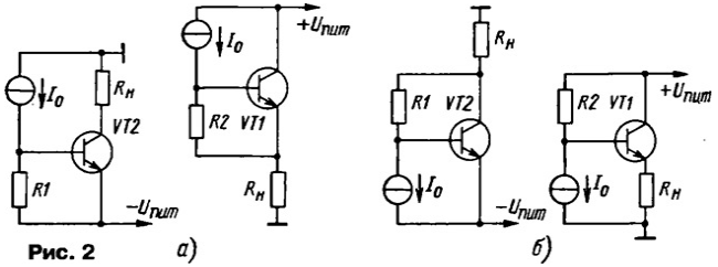
Когда комплементарных транзисторов не было, выходной каскад УМЗЧ выполняли преимущественно на транзисторах одинаковой структуры с нагрузкой и источником питания, соединенными с общим проводом (рис. 1,а) Два возможных варианта управления выходными транзисторами представлены на рис. 2.

УМЗЧ с комплиментарными полевыми транзисторами

В первом из них (рис. 2,а) управление нижним плечом выходного каскада оказывается в более выгодных условиях. Так как изменение напряжения питания мало, эффект Миллера (динамическая входная емкость) и эффект Эрли (зависимость тока коллектора от напряжения эмиттер-коллектор) практически не проявляются. Цепь управления верхним плечом включена здесь последовательно с самой нагрузкой, поэтому без принятия дополнительных мер (например, каскодного включения приборов) указанные эффекты проявляются в значительной степени. По этому принципу был разработан ряд удачных УМЗЧ [1-3].

По второму варианту (рис. 2,6 - такой структуре больше соответствуют МДП-транзисторы) также был разработан ряд УМЗЧ, например [4, 5]. Однако и в таких каскадах трудно обеспечить, даже с применением генераторов тока [5], симметрию управления выходными транзисторами. Другой пример симметрирования по входному сопротивлению - выполнение плеч усилителя по квазикомплементарной схеме или применение комплементарных транзисторов (см. рис. 1,б) в [6].

Стремление к симметрированию плеч выходного каскада усилителей, выполненных на транзисторах одной проводимости, привело к разработке усилителей с незаземленной нагрузкой по схеме рис. 1,г [7-9]. Однако и здесь не удается добиться полной симметрии предыдущих каскадов. Цепи отрицательной ОС с каждого плеча выходного каскада неравнозначны; цепи ООС этих каскадов [7, 8] контролируют напряжение на нагрузке по отношению к выходному напряжению противоположного плеча. Кроме того, такое схемотехническое решение требует изолированных источников питания. Из-за перечисленных недостатков оно не нашло широкого применения.

С появлением комплементарных биполярных и полевых транзисторов выходные каскады УМЗЧ преимущественно строят по схемам рис. 1,б, в. Однако и в этих вариантах для раскачки выходного каскада необходимо применять высоковольтные приборы. Транзисторы предвыходного каскада работают с большим коэффициентом усиления по напряжению, а поэтому подвержены эффектам Миллера и Эрли и без общей ООС вносят значительные искажения, что требует от них высоких динамических характеристик. Питание предварительных каскадов повышенным напряжением снижает и КПД усилителя.

Если в рис. 1,б, в перенести точку соединения с общим проводом в противоположное плечо диагонали моста, получим варианты на рис. 1,д [10] и 1,е соответственно. В структуре каскада по схеме рис. 1,е автоматически решается проблема изоляции выходных транзисторов от корпуса. Усилители, выполненные по таким схемам, свободны от ряда перечисленных недостатков.

Особенности схемотехники усилителя

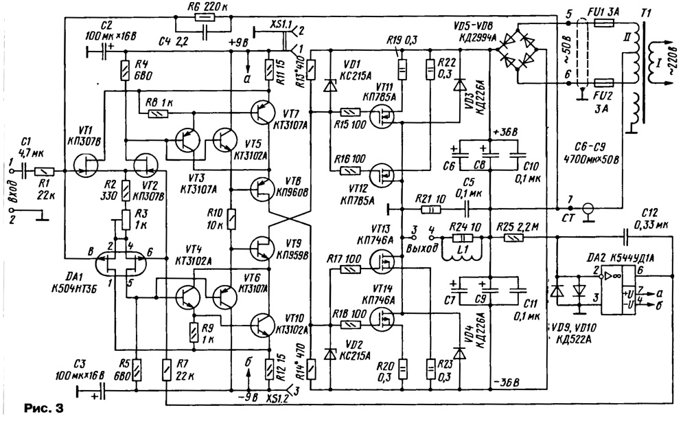
Вниманию радиолюбителей предлагается инвертирующий УМЗЧ (рис. 3), соответствующий структурной схеме выходного каскада на рис. 1,е.

УМЗЧ с комплиментарными полевыми транзисторами
(нажмите для увеличения)

Входной дифференциальный каскад выполнен на полевых транзисторах (VT1, VT2 и DA1) по симметричной схеме. Их преимущества в дифференциальном каскаде общеизвестны: высокие линейность и перегрузочная способность, малые шумы. Применение полевых транзисторов существенно упростило этот каскад, так как отпала необходимость в генераторах тока. Для увеличения коэффициента усиления с разомкнутой петлей ОС сигнал снимается с обоих плеч дифференциального каскада, а перед последующим усилителем напряжения установлен эмиттерный повторитель на транзисторах VT3, VT4.

Второй каскад выполнен на транзисторах VT5-VT10 по комбинированной каскодной схеме со следящим питанием. Такое питание каскада с ОЭ нейтрализует в транзисторе входную динамическую емкость и зависимость тока коллектора от напряжения эмиттер-коллектор. В выходной ступени этого каскада применены высокочастотные БСИТ-транзисторы, которые по сравнению с биполярными (КП959 против КТ940) имеют вдвое большую граничную частоту и вчетверо меньшую емкость стока (коллектора).

Использование выходного каскада с питанием от отдельных изолированных источников позволило обойтись низковольтным питанием (9 В) для предварительного усилителя.

Выходной каскад выполнен на мощных МДП-транзисторах, причем выводы их стока (и теплоот-водящие фланцы корпусов) соединены с общим проводом, что упрощает конструкцию и сборку усилителя.

Мощные МДП-транзисторы, в отличие от биполярных, имеют меньший разброс параметров, что облегчает их параллельное включение. Основной разброс токов между приборами возникает из-за неравенства пороговых напряжений и разброса входных емкостей. Введение дополнительных резисторов сопротивлением 50 200 Ом в цепи затворов обеспечивает практически полное выравнивание задержек включения и выключения и устраняет разброс токов при переключении.

Все каскады усилителя охвачены местной и общей ООС.

Основные технические характеристики

  • С разомкнутой ООС (R6 заменен на 22 МОм, С4 исключен)
  • Частота среза, кГц......300
  • Коэффициент усиления по напряжению, дБ......43
  • Коэффициент гармоник в режиме АВ, %, не более......2

С включенной ООС

  • Выходная мощность, Вт на нагрузке 4 Ом......100
  • на нагрузке 8 Ом......60
  • Диапазон воспроизводимых частот, Гц......4...300000
  • Коэффициент гармоник, %, не более......0,2
  • Номинальное входное напряжение, В......2
  • Ток покоя выходного каскада, А......0,15
  • Входное сопротивление, кОм .....24

Благодаря тому что частота среза усилителя с разомкнутой цепью ООС относительно высока, глубина обратной связи и коэффициент гармоник во всей полосе воспроизводимых частот практически постоянны.

Снизу полоса рабочих частот УМЗЧ ограничена емкостью конденсатора С1, сверху - С4 (при емкости 1,5 пф частота среза равна 450 кГц).

Конструкция и детали

Усилитель выполнен на плате из двусторонне фольгированного стеклотекстолита (рис.4).

УМЗЧ с комплиментарными полевыми транзисторами

Плата со стороны установки элементов максимально заполнена фольгой, соединенной с общим проводом. Транзисторы VT8, VT9 снабжены небольшими пластинчатыми теплоотводами в виде "флажка". В отверстия для выводов стока мощных полевых транзисторов установлены пистоны; выводы стока транзисторов VT11, VT14 соединены с общим проводом со стороны фольги (на рисунке отмечены крестами).

В отверстия 5 -7 платы для подключения выводов сетевого трансформатора и отверстия для перемычек установлены пистоны. Резисторы R19, R20, R22, R23 выполнены из манганинового провода диаметром 0,5 и длиной 150 мм. Для подавления индуктивности провод складывают пополам и в сложенном виде (бифилярно) наматывают на оправке диаметром 4 мм.

Катушку индуктивности L1 наматывают проводом ПЭВ-2 0,8 виток к витку по всей поверхности резистора мощностью 2 Вт (МЛТ или аналогичный).

Конденсаторы С1, С5, С10, С11 - К73-17, причем С10 и С11 распаяны со стороны печатного монтажа на выводы конденсаторов С8 и С9. Конденсаторы С2, C3 - оксидные К50-35; конденсатор С4 - К10-62 или КД-2; С12 - К10-17 или К73-17.

Полевые транзисторы с каналом n-типа (VT1, VT2) нужно подобрать с примерно таким же начальным током стока, как и у транзисторов в сборке DA1. По напряжению отсечки они не должны отличаться более чем на 20 %. Микросборку DA1 К504НТЗБ можно заменить К504НТ4Б. Возможно применение подобранной пары транзисторов КП10ЗЛ (также с индексами Г, М, Д); КП307В - КП307Б (также А, Е), КП302А либо транзисторной сборки КПC315А, КПC315Б (в этом случае плату придется переработать).

В позициях VT8, VT9 можно также использовать комплементарные транзисторы серий КТ851, КТ850, а также КТ814Г, КТ815Г (с граничной частотой 40 МГц) Минского объединения "Интеграл".

Помимо указанных в таблице, можно использовать, например, следующие пары МДП транзисторов: IRF530 и IRF9530; 2SK216 и 2SJ79; 2SK133- 2SK135 и 2SJ48-2SJ50; 2SK175- 2SK176 и 2SJ55-2SJ56.

Для стереофонического варианта питание на каждый из усилителей подают от отдельного трансформатора, желательно с кольцевым или стержневым (ПЛ) магнитопроводом, мощностью 180...200 Вт. Между первичной и вторичными обмотками размещают слой экранирующей обмотки проводом ПЭВ-2 0,5; один из выводов ее соединяют с общим проводом. Выводы вторичных обмоток подводят к плате усилителя экранированным проводом, а экран соединяют с общим проводом платы. На одном из сетевых трансформаторов размещают обмотки для выпрямителей предварительных усилителей. Стабилизаторы напряжения выполнены на микросхемах IL7809AC (+9 В), IL7909AC (-9 В) - на схеме не показаны. Для подачи на плату питания 2x9 В использован соединитель ОНп-КГ-26-3 (XS1).

При налаживании оптимальный ток дифференциального каскада устанавливают подстроенным резистором R3 по минимуму искажений на максимальной мощности (примерно в середине рабочего участка). Резисторы R4, R5 рассчитаны на ток около 2...3 мА в каждом плече при начальном токе стока около 4...6 мА. При меньшем начальном токе стока сопротивление указанных резисторов необходимо пропорционально увеличить.

Ток покоя выходных транзисторов в интервале 120... 150 мА устанавливают подстроечным резистором R3, а при необходимости подбором резисторов R13, R14.

Импульсный блок питания

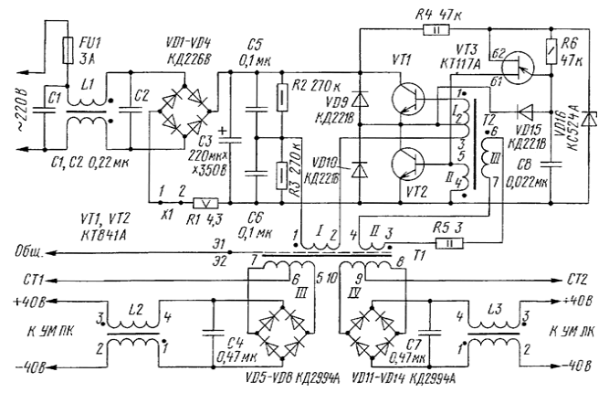
Тем радиолюбителям, кто испытывает трудности с приобретением и намоткой больших сетевых трансформаторов, для выходных каскадов УМЗЧ предлагается импульсный блок питания. Питание предварительного усилителя в этом случае можно осуществлять от маломощного стабилизированного БП.

Импульсный БП (его схема показана на рис. 5) представляет собой нерегулируемый автогенераторный полумостовой инвертор. Применение пропорционально-токового управления транзисторами инвертора в сочетании с насыщающимся коммутирующим трансформатором позволяет к моменту переключения автоматически выводить активный транзистор из насыщения. Это уменьшает время рассасывания заряда в базе и исключает сквозной ток, а также снижает потери мощности в цепях управления, повышая надежность и КПД инвертора.

УМЗЧ с комплиментарными полевыми транзисторами

Технические характеристики ИБП

  • Выходная мощность, Вт, не более......360
  • Выходное напряжение......2x40
  • КПД, %, не менее......95
  • Частота преобразования, кГц......25

На входе сетевого выпрямителя установлен помехоподавляющии фильтр L1C1C2. Резистор R1 ограничивает бросок тока зарядки конденсатора C3. Последовательно с резистором на плате предусмотрена перемычка Х1, вместо которой можно включить дроссель для улучшения фильтрации и увеличения "жесткости" выходной нагрузочной характеристики.

Инвертор имеет два контура положительной ОС: первый - по напряжению (с помощью обмоток II в трансформаторе Т1 и III - в Т2); второй - по току (с трансформатором тока: виток 2-3 и обмотки 1-2, 4-5 трансформатора Т2).

Устройство запуска выполнено на однопереходном транзисторе VT3. После запуска преобразователя оно отключается благодаря наличию диода VD15, так как постоянная времени цепи R6C8 значительно больше периода преобразования.

Особенность инвертора в том, что при работе низковольтных выпрямителей на большие емкости фильтра он нуждается в плавном запуске. Плавному запуску блока способствуют дроссели L2 и L3 и в некоторой степени резистор R1.

Блок питания выполнен на печатной плате из односторонне фольгированного стеклотекстолита толщиной 2 мм. Чертеж платы показан на рис. 6.

УМЗЧ с комплиментарными полевыми транзисторами
(нажмите для увеличения)

Намоточные данные трансформаторов и сведения о магнитопроводах приведены в табл. 2. Все обмотки выполнены проводом ПЭВ-2.

УМЗЧ с комплиментарными полевыми транзисторами

Перед намоткой трансформаторов острые кромки колец необходимо притупить наждачной бумагой или бруском и обмотать лакотканью (для Т1 - сложенные вместе кольца тремя слоями). Если этой предварительной обработки не сделать, то не исключено продавливание лакоткани и замыкание витков провода на магнитопровод. В результате резко возрастет ток холостого хода и разогреется трансформатор. Между обмотками 1-2, 5-6-7 и 8-9-10 наматывают проводом ПЭВ-2 0,31 в один слой виток к витку экранирующие обмотки, один конец которых (Э1, Э2) соединяют с общим проводом УМЗЧ.

Обмотка 2-3 трансформатора Т2 представляет собой виток из провода диаметром 1 мм поверх обмотки 6-7, впаянный концами в печатную плату.

Дроссели L2 и L3 выполнены на броневых магнитопроводах БЗО из феррита 2000НМ. Обмотки дросселей намотаны в два провода до заполнения каркаса проводом ПЭВ-2 0,8. Учитывая, что дроссели работают с подмагничиванием постоянным током, между чашками необходимо вставить прокладки из немагнитного материала толщиной 0,3 мм.

Дроссель L1 - типа Д13-20, его можно выполнить также на броневом магнитопроводе Б30 аналогично дросселям L2, L3, но без прокладки, намотав обмотки в два провода МГТФ-0,14 до заполнения каркаса.

Транзисторы VT1 и VT2 закреплены на теплоотводах из ребристого алюминиевого профиля с размерами 55x50x15 мм через изолирующие прокладки. Вместо указанных на схеме можно использовать транзисторы КТ8126А Минского ПО "Интеграл", а также MJE13007. Между выходами БП +40 В, -40 В и "своей" средней точкой (СТ1 и СТ2) подключены дополнительные оксидные конденсаторы К50-6 (на схеме не показаны) емкостью по 2000 мкФ на 50 В. Эти четыре конденсатора установлены на текстолитовой пластине размерами 140x100 мм, закрепленной винтами на теплоотводах мощных транзисторов.

Конденсаторы С1, С2 - К73-17 на напряжение 630 В, C3 - оксидный К50-35Б на 350 В, С4, С7 - К73-17 на 250 В, С5, С6 - К73-17 на 400 В, С8 - К10-17.

Импульсный БП подключают к плате УМ в непосредственной близости к выводам конденсаторов С6-С11. В этом случае диодный мост VD5-VD8 на плате УМ не монтируют.

Для задержки подключения акустических систем к УМЗЧ на время затухания переходных процессов, возникающих во время включения питания, и отключения АС при появлении на выходе усилителя постоянного напряжения любой полярности можно использовать простейшее [10] или более сложное защитное устройство.

Литература

  1. Хлупнов А. Любительские усилители низкой частоты. -М.: Энергия, 1976, с. 22.
  2. Акулиничев И. Усилитель НЧ с синфазным стабилизатором режима. - Радио, 1980, № З.с.47.
  3. Гаревских И. Широкополосный усилитель мощности. - Радио, 1979, № 6. с. 43.
  4. Колосов В. Современный любительский магнитофон. - М.: Энергия, 1974.
  5. Борисов С. МДП-транзисторы в усилителях НЧ. - Радио. 1983, № 11, с. 36-39.
  6. Дорофеев М. Режим В в усилителях мощности ЗЧ. - Радио, 1991, № 3, с. 53.
  7. Сырицо А. Мощный усилитель НЧ. - Радио, 1978. № 8, с. 45-47.
  8. Сырицо А. Усилитель мощности на интегральных ОУ. - Радио, 1984, № 8, с. 35-37.
  9. Якименко Н. Полевые транзисторы в мостовом УМЗЧ. - Радио. 1986, № 9, с. 38, 39.
  10. Виноградов В. Устройство защиты АС. - Радио, 1987, № 8. с. 30.

Автор: А.Петров, г.Могилев, Белоруссия

Смотрите другие статьи раздела Усилители мощности транзисторные.

Читайте и пишите полезные комментарии к этой статье.

<< Назад

Последние новости науки и техники, новинки электроники:

Глазные капли, возвращающие молодость зрению 05.10.2025

С возрастом человеческий глаз постепенно теряет способность четко видеть на близком расстоянии - развивается пресбиопия, или возрастная дальнозоркость. Этот естественный процесс связан с утратой эластичности хрусталика и ослаблением цилиарной мышцы, отвечающей за фокусировку. Миллионы людей по всему миру сталкиваются с необходимостью носить очки для чтения или прибегают к хирургическим методам коррекции. Однако исследователи из Центра передовых исследований пресбиопии в Буэнос-Айресе представили решение, которое может стать удобной и неинвазивной альтернативой - специальные глазные капли, способные улучшать зрение на длительный срок. Разработку возглавила Джованна Беноцци, директор Центра. По ее словам, цель исследования состояла в том, чтобы предоставить пациентам с пресбиопией эффективный и безопасный способ коррекции зрения без хирургического вмешательства. Новые капли, созданные на основе пилокарпина и диклофенака, показали убедительные результаты: уже через час после первого пр ...>>

Цифровая рация Xiaomi Digital Walkie Talkie 05.10.2025

Компания Xiaomi представила современное устройство, объединившее классические принципы радиосвязи с возможностями цифровых технологий. Новинка под названием Xiaomi Digital Walkie Talkie демонстрирует, как привычные рации могут быть переосмыслены в духе времени. Устройство оснащено цветным дисплеем диагональю 1,57 дюйма, который отображает список контактов, параметры соединения и даже примерное местоположение собеседника. Такой подход превращает стандартную рацию в компактное средство связи, сочетающее функциональность смартфона и устойчивость профессиональной техники. Одним из ключевых преимуществ стала высокая автономность. Встроенный аккумулятор емкостью 2500 мА·ч обеспечивает до 100 часов работы в режиме ожидания и около 14 часов непрерывных разговоров, что особенно важно в экспедициях, на дальних маршрутах или в зонах, где подзарядка невозможна. Согласно данным портала unionrayo.com, такое время работы выгодно отличает устройство от большинства аналогов. По дальности дейст ...>>

Открыт обращаемый драйвер старения 04.10.2025

Недавняя работа ученых из Сямэньского университета в Китае показала, что в гипоталамусе, главном регуляторе внутренних функций организма, кроется один из ключей к продлению молодости. Команда под руководством Лиге Ленга обнаружила, что снижение уровня белка менина в гипоталамусе связано с ускорением процессов старения. Менин, как выяснилось, играет важную роль в предотвращении воспаления и поддержании нормальной работы нейронов. Когда его уровень снижается, в мозге возрастает активность воспалительных сигналов, что запускает цепную реакцию возрастных изменений во всем организме - от ослабления когнитивных функций до потери плотности костей и истончения кожи. Чтобы понять, как именно менин влияет на старение, ученые вывели генномодифицированных мышей, у которых этот белок можно было выборочно отключить. Даже у молодых животных такое вмешательство быстро привело к ухудшению памяти, снижению прочности костей и эластичности кожи, а также к укорочению жизни. Эти результаты убедительно ...>>

Случайная новость из Архива

Опреснение морской воды с помощью солнечной энергии 14.09.2024

Вода - ключевой ресурс для человечества, однако доступ к пресной воде остается одной из глобальных проблем. Исследователи из Университета Ватерлоо предложили инновационное решение этой задачи, разработав энергоэффективную систему опреснения морской воды, которая использует солнечную энергию. Это устройство может стать прорывом в производстве питьевой воды для регионов, испытывающих дефицит пресной воды, особенно в прибрежных зонах.

Предложенная система использует солнечную энергию для испарения и конденсации морской воды в закрытой системе, что позволяет эффективно отделять соль и другие примеси. В отличие от традиционных систем опреснения, которые требуют регулярного обслуживания из-за накопления соли, эта технология обеспечивает непрерывный процесс. В основе системы лежит способность поглощать и преобразовывать до 93% солнечного света в полезную энергию, что является значительным улучшением по сравнению с текущими методами опреснения.

Одна из ключевых характеристик системы - это высокая эффективность преобразования солнечной энергии в тепло, что позволяет производить около 20 литров пресной воды на каждый квадратный метр поверхности ежедневно. Этот объем соответствует суточной потребности человека в воде, согласно рекомендациям Всемирной организации здравоохранения. Портативность устройства делает его идеальным решением для труднодоступных регионов или мест с ограниченным доступом к водным ресурсам.

Основа устройства - уникальные материалы, в том числе никелевая пена с полимерным покрытием и термочувствительные частицы пыльцы. Эти материалы способны поглощать солнечную энергию по всему спектру, преобразовывая ее в тепло. Процесс испарения воды происходит благодаря капиллярному эффекту, подобному тому, как деревья транспортируют воду от корней к листьям. Вода нагревается на поверхности полимерного слоя и поднимается вверх, что способствует ее эффективному испарению.

Одной из главных проблем традиционных опреснительных установок является накопление соли, которое может засорять мембраны и требовать частого технического обслуживания. Новая система решает эту проблему с помощью самоочищающегося механизма. Когда вода испаряется, соль остается в нижних слоях устройства и выводится, предотвращая засорение. Такой механизм напоминает процесс обратной промывки в бассейнах и позволяет устройству работать бесперебойно в течение длительного времени.

На данный момент система находится на стадии разработки, но ученые планируют провести полевые испытания на море для проверки ее работоспособности и возможностей масштабирования. Если испытания пройдут успешно, технология может стать важным инструментом для решения проблемы нехватки питьевой воды в прибрежных общинах. Также она может способствовать достижению ряда целей устойчивого развития ООН, включая улучшение здоровья и благополучия людей, обеспечение доступности воды и санитарии, борьбу с изменением климата и ответственное потребление ресурсов.

Технология солнечного опреснения воды, предложенная исследователями из Университета Ватерлоо, открывает новые возможности для устойчивого производства пресной воды. Ее энергоэффективность, самоочищающийся механизм и способность обеспечивать людей чистой водой без использования химических веществ и сложных технических систем делают ее привлекательным решением для многих регионов мира. В перспективе эта технология может оказать значительное влияние на глобальное водоснабжение и сыграть важную роль в устойчивом развитии.

Другие интересные новости:

▪ Новый специализированный измеритель емкости

▪ Морской ветрогенератор GE Haliade-X

▪ Искусственная радуга для солнечных батарей

▪ Интерактивные доски в московских школах

▪ Галактические снега

Лента новостей науки и техники, новинок электроники

 

Интересные материалы Бесплатной технической библиотеки:

▪ раздел сайта Автомобиль. Подборка статей

▪ статья Нам бы только ночь простоять да день продержаться. Крылатое выражение

▪ статья Чем объясняется запах, исходящий от монет? Подробный ответ

▪ статья Двигатель вперевалочку. Детская научная лаборатория

▪ статья Вольтметр на микросхеме К1003ПП1. Энциклопедия радиоэлектроники и электротехники

▪ статья Генератор для питания светодиода. Энциклопедия радиоэлектроники и электротехники

Оставьте свой комментарий к этой статье:

Имя:


E-mail (не обязательно):


Комментарий:





Главная страница | Библиотека | Статьи | Карта сайта | Отзывы о сайте

www.diagram.com.ua

www.diagram.com.ua
2000-2025