Menu Home

Бесплатная техническая библиотека для любителей и профессионалов Бесплатная техническая библиотека


Доработка приемника SEC-850M. Энциклопедия радиоэлектроники и электротехники

Бесплатная техническая библиотека

Энциклопедия радиоэлектроники и электротехники / Радиоприем

Комментарии к статье Комментарии к статье

Предлагаем вниманию радиолюбителей обновленную версию прошивки УКВ-ЧМ приемника уже с наименованием "SEC-850F" (Full version). Данная версия представляет из себя исправления версии начальной модификации "SEC-850M", которые были подмечены автором в ходе тщательной и детальной проверки, а также дополнение рядом сервисных функций:

- Часы.

- Измеритель температуры (2 шт.).

- Изменена рекламная заставка при включении приемника - вместо троекратного отображения побуквенного справо-налево плавного появления ("въезд") надписи "SEC850" в предыдущей версии сейчас установлена запись "SEC850F" на экране индикаторов.

- Введена функция записи с ПДУ аудиорегулировок на текущем записанном канале. При нажатии на кнопку "М" ("запись") ПДУ происходит автоматическая запись аудиорегулировок на текущем записанном канале, при этом на экране индикатора отображается слева-направо динамическая полоса "- - - - - - - - - - - - - - -" активизации режима записи. По окончании записи на экране индикатора восстанавливаются данные текущего режима. В случае, если произведен прямой набор частоты и данные не записаны в ЕЕР-ROM (не произведена запись текущего канала), то при нажатии на кнопку "М" ПДУ произойдет автоматическая запись текущих данных и настроек в последний канал (40-й канал). Для исключения конфликтных ситуаций в режиме набора частоты и записи канала заблокирована кнопка записи "М" с ПДУ. При записи канала происходит коррекция позиции номера канала (пропадает первый значащий индекс "0" номера канала, за исключением нулевого канала).

- Введено отображение номера нулевого канала (в предыдущей версии не отображался номер нулевого канала и поэтому не было отличия индикации нулевого канала от частоты, данные которой не записаны в EEPROM). При уменьшении-увеличении частоты номер текущего канала не пропадает.

- При нажатии на кнопку"?" (проявление скрытой информации телетекста) ПДУ в основном режиме (режиме отображения частоты) в течение 3 с отображается номер версии прошивки "U 2.1Ь" - версия 2.1 beta.

- Существенные изменения коснулись работы приемника в режиме УЗЧ (работы от внешнего источника сигнала по входу 1 аудиопроцессора). Для более оперативного переключения приемника из основного режима в режим УЗЧ, по нажатию на кнопку "9" БУ (блока управления) или "I" (вызов индексной страницы телетекста) ПДУ, исключена работа аудиопроцессора по входу 1 и 2 в режимах "Стерео А" и "Стерео В". В случае, если мы входим в режим УЗЧ на канале, данные которого не записаны в EEPROM, после 3 с отображения надписи "In1 St" (вход 1 аудиопроцессора, режим "Стерео") появляется надпись "РА _- ~" (power amplifier, далее символы псевдографики режима УЗЧ). При нажатии на кнопку "М" ПДУ произойдет автоматическая запись текущих данных режима УНЧ и настроек в последний канал (40-й канал). В случае, если мы входим в режим УЗЧ на сохраненном канале, после 3 с отображения надписи "1п1 St" появляется надпись "РАЗЗ _-" (power amplifier, 33 - номер канала, далее символы псевдографики режима УЗЧ). При нажатии на кнопку "М" ПДУ произойдет автоматическая запись текущих данных режима УНЧ и настроек в текущий канал (в данном случае 33-й канал). Произвести стирание канала можно только в основном режиме (режиме отображения частоты).

- Для исключения конфликтных ситуаций в режиме УЗЧ заблокирована часть кнопок управления, за исключением кнопок управления аудиофункциями, кнопок переключения каналов, кнопки сброс "Esc", кнопки отключения динамической индикации "Сеть", кнопки отключения звука, кнопки выбора селектора входа аудиопроцессора "I" ПДУ "9" БУ, кнопки записи "М" ПДУ.

Сервисные режимы

В данной версии реализованы следующие сервисные режимы: часы, термометр 0 и термометр 1. При начальной инициализации программы происходит опрос подключенных внешних устройств (часы и термодатчики). При отсутствии данных устройств происходит блокировка вызова с ПДУ соответствующих сервисных режимов (часы и измерители температуры). Для повторной переинициализации программы достаточно нажать на кнопку "Esc" ПДУ, Выход из сервисного режима в основной режим происходит по последующему нажатию на соответствующую кнопку вызова текущего сервисного режима. Сервисные режимы переключаются между собой (за исключением технологического режима настройки часов).

В сервисном режиме заблокировано часть кнопок управления, за исключением кнопок выбора и управления соответствующим сервисным режимом, кнопки сброс ("Esc"), кнопки отключения динамической индикации "Сеть", кнопки отключения звука. При входе в сервисный режим на экране индикатора отображается сходящаяся в центр динамическая полоса "- - - - - - - - - - -" активизации сервисного режима, далее отображаются данные текущего сервисного режима.

Измеритель температуры

Измеритель температуры реализован на микросхеме типа DS1621 (Dallas Semiconductors).

Краткие сведения о микросхеме DS1621:

  • диапазон измеряемых температур - -55 °С...+125 °С;
  • диапазон питающих напряжений - 2,7 ...5,5 В;
  • тип шины - последовательная l2C;
  • время измерения температуры (перевод в цифровое значение) - примерно 1 с;
  • разрядность цифрового значения температуры - 9 бит;
  • режимы измерения температуры - постоянный или однократный;
  • возможность работы в режиме термостата (термокомпаратора) с программируемым гистерезисом и полярностью выходного сигнала (вывод 3 микросхемы);
  • функция термостата контролируется программно, конфигурация хранится в EEPROM микросхемы;
  • основная погрешность измерения температуры в диапазоне измеряемых температур от 0 °С до +70 °С - не более 0,5 °С (в других температурных диапазонах погрешность в соответствии со спецификацией на микросхему).

На рис. 1 приведена схема включения микросхемы термодатчика к приемнику.

Доработка приемника SEC-850M

Вызов термодатчика 0 происходит при нажатии на кнопку "режим микширования телетекста" ПДУ а вызов термодатчика 1 происходит при нажатии на кнопку "включение режима телетекста" ПДУ. При этом на экране индикатора после отображения динамической полосы появляются данные температуры "0 25,0 °С" (0 - номер термодатчика, 25,0 °С - текущее значение температуры). Не допускается отключение "на ходу" термодатчиков, так как после последующего подключения необходима переинициализация микросхемы (для повторной переинициализации программы достаточно нажать на кнопку "Esc" ПДУ).

В связи с тем, что иногда возникает вопрос обеспечения нужных тепловых режимов в окончательной конструкции приемника, и не только, на базе функции термостата реализована схема принудительного охлаждения (рис. 2).

Доработка приемника SEC-850M

В данной версии реализованы функции термостата (для обоих термодатчиков) с программными значениями гистерезиса в интервале +40 °С...+30 °С. При достижении температуры +40 °С на выводе 3 микросхемы DD1 возникает напряжение низкого уровня, транзистор VT1 закрывается и напряжение высокого уровня открывает транзистор VT2, включая тем самым двигатель вентилятора М1. Далее в случае охлаждения до температуры +30 °С на выводе 3 микросхемы возникает напряжение высокого уровня, что приводит к отключению вентилятора. Оконечный каскад управления вентилятором каждый читатель может выполнить по своей схеме из подручных комплектующих.

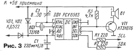
Часы. Часы реализованы на микросхеме PCF8583P фирмы Philips. Краткие сведения о PCF8583P:

- основные режимы работы - часы с синхронизацией от внутреннего генератора (f = 32768 Гц);

- часы с внешней синхронизацией (f = 50 Гц), счетчик импульсов;

- диапазон питающих напряжений-1,0...6,0 В;

- ток потребления - 200 мкА.

Основные функции при работе микросхемы в режиме часов - часы (отображение часов, минут, секунд, сотых долей секунды), календарь (отображение дней, месяцев, дней недели и лет), будильник и таймер (с возможностью программирования функций будильника, таймера и системы прерываний). В данной версии реализованы часы (полный и укороченный формат), календарь и будильник.

На рис. 3 приведена схема подключения микросхемы к приемнику.

Доработка приемника SEC-850M

В связи с такой доработкой необходимо вывод 3 микросхемы 3DD1 (EEPROM) в модуле управления A3 основного блока приемника отсоединить от общей шины питания и подключить к +5В, а вывод 3 микросхемы DD1 (часы) подсоединить к общему проводнику. В модуле управления можно устанавливать EEPROM следующих типов: АТ24С04, АТ24С08 (Atmel) или им совместимые других фирм-изготовителей. Диоды VD1, VD2 служат для развязки по питанию. Конденсатор С1 необходим для защиты от влияния переходных процессов при пропадании основного питания и включении в режим резервного питания. Заряда этого конденсатора достаточно для работы часов примерно на 5 мин, в течение которых питание отсутствует. За такое время вполне можно успеть заменить разряженные батареи резервного питания без сброса показаний часов.

Устройство звонка выполнено на транзисторе VT1, резисторе R3 и излучателе звука В1.

Вызов режима часов происходит при нажатии на кнопку "установка таймеров" ПДУ. При этом на экране индикатора после отображения динамической "полосы" появляются показания часов в укороченном формате (без отображения показаний секунд) - "12-.00". Одновременно с частотой 1 Гц мигает курсор-разделитель (в случае, если активизирован будильник, в сегменте курсора-разделителя мигает десятичная точка активности режима будильника). Вызов показаний часов в укороченном формате происходит при нажатии на "красную" кнопку телетекста ПДУ. Вызов показаний часов в полном формате (с отображением показаний секунд) происходит при нажатии на "зеленую" кнопку телетекста ПДУ, при этом нв экране отображаются показания - "12-00-.00".

Вызов показаний календаря происходит при нажатии на "оранжевую" кнопку телетекста ПДУ, при этом на экране отображается "dt 28-.07" (где 28 - число, а 07 - месяц).

Вызов показаний будильника происходит при нажатии на "синюю" кнопку телетекста ПДУ, при этом на экране отображается "AL 06-.30" (где 06 - часы, 30 - минуты). Включение-выключение будильника происходит по последующему нажатию на данную кнопку.

Режимы подстройки часов. С помощью ПДУ выберите необходимый режим часов (показания часов, будильника или календаря), нажмите на кнопку "Ok" ПДУ и войдите в режим настройки. При этом на экране в крайней левой позиции с частотой 1 Гц начинают мигать текущие показания часов. С помощью кнопок "Р+" и "Р-" ПДУ производится выбор позиции подстройки, а с помощью кнопок "+" и "-" ПДУ производится увеличение-уменьшение выбранных значений показания. Последующее нажатие на кнопку "Ok" ПДУ приведет к выходу из режима настройки и включения микросхемы DD1. Имейте в виду, что на время режима настройки временно останавливаются внутренние счетчики! Но при нажатии на кнопку "фиксация текущей страницы телетекста" ПДУ происходит коррекция показаний секунд, при этом не надо входить в режим подстройки.

Режимы работы будильника

Работа будильника в режиме часов. При срабатывании будильника происходит включение динамической индикации. Если она до этого была выключена (этот режим очень удобен в ночное время, отсутствует раздражение глаз на индикацию), включается звук на текущем канале (если он был отключен) и с частотой 1 Гц модулируется тон генератора звука. Выключение будильника происходит нажатием кнопки отключения звука на ПДУ, при этом функции будильника не нужно переинициализировать (следующее срабатывание будильника будет в то же время, пока его не отключат в режиме часов "синей" кнопкой телетекста ПДУ).

Работа будильника в основном режиме (режиме приемника). При срабатывании будильника включается непрерывное звучвние генератора звука (в этом режиме, для предотвращения влияния последовательной шины I2С на приемную часть, не происходит постоянного опроса микросхемы часов. В предыдущем случае по срабатыванию будильника происходит программный перевод устройства часов в режим прерывистого звучания). Выключение будильника происходит нажатием кнопки отключения звука ПДУ.

В случае срабатывания будильника при отключенном основном питании приемника, примерно через 0,5 с (время сброса процессора) после включения приемника, происходит принудительное отключение сигнала генератора звука.

В процессе постройки и эксплуатации большого числа приемников были сделаны некоторые несложные доработки, улучшающие работу его аналоговой части.

1. После субмодуля дополнительного фильтра рекомендуем установить "цепочкой" еще один одиночный пьезо-фильтр. Всего получится три фильтра в тракте ПЧ. Такое решение часто применяется в импортных автомагнитолах высокого класса. Его вход нужно подключить напрямую к выходу модуля А1.2, а выход - к выводу 18 микросхемы 1DA2.

Конструктивно это можно выполнить так: установить фильтр на место, где стоит вертикально резистор 1R6. В отверстия для этого резистора поставьте новый фильтр (выход и общий). Вход фильтра подключите к перемычке, которая имеется на печатной плате, один конец ее для этого следует выпаять и разогнуть. Резистор 1R6 при этом устанавливается снизу платы, прямо к выводам 17 и 18 микросхемы 1DA2 обычным или чип-элементом. Желательно использовать фильтры типа L10,7A из одной партии (так как они имеют более гладкую ФЧХ), что положительно отражается на стереоприеме. С фильтрами типа 10,7S (даже с двумя) уже можно наблюдать искажения стереосигнала.

Дополнительное затухание, вносимое новым фильтром, даже положительно отражается на работе тракта ПЧ, выполненного на микросхеме К174ХА6, - несколько облегчается ее работа в условиях большого уровня сигнала 2-й ПЧ. При этом прежнее усиление тракта ПЧ, необходимое для работы системы АРУ и ШП, не изменяется, так как сигнал для них по-прежнему идет после 2-го фильтра. А вот сигнал ПЧ для субмодуля А1.3 теперь лучше брать после 3-го фильтра. С такой доработкой приемник имеет более высокую чувствительность и селективность по соседнему каналу. Специально новых измерений не проводилось, но даже субъективно приемник стал принимать большинство городских станций практически без антенны, только на антенный разъем СКВ. Раньше модулированный сигнал 100 МГц уровнем 2 мкВ, поданный на вход приемника, можно было четко выделить среди шумов на слух, но на осциллографе сигнал НЧ практически смазывался шумами. После доработки даже с уровнем входного сигнала 1 мкВ демодулированная синусоида звуковой частоты хорошо сохраняет свою форму.

2. В некоторых экземплярах модуля РЧ в устройстве на микросхеме 1DA1 (генератор 21 МГц) наблюдалась паразитная автогенерация не на частоте 21 МГц, вызванная большой индуктивностью подстроечной катушки 1L2. Рекомендуем установить вместо нее перемычку, а подгонку частоты кварцевого резонатора 1BQ1 производить конденсаторами 1С5, 1С6, 1С8. С таким резонатором, который используем мы, получились следующие значения емкостей: 1С5, 1С8 - 47пФ, 1С6 - 100пФ. При этом несовпадение частоты получается не хуже чем ±2 кГц.

К сожалению, в статье были допущены ошибки в печатных платах и принципиальных схемах. Авторы приносят читателям свои извинения и рекомендуют обратить внимание на следующее.

1. На схеме модуля А1 следует поменять местами номера входа/выхода микросхемы 1DA3.

2. На печатной плате модуля А1 (рис. 3) нет соединения между площадками нижних выводов элементов 1С27 и 1L8.

3. На печатной плате модуля А1.2 не обозначен резистор R2, контактные площадки для него есть.

4. На печатной плате субмодуля А1.3 (рис. 7) нет соединений между площадками левых по рисунку выводов резисторов R8 и R11, смежных выводов резисторов R1 и R2, анодом диода VD1 и вывода 12 микросхемы DA1.

5. На принципиальной схеме модуля А2 у микросхемы 2DA2 не проставлены номера выводов 2 (к конденсатору 2С24) и 4 (к плюсу питания). Конденсаторы 2C35 и 2C36 должны быть по 47 мкФ.

6. На печатной плате модуля А2 (рис. 9) площадки и дорожка выводов 1, 2 и 3 микросхемы 2DA1 не должны сливаться (их разводка соответствует принципиальной схеме).

7. На печатной плате модуля А2 нет соединения между площадками незаземленных выводов конденсаторов 2С22 и 2С25, площадка среднего вывода резистора 2R3 не соединена с площадкой правого по рисунку вывода этого же резистора.

8. На печатной плате модуля A3 (рис. 11) отсутствует контактная площадка у левого по рисунку вывода диода 3VD4. Нижняя правая контактная площадка кнопки 3SA1 должна быть свободной.

9. На схеме модуля питания (А4) основным вариантом микросхемы 4DA2 должна быть UC3842, а ее заменой - UC3844. Указанные на схеме номиналы элементов 4R7 и 4С4 соответствуют варианту использования UC3842. Для микросхемы UC3844 значения параметров элементов должны быть соответственно 5,6 кОм и 4700 пФ.

10. На схеме модуля А4 следует изменить позиционный номер конденсатора 4С15 - 470 мкфх25 В, он должен быть 4С14. На печатной плате (рис. 14) все правильно.

11. На печатной плате модуля А4 (рис. 13) между контактами 1 и 2 микросхемы 4DA2 позиционное обозначение 4C3 следует заменить на 4С5.

12. Дроссель 4L1 модуля А4 намотан на "гантельке" из феррита марки М2000НМ. Намотка производится проводом ПЭВ диаметром 1 мм в один слой. Индуктивность дросселя должна быть 10...15мкГн.

В процессе общения с радиолюбителями было выяснено, что у многих людей, повторивших приемник, есть помехи от динамической индикации. Способов их устранения несколько.

1. Экранировать провод КСС, идущий с модуля РЧ на вход стереодекодера (и соединить с общим проводом с одной стороны).

2. Сделать несколько дополнительных "общих" проводников от модуля РЧ на модуль ЗЧ. Аналогичное следует сделать и от модуля управления на модуль ЗЧ (тоже помогает, но не всегда). Точки подключения нужно подобрать опытным путем.

3. При монтаже в корпус желательно так разместить платы, чтобы расположить все малосигнальные цепи (входы LA3375 и КР544УД2) подальше от блока управления.

4. Шлейфы, идущие на модули управления и ЗЧ, следует сделать покороче (насколько возможно) и лучше заэкранировать их, пропустив в оплетку.

5. Можно уменьшить импульсный ток индикации подбором резисторов 3R8 - 3R15 (только не в ущерб яркости индикатора). Особенно это касается индикаторов красного свечения (ТОТ3361АН), так как у них меньшее падение напряжения на сегментах (соответственно, и больший ток через сегмент) и большая яркость.

6. Еще хорошо помогает кнопка включения режима "тихий прием" на ПДУ (Power), которая выключает индикацию, и помех от индикации не будет вообще. Но это на крайний случай.

На основании опыта использования различных типов СКВ хочется порекомендовать применение только селекторов, построенных на основе микросхемы синтезатора частоты TSA5522T(M). Из известных нам - это СК-В-362 Д, KS-Н-132, 5012FY5, 5002РН5. Синтезаторы этих СКВ имеют минимальный фазовый шум и отлично подходят для узкополосного приема и приемника в целом.

В крайнем случае, если не требуется высококачественный прием узкополосных станций, можно использовать СКВ на основе синтезаторов типов TSA5526, TSA5527 или совмещенных с ГУНами микросхем типов TDA6402, TDA6502 - это селекторы KS-H-134 О (Selteka), KS-H-136 О (Selteka), KS-H-144 О (Selteka), UV2051A-CWP (Wittis), 6012PY5 (Temic), СК-В-562 (Витязь),- но придется отказаться от функции узкополосного приемника, так как эти микросхемы имеют большой фазовый шум и их ГУНы "гуляют" в пределах ±3...5 кГц от основной частоты. На приеме радиовещания и телевещания это не отразится, а прием станций в узкой полосе ПЧ станет затрудненным. Напомню, что для применения этих селекторов каналов нужна коррекция программы.

Коды прошивки микроконтроллера в НЕХ-формате модификации приемника "SEC-850F" с учетом введения дополнительных функций

Автор: В.Сазоник, г.Витебск, Белоруссия

Смотрите другие статьи раздела Радиоприем.

Читайте и пишите полезные комментарии к этой статье.

<< Назад

<< Назад

Последние новости науки и техники, новинки электроники:

Глазные капли, возвращающие молодость зрению 05.10.2025

С возрастом человеческий глаз постепенно теряет способность четко видеть на близком расстоянии - развивается пресбиопия, или возрастная дальнозоркость. Этот естественный процесс связан с утратой эластичности хрусталика и ослаблением цилиарной мышцы, отвечающей за фокусировку. Миллионы людей по всему миру сталкиваются с необходимостью носить очки для чтения или прибегают к хирургическим методам коррекции. Однако исследователи из Центра передовых исследований пресбиопии в Буэнос-Айресе представили решение, которое может стать удобной и неинвазивной альтернативой - специальные глазные капли, способные улучшать зрение на длительный срок. Разработку возглавила Джованна Беноцци, директор Центра. По ее словам, цель исследования состояла в том, чтобы предоставить пациентам с пресбиопией эффективный и безопасный способ коррекции зрения без хирургического вмешательства. Новые капли, созданные на основе пилокарпина и диклофенака, показали убедительные результаты: уже через час после первого пр ...>>

Цифровая рация Xiaomi Digital Walkie Talkie 05.10.2025

Компания Xiaomi представила современное устройство, объединившее классические принципы радиосвязи с возможностями цифровых технологий. Новинка под названием Xiaomi Digital Walkie Talkie демонстрирует, как привычные рации могут быть переосмыслены в духе времени. Устройство оснащено цветным дисплеем диагональю 1,57 дюйма, который отображает список контактов, параметры соединения и даже примерное местоположение собеседника. Такой подход превращает стандартную рацию в компактное средство связи, сочетающее функциональность смартфона и устойчивость профессиональной техники. Одним из ключевых преимуществ стала высокая автономность. Встроенный аккумулятор емкостью 2500 мА·ч обеспечивает до 100 часов работы в режиме ожидания и около 14 часов непрерывных разговоров, что особенно важно в экспедициях, на дальних маршрутах или в зонах, где подзарядка невозможна. Согласно данным портала unionrayo.com, такое время работы выгодно отличает устройство от большинства аналогов. По дальности дейст ...>>

Открыт обращаемый драйвер старения 04.10.2025

Недавняя работа ученых из Сямэньского университета в Китае показала, что в гипоталамусе, главном регуляторе внутренних функций организма, кроется один из ключей к продлению молодости. Команда под руководством Лиге Ленга обнаружила, что снижение уровня белка менина в гипоталамусе связано с ускорением процессов старения. Менин, как выяснилось, играет важную роль в предотвращении воспаления и поддержании нормальной работы нейронов. Когда его уровень снижается, в мозге возрастает активность воспалительных сигналов, что запускает цепную реакцию возрастных изменений во всем организме - от ослабления когнитивных функций до потери плотности костей и истончения кожи. Чтобы понять, как именно менин влияет на старение, ученые вывели генномодифицированных мышей, у которых этот белок можно было выборочно отключить. Даже у молодых животных такое вмешательство быстро привело к ухудшению памяти, снижению прочности костей и эластичности кожи, а также к укорочению жизни. Эти результаты убедительно ...>>

Случайная новость из Архива

Человеческий пот - источник энергии 27.08.2017

Команда биоинженеров из Университета Калифорнии в Сан-Диего разработала растяжимые топливные элементы, которые извлекают энергию из человеческого пота и способна проивзодить достаточно энергии, чтобы подпитывать такие приборы, как светодиодные лампочки и Bluetooth-радио.

Разработанные биотопливные ячейки генерируют в 10 раз большую мощность на площадь поверхности, чем любые существующие носимые биотопливные устройства. Новый прибор можно будет использовать для питания ряда переносимых устройств.

Эпидермальные устройства, работающие на биотопливе являются прорывом в области современных технологий. Ученые приблизились к созданию все более эластичных и мощных устройств.

Специалистам удалось добиться поставленных целей за счет сочетания передовых технологий в химическом производстве, создании новых материалов и электронных интерфейсов. Эластичная электронная платформа была сконструирована с использованием литографии и трафаретной печати трехмерных углеродных нанотрубок на основе катодных и анодных массивов.

Биотопливные эластичные устройства, больше похожие на пластыри, оснащены ферментом, который окисляет молочную кислоту, присутствующую в потовых выделениях человека, для генерации тока. Таким образом устройство превращает пот в источник энергии.

Другие интересные новости:

▪ Бесшовные 3D-трансплантаты кожи

▪ Микропластик расщепляет клетки легких человека

▪ Новый мировой рекорд скорости среди автомобилей

▪ Видеокарта ASUS ROG Matrix GeForce RTX 2080 Ti

▪ Мозг женщин стареет медленнее

Лента новостей науки и техники, новинок электроники

 

Интересные материалы Бесплатной технической библиотеки:

▪ раздел сайта Прошивки. Подборка статей

▪ статья Магнитоплан. История изобретения и производства

▪ статья Почему некоторые древние города оказались под слоями земли и откуда она взялась? Подробный ответ

▪ статья Съедобные колеусы. Легенды, выращивание, способы применения

▪ статья Твердотельные реле переменного тока 1 А/400 В 5П20Б. Энциклопедия радиоэлектроники и электротехники

▪ статья Цифровой регулятор громкости. Энциклопедия радиоэлектроники и электротехники

Оставьте свой комментарий к этой статье:

Имя:


E-mail (не обязательно):


Комментарий:





Главная страница | Библиотека | Статьи | Карта сайта | Отзывы о сайте

www.diagram.com.ua

www.diagram.com.ua
2000-2025