Menu Home

Бесплатная техническая библиотека для любителей и профессионалов Бесплатная техническая библиотека


УKB приемник - в пачке Marlboro. Энциклопедия радиоэлектроники и электротехники

Бесплатная техническая библиотека

Энциклопедия радиоэлектроники и электротехники / Радиоприем

Комментарии к статье Комментарии к статье

Одно из несомненных достоинств приемника - возможность приема около десятка популярных радиостанций в диапазоне 65,8...74 МГц или 88...108 МГц. Кроме того, приемник обладает неплохими параметрами: его чувствительность - не хуже 7 мкВ, выходная мощность - более 40 мВт, отношение сигнал/шум - не менее 40 дБ, ток потребления в режиме молчания (при отсутствии принимаемого сигнала) - максимум 10 мА, а потребляемый ток - не более 35 мА. Звуковой излучатель приемника (малогабаритная динамическая головка) воспроизводит сигналы в полосе частот 450.. .3150 Гц. Источник питания - батарея напряжением 3 В, работоспособность приемника сохраняется при снижении напряжения до 2 В.

Если в качестве источника питания использовать два последовательно соединенных элемента A316, они проработают непрерывно 40...50 ч, а с элементами "Varta" - 70...80 ч.

УKB приемник - в пачке Marlboro
Рис.1 (нажмите для увеличения)

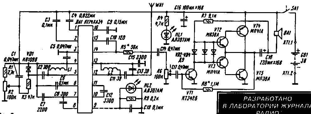
Основу приемника (рис. 1) составляет многофункциональная микросхема К174ХА34 (DA1), которая представляет собой готовый супергетеродинный УКВ приемник, поскольку содержит и гетеродин, и смеситель, и усилитель ПЧ, и частотный детектор, и предварительный усилитель 3Ч. Кроме того, имеются амплитудный ограничитель и система автоподстройки частоты (АПЧ). Остается лишь подключить навесные элементы да "раскачать", при необходимости, выходной сигнал 3Ч до нужной мощности - это и было осуществлено в радиолаборатории журнала "Радио", причем с максимальным использованием типового включения микросхемы.

С антенны WA1 (ею служит плетеная ручка приемника из многожильного монтажного провода в изоляции) принимаемый сигнал поступает на широкополосный входной колебательный контур L2C11C13, рассчитанный на выбранный диапазон, а с контура - на вход микросхемы (выводы 12, 13). К другому входу микросхемы (выводы 4. 5) подключен контур гетеродина L1C2VD1. Изменением резонансной частоты этого контура настраивают приемник на нужную радиостанцию. Органом настройки в данном случае является варикап VD1. Его емкость изменяют электронным способом, подавая на варикап то или иное постоянное напряжение, снимаемое с движка переменного резистора R2. При этом частота настройки гетеродина превышает частоту сигнала принимаемой радиостанции на 75 кГц- значение промежуточной частоты.

Вся остальная обработка сигналов - смешение, усиление сигнала ПЧ, детектирование, предварительное усиление сигнала 3Ч осуществляется микросхемой. В итоге на выводе 14 появляется сигнал 3Ч амплитудой не менее 100 мВ, который, в принципе, можно подавать на головной телефон сопротивлением не менее 100 Ом. Для получения наибольшего выходного сигнала 3Ч вывод 16 микросхемы соединен с общим проводом через конденсатор С9. а для корректировки предыскажений сигнала ЧМ и обеспечения большей устойчивости работы усилителя между выводами 15 и 14 включен конденсатор С 10, образующий отрицательную обратную связь.

На выводе 9 микросхемы формируется постоянное напряжение, обратно пропорциональное уровню несущей частоты. Его можно использовать, например. для индикации настройки приемника на радиостанцию - светодиод HL2, являющийся одновременно индикатором включения приемника, при точной настройке на радиостанцию будет гаснуть. Правда, в данном варианте приемника эта цепь не реализована.

Катушка L1 содержит 12 витков на каркасе диаметром 5 мм, длина намотки 12...16 мм. L2 содержит 7 витков на таком же каркасе, длина намотки 7...10 мм. Провод для обеих катушек - ПЭВ 0,9.

Выходной сигнал 3Ч поступает с микросхемы на переменный резистор регулировки громкости R6, а с его движка - на усилитель 3Ч, выполненный по двухтактной схеме на транзисторах VT1-VT5. Но возможно применение других вариантов усилителей, способных работать на нагрузку сопротивлением 8 Ом при питающем напряжении 2-3 В. Рассмотрим некоторые из них.

УKB приемник - в пачке Marlboro
Рис.2

Более всего этим требованиям удовлетворяет усилитель, выполненный на микросхеме К174УН4А (рис. 2), несмотря на то, что в справочнике на нее приведена нижняя граница питающего напряжения 5,4 В. Тем не менее эксперименты показали, что собранный по приведенной схеме усилитель при напряжении питания 3 В развивает на нагрузке сопротивлением 8 Ом выходную мощность 50...60 мВт и сохраняет работоспособность при снижении напряжения до 2 В. Достоинство усилителя также и в малом токе потребления: в режиме молчания - 3 мА, при максимальной громкости - 40...50 мА. Недостатком усилителя следует признать искажения типа "ступенька", которые становятся заметны при уменьшении питающего напряжения и амплитуды входного сигнала.

Следующим вариантом может быть усилитель 3Ч, выполненный на микросхеме К174УН17, рассчитанной на работу с высокоомными (не менее 30 Ом) стереофоническими головными телефонами. В данном случав вместо телефонов будет работать, например, динамическая головка 0.5ГДШ-1 со звуковой катушкой сопротивлением 50 Ом. При напряжении 2...3 В такой усилитель сможет развивать выходную мощность около 20 мВт, что обеспечит достаточно громкое звучание.

Усилитель 3Ч на микросхеме К174УН14 работает без искажений при минимальном напряжении питания 2,5 В. Недостатком такого усилителя является значительный ток потребления - это необходимая плата за "чистый* и громкий звук. Так, при питающем напряжении 3 В ток покоя составлял 17 мА. При входном сигнале амплитудой 40 мВ выходное напряжение достигало 1 В, потребляемый ток - 40 мА, а выходная мощность на нагрузке сопротивлением 8 Ом - 45 мВт.

Если использовать две микросхемы К174УН14 и включить их по мостовой схеме, то при питающем напряжении 3 В можно добиться выходной мощности 100... 10 мВт на той же нагрузке 8 Ом, но значительно (до 120... 130 мА) возрастет максимальный потребляемый ток, что неприемлемо для малогабаритного приемника.

Опробован и вариант использования микросхемы К174УН20, представляющей собой стереоусилитель для переносной и автомобильной аппаратуры. Она содержит в своем корпусе как бы два микросхемы К174УН14 и имеет несколько лучшие параметры по сравнению с К174УН14 в обычном и мостовом включении. К примеру, нижняя граница питающего напряжения сместилась к 2,2 В, а выходную мощность в мостовом включении 100.. .110 мВт на нагрузке 8 Ом удалось получить при напряжении 3 В и токе потребления 80...100 мА.

Усилитель 3Ч на микросхеме К174УН7 начинал работать без искажений при питающем напряжении 3,8 В, его выходная мощность на нагрузке сопротивлением 8 Ом составляла 50 мВт при потребляемом токе 35 мА. С таким же напряжением получались хорошие результаты в случае использования операционного усилителя К157УД1, обладающего максимальным выходным током 300 мА.

Многие вопросы при построении усилителей 3Ч для низковольтной миниатюрной аппаратуры снимаются при использовании микросхемы К174УН23 - двухканального усилителя мощности 3Ч с электронной регулировкой громкости. Эта микросхема может работать как в стереофоническом режиме с выходом на головные телефоны, так и в мостовом монофоническом варианте с нагрузкой на низкоомную динамическую головку.

Печатная плата радиоприемника приведена на рис.3.

Автор: Д. Макаров, г. Москва; Публикация: Н. Большаков, rf.atnn.ru

Смотрите другие статьи раздела Радиоприем.

Читайте и пишите полезные комментарии к этой статье.

<< Назад

Последние новости науки и техники, новинки электроники:

Лабораторная модель прогнозирования землетрясений 30.11.2025

Предсказание землетрясений остается одной из самых сложных задач геофизики. Несмотря на развитие сейсмологии, ученые все еще не могут точно определить момент начала разрушительного движения разломов. Недавние эксперименты американских исследователей открывают новые горизонты: впервые удалось наблюдать микроскопические изменения в контактной зоне разломов, которые предшествуют землетрясению. Группа под руководством Сильвена Барбота обнаружила, что "реальная площадь контакта" - участки, где поверхности разлома действительно соприкасаются - изменяется за миллисекунды до высвобождения накопленной энергии. "Мы открыли окно в сердце механики землетрясений", - отмечает Барбот. Эти изменения позволяют фиксировать этапы зарождения сейсмического события еще до появления традиционных сейсмических волн. Для наблюдений ученые использовали прозрачные акриловые материалы, через которые можно было отслеживать световые изменения в зоне контакта. В ходе искусственного моделирования примерно 30% ко ...>>

Музыка как естественный анальгетик 30.11.2025

Ученые все активнее исследуют немедикаментозные способы облегчения боли. Одним из перспективных направлений становится использование музыки, которая способна воздействовать на эмоциональное состояние и когнитивное восприятие боли. Новое исследование международной группы специалистов демонстрирует, что даже кратковременное прослушивание любимых композиций может значительно снижать болевые ощущения у пациентов с острой болью в спине. В эксперименте участвовали пациенты, обратившиеся за помощью в отделение неотложной помощи с выраженной болью в спине. Им предлагалось на протяжении десяти минут слушать свои любимые музыкальные треки. Уже после этой короткой сессии врачи фиксировали заметное уменьшение интенсивности боли как в состоянии покоя, так и при движениях. Авторы исследования подчеркивают, что музыка не устраняет саму причину боли. Тем не менее, она воздействует на эмоциональный фон пациента, снижает уровень тревожности и отвлекает внимание, что в сумме приводит к субъективном ...>>

Алкоголь может привести к слобоумию 29.11.2025

Проблема влияния алкоголя на стареющий мозг давно вызывает интерес как у врачей, так и у исследователей когнитивного старения. В последние годы стало очевидно, что границы "безопасного" употребления спиртного размываются, и новое крупное исследование, проведенное международной группой ученых, вновь указывает на это. Работы Оксфордского университета, выполненные совместно с исследователями из Йельского и Кембриджского университетов, показывают: даже небольшие дозы алкоголя способны ускорять когнитивный спад. Команда проанализировала данные более чем 500 тысяч участников из британского биобанка и американской Программы миллионов ветеранов. Дополнительно был выполнен метаанализ сорока пяти исследований, в общей сложности включавших сведения о 2,4 миллиона человек. Такой масштаб позволил оценить не только прямую связь между употреблением спиртного и развитием деменции, но и влияние генетической предрасположенности. Один из наиболее тревожных результатов касается людей с повышенным ге ...>>

Случайная новость из Архива

Бананы под угрозой исчезновения 03.07.2025

Банан давно стал неотъемлемой частью повседневного рациона миллионов людей. Этот плод легко усваивается, питателен и приносит пользу сердцу, пищеварению и даже настроению. Но за этим привычным изобилием скрывается тревожная реальность: ученые предупреждают, что уже к 2080-м годам большая часть банановых плантаций в Латинской Америке и Карибском бассейне может исчезнуть с лица земли.

Ситуация, сложившаяся вокруг банановых хозяйств, вызвана в первую очередь климатическим кризисом. Повышение температур, изменение режима осадков и участившиеся экстремальные погодные явления напрямую влияют на урожайность и здоровье растений. Об этом свидетельствует исследование международной гуманитарной организации Christian Aid, озаглавленное "Going Bananas: How Climate Change Threatens the World's Favourite Fruit".

Фермеры, работающие в тропических зонах, уже сталкиваются с последствиями климатических изменений. Одна из них, 53-летняя Аурелия Поп из Гватемалы, рассказала, что ее плантация стремительно теряет продуктивность. Урожаи, которые раньше кормили ее семью и приносили стабильный доход, теперь становятся все более скудными. Это не просто экономическая проблема - это удар по образу жизни целых общин.

На данный момент более 80% всего мирового экспорта бананов приходится именно на страны Латинской Америки и Карибского региона. Эти поставки играют ключевую роль не только в экономике региона, но и в обеспечении продовольственной безопасности во многих странах. Однако стремительное падение урожайности грозит дестабилизацией глобальных поставок и резким ростом цен.

Проблема усугубляется еще и тем, что бананы - это, по сути, монокультура, выращиваемая на огромных площадях, что делает их особенно уязвимыми к климатическим колебаниям и болезням. В условиях глобального потепления защитить такие культуры становится все сложнее, а внедрение устойчивых сортов требует времени и значительных вложений.

Наряду с климатом, дополнительные угрозы создают грибковые инфекции, особенно штаммы фузариоза, против которых современные сорта бананов не обладают иммунитетом. Пока внимание мирового сообщества сконцентрировано на более очевидных аспектах климатических изменений, такие сельскохозяйственные катастрофы подкрадываются незаметно - но с не менее разрушительными последствиями.

Если не принять срочные меры по адаптации сельского хозяйства к изменяющемуся климату, мир может столкнуться с дефицитом одного из самых потребляемых фруктов. История банана превращается в символ глобального вызова: сохранить устойчивое сельское хозяйство в условиях растущих климатических рисков. Решение этой проблемы потребует усилий как от научного сообщества, так и от международных политиков, прежде чем исчезновение банановых плантаций станет реальностью.

Другие интересные новости:

▪ Новые микросхемы аналоговых переключателей серии DG

▪ Солнечная панель-кипятильник

▪ Ректальный джойстик

▪ Ректальный джойстик

▪ Построен крупнейший в мире коридор чистой энергии

Лента новостей науки и техники, новинок электроники

 

Интересные материалы Бесплатной технической библиотеки:

▪ раздел сайта Светодиоды. Подборка статей

▪ статья Молодежь - барометр общества. Крылатое выражение

▪ статья Сколько ног у сороконожки? Подробный ответ

▪ статья Лилия. Легенды, выращивание, способы применения

▪ статья Сигнализатор повышенной влажности воздуха. Энциклопедия радиоэлектроники и электротехники

▪ статья Конденсаторы. Кодовая маркировка. Энциклопедия радиоэлектроники и электротехники

Оставьте свой комментарий к этой статье:

Имя:


E-mail (не обязательно):


Комментарий:





Главная страница | Библиотека | Статьи | Карта сайта | Отзывы о сайте

www.diagram.com.ua

www.diagram.com.ua
2000-2025