Menu Home

Бесплатная техническая библиотека для любителей и профессионалов Бесплатная техническая библиотека


УКВ ЧМ приемники с ФАПЧ. Энциклопедия радиоэлектроники и электротехники

Бесплатная техническая библиотека

Энциклопедия радиоэлектроники и электротехники / Радиоприем

Комментарии к статье Комментарии к статье

Вниманию радиолюбителей предлагается несколько простых УКВ ЧМ приемников прямого преобразования с фазовой автоподстройкой частоты (ФАПЧ), реализуемой путем непосредственной синхронизации частоты гетеродина принимаемым сигналом [1].

Во всех конструкциях используется радиоприемное устройство, схема которого показана на рис. 1. Это преобразователь частоты с совмещенным гетеродином, выполняющий одновременно и функции синхронного детектора. Входной контур L1C2 настроен на частоту принимаемого сигнала, а контур гетеродина L2C6 - па частоту, равную ее половине. Преобразование происходит на второй гармонике гетеродина, поэтому промежуточная частота лежит в звуковом диапазоне. Функции управления частотой гетеродина выполняет сам транзистор VT1, выходная проводимость которого (она шунтирует контур L2C6) зависит от коллекторного тока, а значит, от выходного сигнала приемника.

УКВ ЧМ приемники с ФАПЧ
Рис. 1

Как гетеродин, транзистор VT1 включен по схеме ОБ, а как преобразователь частоты - по схеме ОЭ. Входной сигнал поступает на базу транзистора с широкополосного контура L1C2, настроенного на среднюю (70МГц) частоту принимаемого диапазона. Гетеродин перестраивается в диапазоне частот 32,9...36,5 МГц, так что частота его второй гармоники лежит в границах радиовещательного УКВ диапазона (65,8...73 МГц).

Эффективность работы приемника зависит от уровня второй гармоники колебаний гетеродина в коллекторном токе транзистора VT1. С целью повышения амплитуды этой составляющей емкость конденсатора положительной обратной связи С7 выбрана в 2...3 раза большей, чем это требуется для генерации на основной частоте.

Как синхронный детектор, транзистор VT1 включен по схеме ОБ. Он обеспечивает усиление сигнала звуковой (промежуточной) частоты, примерно равное отношению сопротивлений резисторов R2/R3. Цепь R2C3 блокирует гетеродин по радиочастоте и является нагрузкой синхронного детектора. Постоянная времени этой цепи позволяет пропустить всю полосу частот, занимаемую комплексным стерсосигналом (КСС). При приеме только монофонических передач емкость конденсатора С3 можно увеличить до получения стандартного значения постоянной времени 50 мкс. Напряжение на выходе приемника равно 10...30 мВ (этого достаточно, чтобы слушать радиопередачи на телефоны, включенные вместо резистора R2) и не зависит от уровня сигнала принимаемой радиостанции.

Описанный приемник по чувствительности не уступает сверхрегенеративному, но в отличие от него не "шумит" в отсутствие сигнала. При настройке гетеродина на частоту, вдвое меньшую частоты радиостанции, происходит захват, сопровождаемый щелчком, после чего в некоторой полосе удержания приемник "следит" за частотой принимаемого сигнала, осуществляя его синхронное детектирование. ФАПЧ и хорошая развязка входного и гетеродинного контуров (вследствие большой разницы в частотах их настройки) обусловили незначительное излучение в антенну и позволили отказаться от усилителя радиочастоты. Недостаток приемника - чрезмерное расширение полосы удержания при сильных сигналах и их прямое детектирование, однако это в той или иной мере свойственно всем ЧМ приемникам прямого преобразования с ФАПЧ.

В приемнике можно использовать и кремниевые транзисторы (например. КТ315В). Катушки L1, L2 - бескаркасные (внутренний диаметр 5 мм, шаг намотки 1 мм) и содержат соответственно 6 (с отводом от середины) и 20 витков провода ПЭВ-2 0,56.

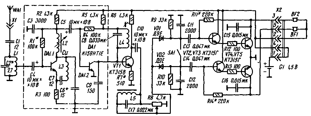
Принципиальная схема карманного радиоприемника, обеспечивающего громкоговорящий прием, показана на рис. 2. Прием ведется на рамочную антенну WA2, настроенную конденсатором С2 на середину радиовещательного УКВ диапазона. Катушка L1 служит для связи антенны с приемным устройством, которое собрано на одном из транзисторов микросборки DA1 и перестраивается по диапазону конденсатором С8. Предварительный усилитель ЗЧ выполнен на другом транзисторе микросборки, оконечный - на транзисторах VT1-VT3. Выходная мощность усилителя на нагрузке сопротивлением 8 Ом (динамическая головка 0,25ГД-10) при питании от двух элементов А332 (3 В) - 50 мВт. При приеме слабых сигналов рекомендуется использовать внешнюю антенну WA1, подключаемую через разъем X1.

УКВ ЧМ приемники с ФАПЧ
Рис.2 (нажмите для увеличения)

Приемник можно собрать в любом подходящем по размерам пластмассовом корпусе. Рамочную антенну (один виток изолированного обмоточного или монтажного провода диаметром 0,3... 0,5 мм) укладывают по его периметру и закрепляют клеем. Ориентировочные размеры рамки - 100Х65 мм. Катушка связи L1 -- бескаркасная (внутренний диаметр - 5, шаг намотки - 1 мм) и содержит 2...4 витка. Катушка L2 может быть и такой же, как в радиоприемном устройстве по схеме на рис. 1. Однако во избежание микрофонного эффекта, который может возникнуть из-за акустической связи между чей и динамической головкой ВА1, ее лучше намотать виток к витку на унифицированном каркасе от коротковолновой катушки переносного радиоприемника (например, марки "Океан") с ферритовым подстроечником. В этом случае она должна содержать 9 витков провода ПЭВ-2 0,27. Конденсатором настройки может служить подстроечный конденсатор с воздушным диэлектриком.

Налаживание начинают с проверки режимов транзисторов. Напряжение на эмиттерах транзисторов VT2, VT3, равное половине питающего, устанавливают подбором резистора R11. Далее, замкнув накоротко контур гетеродина L2C6 и подав на эмиттер транзистора DA1.1 сигнал ЗЧ в несколько милливольт. убеждаются в его прохождении через весь тракт приемника. Режим гетеродина регулируют подбором резистора R1, уровень второй гармоники - конденсатора С7. Границы диапазона устанавливают изменением индуктивности катушки L2. Входной контур настраивают конденсатором С2, ориентируясь на максимальную полосу удержания сигналов принимаемых радиостанций.

На рис. 3 приведена принципиальная схема простого стереофонического УКВ ЧМ приемника. Для получения максимальной чувствительности в цепь положительной обратной связи каскада на транзисторе DA1.1 включен последовательный колебательный контур L3C7, настроенный на середину УКВ диапазона. По диапазону приемник перестраивают вариометром L2. Постоянная времени цепи R2C3 позволяет пропустить полосу частот, занимаемую комплексным стереосигналом, со спадом на частоте 46,25 кГц не более 3 дБ. На транзисторе DA1.2 собран усилитель-восстановитель поднесущей частоты 31,25 кГц. Он нагружен настроенным на эту частоту контуром L4С8, включенным последовательно с резистором R5, Резонансное сопротивление этого контура выбрани таким, что при его полном включении обеспечивается уровень восстановления поднесущей часто ты 14...17 дБ. (Как следует из [2], добротность контура восстановителя поднесущей частоты может отличаться от стандартной. Это не приводит к нелинейным искажениям при детектировании, уменьшение же переходного затухания па частотах ниже 300 Гц на стереоэффект практически не влияет).

УКВ ЧМ приемники с ФАПЧ
Рис.3 (нажмите для увеличения)

Буферный каскад на транзисторе VT1 связан с предыдущим непосредственно. Он имеет малый коэффициент передачи по напряжению (около двух), высокое входное сопротивление и не шунтирует цепь восстановления поднесущей частоты.

С коллектора транзистора VT1 полярно-модулированиые колебания через регулятор громкости R8 поступают на полярный детектор, выполненный на диодах VD1, VD2 С целью упрощения конструкции регулятор громкости включен перед детектором. Элементы L5 и С17 обеспечивают тонкомпенсацию соответственно на низших и высших звуковых частотах. Полярный детектор нагружен цепями R9C11 и R10C12. компенсирующими предыскажения исходных стереосигналов. При приеме монофонических передач полярный детектор замыкают накоротко переключателем SA1.

Стереофонический усилитель ЗЧ собран на транзисторах VT2- VT5, Выходной каскад работает в режиме А. Выходная мощность усилителя на нагрузке сопротивлением 8 Ом - 1...2 мВт, потребляемый ток - 7...8 мА. Усилитель может работать и на стереотелефоны сопротивлением 8...100 Ом.

Конструкция вариометра показана на рис. 4,а. Его корпус 1 выточен из фторопласта, внутри нарезана резьба М5. Крепежный хомутик 2 выполнен из медного провода диаметром 0,5 мм, шпилька-подстроечник 3 - из латуни. Ручка настройки 4 - любая готовая или самодельная. Цифрой 5 обозначен корпус приемника, 6 - монтажная плата.

УКВ ЧМ приемники с ФАПЧ
Рис.4

Катушка вариометра L2 содержит 16 витков провода ПЭВ-2 0.56, катушки L1 и L3 (бескаркасные, внутренний диаметр 5, шаг намотки 1 мм) - соответственно 6 (с отводом от середины) и 10 витков того же провода. Катушка L4 контура восстановления сигнала поднесущей частоты (155 витков) намотана проводом ПЭВ-2 0,2 на подвижном каркасе, размещенном на отрезке ферритового (М400НН) стержня диаметром 8 и длиной 20 мм. Обмотка дросселя L5 содержит 500 витков провода ПЭВ-2 0,1, магнитопровод - пермаллоевый из пластин Ш3Х6. Конденсатор С8 - КМ-5 с номинальным напряжением 50 В. При выборе конденсатора С3 следует учесть, что он должен обладать малой индуктивностью и малыми потерями в диапазоне принимаемых частот. Выключатель питания совмещен с разъемом Х2 (розетка ОНЦ-ВГ-4-5/16-р, вилка ОНЦ-ВГ-4-5/16-В), его функции выполняет перемычка, соединяющая контакты 1 и 4. Для устранения влияния рук на частоту гетеродина каскады на микросборке DA1 помещены в экран. В качестве антенны можно применить отрезок стальной проволоки длиной 20...30 см и диаметром 1...1.5 мм. Свободный конец проволоки следует согнуть, придав ему вид кольца.

В приемник можно ввести электронную настройку (рис. 4, б). В этом случае его настраивают переменным резистором R18. с движка которого поступает напряжение смещения на варикап VD3. Резистор подключают непосредственно к источнику питания приемника. При напряжении 1,5 В удается перекрыть примерно половину диапазона. Вторую половину можно перекрыть, подав на варикап прямое смещение (в левом - по схеме - положении переключателя SA2). При использовании устройства с приемником по схеме на рис. 2 питающее напряжение следует подавать через развязывающий фильтр R19C20, а переключатель SA2 исключить.

Налаживание приемника начинают с установки режима работы выходных каскадов подбором резисторов R11, R14 (до получения коллекторного тока покоя транзисторов VT5, VT6 в пределах 5...8 мА). Далее проверяют АЧХ стереодекодера. Для этого, замкнув накоротко катушку L2, подают на эмиттер транзистора DA1.1 сигнал ЗЧ напряжением в несколько милливольт. Выходной сигнал снимают с резистора R8, предварительно установив его движок в крайнее левое (по схеме) положение, а выключатель SA1 - в положение, показанное на схеме. Спад АЧХ на частоте 46,25 кГц не должен превышать 3 дБ (при необходимости этого добиваются подбором конденсатора С3), а ее подъем на частоте 31,25 кГц (при настроенном контуре L4C8) должен быть не менее 14 дБ (5 раз).

Можно настроить стереодекодер и по принимаемому стереосигналу. Для этого параллельно контактам выключателя SA1 подсоединяют высокоомный милливольтметр и перемещением катушки L4 по ферритовому стержню настраивают контур восстановления под-несущей частоты по максимуму постоянной составляющей на выходе полярного детектора. При настроенном контуре она должна составлять 0.25...0,3 В, а при расстроенном или замкнутом накоротко - 0,05 В. Если необходимо, подбирают резистор R7, добиваясь максимального динамического диапазона каскада на транзисторе VT2.

На рис. 5 приведена схема УКВ приставки к промышленному транзисторному приемнику "ВЭФ-202" [3] (в скобках указаны позиционные обозначения его деталей по заводской схеме). Приставку монтируют в барабанном переключателе на планке диапазона 52.. 75 м. Для перестройки по диапазону используют одну из секций конденсатора переменной емкости С3, прием ведут на телескопическую антенну. Сигнал с выхода приставки подают на вход усилителя ЗЧ через корпус барабанного переключателя. Для этого к выходу приставки припаивают гибкий провод, второй конец которого (согнутый в виде колечка) с помощью крепежного винта планки подсоединяют к корпусу переключателя. Снимают сигнал с любой неподвижной части переключателя (например, с одного из крепежных винтов) и подают в точку соединения резистора R29 и конденсатора С71 приемника.

УКВ ЧМ приемники с ФАПЧ
Рис.5 (нажмите для увеличения)

Катушки L1 (5 витков с отводом от 2-го) и L2 (9 витков) наматывают виток к витку проводом ПЭВ-2 0,31 на каркасах от катушек диапазона 52- 75 м.

Перед монтажом планку переключателя полностью демонтируют. Паяльником убирают ненужные контакты и устанавливают недостающие. Рядом с антенной катушкой размещают подстроечный конденсатор С2. Микросборку устанавливают в имеющееся в планке отверстие для третьей катушки.

При изготовлении приставки в виде автономного блока к любому другому приемнику питание следует подавать через развязывающий фильтр R7C10. Напряжение питания приставки должно составлять 3,5...4,5 В.

Литература

1. Поляков В. Радиовещательные ЧМ приемники с фазовой автоподстройкой.- М.: Радио и связь, 1983.
2. Кононович Л. Стереофоническое вещание - М.: Связь, 1974.
3. Белов И. Ф., Дрызго Е. В. Справочник по транзисторным радиоприемникам. радиолам, электрофонам. Часть I. Переносные приемники и радиолы. - М.: Советское радио. 1976.

Автор: А.Захаров, г. Краснодар; Публикация: Н. Большаков, rf.atnn.ru

Смотрите другие статьи раздела Радиоприем.

Читайте и пишите полезные комментарии к этой статье.

<< Назад

Последние новости науки и техники, новинки электроники:

Власть является ключевым фактором счастья в отношениях 11.03.2026

Исследования семейных и романтических отношений показывают, что длительное счастье пары зависит не только от привычных факторов, таких как доверие, уважение и преданность, но и от более тонких психологических аспектов. Современные ученые ищут закономерности, которые отличают действительно счастливые пары от остальных, чтобы понять, какие механизмы поддерживают гармонию в отношениях. Группа исследователей из Университета Мартина Лютера в Галле-Виттенберге и Бамбергского университета провела опрос среди 181 пары, которые состояли в совместных отношениях более восьми лет и прожили вместе хотя бы месяц. Участники заполняли анкету, описывая различные аспекты своих отношений, включая распределение обязанностей, эмоциональную поддержку и степень вовлеченности в совместные решения. Анализ данных показал интересный паттерн: пары, где оба партнера ощущали высокий уровень личной власти, оказывались наиболее счастливыми и удовлетворенными. В данном контексте под властью понимается способност ...>>

Защищенная колонка-повербанк Anker Soundcore Boom Go 3i 11.03.2026

Компания Anker представила новую модель линейки Soundcore - колонку Soundcore Boom Go 3i, ориентированную на активное использование на улице. Новинка отличается высокой степенью защиты: корпус соответствует стандарту IP68, что обеспечивает водо- и пыленепроницаемость, а ударопрочный дизайн выдерживает падение с высоты до одного метра. За качество звука отвечает 15-ваттный драйвер, обеспечивающий пик громкости до 92 дБ, а технология BassUp 2.0 усиливает низкие частоты, делая звучание более насыщенным. Колонка обладает автономностью до 24 часов, а LED-индикатор позволяет контролировать уровень заряда батареи. Кроме того, Soundcore Boom Go 3i может выполнять функцию павербанка: согласно внутренним тестам, устройство способно зарядить iPhone 17 с нуля до 40% за один час, что делает его полезным аксессуаром в походах и поездках. Среди функциональных особенностей модели стоит выделить технологию Auracast, которая улучшает подключение и позволяет создавать стереопару из двух колонок ...>>

Раннее воздержание от алкоголя перестраивает мозг и иммунитет 10.03.2026

Алкогольная зависимость - хроническое расстройство с компульсивным употреблением спиртного, которое влияет не только на поведение, но и на функционирование мозга и иммунной системы. Недавние исследования показали, что даже на ранних этапах воздержания организм начинает перестраиваться, открывая новые возможности для терапии зависимости. Ученые сосредоточились на пациентах, находящихся в первые недели абстиненции, и зафиксировали значительные изменения в мозговой активности. С помощью функциональной магнитно-резонансной томографии они выявили перестройку сетей нейронных связей, отвечающих за контроль импульсов и принятие решений. Эти изменения могут быть ключевыми для восстановления самоконтроля и снижения риска рецидива. Одновременно с нейронной перестройкой исследователи наблюдали колебания иммунной системы. В крови повышался уровень цитокинов - сигнальных белков, регулирующих воспалительные процессы. Эти данные свидетельствуют о существовании нейроиммунного взаимодействия, при ...>>

Случайная новость из Архива

Оптоволокно со скоростью передачи данных до 255 Тбит/с 09.11.2014

Коллектив ученых из Нидерландов, Китая и США представили новую разработку - оптоволокно, которое позволяет передавать данные со скоростью до 255 Тбит/с.

Полученный материал обладает пропускной способностью, которая в 21 раз превышает показатели лучших современных оптических кабелей (для них она составляет 7-8 Тбит/с). Пользу достижения трудно переоценить, поскольку, согласно результатам исследований, с развитием технологий потребность в увеличении скорости передачи информации увеличивается в геометрической прогрессии.

При этом передача значительных объемов данных в оптоволокне ограничивается потерями, которые объясняются отклонениями от законов линейной оптики. Подобные отклонения происходят из-за высокой энергии световой волны.

В обычном оптоволокне сердцевина представляет собой цилиндр из стекла или пластика, проходящий по всей длине кабеля. Такая сердцевина окружена средой, оптические свойства которой не дают свету выйти за ее пределы.

По словам ученых, им удалось задействовать не одну сердцевину, а целых семь. Кроме того, в новом волокне были введены два дополнительных измерения.

Помимо этого ученые применили технологию, которая позволяет задействовать в одном волокне несколько частотных каналов. При этом каждый из каналов переносит отдельную информацию. Сообщается, что диаметр волокна в результате практически не изменился.

Свое усовершенствование ученые сравнивают с многополосной дорогой, в отличие от дороги однополосной (оптическое волокно с одной сердцевиной). Что касается двух дополнительных измерений, то можно проиллюстрировать их ситуацией, когда три автомобиля наезжают друг на друга, находясь на одной полосе.

Другие интересные новости:

▪ В Антарктиде когда-то росли пальмы и баобабы

▪ Интернет по веревке

▪ 4K-проектор LG ProBeam

▪ Рекорд мотоцикла

▪ Светящаяся рыбка

Лента новостей науки и техники, новинок электроники

 

Интересные материалы Бесплатной технической библиотеки:

▪ раздел сайта Стабилизаторы напряжения. Подборка статей

▪ статья Свинцовые мерзости. Крылатое выражение

▪ статья Что неосознанно провоцирует людей на нарушение установленных правил поведения? Подробный ответ

▪ статья Рдест плавающий. Легенды, выращивание, способы применения

▪ статья Усовершенствованный ГИР. Энциклопедия радиоэлектроники и электротехники

▪ статья Коммутация ручного электроинструмента. Энциклопедия радиоэлектроники и электротехники

Оставьте свой комментарий к этой статье:

Имя:


E-mail (не обязательно):


Комментарий:





Главная страница | Библиотека | Статьи | Карта сайта | Отзывы о сайте

www.diagram.com.ua

www.diagram.com.ua
2000-2026