Menu Home

Бесплатная техническая библиотека для любителей и профессионалов Бесплатная техническая библиотека


Цифровое зарядное устройство. Энциклопедия радиоэлектроники и электротехники

Бесплатная техническая библиотека

Энциклопедия радиоэлектроники и электротехники / Зарядные устройства, аккумуляторы, гальванические элементы

Комментарии к статье Комментарии к статье

Преимущества индивидуальной зарядки аккумуляторов, составляющих батареи питания аппаратуры, измерительных приборов, общеизвестны: продлевается срок их службы, появляется возможность одновременной зарядки аккумуляторов из различных батарей и т. п. Однако радиолюбители редко строят зарядные устройства многоканальными - отпугивают кажущаяся сложность и дороговизна. Автор же публикуемой статьи утверждает, что в данном случае не стоит жалеть о затратах - они окупятся. Вспомним, о чем говорит народная мудрость: "Скупой платит дважды "...

В печати, например в [1], появилось описание многоканального зарядного устройства (ЗУ) с контролем напряжения каждого из заряжаемых аккумуляторов и ограничением зарядного тока по достижении порогового напряжения зарядки. Как и все такие автоматические устройства с контролем степени зарядки аккумулятора, они, конечно, удобны в обращении. Но как показывает опыт, подобное построение ЗУ приводит к ухудшению его КПД по сравнению с последовательным включением аккумуляторов, неоправданному усложнению. С ухудшением КПД при питании от сети еще можно смириться: в процессе эксплуатации батареи стоимость электроэнергии, потраченной на ее зарядку, ничтожна в сравнении со стоимостью самих аккумуляторов и ЗУ Усложнение же ЗУ авторы статьи, о которой упоминалось выше, на мой взгляд, преодолели "в лоб" - при наращивании числа каналов до четырех они применили и счетверенный ОУ

Думаю, это не лучшее решение проблемы. Дело в том, что общая тенденция развития схемотехники серийных устройств последних двух десятилетий свидетельствует об уменьшении в их составе удельной доли аналоговых устройств, заменой их цифровыми, которые в условиях массового производства имеют лучшую повторяемость выходных параметров.

Несмотря на то, что радиолюбители, как правило, создают единичные конструкции, повторяемость для них имеет не меньшее значение: проще, конечно, собрать устройство по принципу "сделал и забыл, как оно работает", чем потратить на его налаживание драгоценный творческий пыл. Немаловажно и то, что сегодня элементы цифровой техники дешевле и более доступны.

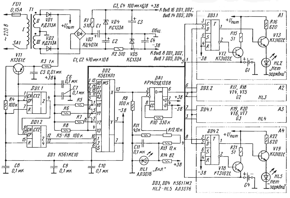
Предлагаемое "цифровое" ЗУ на четыре канала для никель-кадмиевых аккумуляторов (см. схему) разрабатывалось именно исходя из таких предпосылок.

Цифровое зарядное устройство
(нажмите для увеличения)

Основные технические характеристики:

  • Режим работы......круглосуточный
  • Температура окружающей среды, °С......+20...35
  • Число одновременно заряжаемых аккумуляторов.....от 1 до 4
  • Зарядный ток, мА......50
  • Типоразмер заряжаемых аккумуляторов......"Size АА"
  • Напряжение заряженного аккумулятора, В......1,43
  • Длительность короткого замыкания выхода ....не ограничена

Работа ЗУ заключается в следующем. На вход CN (вывод 1) счетчика DD1 поступают тактовые импульсы с частотой 100 Гц. На его выходах 2 и 4 (выводы 12 и 13) присутствует в двоичном коде некоторая цифровая комбинация, являющаяся адресом, т. е. номером канала зарядного устройства. Сигнал этого кода поступает на адресный вход мультиплексора (выводы 10. 9 микросхемы DD2). Допустим, что в настоящий момент в счетчик DD1 записано число I (1=0, 1, 2, 3). Через мультиплексор (входы X DD2) напряжение с 1-го канала ЗУ поступает на неинвертирующий вход (вывод 3) компаратора DA1, который сравнивает его с образцовым, соответствующим установленному напряжению окончания зарядки аккумулятора. На выходе компаратора (вывод 6) ко времени окончания 1-го тактового импульса сформируется напряжение высокого уровня (аккумулятор, подключенный к 1-му каналу, заряжен), или низкого уровня (аккумулятор разряжен), которое поступает на входы D триггеров микросхем DD3, DD4 всех четырех каналов. В этот момент через дешифратор (входы Y микросхемы DD2) на тактовый вход С 1-го триггера поступает импульс низкого уровня, своим спадом (изменением напряжения с -3 В до +3 В), производящий запись информации с информационного входа D. Состояние этого триггера останется неизменным до следующего тактового импульса, т. е. до повторения адреса. Напряжения же с выходов триггера, например, триггера DD3.1 зарядного узла А1, поступают на ключевые транзисторы VT2, VT3, которые включают соответственно зарядный ток (аккумулятор G1, подключенный к каналу с адресом "0", разряжен) и индикатор HL2 "Нет зарядки" красного цвета свечения (аккумулятор заряжен).

Таким образом, в описываемом устройстве используется единственный аналоговый "скользкий" элемент - компаратор DA1, поочередно (как гроссмейстер во время сеанса одновременной игры) принимающий решение по каждому из четырех аккумуляторов: быть ему в течение четырех последующих тактов под зарядкой или же нет.

Тактовые импульсы, следующие с удвоенной частотой сети (98... 100 Гц), поступают на вход счетчика DD1 с выхода выпрямителя VD1VD2 через формирователь, образованный элементами R3, С5, VT1, R4. С выходов счетчика тактовая последовательность переключает каналы ЗУ с частотой, близкой к 6 Гц (fтакт=2·fсети/16=2-50/16 - 6 Гц), а переключение каждого канала ЗУ происходит с частотой около 1,5 Гц: (fперекл =fтакт/4·250/16/4 - 1,5 Гц). При этом частота "моргания" индикаторов зарядки HL2 - HL5, при линейном их расположении и отсутствии аккумуляторов в ЗУ (первым импульсом канал включается, а последующим - выключается, т. е. частота "моргания" индикаторов еще в 2 раза ниже), не раздражает пользователя - работа устройства в этом случае напоминает всем известную елочную гирлянду. Если частоту "моргания" выбрать большей, например 10 кГц, то световые сигналы индикаторов перестанут быть заметными - устройство не станет привлекать к себе повышенное внимание, а если меньшей - делает неудобным устранение часто возникающего неконтакта при подключении к ЗУ аккумулятора с окисленной контактной поверхностью.

Конденсатор С5 предотвращает возможные сбои счетчика DD1 из-за помех в питающей сети. Чтобы избежать выхода из строя микросхем при смене полярности напряжения заряжаемого аккумулятора (из-за его переполюсовки или ошибочного подключения), питание их выбрано двуполярным.

Функцию компаратора (DA1) выполняет ОУ КР140УД1208, обеспечивающий гарантированные параметры при низком напряжении питания. Он, кроме того, является относительно "медленным" и обеспечивает задержку изменения напряжения на информационном входе D триггеров при поступлении тактового импульса на С-вход, т. е. имеет "встроенный ФНЧ" на выходе.

Светодиод HL1 (зеленого цвета свечения), являющийся индикатором включения устройства в сеть, совместно с резисторами R11 - R13 образует источник образцового напряжения Соответствующее ему напряжение на инвертирующем входе компаратора DA1 устанавливают резистором R12 равным напряжению заряженного аккумулятора.

Для повышения КПД сглаживание выпрямленного напряжения фильтрующими конденсаторами С1 и С2 происходит только в цепях питания малой мощности. Напряжение питания маломощной части устройства стабилизировано параметрическими стабилизаторами R1VD4 и R2VD5.

Все постоянные резисторы - С2-23, подстроечный R12 - СПЗ-19 или, что лучше, многооборотный СП5-2, СП5-14. Конденсаторы - К10-17и К50-35.

Вместо КР140УД1208 применим его аналог из других серий ОУ, работоспособный при низком напряжении питания. Желательно, чтобы мощные выпрямительные диоды VD1 и VD2 были с барьером Шоттки и возможно меньшим прямым падением напряжения.

Транзисторы серии КТЗ102 (VT2-VT9), работающие в ключевом режиме, должны быть с высоким значением коэффициента передачи тока базы. При применении транзисторов с меньшим численным значением этого параметра нагрузочной способности триггеров микросхем окажется недостаточно для введения транзисторов в насыщение (особенно VT2, VT4, VT6, VT8, включающих ток зарядки аккумуляторов). В таком случае придется применить стабилитрон VD4 с большим напряжением стабилизации, например КС139А.

Сетевой блок питания выполнен на имевшемся в наличии трансформаторе мощностью 3 Вт. Действующее значение напряжения на каждой из его обмоток II и III под нагрузкой - 5 В. Можно использовать унифицированные накальные трансформаторы серии ТН.

Конструктивно ЗУ выполнено в корпусе, спаянном из пластин фольгированного стеклотекстолита толщиной 2 мм. В верхней части корпуса имеется кассета для подключения заряжаемых аккумуляторов, а напротив каждого аккумулятора - соответствующий ему индикатор зарядки. В верхней и нижней стенках корпуса в районе размещения сетевого трансформатора просверлены вентиляционные отверстия.

Конденсаторы С6, С7 и С8-С10, шунтирующие цепи питания микросхем, следует расставить на разных участках монтажной платы.

Налаживание правильно собранного устройства несложно. После включения питания должен засветиться индикатор HL1 (зеленого цвета свечения) и "замигать" индикаторы HL2-HL5 (красного свечения). Затем, поочередно замыкая контакты каждого из каналов устройства, проверьте, гаснет ли при этом соответствующий ему индикатор.

После такой предварительной проверки подключите к любому из каналов устройства заряженный аккумулятор и подстроечным резистором R12 установите на инвертирующем входе компаратора DA1 образцовое напряжение, равное 1,43 В. При этом индикатор зарядного блока этого канала должен светиться.

Работать же с предлагаемым ЗУ еще проще. Протрите контактные поверхности заряжаемых аккумуляторов спиртом и, соблюдая полярность, подключите их к пружинящим контактам кассеты. Если аккумулятор разряжен, то соответствующий ему светодиод не должен светиться вообще. Все учащающееся "мигание" светодиодов свидетельствует о скором окончании зарядки аккумуляторов, а если какой-то из из аккумуляторов полностью заряжен, то его светодиод горит непрерывно.

Коротко о возможном совершенствовании описанного ЗУ Источник образцового напряжения (ИОН), построенный на светодиодах, имеет ощутимый отрицательный ТКН - примерно 2 мВ/°С при рабочей температуре. Следовательно, повышение температуры на 15°С приводит к недозарядке аккумулятора примерно на 0,03 В. Это, конечно, не является серьезным недостатком ЗУ - из-за особенностей вольт-амперной характеристики никель-кадмиевые аккумуляторы "недобирают" по этой причине всего несколько процентов от общей запасаемой энергии. Для снижения влияния температуры на такой вариант ИОН он размещен вдали от тепловых потоков. При желании добиться еще большей точности работы ЗУ можно установить более совершенный ИОН, например, описанный в [3]. Но тогда затраты на детали конструируемого ЗУ возрастут.

Если сетевой трансформатор блока питания обладает достаточным запасом мощности, можно увеличить ток зарядки аккумуляторов или число каналов устройства. Для увеличения тока зарядки достаточно заменить транзисторы VT2, VT4, VT6 и VT8 на составные, например КТ973А, стабилитрон VD4 - на КС139А (или КС147А) и соответственно изменить сопротивление и мощность рассеяния токозадающих резисторов R15, R17, R19, R21. Число же каналов наиболее просто увеличить до восьми, применив в устройстве восьмиканальный мультиплексор К561КП2.

И последнее. Круглосуточная работа устройства (при этом аккумуляторы могут попросту храниться в нем) предполагает очень тщательное конструктивное исполнение с выполнением требований техники безопасности.

Литература

  1. Баляса П., Троян А. Зарядное устройство для четырех аккумуляторов. - Радиолюбитель, 1996, № 9, с. 24.
  2. Бирюков С. Цифровые устройства на МОП-интегральных микросхемах. - М.: Радио и связь, 1990.
  3. Федичкин С. Микромощные стабилизаторы напряжения. - Радио, 1988, № 2, с. 56, 57.

Автор: В.Журавлев, г.Энергодар Запорожской обл.

Смотрите другие статьи раздела Зарядные устройства, аккумуляторы, гальванические элементы.

Читайте и пишите полезные комментарии к этой статье.

<< Назад

Последние новости науки и техники, новинки электроники:

Кислотность океана разрушает зубы акул 03.10.2025

Мировые океаны выполняют важнейшую функцию - они поглощают около трети углекислого газа, выбрасываемого в атмосферу. Это помогает замедлять темпы глобального потепления, но имеет и обратную сторону. Растворяясь в воде, CO2 образует угольную кислоту, которая повышает концентрацию водородных ионов и приводит к снижению pH. Вода становится более кислой, а последствия этого процесса уже заметны для морских экосистем. Средний показатель кислотности океана сейчас равен примерно 8,1, тогда как еще недавно за условную норму брали значение 8,2. По прогнозам, к 2300 году уровень может упасть до 7,3 - это сделает океан почти в десять раз кислее нынешнего состояния. Для обитателей морей подобные изменения означают не просто сдвиг химического равновесия, а реальную угрозу физиологическим процессам, начиная от формирования раковин у моллюсков и заканчивая охотничьим поведением акул. Чтобы выяснить, как именно кислотная среда отражается на зубах акул, группа немецких исследователей провела эксп ...>>

Почтовый космический корабль Arc 03.10.2025

Космические технологии становятся частью инфраструктуры, способной повлиять на логистику, медицину и даже военную сферу. Идея использовать орбиту как глобальный склад для срочных поставок звучала еще недавно как научная фантастика, но стартап Inversion пытается превратить ее в практическое решение. Компания Inversion появилась в начале 2021 года благодаря Джастину Фиаскетти и Остину Бриггсу, которые на тот момент были студентами Бостонского университета. Их замысел состоял в том, чтобы сделать возможной доставку грузов не только через спутниковые сети данных, но и в буквальном смысле - физических предметов. В основе лежит простая мысль: если космос обеспечивает доступ к любой точке Земли, то и грузы должны перемещаться тем же маршрутом. Уже за три года работы команда из 25 специалистов успела построить демонстрационный аппарат "Ray". Его запуск состоялся в рамках миссии SpaceX Transporter-12. Устройство весом 90 килограммов проверяло ключевые технологии Inversion, включая двухком ...>>

Лазерное обогащение урана 02.10.2025

Ядерная энергия остается одним из ключевых источников стабильного электричества, особенно для стран с растущими потребностями в энергоснабжении. Однако обеспечение бесперебойных поставок топлива для атомных станций требует современных технологий обогащения урана, которые одновременно эффективны и безопасны. Американская компания Global Laser Enrichment (GLE) делает значительный шаг в этом направлении, завершив масштабное тестирование лазерной технологии обогащения урана. Демонстрационная программа была проведена на объекте в Уилмингтоне, Северная Каролина. Тестирование технологии SILEX (Separation of Isotopes by Laser EXcitation), разработанной австралийской Silex Systems, стартовало в мае 2025 года и продлится до конца года. В ходе экспериментов компания планирует получить сотни фунтов низкообогащенного урана (LEU), который может быть использован в качестве топлива для атомных электростанций. GLE была создана в 2007 году для коммерциализации лазерных методов обогащения урана в С ...>>

Случайная новость из Архива

МКС станет заправочной станцией спутников 21.01.2013

НАСА собирается испытать на борту МКС очень перспективную систему дозаправки спутников прямо на околоземной орбите. Предварительно первая симуляция космической дозаправки назначена на 23 января 2013 года.

Еще 12 июля 2011 года шаттл Atlantis выгрузил на МКС установку для роботизированной заправки. Устройство, названное RRM, в будущем серьезно изменит подходы к эксплуатации космического оборудования, особенно спутников. Сегодня спутники после выработки топлива не могут поддерживать свою орбиту и, соответственно, не выполнять свои функции. В результате приходится вновь тратить миллионы долларов на запуск нового спутника, хотя и старый мог бы отработать как минимум столько же. Это то же самое, что покупать новый автомобиль, после того, как опустел бак у старого.

Решить эту проблему смогут специальные спутники с модулями RRM. Они будут передвигаться в пределах самой оживленной околоземной орбиты - геостационарной, расположенной на высоте около 22000 км. Именно здесь находятся более 400 спутников, обеспечивающих планету метеорологическими данными, связью, телевидением и т.д. Если у какого-либо из этих спутников закончится топливо, аппарат RRM приблизится к нему и с помощью специальных инструментов проведет необходимые ремонт и дозаправку.

Модуль RRM по габаритам сравним со стиральной машиной, хотя весит намного больше - около 250 кг. В настоящее время он размещен на 3,6-м манипуляторе Dexter, установленном снаружи МКС. Модуль RRM оснащен набором различных инструментов: захватами, отверткой, кусачками, заправочным штуцером и т.д. В 2012 году RRM успешно отрезал с помощью кусачек два скрученных провода.

В новом испытании RRM будет использовать 4 других инструмента для выполнения еще более сложной задачи: заправки через клапаны с тройным уплотнением, такие клапаны стоят на многих спутниках, при этом они изначально никогда не предназначались для повторного доступа. Самое главное - во время операции по удалению изоляционных материалов и заправке, RRM будет управляться с Земли. В будущем спутники-заправщики будут контролироваться именно таким способом - с расстояния тысяч километров, так что необходимо доказать жизнеспособность данной концепции. Если все пройдет успешно, следующее испытание состоится в 2013 году, а всю работу по программе RRM планируется продолжить до 2015 года.

Другие интересные новости:

▪ Осветительный светодиод Samsung LM301B

▪ Cоздание новых растений без встраивания ДНК

▪ Получен новый изотоп фтора

▪ Поезда вместо самолетов

▪ С сенсорным экраном - в перчатках

Лента новостей науки и техники, новинок электроники

 

Интересные материалы Бесплатной технической библиотеки:

▪ раздел сайта Устройства защитного отключения. Подборка статей

▪ статья Нефтепровод. История изобретения и производства

▪ статья Есть ли животное вампир? Подробный ответ

▪ статья Применение локальных нормативных актов, содержащих нормы трудового права

▪ статья Электронная записная книжка. Энциклопедия радиоэлектроники и электротехники

▪ статья Самодельные направленные ответвители для кабельного телевидения. Энциклопедия радиоэлектроники и электротехники

Оставьте свой комментарий к этой статье:

Имя:


E-mail (не обязательно):


Комментарий:





Главная страница | Библиотека | Статьи | Карта сайта | Отзывы о сайте

www.diagram.com.ua

www.diagram.com.ua
2000-2025