Menu Home

Бесплатная техническая библиотека для любителей и профессионалов Бесплатная техническая библиотека


Электробезопасность компьютеров и компьютерных сетей. Энциклопедия радиоэлектроники и электротехники

Бесплатная техническая библиотека

Энциклопедия радиоэлектроники и электротехники / Компьютеры

Комментарии к статье Комментарии к статье

В настоящее время все больше людей пользуются персональными компьютерами, во многих организациях и учреждениях компьютеры объединены в локальную сеть. Многие слышали о бесперебойных источниках питания и о том, что "для нормальной работы корпус компьютера должен быт заземлен", но вопросы электробезопасности компьютерной техники, на взгляд автора, не получили достаточного освещения в литературе и периодической компьютерной печати.

В настоящее время основным документом, регламентирующим проектирование, монтаж и эксплуатацию электроустановок, являются "Правила устройства электроустановок" [1].

Рассмотрим средства обеспечения электробезопасности.

П.1.7.32 ПУЭ регламентирует защитные меры от поражения людей электрическим током: разделительный трансформатор, двойная изоляция, заземление, зануление, защитное отключение, выравнивание потенциалов.

Разделительный трансформатор - это трансформатор, имеющий повышенную изоляцию, благодаря чему в значительной мере снижается возможность перехода напряжения первичной обмотки во вторичную. Разделительные трансформаторы необязательно должны быть понижающими, однако вторичное напряжение не должно быть более 380 В (см. п.1.7.44 ПУЭ), к тому же от разделительного трансформатора разрешается питание только одного электроприемника. Вторичную обмотку разделительного трансформатора и электроприемник, подключенный к ней, не заземляют. При отсутствии заземления прикосновения к частям, находящимся под напряжением, или к корпусу с поврежденной изоляцией не создают опасность, так как вторичная сеть разделительного трансформатора обычно коротка, и токи утечки в ней при исправной изоляции невелики. Если при этом возникает повреждение изоляции и на другой фазе вторичной цепи (двойное замыкание), то на корпусе электроприемника может появиться напряжение по отношению к земле, что в неблагоприятных условиях может оказаться опасным.

Чтобы уменьшить вероятность появления двойных замыканий, к разделительному трансформатору согласно п.1.7.42.2 ПУЭ можно присоединять не более одного электроприемника. В эпоху повсеместного применения импульсных блоков питания и стремления максимально снизить материалоемкость изделий формула "один компьютер + один разделительный трансформатор" вряд ли найдет массовое (или даже широкое) применение. Питание малым напряжением (42 В, см. п.1.7.44 ПУЭ) также сопряжено со значительными материальными затратами - необходим понижающий трансформатор достаточной мощности, желательно с повышенной изоляцией между первичной и вторичной обмотками; блоки питания компьютеров должны быть рассчитаны на напряжение 42 В. Автору неизвестен ни один случай использования в IBM-совместимых компьютерах блоков питания с сетевым напряжением 42 В (хотя для школьных компьютеров "Электроника" блоки питания с таким напряжением выпускались), да и вряд ли стоит заниматься их производством. Так что и этот метод не может быть рекомендован для широкого применения.

Рассмотрим метод защиты двойная изоляция.Двойная изоляция, согласно п.1.7.29 ПУЭ - это "совокупность рабочей и защитной (дополнительной) изоляции, при которой доступные прикосновению части электроприемника не приобретают опасного напряжения при повреждении только рабочей или только защитной (дополнительной) изоляции. Блок питания компьютера обычно имеет на входе фильтр, ослабляющий помехи в сети (рис.1).

Электробезопасность компьютеров и компьютерных сетей
(нажмите для увеличения)

Второй контакт сетевого разъема соединен, как правило, с корпусом компьютера. Конденсаторы С2 и С3 соединены с питающими проводниками и вторыми выводами - с корпусом компьютера. Фактически и фазный, и нулевой провода соединены с корпусом компьютера через конденсаторы. Хотя эти конденсаторы (обычно керамические) и рассчитаны на повышенное (1,5-2 кВ) напряжение, все же нельзя сказать, что они обладают "двойной изоляцией". Следовательно, и блок питания, и весь компьютер не могут считаться электроаппаратами с двойной изоляцией, так что они не подпадают под действие п.1.7.48.5 ПУЭ, где говорится о том, что можно не заземлять (занулять).

На практике имели место случаи, когда незаземленный корпус компьютера при прикосновении "щипался". По-видимому, большинство подобных случаев связано с ухудшением межобкладочной изоляции конденсаторов С2 и C3 или, иными словами, с повышенным током утечки этих конденсаторов.

Заземление и зануление. Согласно п.1.7.33 ПУЭ заземление или зануление электроустановок необходимо выполнять при номинальных напряжениях выше 42 В, но ниже 380 В переменного тока в помещениях с повышенной опасностью. Если, например, компьютер стоит на столе, стол - вблизи радиатора отопления, не огороженного изоляционными решетками, и расстояние между компьютером и радиатором составляет 1 м или менее (такая ситуация встречается нередко), то это уже создает повышенную опасность. Если в помещении в течение 24 ч 1 мин продержалась температура +35,1° С, то оно формально должно быть отнесено к помещениям с повышенной опасностью.

Заземление - средство, предназначенное для защиты от поражения напряжением, которое вследствие повреждения изоляции возникает на поверхности металлических или других электропроводящих элементов или частей оборудования, нормально не находящихся под напряжением [2].

Электробезопасность достигается применением системы заземляющего устройства, под которой понимается совокупность заземлителей заземляющих проводников. Заземление (защитное заземление) применяется в сетях, работающих с изолированной нейтралью (например 6 или 10 кВ). Сущность защиты с помощью устройства заземления заключается в создании такого заземления, которое обладало бы сопротивлением, достаточно малым для того, чтобы падение напряжения на нем (а именно оно и будет поражающим) не достигло значения, опасного для человека; в поврежденной сети необходимо обеспечить такой ток, который был бы достаточным для надежного срабатывания защитных устройств.

Зануление - это защитное мероприятие, применяемое только в сетях с глухозаземленной нейтралью напряжением ниже 1 кВ, предназначенное для защиты от напряжения, возникающего на металлических частях оборудования, нормально не находящихся под напряжением (но могущих оказаться под напряжением вследствие повреждений изоляции), заключающееся в создании в поврежденной цепи значения тока, достаточного для срабатывания защиты [2]. Зануление - это преднамеренное соединение частей злектроустановки, нормально не находящихся под напряжением, с глухозаземленной нейтралью генератора или трансформатора в сетях трехфазного тока. Таким образом, зануление, по-видимому, можно считать более широким понятием, чем заземление, и включающим в себя последнее (если корпус электроприемника занулен, то он одновременно и заземлен; другое дело - используются в сети с глухозаземленной нейтралью повторные заземлители или нет).

Физическую сущность зануления поясняет рис.2, где 1 - источник энергии (понижающий трансформатор 6 кВ/380 В или 10 кВ/380 В с глухозаземленной нейтралью); 2 - заземлитель нейтрали трансформатора (основной заземлитель); 3 - повторный заземлитель; 4 - потребитель энергии (персональный компьютер); 5 - устройство защиты (плавкий или автоматический предохранитель и т.п.).

Электробезопасность компьютеров и компьютерных сетей
(нажмите для увеличения)

При замыкании фазного провода на корпус в цепи "фазный провод - нулевой провод" течет ток короткого замыкания Iкз, который вызывает срабатывание защитного устройства. Для снижения напряжения прикосновения используется повторный заземлитель 3. При его отсутствии в случае замыкания фазы на корпус напряжение прикосновения (напряжение на корпусе относительно земли) будет составлять половину фазного, если сопротивление фазного провода равно сопротивлению нулевого провода и больше половины фазного, если сопротивление фазного провода меньше сопротивления нулевого провода (что бывает нередко). Вероятность несрабатывания правильно выбранной защиты (при прикасании оператора к кopпyсу в момент замыкания фазного провода на корпус) достаточно низка, однако полностью исключить ее нельзя, и на корпусе некоторое время может сохраняться напряжение прикосновения.

Для его снижения служит повторный заземлитель 3. Возникает цепь, как бы шунтирующая нулевой провод. Сопротивление этой цепи значительно больше сопротивления нулевого провода, и поэтому на значение тока, текущего по нулевому проводу, эта цепь существенно не влияет, однако напряжение относительно земли уменьшается. Если сопротивление повторного заземлителя (одного или системы) равно сопротивлению нейтрали трансформатора, то напряжение прикосновения относительно земли будет равно половине падения напряжения на нулевом проводе (напряжение прикосновения, например, 110 В поровну распределится между последовательно включенными заземлителями). Соответственно изменяя соотношение повторного и основного заземлителей, можно изменять напряжение прикосновения на корпусе электроприемника (а также на корпусе питающего трансформатора). На практике, однако, на обоих концах (у электоприемника и у трансформатора) имеется большое количество естественных заземлителей (арматура соopyжений, фундаменты, трубопроводы, металлические оболочки кабелей и т.п.); сопротивление заземления этих естественных заземлителей отражается на сопротивлении заземления основного и повторного заземлителей, и учесть это влияние достаточно сложно. Возникает неопределенность, являющаяся недостатком зануления.

Распространенную (и часто практикуемую) схему заземления корпуса компьютера, изображенную на рис.3, следует признать не обеспечивающей электробезопасность, ввиду того что при замыкании фазного провода на корпус ток короткого замыкания Iкз течет не через нулевой провод, а через последовательно включенные основной (2) и повторный (3) заземлители (следует учитывать еще и сопротивление грунта). Этот ток может оказаться недостаточным для срабатывания устройства защиты 5, и на корпусе компьютера 4 может длительно сохраняться напряжение прикосновения, близкое к фазному.

Электробезопасность компьютеров и компьютерных сетей
(нажмите для увеличения)

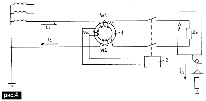
Защитное отключение - быстродействующая защита, обеспечивающая автоматическое отключение электроустановки при возникновении в ней опасности поражения током. Существует большое разнообразие схем защитного отключения, но чаще всего их основой является так называемый трансформатор тока нулевой последовательности [4]. Принцип действия защитного отключения поясняет рис.4.

Электробезопасность компьютеров и компьютерных сетей
(нажмите для увеличения)

Трансформатор тока нулевой последовательности 1 представляет собой тороидальный сердечник (обычно из феррита) с тремя обмотками. Работа устройства основана на принципе выделения разности токов Iр, проходящих через нулевой и фазный провода. Обмотки W1 и W2 имеют одинаковое количество витков и включены так, что токи I1 (протекающий в фазном проводе) и I2 (протекающий в нулевом проводе) создают противоположно направленные магнитные потоки. При равенстве токов I1 и I2 результирующий магнитный поток равен нулю, и в обмотке W0 никакого напряжения не наводится. При ответвлении тока (вследствие прикосновения человека к корпусу, на который замкнула фаза) результирующий магнитный поток уже не будет равен нулю, так как токи I1 и I2 не равны (I1=I2+I4), и в обмотке W0 наводится напряжение, вызывающее срабатывание исполнительного устройства 2, которое отключает оба провода питания от нагрузки. Ток установки ( при котором происходит отключение нагрузки) может быть выбран достаточно малым (единицы миллиампер), что не представляет опасности для человека. Устройство защитного отключения обладает следующими преимуществами:

  • постоянный контроль изоляции защищаемого участка по отношению к земле;
  • обеспечение электробезопасности как с занулением, так и без зануления корпуса; защита человека в случае прикосновения не только к металлическому корпусу прибора, оказавшегося под напряжением, но и к фазному проводу;
  • отсутствие электрической связи с землей;
  • повышение степени защиты при использовании совместно с занулением.

Устройства защитного отключения (УЗО) выпускались серийно много лет назад [4]. Современная микросхемотехника позволяет создать настолько малогабаритные устройства, что их можно встроить в сетевую вилку. Еще в конце 80-х в журнале "Electronics" была описана микросхема, содержащая основные блоки УЗО. Подобную микросхему (К1182СА1) выпускает и НПЦ "СИТ" (Россия, г.Брянск) [5]. Автору пока что не встречались компьютерные кабели, в вилку которых было бы встроено УЗО, а самостоятельно изготовить такой кабель, по-видимому, достаточно сложно.

Однако вполне возможно встроить такое устройство в колодку питания - коробку из изоляционного материала, на которой закреплены 2-3 компьютерные (с тремя контактами) розетки и к которой подведены обычная двухштырьковая сетевая вилка с кабелем и провод заземления.

Таким образом, для обеспечения электробезопасности одиночному пользователю компьютера можно рекомендовать применение УЗО совместно с заземлением; заземление к тому же отводит статический потенциал с корпуса компьютера, что повышает надежность работы оперативной памяти и винчестера компьютера [6]. В случае применения УЗО требования к заземлению становятся не такими жесткими (его сопротивление может быть и больше 4 Ом, больше сопротивления основного заземлителя; это не приведет к увеличению напряжения прикосновения как в системах с занулением). Недостаток применения УЗО - возможная потеря данных при его срабатывании, однако с этим приходится мириться.

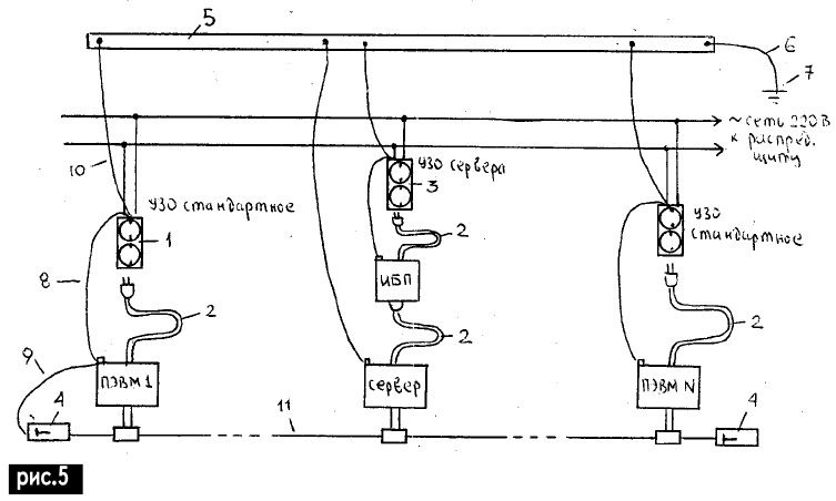
В локальных компьютерных сетях обеспечение электробезопасности выглядит несколько иначе. Электромонтажная схема локальной сети изображена на рис.5.

Электробезопасность компьютеров и компьютерных сетей
(нажмите для увеличения)

Сервер питается через источник бесперебойного питания (ИБП); в этом ИБП вторичные цепи гальванически изолированы от питающей сети. С точки зрения электробезопасности ИБП (в английской транскрипции UPS) можно считать "усовершенствованным аналогом" разделительного трансформатора; ни один из двух выходных питающих проводов заземлению не подлежит (так же, как не заземляется ни один из выводов вторичной обмотки разделительного трансформатора).

Разумеется, было бы неплохо оснастить ИБП все компьютеры локальной сети, что исключило бы потерю данных, однако это решение требует достаточно больших затрат. Оснастить свой компьютер ИБП может, конечно, и одиночный пользователь, однако стоимость ИБП, по крайней мере, в несколько раз превышает стоимость УЗО. К тому же существуют ИБП, в которых вторичные цепи гальванически не изолированы от сети; "истинные" ИБП с гальванической изоляцией стоят дороже. ИБП, питающий сервер, питается через УЗО, но это УЗО несколько отличается от "стандартного" (на рис.5), через которое питаются остальные компьютеры локальной сети. "УЗО стандартное" отключает питание от компьютера, если появляется ток утечки на землю. УЗО сервера не отключает питание при утечке, а лишь включает звуковой сигнал, свидетельствующий о том, что на корпусе ИБП существует напряжение прикосновения. Можно вставить такое же УЗО между ИБП и сервером, звуковой сигнал в этом случае будет свидетельствовать об ухудшении изоляции в блоке питания сервера. Корпусы всех компьютеров дополнительно соединены отдельными проводниками 8 и 10 с заземляющим контактом колодки питания 1 (или присоединены заземляющим проводником непосредственно к магистрали заземления 5 как сервер). Эти проводники дублируют заземляющий проводник стандартного компьютерного шнура 2. Как показывает опыт, заземляющий контакт стандартной компьютерной розетки не обладает достаточной упругостью, "земляное" соединение иногда нарушается, что чревато серьезными последствиями. В принципе, можно обойтись и без этих дублирующих проводников, но тогда необходим периодический контроль "земляного" соединения, что не всегда удобно.

Компьютеры локальной сети соединены отрезками коаксиального кабеля со стандартными наконечниками с помощью Тконнекторов, на обоих концах линии установлены терминаторы и резисторы с сопротивлением, равным волновому сопротивлению кабеля; один из терминаторов заземляется (заземляющую цепочку 9 на рис.5 можно присоединить к корпусу компьютера). Заземляющая магистраль 5 присоединена заземляющим проводником 6 к заземлителю (или контуру заземления) 7. В качестве заземляющей магистрали можно использовать, например, медную шину сечением 5-62 мм, она достаточно гибкая, что облегчает ее прокладку.

Соединение заземляющих проводников 10 с магистралью заземления 5 должно быть выполнено пайкой. Заземляющий проводник 6 (лучше стальной) соединяется с заземлителем 7 сваркой, а с магистралью заземления - пайкой, причем место пайки должно находиться в помещении. Если в здании имеются другие (и тем более мощные) потребители электроэнергии, нуждающиеся в заземлении, то их заземляющие проводники следует присоединить непосредственно к контуру заземления 7. В противном случае мощный потребитель может создать флуктуации напряжения на заземляющем проводнике 6 или магистрали заземления 5, эти флуктуации могут привести к сбоям в локальной сети. Кабель, питающий колодки питания 1 и 3 присоединяют к питающей сети через стандартные средства защиты (плавкие предохранители или электромагнитные выключатели). Выбор последних осуществляется в соответствии с требованиями ПУЭ.

Литература:

  1. Правила устройства электроустановок/ ПУЭ Минэнерго СССР.- 6-е изд., перераб. и доп. - М.: Энергоатомиздат, 1987.
  2. Манойлов В.Е. Основы электробезопасности. 3-е изд., перераб. и доп. - Л.: Энергия, 1976.
  3. Тульчин И.К., Нудлер Г.И. Электрические сети и электрооборудование жилых и общественных зданий. - 2-е изд., перераб. и доп. - М.: Энергоатомиздат, 1990.
  4. Аракелян М.К., Вайнштейн Л.И. Электробезопасность в жилых зданиях. - М.: Энергоатомиздат, 1983.
  5. Радiоаматор.- 1998. - №9.
  6. Мюллер С. Модернизация и ремонт персональных компьютеров/Пер. с англ.- М.: Восточная книжная компания, 1996.

Автор: В. И. Василенко

Смотрите другие статьи раздела Компьютеры.

Читайте и пишите полезные комментарии к этой статье.

<< Назад

Последние новости науки и техники, новинки электроники:

Власть является ключевым фактором счастья в отношениях 11.03.2026

Исследования семейных и романтических отношений показывают, что длительное счастье пары зависит не только от привычных факторов, таких как доверие, уважение и преданность, но и от более тонких психологических аспектов. Современные ученые ищут закономерности, которые отличают действительно счастливые пары от остальных, чтобы понять, какие механизмы поддерживают гармонию в отношениях. Группа исследователей из Университета Мартина Лютера в Галле-Виттенберге и Бамбергского университета провела опрос среди 181 пары, которые состояли в совместных отношениях более восьми лет и прожили вместе хотя бы месяц. Участники заполняли анкету, описывая различные аспекты своих отношений, включая распределение обязанностей, эмоциональную поддержку и степень вовлеченности в совместные решения. Анализ данных показал интересный паттерн: пары, где оба партнера ощущали высокий уровень личной власти, оказывались наиболее счастливыми и удовлетворенными. В данном контексте под властью понимается способност ...>>

Защищенная колонка-повербанк Anker Soundcore Boom Go 3i 11.03.2026

Компания Anker представила новую модель линейки Soundcore - колонку Soundcore Boom Go 3i, ориентированную на активное использование на улице. Новинка отличается высокой степенью защиты: корпус соответствует стандарту IP68, что обеспечивает водо- и пыленепроницаемость, а ударопрочный дизайн выдерживает падение с высоты до одного метра. За качество звука отвечает 15-ваттный драйвер, обеспечивающий пик громкости до 92 дБ, а технология BassUp 2.0 усиливает низкие частоты, делая звучание более насыщенным. Колонка обладает автономностью до 24 часов, а LED-индикатор позволяет контролировать уровень заряда батареи. Кроме того, Soundcore Boom Go 3i может выполнять функцию павербанка: согласно внутренним тестам, устройство способно зарядить iPhone 17 с нуля до 40% за один час, что делает его полезным аксессуаром в походах и поездках. Среди функциональных особенностей модели стоит выделить технологию Auracast, которая улучшает подключение и позволяет создавать стереопару из двух колонок ...>>

Раннее воздержание от алкоголя перестраивает мозг и иммунитет 10.03.2026

Алкогольная зависимость - хроническое расстройство с компульсивным употреблением спиртного, которое влияет не только на поведение, но и на функционирование мозга и иммунной системы. Недавние исследования показали, что даже на ранних этапах воздержания организм начинает перестраиваться, открывая новые возможности для терапии зависимости. Ученые сосредоточились на пациентах, находящихся в первые недели абстиненции, и зафиксировали значительные изменения в мозговой активности. С помощью функциональной магнитно-резонансной томографии они выявили перестройку сетей нейронных связей, отвечающих за контроль импульсов и принятие решений. Эти изменения могут быть ключевыми для восстановления самоконтроля и снижения риска рецидива. Одновременно с нейронной перестройкой исследователи наблюдали колебания иммунной системы. В крови повышался уровень цитокинов - сигнальных белков, регулирующих воспалительные процессы. Эти данные свидетельствуют о существовании нейроиммунного взаимодействия, при ...>>

Случайная новость из Архива

Электрогенетический инсулин 04.06.2020

Нужный уровень инсулина в крови можно поддерживать с помощью имплантата, который выделяет гормон в ответ на радиосигнал.

В норме уровень инсулина повышается после еды: специальные клетки поджелудочной железы (бета-клетки), которые его синтезируют, чувствуют повышение уровня глюкозы в крови, и выделяют инсулин. Клетки тела получают инсулиновый сигнал и начинают активно поглощать глюкозу. Но если клетки поджелудочной железы не работают, если их мало, если они погибли (как при диабете первого типа), то за уровнем инсулина приходится следить самому.

Уровень инсулина должен повышаться своевременно, его не должно быть ни слишком мало, ни слишком много. Обычные инсулиновые инъекции нужно делать строго перед едой, и ни в коем случае не забыть поесть после инъекции, иначе уровень сахара упадет очень сильно. Однако уже сравнительно давно есть препараты инсулина длительного действия: они начинают действовать не сразу, а спустя час, два, а то и восемь часов, и действуют потом такие препараты тоже очень долго, до 30 часов. Инсулин постепенно высвобождается в кровь, как бы имитируя нормальную работу инсулинсинтезирующих клеток поджелудочной.

Исследователи из Швейцарской высшей технической школы Цюриха пошли еще дальше и сконструировали инсулиновый имплантат, который выдает инсулин по радиосигналу снаружи. Имплантат состоит из двух частей, электронной и клеточной. Электронная часть - это микросхема, которая получает сигнал и генерирует электрический импульс. В клеточной части сидят живые бета-клетки, которые принимают электрический импульс и в ответ высвобождают инсулин.

Разумеется, клетки эти не простые, а модифицированные: они синтезируют белки, которые пропускают через мембрану ионы кальция и калия. Молекулярные ионные ворота чувствуют электрический импульс, ионы начинают входить в клетку и выходить из нее, и такая перегруппировка ионов включает цепочку внутриклеточных сигналов, которые доходят до инсулинового гена.

В другом варианте клетки и так синтезировали инсулин, накапливая его внутри себя в мембранных пузырьках-везикулах - электрический импульс заставлял клетку подвести эти пузырьки к наружной мембране и опорожнить их вовне. В статье в Science говорится, что имплантат успешно работал у мышей с диабетом первого типа: концентрация инсулина достигала пика через 10 минут после сигнала, и сахар в крови быстро снижался до нормального уровня.

Такой имплантат можно включать от приложения в смартфоне, более того, сам имплантат можно усовершенствовать так, чтобы он чувствовал уровень глюкозы в крови, чтобы он работал автономно, подобно сердечным ритмоводителям. Правда, клетки в нем все равно придется периодически менять, и эта процедура явно не должна быть сложной и дорогой, иначе электрогенетический имплантат не выдержит конкуренции с другими инсулиновыми средствами.

Другие интересные новости:

▪ Времени может не существовать

▪ Датчик изображения Sony IMX224MQV с рекордно высокой светочувствительностью

▪ Простой способ добычи урана из морской воды

▪ Intel: прорыв в фотонике

▪ Измерена сверхмалая сила с помощью одного атома

Лента новостей науки и техники, новинок электроники

 

Интересные материалы Бесплатной технической библиотеки:

▪ раздел сайта Узлы радиолюбительской техники. Подборка статей

▪ статья Маленькая хозяйка большого дома. Крылатое выражение

▪ статья Какие известные однофамильцы погибли, находясь на взорвавшихся кораблях? Подробный ответ

▪ статья Снегокарт для спорта и отдыха. Личный транспорт

▪ статья Датчик движения - защитник автомобиля. Энциклопедия радиоэлектроники и электротехники

▪ статья Дождь из-под зонта. Секрет фокуса

Оставьте свой комментарий к этой статье:

Имя:


E-mail (не обязательно):


Комментарий:





Главная страница | Библиотека | Статьи | Карта сайта | Отзывы о сайте

www.diagram.com.ua

www.diagram.com.ua
2000-2026