Бесплатная техническая библиотека
Стабилизатор напряжения 40/3-30 вольт 2 ампера с двойной защитой. Энциклопедия радиоэлектроники и электротехники

Энциклопедия радиоэлектроники и электротехники / Стабилизаторы напряжения
Комментарии к статье
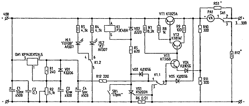
Предлагаемый стабилизатор имеет раздельную защиту от перегрузки по току и КЗ. При КЗ на выходе стабилизатора срабатывает узел защиты на VT3 (рис. 1). При перегрузке по току срабатывает защита на VS1 и К1.
Рис. 1. Схема стабилизатора напряжения (нажмите для увеличения)
Узел электронной защиты срабатывает, когда ток нагрузки создает на резисторе R6 падение напряжения, достаточное для открывания тиристора VS1, т.е. когда разность напряжений между управляющим электродом и катодом тиристора достигает приблизительно 1 В. Возникающий при этом отрицательный импульс напряжения через диод VD3 поступает на базу транзистора VT3 и практически закрывает его, а следовательно, и регулирующий транзистор VT1. Одновременно диод VD3 защищает транзистор VT3 от попадания на его базу положительного напряжения из анодной цепи тиристора.
Однако электронная система защиты все же не предохраняет полностью транзистор VT1 от теплового пробоя остаточным током, особенно если транзистор уже был разогрет в процессе работы, или продолжительное время не нажимали кнопку SB1.
Для предотвращения теплового пробоя транзистора VT1 и служит электромагнитная система защиты, срабатывающая через несколько миллисекунд (зависит от используемого реле К1) после того, как тиристор VS1 откроется. Тогда срабатывает реле К1. Его контакты К1.1 замыкают базу VT3 на минусовый проводник источника питания, а контакты К1.2 включают светодиод HL2 - сигнализатор действия защиты. После устранения причины перегрузки достаточно кратковременно нажать кнопку SB1, чтобы восстановить прежний режим работы блока питания, не отключая устройство от сети.
На вход стабилизатора подается от выпрямителя постоянное напряжение 40 В. Выходное стабилизированное напряжение от 3 В до 30 В устанавливается резистором R2. Максимальный ток нагрузки - 2 А. Ток нагрузки контролируют головкой РА1, переключив SA1.
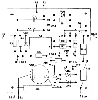
Детали стабилизатора смонтированы на плате из фольгированного стеклотекстолита (рис. 2 и 3) и на лицевой панели корпуса блока питания. Регулирующий транзистор VT1 установлен на теплоотводе. Транзистор КТ825А можно заменить на КТ825Б, Г; КТ818В, Г, ВМ, ГМ; КТ814Г - на КТ814В, Б; КТ816Б, В, Г; КТ315В - на КТ315Г, Д, Е.
Рис. 2. Печатная плата - сторона печатных проводников
Рис. 3. Печатная плата - сторона монтажа
Тиристор КУ202К заменяется на КУ201В...КУ201Л, КУ202В...КУ202Н. Вместо диода Д220А (VD2) подойдут Д219, Д220, Д223, КД102, КД103 с любыми буквенными индексами, а вместо диода КД105Б (VD3, VD4, VD5) - КД106А или любой другой кремниевый с прямым током до 300 мА и обратным напряжением не менее 50 В.
Переменный резистор R2 - любого типа с характеристикой А. Реле К1 - РЭС48А (паспорт РС4.590.206) или другое с двумя группами переключающих контактов, срабатывающее при напряжении не более 30 В.
Резистор R6 выполнен в виде нескольких витков константанового, нихромового или манганинового провода, намотанного на корпус резистора МЛТ-1. Его сопротивление определяется значением тока срабатывания, что, в свою очередь, зависит от напряжения на управляющем электроде тиристора, при котором он открывается. Так, например, если за максимальный ток срабатывания защиты принять 2 А, а тиристор открывается при напряжении на управляющем электроде около 1 В, сопротивление резистора R6 должно быть (по закону Ома) близко к 0,5 Ом. Возможно применение резисторов типа С5-16 соответствующей мощности.
Более точно сопротивление резистора подгоняют под выбранный предел срабатывания защиты в таком порядке. К выходу стабилизатора подключают соединенные последовательно амперметр и проволочный переменный резистор сопротивлением 25...30 Ом. На вход стабилизатора подают соответствующее напряжение от выпрямителя, и резистором R2 устанавливают на выходе напряжение 10...15 В. Затем переменным резистором, выполняющим функцию эквивалента нагрузки, устанавливают по амперметру ток, равный 2 А, и подбором сопротивления резистора R6 добиваются срабатывания системы защиты.
В радиолюбительской практике нередки обстоятельства когда от перегрузки токами меньшего значения, например, 50 или 100 мА, защищать приходится не только сам стабилизатор напряжения, но и питающееся от него устройство. При этом желательно иметь ступенчатую систему защиты, выполненную, например, по схеме, приведенной на рис. 4. Здесь резистор R6.1 первой ступени, рассчитанный на минимальный ток защиты 50 мА, включен в стабилизатор постоянно, а параллельно ему переключателем SA2 подключают резисторы R6.2...R6.5 четырех других ступеней: 100 мА, 500 мА, 1 А и 2 А.
Рис. 4. Ступенчатая система защиты
Указанные на схеме сопротивления резисторов - ориентировочные. Точнее их можно рассчитать, лишь зная напряжение открывания тиристора, работающего в стабилизаторе. Измерить это напряжение можно так. Движок переменного резистора R2 установите в крайнее нижнее (по схеме) положение и подключите к нему управляющий электрод тиристора, отпаяв его от правого (по схеме) вывода резистора R6.1. Затем включите питание и медленно увеличивайте резистором R2 напряжение на управляющем электроде тиристора. В момент открывания тиристора, о чем просигнализирует светодиод, измерьте вольтметром это напряжение.
Резисторы R6.2...R6.5 монтируются непосредственно на контактах переключателя SA2. Резисторы RS1 и R12 подбираются конкретно под имеющийся измерительный прибор.
Литература
- О.Лукьянчиков. Стабилизатор напряжения с двойной защитой от КЗ в нагрузке. - Радио, 1986, N9, С.56.
- А.Бизер. Защитные устройства блоков питания. - Радио, 1977, N2, С.47.
- Ю.Тимлин. Сдвоенный двухполярный блок питания. - В помощь радиолюбителю, вып. 71. - М.: ДОСААФ, 1980
- В.Борисов. Стабилизированный блок питания. - Радио, 1979, N6, С.54.
Автор: Ю.Курбаков, г.Тула; Публикация: cxem.net
Смотрите другие статьи раздела Стабилизаторы напряжения.
Читайте и пишите полезные комментарии к этой статье.
<< Назад
Последние новости науки и техники, новинки электроники:
Власть является ключевым фактором счастья в отношениях
11.03.2026
Исследования семейных и романтических отношений показывают, что длительное счастье пары зависит не только от привычных факторов, таких как доверие, уважение и преданность, но и от более тонких психологических аспектов. Современные ученые ищут закономерности, которые отличают действительно счастливые пары от остальных, чтобы понять, какие механизмы поддерживают гармонию в отношениях.
Группа исследователей из Университета Мартина Лютера в Галле-Виттенберге и Бамбергского университета провела опрос среди 181 пары, которые состояли в совместных отношениях более восьми лет и прожили вместе хотя бы месяц. Участники заполняли анкету, описывая различные аспекты своих отношений, включая распределение обязанностей, эмоциональную поддержку и степень вовлеченности в совместные решения.
Анализ данных показал интересный паттерн: пары, где оба партнера ощущали высокий уровень личной власти, оказывались наиболее счастливыми и удовлетворенными. В данном контексте под властью понимается способност ...>>
Защищенная колонка-повербанк Anker Soundcore Boom Go 3i
11.03.2026
Компания Anker представила новую модель линейки Soundcore - колонку Soundcore Boom Go 3i, ориентированную на активное использование на улице.
Новинка отличается высокой степенью защиты: корпус соответствует стандарту IP68, что обеспечивает водо- и пыленепроницаемость, а ударопрочный дизайн выдерживает падение с высоты до одного метра. За качество звука отвечает 15-ваттный драйвер, обеспечивающий пик громкости до 92 дБ, а технология BassUp 2.0 усиливает низкие частоты, делая звучание более насыщенным.
Колонка обладает автономностью до 24 часов, а LED-индикатор позволяет контролировать уровень заряда батареи. Кроме того, Soundcore Boom Go 3i может выполнять функцию павербанка: согласно внутренним тестам, устройство способно зарядить iPhone 17 с нуля до 40% за один час, что делает его полезным аксессуаром в походах и поездках.
Среди функциональных особенностей модели стоит выделить технологию Auracast, которая улучшает подключение и позволяет создавать стереопару из двух колонок ...>>
Раннее воздержание от алкоголя перестраивает мозг и иммунитет
10.03.2026
Алкогольная зависимость - хроническое расстройство с компульсивным употреблением спиртного, которое влияет не только на поведение, но и на функционирование мозга и иммунной системы. Недавние исследования показали, что даже на ранних этапах воздержания организм начинает перестраиваться, открывая новые возможности для терапии зависимости.
Ученые сосредоточились на пациентах, находящихся в первые недели абстиненции, и зафиксировали значительные изменения в мозговой активности. С помощью функциональной магнитно-резонансной томографии они выявили перестройку сетей нейронных связей, отвечающих за контроль импульсов и принятие решений. Эти изменения могут быть ключевыми для восстановления самоконтроля и снижения риска рецидива.
Одновременно с нейронной перестройкой исследователи наблюдали колебания иммунной системы. В крови повышался уровень цитокинов - сигнальных белков, регулирующих воспалительные процессы. Эти данные свидетельствуют о существовании нейроиммунного взаимодействия, при ...>>
Случайная новость из Архива Самый тихий авиационный электродвигатель
23.06.2023
Ученые из компании Whisper Aero представили на авиационном форуме Американского института аэронавтики макет электрического авиационного двигателя Whisper Jet, который, по утверждению разработчиков, является самым тихим среди всех аналогичных устройств.
По словам создателей проекта, их электрический двигатель на 20% эффективнее и на 100 раз более бесшумный по сравнению с имеющимися на рынке электродвигателями для самолетов. В ходе мероприятия они продемонстрировали результаты сравнительных измерений уровня шума их двигателя Whisper Jet с лучшими аналогами (по их мнению). Испытания двигателей проводились в одинаковых условиях: в ночное время с одинаковым уровнем фонового шума. На расстоянии 61 метра, при фоновом шуме на уровне 30 дБА, прототип электрического двигателя от Whisper Aero с 6-дюймовыми пропеллерами практически не слышен. При этом на расстоянии 100 метров макет развивал тягу, равную 34,7 Н, что соответствовало показателям других участников эксперимента.
По результатам измерений уровня шума, Whisper Jet продемонстрировал лучший показатель - 34,1 дБА. Другие разработки, включая канальные решения Schubeler (44,9 и 52,1 дБА) и открытые пропеллеры Aeronaut CAMcarbon (49,4 и 58,7 дБА), были значительно более шумными. При этом сами разработчики заявили, что их изделие в 100-500 раз тише канальных пропеллеров и в 100-1000 раз тише открытых пропеллеров.
Более низкий уровень шума в прототипе авиационного электродвигателя Whisper Jet достигается за счет применения большого количества лопаток, установленных вдоль обода, в отличие от традиционных двигателей с 3-5 лопастями. Благодаря этому инженерам удалось сдвинуть частоту вентилятора за пределы 16 кГц, что делает работу макета почти незаметной для человеческого слуха.
Кроме того, в компании Whisper Aero заявили, что многолопастная конструкция их двигателя не теряет эффективность при снижении оборотов. Они утверждают, что эффективность составляет 92%. Секрет успеха довольно прост: в других двигателях часть энергии расходуется на создание "мусорного" шума, в то время как в Whisper Jet эта энергия используется для дополнительной тяги.
Стартап планирует продавать двигатели и лицензии, но самолеты производить не собирается. Вместе с тем, компания работает над разработкой своего прототипа 10-местного электрического самолета с бесшумными двигателями, макет которого был продемонстрирован на авиационном форуме для всех заинтересованных. Этот тип самолета сможет преодолевать расстояние в 322 километра при максимальной скорости 463 километра в час.
|
Другие интересные новости:
▪ Головная боль от умственной работы
▪ Беспроводные наушники Google Pixel Buds Pro
▪ Самый быстрый водонагреватель в мире
▪ Преобразование угля в графит анодного качества
▪ Вкус вина зависит от формы бокала
Лента новостей науки и техники, новинок электроники
Интересные материалы Бесплатной технической библиотеки:
▪ раздел сайта Переговорные устройства. Подборка статей
▪ статья Горе побежденным! Крылатое выражение
▪ статья Владелец какой компании погиб, не справившись с управлением своей продукции? Подробный ответ
▪ статья Исландский лишайник. Легенды, выращивание, способы применения
▪ статья Управление магнитным пускателем одной кнопкой. Энциклопедия радиоэлектроники и электротехники
▪ статья Особенности конструирования УКВ аппаратуры. Энциклопедия радиоэлектроники и электротехники
Оставьте свой комментарий к этой статье:
Комментарии к статье:
Александр
Давно искал такую схему. Попробую, может получится.
Главная страница | Библиотека | Статьи | Карта сайта | Отзывы о сайте

www.diagram.com.ua
2000-2026