Бесплатная техническая библиотека
Стабилизатор напряжения 8-16 вольт 1 ампер на микросхеме К174УН7. Энциклопедия радиоэлектроники и электротехники

Энциклопедия радиоэлектроники и электротехники / Стабилизаторы напряжения
Комментарии к статье
Очень популярная всего каких-то 12-15 лет назад микросхема К174УН7 (импортный аналог - TBA810S), представляющая собой интегральный усилитель мощности звуковой частоты, в настоящее время при построении УМЗЧ почти не используется, так как по современным меркам обеспечивает невысокое качество звучания. Но радиолюбители продолжают "беспощадно" эксплуатировать эту микросхему, создавая на ее основе различные интересные устройства [1,2].
В [3] была опубликована статья об оригинальном стабилизаторе напряжения на К174УН4А. При подробном анализе схемы устройства стало ясно, что аналогичный стабилизатор можно построить и на более мощной микросхеме К174УН7. Однако попытка зеркального переноса найденного схемного решения с К174УН4А на К174УН7 не привела к ожидаемому результату - стабильность выходного напряжения оказалась невысокой, поэтому схема была переработана, и в итоге получилось то, что вы видите на рисунке 1.
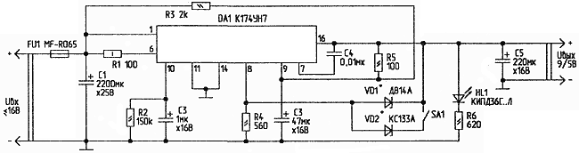
Рис. 1. Принципиальная схема стабилизатора напряжения (нажмите для увеличения)
Компенсационный стабилизатор напряжения на микросхеме К174УН7 работает в диапазоне входных напряжений 8...16 В (при Uвых= 5 В) и обеспечивает ток нагрузки до 0,5 А. При увеличении входного напряжения с 8 до 16 В выходное напряжение изменяется не более чем на 10 мВ (при токе нагрузке 0,3 А). Рассеиваемая установленной на теплоотвод микросхемой мощность может достигать 5 Вт.
Выходное напряжение устройства определяется рабочим напряжением подключенного стабилитрона (VD1, VD2) плюс 1...1,5 В. Конденсатор С4 предотвращает самовозбуждение микросхемы, резистор R3 обеспечивает самозапуск стабилизатора при подключенной низкоомной нагрузке.
Этот стабилизатор не имеет электронной системы защиты от перегрузки или короткого замыкания на выходе. Для защиты микросхемы от повреждений применен недорогой самовосстанавливающийся предохранитель FU1 фирмы "BOURNS" на 0,65 А типа MF-R065 [4]. При желании можно ввести и электронную защиту, как описано в [3].
В конструкции можно использовать резисторы МЛТ, С1-4, С2-23 и другие. Конденсатор С4 - К73-17, К10-17, КМ-5. Остальные конденсаторы - оксидные, К50-35, К50-16. Стабилитроны VD1, VD2 подбираются так, чтобы получить нужные выходные напряжения. На месте VD1 можно попробовать стабилитрон КС126К, КС126Л, КС175А, КС182А, КС482А. Для получения выходного напряжения 5 В, VD2 выбирается из КС126В, КС126Г, КС139А, КС407А, КС407Б. Если в дополнение к напряжениям 5 В и 9 В потребуется еще одно выходное напряжение, например, 12 В, то нужно подобрать экземпляр стабилитрона из типов Д814В, Д814Г, КС210Ж, КС211Ж и установить переключатель SA1 на большее число положений. Цепь самого высоковольтного стабилитрона размыкаться не должна, иначе в момент переключения SA1 на выходе может произойти всплеск напряжения, близкого по амплитуде ко входному напряжению.
Светодиод HL1, предназначенный для индикации нормальной работы, можно взять любого типа из АЛ102, АЛ307, КИПД35, КИПД40 и других.
Микросхема обязательно устанавливается на ребристый дюралюминиевый теплоотвод. Стандартного ребристого или штыревого теплоотвода, которым обычно оснащаются микросхемы К174УН7, К174УН9 в УМЗЧ телевизоров и магнитофонов, будет недостаточно для обеспечения нормальной рабочей температуры ИМС при максимальных входном напряжении и токе нагрузке. Можно использовать два таких радиатора, если каждый из них прикрепить к одному из теплоотводных фланцев ИМС. Для долговременной надежной работы стабилизатора следует стремиться к тому, чтобы температура корпуса микросхемы не превышала 50°С при самом жестком режиме работы.
Длина выводов предохранителя FU1 от места пайки до корпуса должна быть не менее 10 мм. Чтобы при подключении нагрузки не возникало самовозбуждение микросхемы, сигнальную и силовую цепи общего провода нужно выполнить раздельными и соединить между собой в одной точке. Цепи подключения конденсаторов С1, С5 к микросхеме должны быть как можно короче. Выходной ток стабилизатора можно увеличить до 1 А, при условии, что рассеиваемая микросхемой мощность не превысит 5 Вт.
Литература
- И.Александров. Инвертор полярности напряжения. - Радио, 1993, N11, С.38.
- И.Нечаев. Генератор 34 на микросхеме К174УН7. - Радио, 2002, N4, С.52.
- И.Нечаев. Микросхема К174УН4А - стабилизатор напряжения постоянного тока. - Радио, 1993, N9, С.40.
- Самовосстанавливающиеся предохранители MULTIFUSE фирмы BOURNS. - Радио, 2000, N11, С.49...51.
Автор: А. Бутов, с.Курба, Ярославской обл.; Публикация: cxem.net
Смотрите другие статьи раздела Стабилизаторы напряжения.
Читайте и пишите полезные комментарии к этой статье.
<< Назад
Последние новости науки и техники, новинки электроники:
Власть является ключевым фактором счастья в отношениях
11.03.2026
Исследования семейных и романтических отношений показывают, что длительное счастье пары зависит не только от привычных факторов, таких как доверие, уважение и преданность, но и от более тонких психологических аспектов. Современные ученые ищут закономерности, которые отличают действительно счастливые пары от остальных, чтобы понять, какие механизмы поддерживают гармонию в отношениях.
Группа исследователей из Университета Мартина Лютера в Галле-Виттенберге и Бамбергского университета провела опрос среди 181 пары, которые состояли в совместных отношениях более восьми лет и прожили вместе хотя бы месяц. Участники заполняли анкету, описывая различные аспекты своих отношений, включая распределение обязанностей, эмоциональную поддержку и степень вовлеченности в совместные решения.
Анализ данных показал интересный паттерн: пары, где оба партнера ощущали высокий уровень личной власти, оказывались наиболее счастливыми и удовлетворенными. В данном контексте под властью понимается способност ...>>
Защищенная колонка-повербанк Anker Soundcore Boom Go 3i
11.03.2026
Компания Anker представила новую модель линейки Soundcore - колонку Soundcore Boom Go 3i, ориентированную на активное использование на улице.
Новинка отличается высокой степенью защиты: корпус соответствует стандарту IP68, что обеспечивает водо- и пыленепроницаемость, а ударопрочный дизайн выдерживает падение с высоты до одного метра. За качество звука отвечает 15-ваттный драйвер, обеспечивающий пик громкости до 92 дБ, а технология BassUp 2.0 усиливает низкие частоты, делая звучание более насыщенным.
Колонка обладает автономностью до 24 часов, а LED-индикатор позволяет контролировать уровень заряда батареи. Кроме того, Soundcore Boom Go 3i может выполнять функцию павербанка: согласно внутренним тестам, устройство способно зарядить iPhone 17 с нуля до 40% за один час, что делает его полезным аксессуаром в походах и поездках.
Среди функциональных особенностей модели стоит выделить технологию Auracast, которая улучшает подключение и позволяет создавать стереопару из двух колонок ...>>
Раннее воздержание от алкоголя перестраивает мозг и иммунитет
10.03.2026
Алкогольная зависимость - хроническое расстройство с компульсивным употреблением спиртного, которое влияет не только на поведение, но и на функционирование мозга и иммунной системы. Недавние исследования показали, что даже на ранних этапах воздержания организм начинает перестраиваться, открывая новые возможности для терапии зависимости.
Ученые сосредоточились на пациентах, находящихся в первые недели абстиненции, и зафиксировали значительные изменения в мозговой активности. С помощью функциональной магнитно-резонансной томографии они выявили перестройку сетей нейронных связей, отвечающих за контроль импульсов и принятие решений. Эти изменения могут быть ключевыми для восстановления самоконтроля и снижения риска рецидива.
Одновременно с нейронной перестройкой исследователи наблюдали колебания иммунной системы. В крови повышался уровень цитокинов - сигнальных белков, регулирующих воспалительные процессы. Эти данные свидетельствуют о существовании нейроиммунного взаимодействия, при ...>>
Случайная новость из Архива 3D-печатный материал для восстановления хрящевой ткани
07.04.2019
В течение уже довольно продолжительного времени специалисты по биоинженерии и медицинским имплантам практикуют довольно традиционный концепт замены костной ткани и поддержки костных структур при помощи специальных имплантов, помогающих костям и их соединениям двигаться свободно и без боли. В особенности такой концепт стал популярным и интересным при лечении послеоперационных проблем такого рода. Однако сегодня команда специалистов из Университета Мэриленда в США представила свой новый вариант искусственного костного импланта, созданного при помощи 3D-принтера и обладающего возможностью самым что ни на есть образом восстанавливать хрящевые соединения.
Таким образом, новый концепт импланта рассчитан на применение в сфере лечения остеохондральных проблем и остеохондральной ткани - которая представляет собой специальный соединительный слой внешнего типа, располагающийся обычно между двумя и более твердыми костями и поддерживающий хрящевое соединение. Предыдущие костные импланты, несмотря на свою способность почти бесследно растворяться после определенного времени реабилитации, все-таки не могут похвастаться такой же степенью надежности и устойчивости к внешним деформационным факторам, какая наблюдается у представленного экспериментального костаного импланта.
Специалисты-разработчики отмечают, что в их случае стало возможным создать такой имплант, который, растворяясь и разлагаясь безопасным образом рядом с естественной костной тканью, при этом обладает возможностью восстанавливать соединительную ткань и хрящевые промежутки, тем самым достигая двух целей - значительно снижая болевые ощущения после операций на этой ткани и обеспечивая значительно более высокую степень надежности поддержки костей.
Становится понятно, что при таком новом технологическом подходе создания импланта можно рассчитывать на действительно отличный вариант послеоперационной поддержки, однако стоит признать, что пока что специалисты-разработчики такого экспериментального костного импланта с восстанавливающими свойствами продолжают отыскивать наиболее подходящий вариант массового их производства.
|
Другие интересные новости:
▪ Строится крупнейшая в мире цифровая камера
▪ INA260 - цифровой измеритель тока, напряжения и мощности со встроенным шунтом
▪ Для роботов сухожилия лучше сервоприводов
▪ Новый перспективный компонент для изготовления шампуня
▪ Электрический мусоровоз Volvo FE Electric
Лента новостей науки и техники, новинок электроники
Интересные материалы Бесплатной технической библиотеки:
▪ раздел сайта Узлы радиолюбительской техники. Подборка статей
▪ статья Если хочешь быть здоров, закаляйся. Крылатое выражение
▪ статья Какие морепродукты могут вызвать удушение во время их поедания? Подробный ответ
▪ статья Инженер по наладке и испытаниям. Должностная инструкция
▪ статья Допустимый длительный ток для кабелей с алюминиевыми жилами с резиновой или пластмассовой изоляцией. Энциклопедия радиоэлектроники и электротехники
▪ статья Протягивание нитки через лед. Секрет фокуса
Оставьте свой комментарий к этой статье:
Главная страница | Библиотека | Статьи | Карта сайта | Отзывы о сайте

www.diagram.com.ua
2000-2026