Бесплатная техническая библиотека
Простой лабораторный источник питания 1,3-30 вольт 1,2 ампера. Энциклопедия радиоэлектроники и электротехники

Энциклопедия радиоэлектроники и электротехники / Блоки питания
Комментарии к статье
Однажды автору этой статьи понадобился достаточно мощный и надежный источник питания с регулируемым в широких пределах выходным напряжением. Изучив доступную литературу, он пришел к выводу, что предлагаемые для повторения устройства имеют недостатки: у линейных стабилизаторов большие габариты (из-за необходимости применения оксидных конденсаторов большой емкости и теплоотводов), у ШИМ стабилизаторов довольно узок диапазон регулирования и в выходном напряжении присутствуют высокочастотные пульсации, а приборы с улучшенными потребительскими качествами (ограничением по току, индикацией режимов, коммутацией обмоток трансформатора и т. д.) относительно сложны. Пришлось искать иные решения, и в результате был разработан источник питания, свободный от названных недостатков.
В предлагаемом лабораторном источнике питания применено двухступенчатое преобразование выпрямленного напряжения: ШИМ преобразование в промежуточное напряжение и последующая линейная стабилизация. Основные технические характеристики устройства следующие: пределы регулирования выходного напряжения - от 1,3 до 30 В, коэффициент нестабильности на напряжению - 0,07 %/В, нестабильность по току нагрузки 0,1 %, максимальное входное (переменное) напряжение - 27 В, КПД преобразования при максимальном токе нагрузки - не менее 70 %. Предусмотрена возможность изменения порога ограничения тока до 1,2 А, имеется нетриггерная защита от короткого замыкания со световой индикацией. Источник отличается малыми габаритами, минимальными тепловыми потерями (при токе нагрузки до 0,3 А теплоотводы не требуются).
Структурная схема устройства показана на рис. 1. Входное напряжение Uвх трансформируется ШИМ-преобразователем DA1 в промежуточное Uпр, которое, в свою очередь, является входным для аналогового стабилизатора DA2. Обратная связь через дифференциальный усилитель DA3 поддерживает необходимое для DA2 падение напряжения (для LM317 - 2,5 В), благодаря чему тепловые потери на DA2 минимальны.
Рис. 1. Структурная схема источника питания
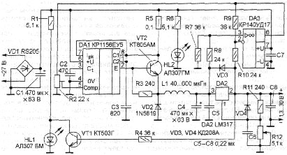
Принципиальная схема источника питания изображена на рис. 2. Выпрямленное напряжение с выхода моста VD1 сглаживается конденсатором С1 и подается на вход ШИМ преобразователя, собранного на элементах DA1, VT2, VD2, L1. Схема включения DA1 - типовая понижающая [1]. Применение микросхемы КР1156ЕУ5 свело к минимуму число пассивных элементов, но наложило ограничение на максимальное входное напряжение, которое в таком включении не должно превышать 40 В. ШИМ с помощью накопительного дросселя L1 и диода VD2 формирует промежуточное напряжение Uпр на конденсаторе С4.
Рис. 2. Принципиальная схема источника питания
На микросхемном стабилизаторе DA2 собран линейный регулятор напряжения. Регулируют его переменным резистором R12. Диоды VD3 и VD4 защищают микросхему от обратных токов и отрицательных напряжений и введены в соответствии с рекомендациями по ее применению [2].
ОУ DA3 и резисторы R7-R10 образуют дифференциальный усилитель, следящий за падением напряжения на стабилизаторе DA2. Коэффициент усиления DA3 выбран равным 1,5, что позволяет поддерживать установленное значение во всем интервале напряжений и токов, в том числе и при коротком замыкании выхода. Подстроечным резистором R2 регулируют падение напряжения при налаживании.
На элементах VT1, HL1, R1 выполнен сигнализатор короткозамкнутого состояния выхода. В нормальном режиме транзистор VT1 открыт, и падение напряжения на нем не превышает нескольких десятых долей вольта. При снижении напряжения на выходе источника до 0,7 В и менее транзистор VT1 закрывается и светодиод HL1 начинает светиться. О включенном состоянии источника питания сигнализирует светодиод HL2.
Весьма интересна роль резистора R5. При напряжении на нем более 120 мВ (среднее значение, определенное опытным путем) вступает в действие внутренний ограничитель ширины импульсов микросхемы DA1, превращая ее в источник тока. Этим свойством КР1156ЕУ5 можно воспользоваться для ограничения максимального тока нагрузки. Так, например, при сопротивлении этого резистора, равном 0,1 Ом, источник способен выдавать в нагрузку ток до 1,2 А, а при R5 = 1 Ом - только до 120 мА. Установив резистор сопротивлением 0,5 Ом и ограничив тем самым ток нагрузки значением 240 мА, можно отказаться от теплоотвода для микросхемы DA2 и от внешнего токового ключа ШИМ преобразователя (исключив транзистор VT2, резистор R3 и подключив вывод 2 DA1 к точке соединения дросселя L1 и диода VD2). В этом случае габариты изделия будут ненамного больше спичечного коробка.
В качестве ключа VT2 можно применить любой транзистор со статическим коэффициентом передачи тока базы более 30 и допустимым током коллектора не менее 3 А. Автор использовал КТ805АМ. У него неплохие частотные свойства, поэтому малы потери при переключении. Очень хорошо "ведет" себя на этом месте полевой транзистор IRF3205 - ему не нужен теплоотвод при токе до 1 А.
Индуктивность дросселя L1 может быть любой от 40 до 600 мкГн, единственное требование - он должен быть рассчитан на ток не менее 1,5 А. Резисторы - МЛТ, С1-4 с допускаемым отклонением сопротивления от номинала ±10 %, подстроечный резистор R2 - многооборотный проволочный СП5-2ВБ или подобный, переменный R12 - любого типа сопротивлением 4,7...6,8 кОм. Конденсаторы С1 и С4 - оксидные К50-35 емкостью 220...470 мкФ с номинальным напряжением 63 В, остальные - керамические (КД2, К10-7, К10-17 и т. п.).
Налаживание источника питания сводится к установке подстроечным резистором R2 напряжения 2,5 В между выводами 2 и 3 DA2 (при 50-процентной нагрузке).
Литература
- Бирюков С. Преобразователи напряжения на микросхеме КР1156ЕУ5. - Радио,2001, № 11,0.38,39,42.
- Интегральные микросхемы: микросхемы для линейных источников питания и ихприменение. - М.: Додека, 1996.
Автор: С. Муралев, г. Димитровград Ульяновской обл.; Публикация: cxem.net
Смотрите другие статьи раздела Блоки питания.
Читайте и пишите полезные комментарии к этой статье.
<< Назад
Последние новости науки и техники, новинки электроники:
Власть является ключевым фактором счастья в отношениях
11.03.2026
Исследования семейных и романтических отношений показывают, что длительное счастье пары зависит не только от привычных факторов, таких как доверие, уважение и преданность, но и от более тонких психологических аспектов. Современные ученые ищут закономерности, которые отличают действительно счастливые пары от остальных, чтобы понять, какие механизмы поддерживают гармонию в отношениях.
Группа исследователей из Университета Мартина Лютера в Галле-Виттенберге и Бамбергского университета провела опрос среди 181 пары, которые состояли в совместных отношениях более восьми лет и прожили вместе хотя бы месяц. Участники заполняли анкету, описывая различные аспекты своих отношений, включая распределение обязанностей, эмоциональную поддержку и степень вовлеченности в совместные решения.
Анализ данных показал интересный паттерн: пары, где оба партнера ощущали высокий уровень личной власти, оказывались наиболее счастливыми и удовлетворенными. В данном контексте под властью понимается способност ...>>
Защищенная колонка-повербанк Anker Soundcore Boom Go 3i
11.03.2026
Компания Anker представила новую модель линейки Soundcore - колонку Soundcore Boom Go 3i, ориентированную на активное использование на улице.
Новинка отличается высокой степенью защиты: корпус соответствует стандарту IP68, что обеспечивает водо- и пыленепроницаемость, а ударопрочный дизайн выдерживает падение с высоты до одного метра. За качество звука отвечает 15-ваттный драйвер, обеспечивающий пик громкости до 92 дБ, а технология BassUp 2.0 усиливает низкие частоты, делая звучание более насыщенным.
Колонка обладает автономностью до 24 часов, а LED-индикатор позволяет контролировать уровень заряда батареи. Кроме того, Soundcore Boom Go 3i может выполнять функцию павербанка: согласно внутренним тестам, устройство способно зарядить iPhone 17 с нуля до 40% за один час, что делает его полезным аксессуаром в походах и поездках.
Среди функциональных особенностей модели стоит выделить технологию Auracast, которая улучшает подключение и позволяет создавать стереопару из двух колонок ...>>
Раннее воздержание от алкоголя перестраивает мозг и иммунитет
10.03.2026
Алкогольная зависимость - хроническое расстройство с компульсивным употреблением спиртного, которое влияет не только на поведение, но и на функционирование мозга и иммунной системы. Недавние исследования показали, что даже на ранних этапах воздержания организм начинает перестраиваться, открывая новые возможности для терапии зависимости.
Ученые сосредоточились на пациентах, находящихся в первые недели абстиненции, и зафиксировали значительные изменения в мозговой активности. С помощью функциональной магнитно-резонансной томографии они выявили перестройку сетей нейронных связей, отвечающих за контроль импульсов и принятие решений. Эти изменения могут быть ключевыми для восстановления самоконтроля и снижения риска рецидива.
Одновременно с нейронной перестройкой исследователи наблюдали колебания иммунной системы. В крови повышался уровень цитокинов - сигнальных белков, регулирующих воспалительные процессы. Эти данные свидетельствуют о существовании нейроиммунного взаимодействия, при ...>>
Случайная новость из Архива Полузащищенный ноутбук Panasonic Toughbook CF-54
20.02.2015
Компания Panasonic представила новый полузащищенный ноутбук Toughbook CF-54. Модель разработана специально для автомобильной отрасли, в том числе для служб диагностики, ремонта и сервисного обслуживания автотранспорта.
CF-54 - самый тонкий и легкий полузащищенный ноутбук серии Toughbook. Среди его ключевых особенностей - модульная система и множество дополнительных возможностей, благодаря которым пользователи могут сконфигурировать устройство, которое полностью отвечает их рабочим задачам, отметили в компании. Процессор пятого поколения i5-5300U vPro (3МБ кэш-памяти, тактовая частота от 2,3 ГГц до 2,9 ГГц с технологией Turbo Boost) обеспечивает оптимизированные производительность и графику, а также пониженное энергопотребление. При необходимости клиент может заказать модель с еще более производительным процессором Core i7 vPro. На CF-54 установлена ОС Windows 8.1 Pro Update, но, благодаря праву использования предыдущих версий ПО, заказчик может получить устройство с Windows 7 Professional.
14-дюймовый дисплей обеспечивает высокую четкость и детализированность изображения. К заказу доступны конфигурации с HD (1366/768), Full HD (1920/1080) или емкостным мультитачем Full HD. Опционально ноутбук может быть оснащен дискретной графической картой AMD FirePro M5100 для передачи изображения еще более высокого качества.
"Тонкий корпус и широкие возможности кастомизации в сочетании с долговечностью делают CF-54 новым стандартом мобильной техники. Он будет особенно востребован работниками автопрома, полевых служб, коммунальных предприятий, телекоммуникаций", - считает Ян Кэмпфер, директор по маркетингу компании Panasonic Computer Product Solutions.
По информации компании, Toughbook CF-54 характеризуется высокими показателями прочности и выдерживает падение с высоты до 76 см. Корпус из магниевого сплава, влагоустойчивые экран и клавиатура, а также крышка с жестким каркасом обеспечивают лэптопу должную защиту от внешнего воздействия. Для удобства транспортировки в корпус встроена специальная ручка, на которой может быть выгравирован логотип компании.
Еще одним важным аспектом является длительность работы ноутбука без подзарядки. Одна батарея, установленная в CF-54, работает до 11 часов. Опция горячей замены позволяет сменить аккумулятор, не выключая лэптоп, а добавление дополнительной аккумуляторной батареи увеличивает время работы до 18 часов.
Наличие в ноутбуке различных типов соединения имеет особое значение для мобильного персонала, указали в Panasonic. Так, Toughbook CF-54 располагает широким набором интерфейсов, включая стандартные порты LAN, VGA и HDMI для видеопроекторов, принтеров и экранов, True Serial port для соединения с устаревшими системами, порты USB 3.0 и 2.0 и слот для карт SD. Беспроводной адаптер LAN, совместимый со стандартами "a", "b", "g", "n", "ac" и поддерживающий скорость обмена данных до 866 Мбит/c, и Bluetooth v4.0 обеспечивают быструю передачу файлов. В комплекте с портативным компьютером поставляется адаптер для зарядки от бортовой сети автомобиля или крепление на приборную панель. Опционально доступны модуль 4G LTE, антенна Dual Pass, бесконтактный считыватель смарт-карт и считыватель отпечатков пальцев (возможна установка только бесконтактного считывателя смарт-карт или только считывателя отпечатков пальцев, пояснили в компании).
Благодаря модульной конструкции CF-54 обладает широким набором конфигураций по сравнению с другими полузащищенными устройствами Panasonic. По желанию клиента ноутбук может оснащаться DVD-приводом, дополнительным аккумулятором, слотом для карт PC, портом USB или считывателем смарт-карт. Дополнительный конфигурационный порт может быть использован для второго адаптера LAN, защищенного порта USB, GPS-приемника или четвертого порта USB 2.0.
Модель с HD-дисплеем поставляется с жестким диском на 500 ГБ, модель с Full HD (с и без тачскрина) имеет SSD-накопитель на 128 ГБ. Опциональная веб-камера (2 Мпикс) обеспечивает видеосвязь в любых условиях. Для работы в темноте предусмотрена клавиатура с подсветкой.
|
Другие интересные новости:
▪ Умная фотовспышка Canon Speedlite 470EX-A
▪ TPL5110 - нанопотребляющий таймер управления питанием
▪ Электромобиль Mercedes-Benz VISION EQXX
▪ Комару дождь не страшен
▪ SAMSUNG представила линейку гигантских телевизоров
Лента новостей науки и техники, новинок электроники
Интересные материалы Бесплатной технической библиотеки:
▪ раздел сайта Шпионские штучки. Подборка статей
▪ статья Цветовая температура. Искусство видео
▪ статья Кто больше потребляет горючего - автомобиль или реактивный самолет? Подробный ответ
▪ статья Начальник отдела интернет-маркетинга. Должностная инструкция
▪ статья Автомобильный вольтметр с точностью 0,1 вольт. Энциклопедия радиоэлектроники и электротехники
▪ статья Устройство волшебной палочки. Секрет фокуса
Оставьте свой комментарий к этой статье:
Главная страница | Библиотека | Статьи | Карта сайта | Отзывы о сайте

www.diagram.com.ua
2000-2026