Menu Home

Бесплатная техническая библиотека для любителей и профессионалов Бесплатная техническая библиотека


Модернизация трансивера UW3DI. Энциклопедия радиоэлектроники и электротехники

Бесплатная техническая библиотека

Энциклопедия радиоэлектроники и электротехники / Гражданская радиосвязь

Комментарии к статье Комментарии к статье

Многие коротковолновики успешно работают на трансивере в телефонных участках любительских диапазонов. Но "заядлых" телеграфистов, в особенности участвующих в соревнованиях, не могут удовлетворить возможности этой конструкции в телеграфном режиме. Для них необходим аппарат, обеспечивающий полудуплексную работу и удобный контроль своей передачи.

Некоторая доработка конструкции трансивера обеспечила выполнение этих требований. Кроме того, примененная бесконтактная коммутация при переходе с приема на передачу и обратно позволила избавиться от неприятных, утомляющих оператора щелчков коммутационных реле, а введенная система АРУ - от перегрузок приемника. К тому же наличие АРУ позволяет объективно оценить громкость сигнала принимаемой радиостанции по S-метру.

В основу бесконтактной коммутации положена система управления (СУ), схема которой приведена на рис. 1. Совместно с диодными ключами СУ обеспечивает быстрое и надежное переключение с приема на передачу и обратно всех необходимых цепей, включая коммутацию антенны и расстройку приемника относительно частоты передатчика. СУ имеет "Вход", к которому может быть подключен телеграфный ключ любого типа, в том числе и с электронным реле на выходе, дающем при нажатии уровень от 0 до -0,5 в и при отжатии - от -2 до -70 в, педаль для управления в телефонном режиме и система голосового управления, обеспечивающая такие же уровни, как и электронное реле телеграфного ключа.

Модернизация трансивера UW3DI
Рис. 1

Выход 1 используется для подачи нулевого потенциала на соответствующие диодные ключи в момент приема и уровня - 50-60 в - в момент передачи. С выхода 2 такие же потенциалы подаются на управляющие сетки ламп коммутируемых каскадов приемного тракта. Этот выход имеет фильтр R6, С1 и Д5, устраняющий щелчки в телефонах в момент перехода с передачи на прием. Выход 3 используется для подачи уровня - 50-60 в в момент приема и нулевого потенциала - в момент передачи на соответствующие диодные ключи и управляющие сетки ламп коммутируемых каскадов тракта передачи, СУ смонтирована на гетинаксовой планке размерами 125Х30 мм и укреплена на свободной стенке шасси. При правильном выполнении монтажа СУ никаких регулировок не требует.

Схема генератора плавного диапазона несколько видоизменена (рис. 2) - расстройка приемника осуществляется электронным способом. В качестве варикапа применены стабилитроны Д10 Д11. При этом расстройка получается в пределах + 7 кГц. Дополнительные детали генератора размещены на монтажной планке размерами 60Х30 мм, которая расположена на стенке шасси в том месте, где ранее стояло реле Р2 Вместо конденсатора С25 установлен переменный резистор R12 типа ППЗ.

Модернизация трансивера UW3DI
Рис. 2

Регулировка этого узла сводится к подбору сопротивления резистора R16 так, чтобы постоянное напряжение на нем несколько превышало амплитуду переменного напряжения на катоде лампы Л3.

На рис. 3 показана схема манипулируемого генератора на частоту 500 кГц, используемого для получения телеграфного сигнала, и изменения, внесенные в первый смеситель передатчика и второй смеситель приемника. Применение такого генератора позволяет легко получить необходимый в телеграфном режиме сдвиг частот при приеме и передаче, а также осуществлять самоконтроль за счет прохождения сигнала через емкость контактов реле P1/1 (само реле на схеме не показано). Генератор собран на лампе Л1 по транзитронной схеме. На лампе Л2 выполнен буферный каскад.

Модернизация трансивера UW3DI
Рис. 3

Регулировка уровня сигнала как в режиме CW, так и в режиме SSB осуществляется одновременным изменением с помощью резистора R26 отрицательного напряжения на третьих сетках ламп буферного каскада и усилителя DSB.

Телеграфный манипулируемый генератор и буферный каскад собраны на отдельной плате и установлены на свободном месте шасси трансивера. Реле Р1 и Р2- типа РЭС-15, такие же, как и реле, использованные в других узлах трансивера. Катушка L1 намотана на сердечнике СБ-12а и содержит 80 витков провода ПЭЛ 0,1.

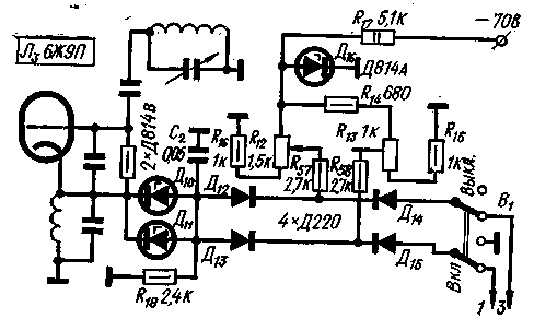
Изменению подвергся и усилитель ПЧ (см. рис. 4). Он выполнен на лампах 6Ж2П. Регулирующее напряжение от выпрямителя АРУ на диодах Д16- Д19 либо от ручного регулятора усиления РРУ на резисторе R27 (показан на схеме рис. 3) подается на третьи сетки ламп. Измерительный прибор ИП1 работает как S-метр в режиме АРУ и как миллиамперметр, контролирующий анодный ток выходного каскада, - в режиме РРУ. При работе телеграфом усилитель ПЧ включен и при передаче, а при работе на SSB во время передачи он закрыт.

Модернизация трансивера UW3DI
Рис. 4

Обмотка II трансформатора Тр2 содержит вдвое, а обмотка III - втрое меньше витков, чем обмотка 1.

На рис. 5-8 соответственно показаны изменения, внесенные во входную цепь приемника, в сеточную цепь выходного каскада, в усилитель DSB и второй смеситель передатчика. Изменения, внесенные в цепи катодов и сеток остальных манипулируемых каскадов, не показаны. Резисторы, включенные в цепи катодов, следует подключить к общему проводу, а резисторы утечки сеток (в тех каскадах, где их не было, их следует установить дополнительно, вместе с разделительными конденсаторами) - соответственно к выходу 2 СУ для приемного тракта и выходу 3 - для передающего.

Модернизация трансивера UW3DI
Рис. 5

Модернизация трансивера UW3DI
Рис. 6

Модернизация трансивера UW3DI
Рис. 7

Автор: В. Козлов (UW3BN) Москва

При работе в диапазоне 28- 29,7 МГц, особенно с начинающими любителями, иногда возникают затруднения, связанные с отсутствием у корреспондента приёмника для приема SSB сигнала. Поэтому было решено ввести в трансивер UW3DI изменения, позволяющие получить амплитудно модулированный сигнал. Эти изменения свелись к следующему.

Для того, чтобы принимать AM сигнал, нормально-разомкнутые контакты реле Р3 в режиме приема разрывают цепь катода правой (по схеме) половины лампы Л6. При атом левая половина лампы выполняет роль амплитудного детектора.

С помощью двух реле типа РЭС-15 ЭМФ шунтируется конденсатором емкостью 5 пф.

В разрыв цепи питания оконечного каскада (+700 в) включена обмотка выходного трансформатора модулятора, в качестве которого был применен усилитель УМ-50.

Для работы в режиме амплитудной модуляции используется положение переключателя П2 "Прием CW" (по схеме - второе справа).

Авторы: И. Романов (RA0SAI), В. За-Мулло (RA0SAM) г. Братск

Довольно часто встречающийся при повторении трансивера UW3DI случай - недостаточная амплитуда возбуждения в режиме передачи на диапазоне 10 м, вследствие чего выходная мощность трансивера оказывается незначительной. Одной из причин этого явления, на мой взгляд, является то, что в трансивере к полосовому фильтру (на диапазоне 10 м - L3C130L13) подключены одновременно два каскада на триоде (левая половина лампы Л2) и пентоде (лампа Л10). По-видимому, большая разница их внутренних сопротивлений отрицательно сказывается на работе трансивера.

После того, как пентод 6Ж9П (Л10) был заменен па триод 6C3П (см. рис. 9), выходная мощность трансивера на 10 ь резко возросла. В Ч напряжение на катоде лампы 6C3П должно составлять 2 в, на сетке - 0,8-1 в. Вместо 6C3П можно также использовать одну половину лампы 6Н23П.

Модернизация трансивера UW3DI
Рис. 9

В этом же каскаде осуществляется телеграфная манипуляция (резистор R71 соединен с общим проводом).

Автор: В. Солошенко (UB5YD) г. Черкассы

Как известно, разборчивость речи практически не ухудшается, если спектр речи ограничить снизу частотой 300 Гц. Это ограничение позволяет избавиться от фона переменного тока, который практически всегда имеет место в сетевой аппаратуре. Например, линейный детектор с катодной связью, примененный в трансивере UW3DI, имеет повышенный уровень фона, причиной возникновения которого является наводка напряжения НЧ с подогревателя на незаземленный катод лампы.

Ограничение снизу полосы пропускания низкочастотного тракта осуществляют обычно с помощью LC-фильтров или пассивных RC-фильтров верхних частот.

Модернизация трансивера UW3DI
Рис. 10

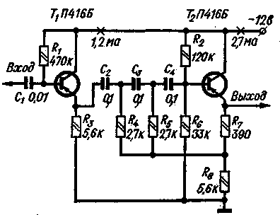
Однако пассивные RC-фильтры малоэффективны, а индуктивность катушек LC-фильтров достигает величины нескольких генри, что создает определенные трудности при конструировании аппаратуры. Хорошие результаты получаются при применении для этих целей активных RC-фильтров верхних частот. Принципиальная схема такого фильтра с частотой среза около 270 Гц приведена на рис. 10. Частота среза фильтра определяется в основном емкостью конденсаторов С2- С4 и сопротивлением резисторов R4 - R6. Так, если взять R4=R5=5,6 ком и R6=120 ком, то при неизменной емкости конденсаторов фильтра частота среза понизится до 150 Гц. Сопротивление резистора R7, влияет на неравномерность амплитудно-частотной характеристики (АЧХ) в полосе пропускалия и на коэффициент передачи фильтра.

На рис. 11 приведена нормированная АЧХ фильтра (кривая 1), причем за 0 дб принят коэффициент передачи, соответствующий максимуму АЧХ. Абсолютное значение коэффициента передачи лежит обычно в пределах 0,5-2,0. Крутизна ската АЧХ за пределами полосы пропускания, как видно из рис. 11, достигает 15 дб на октаву, а подавление сигнала с частотой 50 Гц превышает 40 дб при неравномерности в полосе пропускания менее 3 дб.

Модернизация трансивера UW3DI
Рис.11

Кривая 2 на этом же рисунке иллюстрирует влияние на АЧХ сопротивления резистора Л; и соответствует случаю, когда R7=0.

Входное сопротивление фильтра невелико, поэтому для использования его с ламповыми устройствами необходимо применять эмиттерный повторитель. Такой повторитель, обеспечивающий входное сопротивление около 250 ком, собран на транзисторе T1.

Как в фильтре, так и в эмиттерном повторителе можно использовать любые маломощные транзисторы с Вcт не менее 70-80.

Автор: Б. Степанов (UW3AX), г.Москва; Публикация: Н. Большаков, rf.atnn.ru

Смотрите другие статьи раздела Гражданская радиосвязь.

Читайте и пишите полезные комментарии к этой статье.

<< Назад

Последние новости науки и техники, новинки электроники:

Лабораторная модель прогнозирования землетрясений 30.11.2025

Предсказание землетрясений остается одной из самых сложных задач геофизики. Несмотря на развитие сейсмологии, ученые все еще не могут точно определить момент начала разрушительного движения разломов. Недавние эксперименты американских исследователей открывают новые горизонты: впервые удалось наблюдать микроскопические изменения в контактной зоне разломов, которые предшествуют землетрясению. Группа под руководством Сильвена Барбота обнаружила, что "реальная площадь контакта" - участки, где поверхности разлома действительно соприкасаются - изменяется за миллисекунды до высвобождения накопленной энергии. "Мы открыли окно в сердце механики землетрясений", - отмечает Барбот. Эти изменения позволяют фиксировать этапы зарождения сейсмического события еще до появления традиционных сейсмических волн. Для наблюдений ученые использовали прозрачные акриловые материалы, через которые можно было отслеживать световые изменения в зоне контакта. В ходе искусственного моделирования примерно 30% ко ...>>

Музыка как естественный анальгетик 30.11.2025

Ученые все активнее исследуют немедикаментозные способы облегчения боли. Одним из перспективных направлений становится использование музыки, которая способна воздействовать на эмоциональное состояние и когнитивное восприятие боли. Новое исследование международной группы специалистов демонстрирует, что даже кратковременное прослушивание любимых композиций может значительно снижать болевые ощущения у пациентов с острой болью в спине. В эксперименте участвовали пациенты, обратившиеся за помощью в отделение неотложной помощи с выраженной болью в спине. Им предлагалось на протяжении десяти минут слушать свои любимые музыкальные треки. Уже после этой короткой сессии врачи фиксировали заметное уменьшение интенсивности боли как в состоянии покоя, так и при движениях. Авторы исследования подчеркивают, что музыка не устраняет саму причину боли. Тем не менее, она воздействует на эмоциональный фон пациента, снижает уровень тревожности и отвлекает внимание, что в сумме приводит к субъективном ...>>

Алкоголь может привести к слобоумию 29.11.2025

Проблема влияния алкоголя на стареющий мозг давно вызывает интерес как у врачей, так и у исследователей когнитивного старения. В последние годы стало очевидно, что границы "безопасного" употребления спиртного размываются, и новое крупное исследование, проведенное международной группой ученых, вновь указывает на это. Работы Оксфордского университета, выполненные совместно с исследователями из Йельского и Кембриджского университетов, показывают: даже небольшие дозы алкоголя способны ускорять когнитивный спад. Команда проанализировала данные более чем 500 тысяч участников из британского биобанка и американской Программы миллионов ветеранов. Дополнительно был выполнен метаанализ сорока пяти исследований, в общей сложности включавших сведения о 2,4 миллиона человек. Такой масштаб позволил оценить не только прямую связь между употреблением спиртного и развитием деменции, но и влияние генетической предрасположенности. Один из наиболее тревожных результатов касается людей с повышенным ге ...>>

Случайная новость из Архива

Эмоции искажают воспоминания 18.04.2025

Мозг человека сталкивается с важной задачей: отличать одно событие от другого, особенно если эти события кажутся похожими. Исследования, проведенные психологами из Калифорнийского университета в Лос-Анджелесе, показали, как эмоции могут изменять восприятие воспоминаний, особенно когда эти эмоции сильные и болезненные. Новый эксперимент выявил необычный эффект слияния воспоминаний, который особенно ярко проявляется у людей с повышенной тревожностью.

Обычно в случае повторяющихся событий мозг использует механизм, называемый "отталкиванием памяти", который помогает выделять различия между схожими переживаниями, предотвращая путаницу. К примеру, если человек ежедневно паркуется в одном и том же месте, мозг должен точно запомнить, что каждый раз это именно "сегодняшняя парковка", а не путает ли он ее с прошлой. Это отталкивание помогает человеку избежать ошибок и путаницы.

Однако, как выяснили ученые, в определенных ситуациях память не отталкивает схожие события, а наоборот, соединяет их, что приводит к эффекту "притяжения памяти". Это означает, что воспоминания о похожих событиях могут сливаться, становясь более похожими друг на друга. Особенно это заметно, когда одно из событий сопровождается сильным эмоциональным переживанием, например, неприятным раздражителем, таким как громкий звук. Этот эффект сильнее всего проявляется у людей с высоким уровнем тревожности, которые более остро реагируют на эмоциональные стимулы.

Профессор Дэвид Клюэтт, ведущий автор исследования, пояснил, что такой механизм памяти, как притяжение воспоминаний, может быть полезен в определенных ситуациях. Например, это позволяет мозгу объединять события, которые могли бы представлять угрозу, и тем самым помогает избегать опасных ситуаций. Однако в случаях, когда негативных воспоминаний становится слишком много, они могут начать мешать различению безопасных и угрожающих ситуаций, что, в свою очередь, может способствовать развитию тревожных расстройств.

Исследования показали, что повышенная тревожность усиливает этот процесс слияния воспоминаний, что объясняет, почему люди, склонные к беспокойству, могут более часто переживать события из прошлого, воспринимая их как одну сплошную угрозу. Эта особенность памяти может играть важную роль в формировании психических заболеваний, таких как тревожные расстройства.

Таким образом, ученые намерены продолжить свои исследования, чтобы глубже понять, как эмоции, особенно негативные, влияют на процесс формирования и сохранения воспоминаний. Понимание этого механизма может помочь в разработке методов лечения и профилактики различных психических расстройств, вызванных неправильным восприятием или искажением прошлого опыта.

Другие интересные новости:

▪ Блоки питания Sharkoon WPM Bronze

▪ КМОП-сенсоры изображения

▪ Компактный универсальный адаптер для ноутбуков

▪ Обнаружен двойник Солнечной системы

▪ Wi-Fi MP3 плеер

Лента новостей науки и техники, новинок электроники

 

Интересные материалы Бесплатной технической библиотеки:

▪ раздел сайта Зрительные иллюзии. Подборка статей

▪ статья Да только воз и ныне там. Крылатое выражение

▪ статья Какую информацию могут извлекать пчелы из электрического поля цветов? Подробный ответ

▪ статья Слесарь по ремонту деревообрабатывающего оборудования. Типовая инструкция по охране труда

▪ статья Мощный передатчик без дополнительного усилителя мощности. Энциклопедия радиоэлектроники и электротехники

▪ статья Второй звонок для телефона. Энциклопедия радиоэлектроники и электротехники

Оставьте свой комментарий к этой статье:

Имя:


E-mail (не обязательно):


Комментарий:





Главная страница | Библиотека | Статьи | Карта сайта | Отзывы о сайте

www.diagram.com.ua

www.diagram.com.ua
2000-2025