Menu Home

Бесплатная техническая библиотека для любителей и профессионалов Бесплатная техническая библиотека


Конвертер на 1260 МГц. Энциклопедия радиоэлектроники и электротехники

Бесплатная техническая библиотека

Энциклопедия радиоэлектроники и электротехники / Радиоприем

Комментарии к статье Комментарии к статье

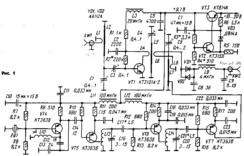
Появление малошумящих СВЧ транзисторов и диодов позволило существенно упростить конструкцию конвертера, предназначенного для переноса сигналов любительских радиостанций с частот диапазона 1260 МГц в диапазон 28 МГц. Конвертер состоит (рис. 1) из усилителя ВЧ, смесителя, СВЧ-гетеродина с кварцевой стабилизацией частоты и стабилизатора питающего напряжения.

Усилитель ВЧ - резонансный, выполнен на транзисторе VT1. Входная цепь состоит из петли связи L1, индуктивно связанной с четвертьволновой полосковой линией L2, образующей с конденсатором С1 колебательный контур. На базу транзистора VT1 сигнал поступает через подстроечный конструктивный конденсатор C3. Это позволяет легко изменять глубину связи при настройке усилителя и оптимизировать его шумовую характеристику.

Конвертер на 1260 МГц
Рис.1 (нажмите для увеличения)

Для термостабилизации режима работы усилителя введена обратная связь по постоянному току через резистор R2. Его выбирают таким образом, чтобы напряжение на конденсаторе С2 было около 5 В.

Транзистор VT1 нагружен контуром, образованным четвертьволновой полосковой линией L5 и конденсатором С4. Смеситель выполнен на двух встречно-параллельно включенных диодах VD1, VD2 [Л]. Он индуктивно связан и с гетеродином, и с усилителем ВЧ. Нагрузкой смесителя служит фильтр ПЧ C8L9C9. Его добротность невелика, около четырех (при сопротивлении нагрузки 75 Ом). На смесители такого типа подают напряжение "половинной" частоты гетеродина, что позволило упростить последний.

Гетеродин состоит из задающего генератора на транзисторе VT4, утроителя (VT5) и удвоителя (VT7) частоты, усилителя (VT6). Задающий генератор выполнен по типовой схеме на транзисторе с заземленной по переменному току через кварцевый резонатор базой. Кварц возбуждают на 7-й механической гармонике. С выхода генератора напряжение частотой 105,666 МГц через конденсатор С14 подается на утроитель частоты. Транзистор в этом каскаде работает в режиме класса С. Его нагрузкой является частично включенный параллельный контур L13C16, настроенный на частоту 317 МГц. Чтобы получить запас по мощности, в гетеродин введен усилитель на транзисторе VT6. К выходу этого усилителя подключен удвоитель частоты на транзисторе VT7. Выделенные контуром L7C6 колебания частотой 634 МГц через петлю связи 1.8 подаются в смеситель. Преобразованный сигнал через П-фильтр поступает на выход конвертера.

На транзисторах VT2, VT3 собран стабилизатор напряжения питания. К его достоинствам следует отнести возможность работы при малых перепадах напряжения между входом и выходом (0,2...0,3 В) и наличие автоматической защиты от замыканий в нагрузке.

Конвертер на 1260 МГц

Конвертер смонтирован (см. рис. 2) в алюминиевом корпусе размерами 115Х60Х X 23 мм. Детали размещены на трех платах из фольгированного стеклотекстолита толщиной 1,5 мм.На одной плате (рис. 3) размещены элементы гетеродина (исключая кварцевый резонатор). На рис. 3,а дорожки на плате показаны со стороны деталей. На второй плате (она прикреплена к крышке конвертера, на рис. 2 ее нет) находятся детали стабилизатора. На третьей плате (она расположена фольгой вверх) распаяны элементы усилителя ВЧ и смесителя (рис. 4; в местах соединения деталей над платой точки не поставлены). К ней припаяны перегородки (высотой около 20 мм) из медной или латунной фольги толщиной 0,1...0,2 мм, и на ней же закреплена плата гетеродина. В перегородки в нужных местах впаяны проходные стеклянные изоляторы от пришедших в негодность стабилитронов серии Д814 или конденсаторов К53-1, К53-4. На таких же изоляторах крепят смесительные диоды и петли связи. Питание подают через проходной конденсатор.

В конвертере использованы резисторы МЛТ-0,125, постоянные конденсаторы КМ-4, К53-1, подстроечные (кроме С1, C3, С4) - любые, например, КТ4-21, С1, C3, С4- конструктивные. Жесткая конструкция полосковой линии показана на рис. 5. Ее изготавливают из медной трубки 2 или проволоки диаметром 3 мм. Заготовку сплющивают на определенной длине и сгибают в виде буквы U, как показано на рисунке. Конец линии, не соединенный с общим проводом (фольгой платы 1), поддерживается вставленным в распор между концами резистором 6 (МЛТ-0,125 сопротивлением не менее 510 кОм). "Основание" линии по всей длине припаяно к плате.

Конвертер на 1260 МГц
Рис.5

Длина горизонтальной части у линий L2, L5 - 32 мм, L7-70 мм. К концам трубок, не соединенным с общим проводом, припаяна изогнутая полоска 5 размерами 5Х10 мм из медной фольги толщиной 0,1...0,15 мм, которая с ответной полоской, прикрепленной через стеклянный изолятор 4 (для C3) или припаянной (для остальных конструктивных конденсаторов) к перегородке 3, образуют подстроечные конденсаторы.

Петли связи L1, L4, L6, L8 изготовлены из медного провода ПЭВ-2 0,8. Зазор между петлей и линией - около 2 мм. Длина "активной" части петель LI-16, L4-10, L6-12 и L8-28 мм.

Катушка L10 содержит 6 витков провода ПЭВ-2 0,31, намотанного виток к витку на каркасе с внешним диаметром 4 мм, имеющим внутреннюю резьбу МЗ. Подстроечник изготовлен из латуни. Катушки L13 и 114-бескаркасные (намотаны на оправке диаметром 4 мм), имеют по 3 витка голого провода диаметром 0,8 мм. Длина намотки - 8 мм. Отвод сделан от 1-го витка, считая от конца, который соединяют с общим проводом. В качестве дросселя L9 можно применить любой высокочастотный индуктивностью 4 мкГн. Дроссели 13, L12 и Ш-ДМ-0,1.

Блокировочный конденсатор С2 устанавливают на плату без выводов (их удаляют заранее, а место пайки выводов к пластине конденсатора зачищают от краски). К нему припаивают петлю связи L4 и резисторы R), R2. Между линиями L2 и L5 обязательно должна быть перегородка. Резистор R13 и конденсатор С22 установлены на печатной плате со стороны фольги (на рис. 3 они не показаны).

Транзистор КТ3101А-2 заменим на КТ3115А-2, КТ391А-2. Вместо транзистора КТ363Б (VT7) желательно использовать транзистор с граничной частотой не менее 1,5.-.2 ГГц, например, КТ3123. Диоды VD1, VD2 - любые смесительные СВЧ диоды.

После сборки конвертера и проверки монтажа подают питание и проверяют значение стабилизированного напряжения. При необходимости подбирают один из резисторов R3 или R4 таким образом, чтобы стабилизированное напряжение было в пределах 9,5...9,7 В. Потребляемый ток не должен превышать 40 мА.

Затем настройкой контура L10C12C13 добиваются генерации кварцевого генератора. Это можно определить по падению напряжения на резисторе R11 утроителя частоты (оно должно быть в пределах 0,8... 1 В). Подключив (через конденсатор емкостью 1 ...2 пФ) к эмиттеру транзистора VT4 частотомер, следует проконтроливать частоту генерации. В случае необходимости корректируют по общепринятой методике частоту кварцевого резонатора.

После этого последовательной настройкой контуров L13C16 и L14C20 добиваются максимального (0,8...1 В) падения напряжения на резисторах R14 и R17, что соответствует настройке в резонанс контуров предыдущих каскадов. Точная настройка контура L7C6 определяется по некоторому уменьшению напряжения на резисторе R17. После этого, подбирая резистор R2, добиваются, чтобы напряжение на конденсаторе С2 было равно 5 В.

Подключив микроамперметр к гнезду "Выход ПЧ" и отпаяв один из диодов смесителя, регулировкой связи смесителя с гетеродином (приближая или удаляя петлю L8) добиваются, чтобы ток в цепи был в пределах 50... 100 мкА. После этого диод припаивают на место.

Присоединив конвертер к приемнику, имеющему диапазон 28 МГц, вставляют в его входное гнездо короткий отрезок провода. Затем устанавливают рядом и включают передатчик диапазона 144 или 430 МГц, и пытаются принять 9-ю гармонику первого или 3-ю второго. Желательно при этом точно знать эти частоты, чтобы вычислить частоту преобразованного сигнала и настроить на нее приемник. Подстраивая контуры в усилителе ВЧ и изменяя связи в нем, добиваются наилучшей слышимости сигнала. Окончательную настройку желательно провести по общепринятой методике с использованием генератора шума - промышленного или самодельного.

Налаженный конвертер должен иметь коэффициент усиления 6...8 дБ, а коэффициент шума - 4...5 кТ. Нужно отметить, что из-за небольшого усиления конвертера основной приемник может вносить значительный вклад в уровень шума системы, поэтому желательно, чтобы его коэффициент шума не превышал 4...6 кТ.

Если радиолюбитель собирается подключать конвертер к приемнику с диапазоном 144 МГц, то следует изменить частоту гетеродина, сделав ее равной 576 МГц. При этом перед удвоителем частоты в гетеродине должна быть частота 288 МГц, которую можно "ответвить" и использовать в конвертере на диапазон 430 МГц, что позволит минимизировать массу и объем комплекса УКВ аппаратуры, а также затраты на ее изготовление.

Литература

  1. Поляков В. Смеситель приемника прямого преобразования.- Радио, 1976, № 12, с. 18-19.

Авторы:А. Ермак (RB5LFS), Г. Чуин (UB5LER), г. Харьков Публикация: Н. Большаков, rf.atnn.ru

Смотрите другие статьи раздела Радиоприем.

Читайте и пишите полезные комментарии к этой статье.

<< Назад

Последние новости науки и техники, новинки электроники:

Климат влияет на длительность беременности 07.11.2025

Беременность традиционно воспринимается как естественный биологический процесс с предсказуемыми сроками, однако современные исследования все чаще доказывают, что на ее продолжительность влияют факторы, выходящие далеко за пределы медицины. Среди них особое место занимают климат и окружающая среда - именно эту взаимосвязь впервые подробно изучили ученые из Университета Кертина в Австралии. Их работа раскрывает, что экстремальные погодные условия способны не только вызывать преждевременные роды, но и, напротив, удлинять срок беременности. Команда исследователей проанализировала данные почти 400 тысяч новорожденных, появившихся на свет в Западной Австралии. Результаты оказались неожиданными: климатические колебания заметно влияли на организм будущих матерей, особенно у тех, кто рожал после 41-й недели беременности. По словам доктора Сильвестра Додзи Ньядана из Школы народного здоровья Университета Кертина, проблема перенашивания долгое время оставалась в тени, хотя ее последствия могут ...>>

Роботизированное кресло Toyota Walk Me 07.11.2025

Современные технологии все чаще пересекаются с медициной, эргономикой и социальной сферой. Компании стремятся не просто создавать машины, а делать устройства, которые расширяют возможности человека. Именно к этому направлению принадлежит новейшая разработка корпорации Toyota - роботизированное кресло Walk Me, впервые показанное на выставке Japan Mobility Show 2025. Оно демонстрирует, как инженерная мысль и забота о людях с ограниченной подвижностью могут соединяться в одном компактном устройстве. Внешне Walk Me напоминает нечто среднее между креслом и небольшим роботом. В отличие от привычных инвалидных колясок или тележек, новинка лишена колес - вместо них движение обеспечивают четыре механические ноги. Такая система позволяет креслу буквально "идти" по поверхности, адаптируясь к рельефу и уверенно преодолевая гравий, бордюры или даже лестницы. Создатели вдохновлялись природой - в частности, движениями коз и крабов, известных своей устойчивостью и ловкостью на пересеченной местн ...>>

Отцу полезно брать отпуск по уходу за ребенком 06.11.2025

Роль отцов в воспитании детей перестала восприниматься как второстепенная. Современные исследования все чаще доказывают, что участие папы в уходе за младенцем оказывает не только эмоциональное, но и долговременное развитие на психику и успехи ребенка. Новая работа ученых из Национального университета Сингапура добавила весомые аргументы в пользу того, что отцам стоит брать отпуск по уходу за ребенком - хотя бы на две недели. Исследование показало, что дети, чьи отцы проводили с ними больше времени в первые недели жизни, реже сталкиваются с трудностями в поведении и обучении. Такие дети проявляют лучшие результаты в тестах на математические и речевые способности и демонстрируют более устойчивое эмоциональное состояние. Ученые отмечают, что именно продолжительный отпуск дает мужчинам возможность установить прочную эмоциональную связь с ребенком и активнее участвовать в жизни семьи. Профессор Вэй-Джун Джин Ян, соавтор исследования, подчеркивает, что в большинстве азиатских стран дек ...>>

Случайная новость из Архива

Медузы восстанавливают тело 04.07.2015

Способность к регенерации есть у всех живых существ, просто у кого-то она выражена в меньшей степени (мы, например, не можем отрастить палец или ногу взамен утраченных), у кого-то - в большей (для тритонов, к примеру, восстановить ногу, глаз или какой-нибудь внутренний орган совсем не проблема). Чемпионами самовосстановления можно назвать кишечнополостных - гидр, медуз и их родственников, хотя тут все-таки следует помнить, что устроены они заметно проще, чем те же тритоны. В исследованиях регенерации один из самых частых модельных объектов - пресноводная гидра из учебника биологии, которая после любой раны, после любого повреждения может сделать все, как было.

Но, как оказалось, кишечнополостные не всегда "делают все, как было". Майкл Абрамс (Michael Abrams) и его коллеги из Калифорнийского технологического института экспериментировали с личинками-эфирами медузы аурелии ушастой. Эфиры устроены проще, чем взрослые медузы: небольшое дисковидное тело с 8 двойными лопастями-выростами по краям, щупалец как таковых нет, пищеварительная система недоразвита. У личинки отрезали одну или несколько "рук"-лопастей, после чего она довольно быстро, за несколько часов, залечивала рану. Однако новой лопасти взамен утраченной не появлялось. Вместо этого эфира перестраивала тело так, чтобы стать снова симметричной - независимо от того, сколько ей оставляли "рук", семь, пять или всего лишь две.

Как известно, медузы относятся к радиально-симметричным животным: у них можно отличить верхнюю часть тела от нижней, но невозможно отделить левую сторону от правой. Двигаясь, медуза "хлопает" куполом и ротовыми лопастями (а личинка - лопастями, расположенными по краям тела), и именно симметрия в собственном строении позволяет животным двигаться в нужном направлении. Если какой из "конечностей" будет не хватать, то из-за образовавшегося пустого места нарушится гидродинамика, потоки воды при толчке будут идти не туда, и медуза не сможет управлять своими движениями. Поэтому для личинки оказывается важнее не столько заново отрастить утраченную лопасть, сколько восстановить симметричное строение тела. Более того, несимметричная эфира довольно часто, в 15% случаев, вообще не могла превратиться во взрослую медузу.

В статье в PNAS авторы пишут, что тело личинок перестраивалось мышечными усилиями: если в воду, где они жили, добавляли вещество, расслабляющее мышечные клетки, то симметризация происходила заметно медленнее. Наоборот, если мышцы эфиры под действием повышенной концентрации солей магния начинали сокращаться быстрее, то и симметричное строение восстанавливалось скорее.

Очевидно, все дело тут в том, что из-за утраты лопастей механические силы в теле медузы оказывались несбалансированными, что само собой приводило к перестройке эластичного тела. При этом эфиры обходились без того, чтобы стимулировать активное деление и отмирание клеток, как оно бывает при регенеративных процессах у других животных - очевидно, механическим способом здесь можно достичь приемлемого результата без больших энергетических затрат на клеточную динамику. Личинки других видов медуз тоже оказались способны к симметризации - конечно, было бы интересно выяснить, способны ли к такому трюку взрослые медузы и другие радиально-симметричные организмы.

Полученные результаты еще раз говорят нам о том, что морфогенез - формирование частей тела, органов и т.д. - зависит не только от молекулярно-генетических процессов, но и от сугубо физических взаимодействий между разными частями тела. Известно, что и человеческие клетки чутко реагируют на механические силы, которые порой могут оказывать решающее влияние на их клеточную судьбу; возможно, что и в медицинской регенерации наших тканей и органов можно будет добиться большего успеха, если мы обратим внимание на их "физику".

Другие интересные новости:

▪ Большеглазые просыпаются раньше

▪ Аудиосистема Sony с поддержкой CarPlay

▪ Повышающие DC/DC LED-драйверы Mean Well LDH-25/65

▪ Геймерский смартфон Sony Xperia 1 IV

▪ Беспроводной телевизор LG OLED M

Лента новостей науки и техники, новинок электроники

 

Интересные материалы Бесплатной технической библиотеки:

▪ раздел сайта И тут появился изобретатель (ТРИЗ). Подборка статей

▪ статья Джеймс Рэнди. Знаменитые афоризмы

▪ статья Какой канадский город во время Второй Мировой войны был атакован войсками в немецкой форме? Подробный ответ

▪ статья Обойщик салонов автобусов. Типовая инструкция по охране труда

▪ статья Простой термостабилизатор, 10-50 градусов. Энциклопедия радиоэлектроники и электротехники

▪ статья Любительский радиотелефон РТФ-92. Энциклопедия радиоэлектроники и электротехники

Оставьте свой комментарий к этой статье:

Имя:


E-mail (не обязательно):


Комментарий:





Главная страница | Библиотека | Статьи | Карта сайта | Отзывы о сайте

www.diagram.com.ua

www.diagram.com.ua
2000-2025