Menu Home

Бесплатная техническая библиотека для любителей и профессионалов Бесплатная техническая библиотека


Простой экономичный металлоискатель. Энциклопедия радиоэлектроники и электротехники

Бесплатная техническая библиотека

Энциклопедия радиоэлектроники и электротехники / Металлоискатели

Комментарии к статье Комментарии к статье

Предлагаемое устройство выгодно отличается от ранее опубликованных металлоискателей подобного класса экономичностью электроэнергии, повышенной чувствительностью и упрощенной сигнализацией. Предлагаемый металлоискатель обнаруживает в земле, в стене здания магнитные и немагнитные металлические предметы на глубине: монету 25 копеек - 10...15 см, более крупные предметы - до 60 см. Упрощенная сигнализация дает возможность больше сосредоточить свое внимание на местности поиска. К недостаткам предлагаемого устройства относятся: медленный дрейф частоты поискового генератора, что свойственно металлоискателям этого класса.

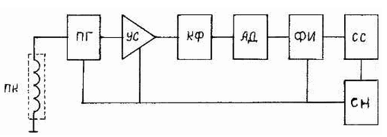
Структурная схема металлоискателя показана на рис. 1.

Простой экономичный металлоискатель
Рис. 1

При воздействии металлических предметов на поисковую катушку ПК происходит повышение частоты поискового генератора ПГ. Изменяющийся по частоте сигнал ПГ усиливается усилителем УС. Усиленный сигнал поступает на кварцевый фильтр КФ. При совпадении частоты ПГ с резонансной частотой КФ (отсутствие металла около ПК) сигнал проходит к амплитудному детектору АД, преобразуется в постоянную составляющую, которая формирует в формирователе импульсов ФИ импульс лог. "1". Лог. "1" действует на систему сигнализации СС, и звуковой сигнал не вырабатывается. При появлении в зоне поисковой катушки ПК металлических предметов генератор ПГ изменяет частоту,в результате чего на входе СС появляется лог. "0", и сигнализация начинает работать до тех пор, пока в зоне ПК находятся металлические предметы. Все необходимые элементы схемы питаются от стабилизатора напряжения СН. Потребляемый ток устройством - до 8,5 мА.

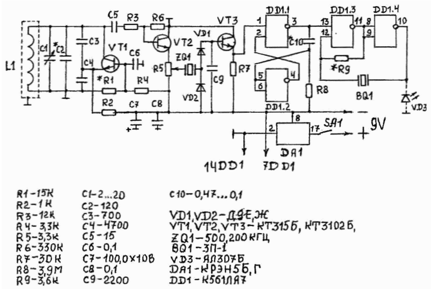
Принципиальная схема показана на рис. 2.

Простой экономичный металлоискатель
Рис. 2

Поисковый генератор выполнен по схеме емкостной трехточки с общей базой на транзисторе VT1, нагрузкой которого являются катушка L1 и входная цепь C5R3 усилителя сигнала, выполненного по схеме эмиттерного повторителя на транзисторе VT2. Усиленный сигнал с резистора R5 поступает на кварцевый фильтр ZQ1. Сигнал поискового генератора частотой равной резонансной частоте кварцевого фильтра поступает на амплитудный детектор, выполненный на диодах VD1 и VD2. Продетектированный сигнал в виде постоянной составляющей подается на базу транзистора VT3 - ФИ. Через резистор R7 протекает ток, создавая на нем падение напряжения, и формирует лог. "1" на входе 1 DD1.1. В то же время на вход 2 DD1.1 подается лог. "1" с выхода 4 DD1.2. В этот момент одновибратор, выполненный на элементах DD1.1 и DD1.2, закрыт и на выходе 3 DD1.1 присутствует лог. "0".

Мультивибратор, выполненный на элементах DD1.3 и DD1.4.B этот момент не работает вместе с излучателем BQ1. При приближении поисковой катушки L1 к металлическому предмету частота ПГ увеличивается независимо от "цвета" металла. Сигнал ПГ с повышенной частотой выходит за пределы границы пропускания кварцевого фильтра ZQ1. Отсутствие сигнала на выходе ZQ1 приводит к запиранию ФИ, и на 1 DD1.1 одновибратора появляется лог. "0". Одновибратор DD1.1 и DD1.2 срабатывает, и на его выходе 3 DD1.1 появляется лог. "1", что, в свою очередь, запускает мультивибратор DD1.3 и DD1.4. Излучатель BQ1 начинает излучать сигнал звуковой частоты. При кратковременном пропадании сигнала после кварцевого фильтра (быстрое передвижение ПК) длительность работы излучателя BQ1 будет зависеть от величины емкости конденсатора С10. В предлагаемом устройстве сигнализация работает мгновенно и с "памятью". Для плохо слышащих людей можно установить светодиод VD3, подключенный на схеме пунктирными линиями. При этом ток потребления устройства увеличится. Стабилизатор напряжения DA1 упрощает схему стабилизации напряжения в целях схемы устройства.

Детали. Все резисторы типа МЛТ 0,125 Вт. Конденсатор настройки С1 типа 1КПВМ или другого типа с воздушным диэлектриком. .При отсутствии таковых можно применить малогабаритный конденсатор переменной емкости с твердым диэлектриком от карманных радиоприемников емкостью до 50 пф. Если нет и такого конденсатора, можно применить конденсатор большей емкости, включив с ним последовательно конденсатор постоянной емкости необходимой величины. Конденсаторы контура С2-С4 желательно применить с отрицательной группой ТКЕ, например М47-М750. Можно попробовать смешать группы М и ПМО. Конденсатор С2 можно взять из схемы контуров малогабаритных радиоприемников.

Кварцевый резонатор малогабаритный от 100 кГц до 1 МГц. При этом под соответствующий резонатор придется подбирать количество витков поисковой катушки L1. Пьезоэлектрический излучатель BQ1 китайского производства от малогабаритных телефонов или часов. Можно применить отечественный излучатель типа 3П-1, но он больше размером и потребляет больше мощности. Вся электронная часть устройства монтируется на печатной плате из одностороннего фольгированного стеклотекстолита толщиной 1,5 мм. К торцу платы под углом 90° припаивается плата управления, изготовленная из того же материала, на которой установлены конденсатор настройки С1 и малогабаритный выключатель SA1.

В авторском варианте плата размером в спичечный коробок помещена в прямоугольный алюминиевый короб (экран контура ПЧ от радиоприемника "Казахстан"). Штанга изготовлена из сантехнической трубки, выполненной из алюминия и покрытой изнутри и снаружи пластмассовой оболочкой диаметром 16 мм. Поисковая катушка L1 изготавливается следующим образом: на доске или толстой фанере вычерчивается окружность диаметром 150 мм. В точках пересечения хорд забить металлические гвоздики длиной 20 мм под углом 45° с наклоном в сторону от центра окружности. На получившийся шаблон намотать катушку L1 проводом ПЭВ-2, ПЭЛШО диаметром 0,31...0,47 мм. В авторском варианте катушка намотана проводом ЛЭШО 10x0,07 - 15 витков. После намотки катушки L1 конец провода не обрезайте, так как возможно придется доматывать или отматывать ее во время налаживания. Концы катушки зачистить и припаять к соединительному кабелю. Количество витков в вашем варианте можно приблизительно подсчитать пропорционально авторскому по имеющемуся у вас кварцевому резонатору.

После намотки катушки и закрепления ее концов, производится закрепление витков катушки путем перевязки несколькими витками ниток и закрепление их узлом. Такое крепление производится по всему периметру катушки через два гвоздика, после чего гвоздики вытаскиваются. Соединительный кабель катушки L1 может быть экранированным. В авторском варианте применен экранированный провод, покрытый сверху пластмассовой оболочкой диаметром 1,2 мм. Можно применить обычный гибкий монтажный провод, плотно свитый для стабилизации его емкости.

После настройки всего устройства и подгонки количества витков поисковой катушки, ее вкладывают в ПХВ трубку соответствующего диаметра, разрезанную с одной стороны по всей длине в одной плоскости. Длина трубки должна превышать длину окружности катушки на 5 мм, соединяется концами на катушке внахлест. Кабель соединения катушки выводить в месте стыковки ПХВ трубки. В дальнейшем на этом месте будет зазор между экранирующим покрытием. Старайтесь уложиться в размер, стыковки трубки и вывода кабеля, в 5... 10 мм. Уложенную в трубку катушку расположить на ровной поверхности разрезом вверх. Под низ подстелите газету. Последовательно растопыривая разрез трубки с помощью отвертки, пространство, в котором находится катушка, заливайте приготовленным эпоксидным клеем. Места выпучивания или расхождения стенок трубки необходимо скрепить нитками. Лучше выбирать ПХВ трубку, хранившуюся в круглых рулонах нужного диаметра. После разреза такой трубки меньше будут расходиться ее стенки.

После полимеризации эпоксидного клея (через сутки) катушку необходимо подчистить от потеков, убрать нитки сделать поверхность гладкой. На гладкую поверхность катушки наматывается экранирующий слой из медной или латунной фольги шириной 8...10 мм толщиной 0,05...0,1 мм. Назначение его -ликвидировать емкостное влияние земли и других предметов на параметры поисковой катушки. Начинать намотку экранирующего слоя необходимо с места стыковки ПХВ трубки и заканчивать намотку с другого конца стыковки ПХВ трубки. Зазор между началом и концом экранирующего слоя может составлять 5...20 мм. Ни в коем случае нельзя соединять начало и конец экранирующего слоя, так как получится короткозамкнутый виток. Один из концов экранирующего слоя соединяется с выводом катушки и экранирующим слоем соединительного кабеля. Экранирующий слой катушки L1 по внутреннему периметру пропаивается по всей длине шириной пайки 5...10 мм.

Во многих публикациях экранирующий слой поисковой катушки предлагают выполнить из алюминиевой фольги. При авторских испытаниях нескольких конструкций поисковых катушек с экраном из алюминиевой фольги выявились следующие недостатки:

  • ненадежный и недолговечный контакт экранирующего слоя с проводом выводного кабеля из-за невозможности пайки алюминия в домашних условиях;
  • контакт между витками из алюминиевой фольги экранирующего слоя непостоянный, поэтому параметры поисковой катушки изменяются.

Некоторые публикации предлагают экранирующий слой поисковой катушки обматывать ПХВ лентой. При испытании нескольких катушек, покрытых таким способом, выяснилось, что при изменении температуры или механических нагрузках параметры поисковой катушки изменялись. Это связано с тем, что намотать плотно экранирующий слой вручную не удается. Под действием эластичности ПХВ ленты при воздействии температуры и других факторов зазоры между фольгой экранирующего слоя и катушкой изменяются, а с ними и параметры поисковой катушки.

Для устранения вышеуказанных недостатков экранированная катушка была помещена в разрезанную ПХВ трубку и залита эпоксидным клеем. Готовая катушка крепится к текстолитовой пластине формы полумесяца с помощью толстых ниток, пропущенных через отверстия, просверленные в пластине в местах прилегания катушки. Места прилегания катушки к текстолитовой пластине и бандажи крепления из ниток промазываются эпоксидным клеем. Пластина с катушкой крепится к штанге изогнутой на конце по форме "клюшки" посредине с помощью хомута, изготовленного из листа латуни, стали, алюминия шириной 30 мм и толщиной 0,5... 1 мм. Хомут по периметру стягивается двумя болтами М3. Разогнутые лапы хомута крепятся к текстолитовой пластине катушки с помощью 2-х, 4-х болтов М3. Соединительный кабель катушки пропускается во внутрь штанги и через отверстие соединяется с электронным блоком. Батарея "Крона" расположена под электронным блоком и закреплена с помощью прямоугольного хомута. Металлоискатель вместе с батареей "Крона" весит 300 г.

Налаживание. Подключите устройство к источнику питания напряжением 9 В через миллиамперметр. Миллиамперметр должен показать ток 8мА. Излучатель BQ1 должен излучать НЧ сигнал. Подгонкой резистора R9 добейтесь максимальной громкости. Для отключения сигнализации необходимо отключить вывод 1 DD1.1 от схемы или резистор R7. Вместо конденсатора С2 подключите конденсатор переменной емкости 0...500 пФ. Лучше для налаживания применить сдвоенный конденсатор 2x500 пФ с воздушным диэлектриком. "Неоконченную" поисковую катушку подключите в схему через соединительный кабель определенной длины. Подключите осциллограф к эмиттеру VT2. На экране должна появиться ВЧ составляющая с уровнем около 3 В. Подключите цифровой частотомер к эмиттеру VT2 и определите частоту поискового генератора. Переменный конденсатор С1 установите в среднее положение.

С помощью наладочного конденсатора установите частоту поискового генератора равной частоте кварцевого резонатора ZQ1. Если частота поискового генератора выше и наладочным конденсатором невозможно ее понизить, подключите параллельно наладочному конденсатору вторую секцию этого конденсатора. Если эта операция не помогла снизить частоту ПГ до резонансной КФ, то необходимо домотать несколько витков ПК. Если, наоборот, частота ПГ низкая и наладочным конденсатором не удается ее повысить, то необходимо отмотать от ПК несколько витков. После сравнения частот ПГ и КФ подключите осциллограф на выход КФ в точке соединения VD1 и VD2. Ползунок резистора R5 установите верхнее положение. При исправном ZQ1 и подстройке ПГ на экране осциллографа должна появится картинка ВЧ составляющей. При подключенном резисторе R7 на эмиттере VT3 должна появится лог. "1", т.е. напряжение 2,4...5,7 В. При подключенной СС излучатель должен молчать. Количество витков ПК должно быть подобрано таким, чтобы емкость конденсатора С2 равнялась примерно 50 пФ.

При дальнейшей доработке ПК, т.е. нанесении экранирующего слоя, заливки эпоксидной смолой, креплении к штанге, индуктивность катушки уменьшится. Для этого перед полным завершением изготовления ПК добавьте еще 2-4 витка. После завершения изготовления ПК необходимо снова сделать повторную наладку и определить величину емкости С2 с помощью измерителя емкости. При отсутствии вышеперечисленных приборов наличие генерации ПГ можно определить по постоянной составляющей на R5 путем отключения и подключения конденсатора С3. Наличие совпадения частоты ПГ с КФ можно определить по постоянной составляющей на R7 и работой СС. Определить величину емкости конденсатора С2 можно опытным путем по положению ротора наладочного конденсатора.

При окончательной наладке необходимо ПГ настроить на резонансную частоту с КФ с помощью конденсатора С1 до прекращения звучания излучателя. При этом емкость конденсатора С2 должна быть таковой, чтобы резонанс частот наступал при среднем положении конденсатора настройки С1. Ползунок резистора R5 поворачиваем "вниз" до конца, при этом должна сработать сигнализация. Поворачиваем ползунок R5 обратно до исчезновения сигнала сигнализации и еще на пару градусов. Для окончательной настройки после полной сборки в корпусе устройства необходимо просверлить отверстие для подстройки резистора R5.

Необходимо запомнить, что максимальная чувствительность металлоискателя будет при частоте ПГ, находящейся на краю верхней полосы пропускания КФ. При появлении металлических предметов в области ПК, частота изменяется "вверх" на единицы, десятки герц в зависимости от величины поисковых предметов и расстояния от них ПК. При настройке ПГ на нижнюю полосу пропускания КФ, воздействие металлических предметов на ПК приведет к перестройке ПГ на среднюю полосу пропускания КФ, что не вызовет срабатывания СС. На основании вышеизложенного лучше в устройстве иметь дрейф частоты "вверх",что автоматически увеличивает чувствительность до срабатывания сигнализации, чем дрейф "вниз", что снижает чувствительность на длительное время. Поэтому в контуре ПГ лучше применять конденсаторы с отрицательным ТКЕ или вместе с отрицательным и положительным ТКЕ.

Литература

  1. Схемы из Интернета - Радиоаматор. - 2001. - №1. - С.37.
  2. Дубинин Б.Н. Охранное устройство - Радиоаматор. - 2002 - №1. - С.36.
  3. Заяц Н. Сигнализатор поклевки - Радиоаматор. - 2002. - №10. - С.20.

Автор: Б.Н.Дубинин, г.Новояворовск, Львовская обл.

Смотрите другие статьи раздела Металлоискатели.

Читайте и пишите полезные комментарии к этой статье.

<< Назад

Последние новости науки и техники, новинки электроники:

Лабораторная модель прогнозирования землетрясений 30.11.2025

Предсказание землетрясений остается одной из самых сложных задач геофизики. Несмотря на развитие сейсмологии, ученые все еще не могут точно определить момент начала разрушительного движения разломов. Недавние эксперименты американских исследователей открывают новые горизонты: впервые удалось наблюдать микроскопические изменения в контактной зоне разломов, которые предшествуют землетрясению. Группа под руководством Сильвена Барбота обнаружила, что "реальная площадь контакта" - участки, где поверхности разлома действительно соприкасаются - изменяется за миллисекунды до высвобождения накопленной энергии. "Мы открыли окно в сердце механики землетрясений", - отмечает Барбот. Эти изменения позволяют фиксировать этапы зарождения сейсмического события еще до появления традиционных сейсмических волн. Для наблюдений ученые использовали прозрачные акриловые материалы, через которые можно было отслеживать световые изменения в зоне контакта. В ходе искусственного моделирования примерно 30% ко ...>>

Музыка как естественный анальгетик 30.11.2025

Ученые все активнее исследуют немедикаментозные способы облегчения боли. Одним из перспективных направлений становится использование музыки, которая способна воздействовать на эмоциональное состояние и когнитивное восприятие боли. Новое исследование международной группы специалистов демонстрирует, что даже кратковременное прослушивание любимых композиций может значительно снижать болевые ощущения у пациентов с острой болью в спине. В эксперименте участвовали пациенты, обратившиеся за помощью в отделение неотложной помощи с выраженной болью в спине. Им предлагалось на протяжении десяти минут слушать свои любимые музыкальные треки. Уже после этой короткой сессии врачи фиксировали заметное уменьшение интенсивности боли как в состоянии покоя, так и при движениях. Авторы исследования подчеркивают, что музыка не устраняет саму причину боли. Тем не менее, она воздействует на эмоциональный фон пациента, снижает уровень тревожности и отвлекает внимание, что в сумме приводит к субъективном ...>>

Алкоголь может привести к слобоумию 29.11.2025

Проблема влияния алкоголя на стареющий мозг давно вызывает интерес как у врачей, так и у исследователей когнитивного старения. В последние годы стало очевидно, что границы "безопасного" употребления спиртного размываются, и новое крупное исследование, проведенное международной группой ученых, вновь указывает на это. Работы Оксфордского университета, выполненные совместно с исследователями из Йельского и Кембриджского университетов, показывают: даже небольшие дозы алкоголя способны ускорять когнитивный спад. Команда проанализировала данные более чем 500 тысяч участников из британского биобанка и американской Программы миллионов ветеранов. Дополнительно был выполнен метаанализ сорока пяти исследований, в общей сложности включавших сведения о 2,4 миллиона человек. Такой масштаб позволил оценить не только прямую связь между употреблением спиртного и развитием деменции, но и влияние генетической предрасположенности. Один из наиболее тревожных результатов касается людей с повышенным ге ...>>

Случайная новость из Архива

Сложные хобби помогают омолодить мозг 28.01.2016

Пожилым людям часто советуют вести активную жизнь и найти себе какое-нибудь хобби - это помогает защитить умственные способности от угасания. Однако тут годится далеко не всякая активность и не всякое хобби. Согласно исследованию ученых Техасского университета в Далласе, что пожилым для сохранения когнитивных функций лучше заниматься чем-то таким, что требует больших умственных усилий.

В эксперименте участвовали несколько десятков добровольцев от 60 до 90 лет, которые на протяжении четырнадцати недель по пятнадцать часов в неделю отдавали либо цифровой фотографии, либо квилтингу - шитью стеганых лоскутных вещей, либо совместным путешествиям или совместной готовке. Первые два хобби - фотография и квилтинг - были довольно трудны и требовали каких-то усилий для их освоения, путешествия и готовка предполагали активную социальную жизнь, но учиться там ничему особо не было нужно. Наконец, участники из третьей группы эксперимента просто слушали музыку, смотрели классику мирового кинематографа или же развлекались какими-то простыми играми. Все они до и после 14-недельного периода проходили специальные тесты на состояние когнитивных способностей, а мозг их сканировали в магнитно-резонансном томографе; те же тесты и томографию повторяли год спустя.

Как наши читатели могли догадаться, те пожилые люди, которым пришлось заниматься сложными хобби, показали лучшие результаты: в тестах на память после периода "тренировки" они показывали более высокие результаты, а МРТ свидетельствовало о том, что их мозг сохраняет высокую пластичность в тех участках коры, что отвечают за внимание и семантический анализ.

Например, если человек сталкивался с простым утверждением, мозг в соответствующих участках активировался слабо, но если языковое задание было сложным, то повышалась и активность коры. Такая подгонка ресурсов под задачу - обычное дело в молодости, но с возрастом мозг начинает на любую задачу реагировать с одинаковым напряжением (как это, кстати, и происходило у всех добровольцев перед экспериментом). То есть сложные занятия, которые требуют от человека, чтобы он чему-то научился, в какой-то мере сохраняют - или возвращают - мозгу молодость. И просто наслаждаться прекрасным или же просто активно общаться с другими тут будет недостаточно.

Другие интересные новости:

▪ Отклонение рентгеновского луча

▪ Сыр из водорослей

▪ Очки виртуальной реальности Samsung Gear VR

▪ Лазерная систем Raytheon для обнаружения и уничтожения дронов

▪ Раны заживляются быстрее

Лента новостей науки и техники, новинок электроники

 

Интересные материалы Бесплатной технической библиотеки:

▪ раздел сайта Металлоискатели. Подборка статей

▪ статья Разводить антимонии. Крылатое выражение

▪ статья Какие птицы научились защищаться от кукушек трелью-паролем? Подробный ответ

▪ статья Секстант. Советы туристу

▪ статья Высококачественный усилитель класса B. Энциклопедия радиоэлектроники и электротехники

▪ статья Две по цене одной. Секрет фокуса

Оставьте свой комментарий к этой статье:

Имя:


E-mail (не обязательно):


Комментарий:





Главная страница | Библиотека | Статьи | Карта сайта | Отзывы о сайте

www.diagram.com.ua

www.diagram.com.ua
2000-2025