Menu Home

Бесплатная техническая библиотека для любителей и профессионалов Бесплатная техническая библиотека


Новогодние гирлянды. Энциклопедия радиоэлектроники и электротехники

Бесплатная техническая библиотека

Энциклопедия радиоэлектроники и электротехники / Цветомузыкальные установки

Комментарии к статье Комментарии к статье

Приближается один из самых замечательных праздников - Новый год. И, конечно, во многих домах достойное место займет зеленая красавица, на ветвях которой разместятся лампочки разноцветных гирлянд. А чтобы гирлянды переливались всеми цветами радуги, их нужно не только раскрасить, но и подключить к автоматическому переключателю. О некоторых вариантах подобного автомата рассказывается в предлагаемой подборке.

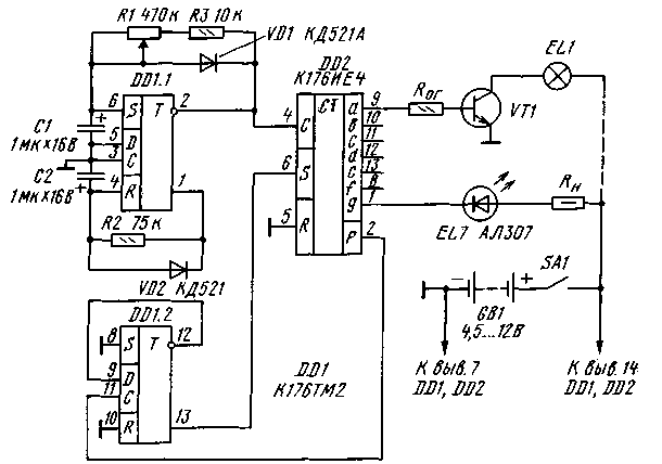
Автомат световых эффектов

Не всегда удается разместить в комнате большую елку, чаще вместо нее устанавливают небольшую ветку. Наряжают ее в этом случае малогабаритными лампами и светодиодами, которые можно подключить к автомату, выполненному по приведенной на рисунке схеме. По сравнению с устройствами, питающими одну, две или три гирлянды, этот автомат способен управлять семью нагрузками-гирляндами. Причем в качестве гирлянд допустимо использовать единичный источник света - миниатюрную лампу накаливания, например, типа СМ или светодиод серий АЛ 102, АЛ307. При желании нагрузку можно составить из двух-трех последовательно соединенных таких источников. Питается автомат от источника напряжением 4,5...12 В, в качестве которого используется аккумулятор, две последовательно соединенные батареи 3336Л или сетевой блок питания.

В автомате использованы две микросхемы. На триггере DD1.1 выполнен генератор импульсов, частоту (и скважность) которого можно изменять переменным резистором R1. Триггер DD1.2 включен по схеме счетного триггера - его инверсный выход (вывод 12) соединен с входом D (вывод 9), а на вход С (вывод 11) поступают импульсы с выхода переполнения Р (вывод 2) счетчика-дешифратора DD2.

Новогодние гирлянды

Прямой выход триггера DD1.2 (вывод 13) подключен к входу S (вывод 6) счетчика-дешифратора DD2.

После поступления на вход С счетчика-дешифратора десятого импульса состояние триггера DD1.2 изменяется на противоположное, что вызывает изменение напряжения на выходах a-g счетчика-дешифратора, к которым подключены нагрузки.

При использовании малогабаритных ламп их подключают к выходам микросхемы DD2 через согласующий каскад, выполненный на транзисторе, допускающем соответствующий ток коллектора. В цепи базы транзистора обязательно устанавливают ограничительный резистор Rог, сопротивление которого должно обеспечивать насыщение транзистора. В случае использования светодиодов каждый из них нужно подключить через резистор Rн. Конечно, на ветке-елке можно укрепить и миниатюрные лампы, и светодиоды - световой эффект только усилится, особенно при соответствующей окраске ламп и подборе светодиодов разного цвета свечения.

Продолжительность свечения гирлянд и пауз между их зажиганием зависит от частоты импульсов, поступающих на счетный вход микросхемы DD2. Плавно эту частоту можно изменять переменным резистором R1, а грубо - подбором конденсаторов С1 и С2.

Поскольку частота генератора зависит от общего сопротивления резисторов R1 и R3, а также резистора R2, подключение параллельно им или последовательно с ними (а возможно, и вместо R2 или R3) терморезистора, имеющего тепловой контакт с одной из ламп гирлянд, даст интересный эффект. Теперь длительность состояния выходов счетчика-дешифратора будет изменяться автоматически и практически предсказуемо. Такого же результата можно добиться включением вместо КД521А диодов серий Д2, Д18 или других, обладающих фотоэффектом, и расположением их около баллонов ламп накаливания.

Вместо указанных на схеме допустимо использовать микросхемы К561ТМ2 (DD1). К176ИЕЗ (DD2). Постоянные резисторы - МЛТ-0,125, их номиналы некритичны для нормальной работы устройства. Автор: А. Романчук пос. Новиково Сахалинской обл.

Переключатели гирлянд малогабаритной елки

Малогабаритные елки, в том числе и искусственные, становятся в последнее время все более популярными. А вот выбор промышленных ламповых гирлянд для них невелик, поэтому приходится составлять их самостоятельно. Причем одно из важнейших требований к ним - максимальная безопасность, отсутствие гальванической связи с осветительной сетью.

Один из вариантов, по мнению автора, - воспользоваться имеющимся у многих радиолюбителей понижающим трансформатором для питания низковольтного маломощного паяльника. Обычно у такого трансформатора на вторичной обмотке переменное напряжение составляет от 12 до 36 В, а мощность трансформатора -20...40 Вт. Такого напряжения и мощности вполне достаточно для питания гирлянд из миниатюрных ламп накаливания типа СМН - их легко окрасить в разные цвета и несложно крепить на ветвях елки.

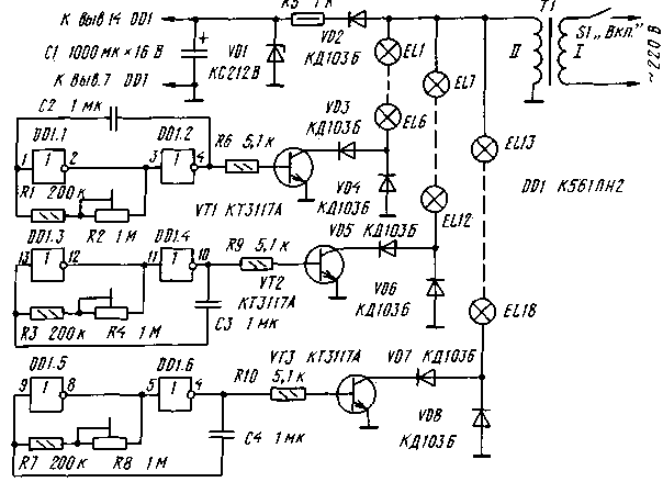
Следует отметить, что автоматические переключатели, в которых используется резкое и частое включение гирлянд, и как правило, оказываются не очень долговечными из-за тяжелого режима работы ламп и быстрого перегорания их нитей. Более надежен режим, при котором яркость ламп изменяется скачком не от нуля до максимума, а от 30...40 до 100 %. Именно по такому принципу построен переключатель, схема которого приведена на рис.2.

Новогодние гирлянды

Переключатель содержит три идентичных канала, каждый из которых состоит из генератора импульсов на двух логических элементах и электронного ключа на транзисторе. Генераторы питаются от параметрического стабилизатора напряжения R5VD1C1. Переменное напряжение с вторичной обмотки трансформатора поступает на гирлянды, состоящие из последовательно соединенных ламп накаливания. При этом ток в отрицательные полупериоды напряжения на верхнем по схеме выводе вторичной обмотки протекает через все гирлянды и диоды VD4, VD6, VD8. Лампы гирлянд светятся не более чем вполнакала.

Одновременно импульсы напряжения с генераторов поступают на базы транзисторов. Если на выходе генератора высокий логический уровень (логическая 1), транзистор откроется и через него, а также диод VD3 для первой гирлянды (соответственно VD5, VD7 для второй и третьей) будет протекать ток во время положительного полупериода напряжения на том же выводе вторичной обмотки. Лампы гирлянды будут светиться на полную яркость.

Поскольку генераторы работают независимо друг от друга и с разными частотами, гирлянды переключаются независимо друг от друга, что создает иллюзию переливания света.

Новогодние гирлянды

Большинство деталей переключателя размещают на печатной плате из одностороннего фольгированного стеклотекстолита. Вместо указанных на схеме подойдут диоды КД102Б, КД105Б и аналогичные, рассчитанные на импульсный ток, примерно вдесятеро больше тока потребления ламп накаливания, стабилитрон VD1 - любой маломощный с максимальным током стабилизации 20...30 мА и напряжением 10...12 В. Постоянные резисторы - МЛТ, С2-33, подстрочные - СПЗ-3, СПЗ-19, СП4, СПО. Конденсатор С1 - оксидный К50-6, остальные конденсаторы - KM, K73.

Выбор остальных деталей во многом зависит от напряжения на вторичной обмотке трансформатора, мощности и количества ламп накаливания. Если, например, напряжение на вторичной обмотке 36 В, а в каждой гирлянде использованы лампы на 6,3 В с током потребления 20 мА (шесть ламп, соединенных последовательно) или 40 мА (две включенные параллельно гирлянды по шесть ламп в каждой), то диоды VD3-VD8 можно применить указанные выше, а транзисторы -КТ602А, КТ602Б, КТ608А, КТ608Б, КТ815Б-КТ815Г или указанные на схеме.

Если же потребляемый гирляндами ток выше, придется добавить в каждый канал по транзистору (рис. 3) или установить на месте VT1-VT3 составные транзисторы, например, КТ829А-КТ829Г или аналогичные, а также использовать диоды VD3-VD8, рассчитанные на соответствующий ток.

При меньшем напряжении на вторичной обмотке следует пропорционально уменьшить сопротивление резистора R5. Налаживание автомата сводится к установке частоты переключения гирлянд подстроечными резисторами R2, R4, R8 (плавно) или подбором конденсаторов С2-С4 (грубо).Автор: И. Нечаев, г. Курск

От редакции. Диоды VD3, VD5, VD7 защищают соответствующие транзисторы от обратного напряжения в случае выхода из строя диодов VD4, VD6, VD8. В большинстве случаев эти диоды можно не устанавливать.

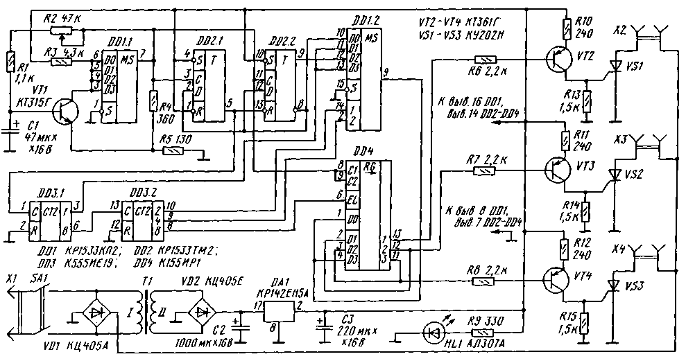
Переключатель трех гирлянд

Переключатель (рис. 3) позволяет получить эффекты "бегущие огни", "бегущая тень" и "накапливающееся" включение - выключение гирлянд. Повторившись несколько раз, один эффект сменяется другим. Направление переключения гирлянд также периодически изменяется на противоположное. В устройстве применен редко используемый способ получения упомянутых эффектов.

На мультиплексоре DD1.1 и транзисторе VT1 собран задающий генератор. Частоту вырабатываемых им импульсов можно плавно изменять переменным резистором R2 в широких пределах. Построение генератора на одном из мультиплексоров микросхемы DD1 позволило сократить общее число корпусов микросхем. Информационные входы мультиплексора DD1.1 соединены вместе, поэтому при любых сигналах на адресном входе он работает как повторитель.

Новогодние гирлянды
(нажмите для увеличения)

Сигнал с выхода задающего генератора поступает на делитель частоты на три, выполненный на триггерах DD2.1 и DD2.2. Скважность сигнала на выходе триггера DD2.1 равна 3/2, а на выходе триггера DD2.2 - 3. К одному из выходов делителя частоты подключен восьмиразрядный счетчик, собранный на микросхеме DD3.

На микросхеме DD4 построен трехразрядный реверсивный регистр сдвига. Роль информационного входа регистра играют соединенные вместе входы D0 и D3. При низком логическом уровне на входе EL происходит сдвиг информации вправо, а при высоком - влево. От уровня напряжения на этом входе зависит направление переключения гирлянд. На объединенные тактовые входы С1 и С2 поступают импульсы с задающего генератора.

Последовательность импульсов, поступающая на вход регистра, формируется с помощью мультиплексора DD1.2. Если на адресный вход подан код 0, на вход регистра DD4 поступают импульсы высокого уровня со скважностью 3/2, их частота в три раза меньше частоты задающего генератора. При этом последовательность зажигания гирлянд соответствует эффекту "бегущие огни". Когда на адресном входе присутствует код 2, на выходе мультиплексора появляются импульсы скважности 3. В этом случае образуется эффект "бегущая тень". Если же на адресном входе код 1 или 3, на выход мультиплексора проходит сигнал с выхода первого разряда счетчика DD3.1. Сигнал имеет форму меандра, а частота импульсов в шесть раз меньше частоты задающего генератора. Такая последовательность импульсов необходима для получения "накапливающегося" включения - выключения гирлянд.

Автоматическая смена эффектов и направления переключения гирлянд происходит благодаря тому, что адресные входы мультиплексора DD1.2, а также управляющий вход EL регистра DD4 подключены к старшим разрядам счетчика на микросхеме DD3.

При включении питания в регистре DD4 оказывается случайная информация, однако предварительной установки его не требуется, поскольку в течение трех первых периодов генератора эта информация "выталкивается" из регистра.

На транзисторах VT2-VT4 и тринисторах VS1-VS3 собраны электронные ключи, управляющие гирляндами, включенными в розетки Х2-Х4.

В блок питания устройства входят понижающий сетевой трансформатор Т1, выпрямительные мосты VD1 и VD2 и стабилизатор на микросхеме DA1.

В переключателе применимы цифровые микросхемы серий К155, К555, КР1533. Интегральный стабилизаторDA1, кроме указанного на схеме, может быть КР142ЕН5В. Транзисторы - любые из серий КТ315, КТ3102 (VT1), КТ316, КТ3107 (VT2-VT4). На месте моста VD1 может быть КЦ402 или КЦ405 с буквенными индексами А, В, Ж, И, а на месте VD2 - любой из этих серий. Тринисторы - КУ201К, КУ201Л, КУ202Л-КУ202Н. Светодиод HL1 - АЛ307 с любым буквенным индексом. Конденсаторы - К50-35, К50-40. Постоянные резисторы - МЛТ-0,125, переменный R2 - СПЗ-4АМ. Понижающий трансформатор с напряжением на вторичной обмотке 7...10 В при токе нагрузки не менее 300 мА.

Большинство деталей монтируют на печатной плате из двустороннего фольгированного стеклотекстолита. Поскольку автомат имеет гальваническую связь с сетью, плату необходимо расположить в корпусе из изоляционного материала, на стенке которого укрепить розетки Х2-Х4 для подключения гирлянд.

Правильно собранное из исправных деталей устройство в налаживании не нуждается. При необходимости изменить частоту задающего генератора следует подобрать конденсатор С1 (плавно частоту регулируют переменным резистором R2). Последовательность чередования эффектов и направления переключения гирлянд можно изменить, соединив соответствующим образом выходы делителя частоты (DD2) и счетчика DD3 с информационными входами мультиплексора DD1.2 и входом EL регистра DD4.

Автор: А. Шитов, г. Иваново; Публикация: Н. Большаков, rf.atnn.ru

Смотрите другие статьи раздела Цветомузыкальные установки.

Читайте и пишите полезные комментарии к этой статье.

<< Назад

Последние новости науки и техники, новинки электроники:

Кратковременное голодание и работа мозга 25.11.2025

На фоне роста популярности интервального голодания многие опасаются, что отказ от еды на несколько часов может обернуться снижением концентрации, ухудшением памяти и общим "затуманиванием" сознания. Однако современные исследования позволяют иначе взглянуть на эту тему. Научный обзор, включивший свыше семидесяти независимых экспериментов и более 3,5 тысячи участников, показал: здоровые взрослые, которые не ели от десяти до двенадцати часов, выполняли когнитивные тесты так же качественно, как и те, кто принимал пищу перед испытанием. Память, скорость реакции, логическое мышление и внимание оставались на прежнем уровне, что опровергает распространенный бытовой миф. Доктор Дэвид Моро, профессор психологии из Университета Окленда в Новой Зеландии, подчеркивает, что представления о "головной туманности" во время голода часто оказываются преувеличенными. Он отмечает, что люди склонны связывать чувство голода с низкой энергией, раздражительностью и невозможностью сосредоточиться, хотя че ...>>

Умная розетка TP-Link Tapo P410M 25.11.2025

Компания TP-Link выпустила на рынок новую уличную розетку Tapo P410M. Она получила поддержку универсального стандарта Matter и стала еще одним шагом в сторону единой экосистемы умных устройств. Особенность Tapo P410M заключается в том, что она рассчитана на работу в сложных климатических условиях. Устройство функционирует при температуре от -20 до +50 °C и защищено от дождя, влаги и пыли по стандарту IP54. Благодаря этому розетка безопасно используется на открытом воздухе, будь то внутренний двор, садовая зона или наружное освещение возле дома. Компания TP-Link также акцентировала внимание на удобстве подключения. Розетка поддерживает Wi-Fi 2,4 ГГц и Bluetooth LE, что избавляет от необходимости покупать отдельный хаб. Настройка выполняется через фирменное приложение Tapo или с использованием QR-кода на корпусе, что особенно удобно при установке в труднодоступных местах. После первичной конфигурации управление устройством доступно из приложения или с помощью голосовых помощников A ...>>

Игровой монитор Sony PlayStation Gaming Monitor 24.11.2025

На презентации State of Play компания Sony представила устройство, которое может изменить представления о фирменной экосистеме PlayStation, - свой первый игровой монитор под этим брендом. PlayStation Gaming Monitor, как официально назвали новинку, ориентирован сразу на две аудитории: владельцев консолей и пользователей ПК. Для компьютерных систем, включая macOS, поддерживается частота обновления до 240 Гц с технологией переменной частоты VRR, а для консолей PlayStation 5 и PlayStation 5 Pro частота ограничена 120 Гц, что соответствует архитектуре и возможностям самих приставок. Основу устройства составляет 27-дюймовая IPS-панель с разрешением QHD 2560?1440 пикселей, обеспечивающая высокую четкость и широкий угол обзора. Отдельное внимание продукция заслужила благодаря функции, не встречавшейся ранее в мониторах Sony. В нижней части корпуса находится встроенная выдвижная док-станция для беспроводной зарядки контроллеров DualSense. Такой подход позволяет избавиться от отдельных зар ...>>

Случайная новость из Архива

Телевизоры TCL Q10L QD-Mini 16.03.2025

Компания TCL представила новую серию телевизоров Q10L QD-Mini LED, предлагая модели с диагональю от 65 до 98 дюймов. Новинка оснащена передовыми технологиями отображения и интеллектуальными системами, обеспечивающими высокую четкость изображения и удобство использования.

Линейка Q10L создана на основе модели Q10K Mini LED TV, выпущенной в 2024 году. В серию входят четыре варианта диагоналей: 65, 75, 85 и 98 дюймов. Важной особенностью телевизоров стало использование искусственного интеллекта DeepSeek AI, который делает интерфейс Smart TV адаптивным и интуитивно понятным. Дополнительно модели оснащены фирменной системой Fuxi AI, автоматически регулирующей параметры изображения, такие как контрастность, яркость и резкость, в зависимости от контента.

Ключевым элементом экранной технологии стал светодиодный дисплей QD-Mini LED. Он обеспечивает выдающуюся контрастность и улучшенную пиковую яркость, что особенно важно для динамичных сцен и режима HDR. Стандартная модель Q10L достигает пиковой яркости 4500 нит, а более продвинутый вариант Q10L Pro - 6500 нит, что значительно снижает блики и улучшает детализацию изображения даже в ярко освещенных помещениях.

Коэффициент контрастности 7000:1 позволяет телевизорам передавать насыщенные черные и яркие белые оттенки. В Q10L используется 1680 зон локального затемнения, что дает возможность более точно управлять яркостью в разных частях экрана. Модель Q10L Pro превосходит этот показатель, предлагая 3024 зоны затемнения, что делает изображение еще более реалистичным.

Для повышения качества цветопередачи телевизоры снабжены технологией Butterfly Wing Brilliance и широкой цветовой палитрой DCI-P3, охватывающей 98% спектра. Цвета воспроизводятся с высокой точностью (дельта E<0,99), а специальное покрытие экрана с коэффициентом отражения 0,5% минимизирует блики, сохраняя четкость изображения даже при ярком внешнем освещении.

Дизайн линейки Q10L выполнен в ультратонком формате ZeroBorder, создавая эффект практически безрамочного экрана. В комплекте идет магнитное настенное крепление, позволяющее добиться "парящего" эффекта при установке телевизора на стене.

С точки зрения функциональности Q10L поддерживает порты HDMI 2.1, обеспечивающие частоту обновления до 144 Гц при разрешении 4K и до 240 Гц при пониженных разрешениях. Это делает серию отличным выбором для геймеров, особенно благодаря поддержке технологий VRR (переменная частота обновления) и ALLM (автоматический режим низкой задержки), обеспечивающих плавное изображение и быструю реакцию на действия игрока.

Начальная стоимость TCL Q10L составляет 826 долларов за 65-дюймовую модель, а вариант Q10L Pro предлагается по цене от 992 долларов. Сочетание передовых технологий, высокой яркости и инновационного дизайна делает эти телевизоры одними из самых привлекательных решений на рынке.

Другие интересные новости:

▪ Микро-ПК Intel Edison

▪ Носимый дисплей с яркостью 5000 кд/м2

▪ Перевод языка жестов в реальном времени

▪ Хороший пример тоже заразителен

▪ Робот пошел по грибы

Лента новостей науки и техники, новинок электроники

Интересные материалы Бесплатной технической библиотеки:

▪ раздел сайта Зарядные устройства, аккумуляторы, батарейки. Подборка статей

▪ статья Перевернутые картинки. Энциклопедия зрительных иллюзий

▪ статья Какой длины может достигать хоботок бабочки? Подробный ответ

▪ статья Главный инженер проекта. Должностная инструкция

▪ статья Светодинамическое устройство Бегущая волна. Энциклопедия радиоэлектроники и электротехники

▪ статья Фокус с коробкой домино. Секрет фокуса

Оставьте свой комментарий к этой статье:

Имя:


E-mail (не обязательно):


Комментарий:





Главная страница | Библиотека | Статьи | Карта сайта | Отзывы о сайте

www.diagram.com.ua

www.diagram.com.ua
2000-2025