Menu Home

Бесплатная техническая библиотека для любителей и профессионалов Бесплатная техническая библиотека


ЭНЦИКЛОПЕДИЯ РАДИОЭЛЕКТРОНИКИ И ЭЛЕКТРОТЕХНИКИ
Бесплатная библиотека / Электрику

Виды контактных соединений. Энциклопедия радиоэлектроники и электротехники

Бесплатная техническая библиотека

Энциклопедия радиоэлектроники и электротехники / Электромонтажные работы

Комментарии к статье Комментарии к статье

Существуют различные технологические способы выполнения контактных соединений токоведущих частей электроустановок: электросварка контактным разогревом и угольным электродом, газоэлектрическая, газовая, термитная, контактная стыковая и холодная сварка давлением, пайка, опрессовка, скрутка, стягивание болтами (винтами) и т. д.

Электросварку контактным разогревом применяют для оконцевания, соединения и ответвления алюминиевых проводов сечением до 1000 мм, а также для соединения алюминиевых жил с медными; сварку контактным разогревом с использованием присадочных материалов - для соединения и оконцевания алюминиевых многопроволочных жил проводов и кабелей сечением до 2000 мм2, электросварку угольным электродом - для соединения алюминиевых шин различных сечений и конфигураций; газоэлектрическую сварку - в основном для соединения алюминиевых и медных жил. Достоинство газоэлектрической сварки состоит в том, что ее выполняют без флюсов, недостаток - относительно громоздкое оборудование плюс использование дорогого газа. По этой причине газоэлектрическую сварку применяют преимущественно для контактного соединения шин из алюминиевых сплавов и медных шин.

Для соединения медных и алюминиевых проводов различных сечений и конфигураций применяется газовая сварка (при этом необходимо громоздкое оборудование).

Термитной сваркой соединяют стальные, медные и алюминиевые провода и шины всех сечений. Наиболее целесообразно ее применение для соединения неизолированных проводов линий электропередач в полевых условиях. Для выполнения термитной сварки необходимо несложное оборудование, технологически она простая, но отличается повышенной пожароопасностью. Еще одно требование - создание специальных условий для хранения термитных патронов и спичек. Термитно-тигельную сварку используют при соединении стальных полос контуров заземления и грозозащитных тросов.

Стыковая контактная сварка применяется при соединении алюминиевых шин с медными.

Холодная сварка давлением применяется при соединении алюминиевых и медных шин средних сечений и однопроволочных проводов сечением до 10 мм . Для ее выполнения не требуется дополнительных материалов и контактной арматуры.

Соединения алюминиевых и медных проводов любого сечения выполняют пайкой; этот способ не требует сложного оборудования, но трудоемок.

Опрессовка используется для выполнения контактных соединений алюминиевых, сталеалюминиевых и медных изолированных и неизолированных проводов сечением до 1000 мм как в кабельных, так и на воздушных линиях. При оконцевании и соединении проводников особо тщательно необходимо подбирать наконечники, гильзы, а также пуансоны и матрицы.

Скручивание проводов и их соединение с помощью соединителей используют на линиях связи.

Использование способа контактного соединения зависит от материалов соединяемых проводников, сечения, формы и напряжения электроустановки, условий монтажа.

Воздушные линии (провода) до 1 кВ в пролетах соединяют скручиванием в овальных трубках, однопроволочные провода допускается соединять скручиванием с последующей пайкой или сваркой внахлестку (сварка встык однопроволочных проводов не допускается).

В петлях провода анкерных опор соединяют анкерными и ответвительными клиновыми зажимами, скручиванием в овальных трубках, плашечными или аппаратными прессуемыми зажимами и сваркой.

Подготовку проводников к контактному соединению проводят в зависимости от способа выполнения соединения. Так, при соединении или оконцевании многопроволочных жил пайкой концы разделывают ступенчато или со скосом под углом 55°, чтобы образовался контакт между трубчатой частью наконечника (гильзы) и проволочками каждого повива. При оконцевании или соединении секторных или сегментных жил специальным инструментом или с помощью пассатижей их скругляют, чтобы жила могла легко войти в полость трубчатой части наконечника или гильзу. Подготовка контактных концов плоских проводников под сварку включает рихтовку и обработку кромок.

Для того чтобы обеспечить металлический контакт между соединяемыми проводниками, их контактные поверхности предварительно очищают от всякого рода пленок, применяя при этом смывание, химическое растворение пленок и механическую очистку; часто эти способы используют совместно. Эффективна механическая очистка в сочетании со смыванием или растворением. Способы очистки поверхностей выбирают в зависимости от материалов контактных элементов, наличия на них защитных металлических покрытий, вида пленок и способа выполнения контактного соединения.

Самый простой способ очистки поверхностей - механический, с помощью стальных щеток и щеток из кардоленты. Контактные поверхности алюминиевых проводников очищают особенно тщательно, нанеся предварительно слой технического вазелина или других защитных смазок для исключения повторного окисления поверхностей соединяемых элементов. Под слоем смазки с помощью специальных щеток внутренние чистят контактные поверхности алюминиевых овальных или трубчатых соединителей. На специализированных заготовительных участках для очистки контактных поверхностей применяют вращающиеся щетки.

Покрытые масляными пленками поверхности предварительно обезжиривают растворителями, а затем очищают механическим способом до металлического блеска.

С целью предотвращения повторного загрязнения соединяемые поверхности защищают. Защиту выбирают в зависимости от способа выполнения контактного соединения, материала контактных элементов и условий эксплуатации соединений. Так, при контактной сварке или пайке поверхности соединяемых элементов защищают от окисления флюсами, а если применяют соединение болтами, опрессовкой или скруткой, то контактными смазками.

Защитные контактные смазки (пасты) должны иметь высокую адгезию, обладать относительно высокой степенью каплепадения, быть химически нейтральными, стабильными во времени и эластичными. В качестве защитных контактных смазок и паст используются конденсаторный вазелин, кварцевазелиновая паста и др. Смазки наносят тонким слоем.

Правильное и качественное выполнение операций по соединению, ответвлению и оконцеванию жил проводов и кабелей определяет надежность эксплуатации внутренней и наружной электропроводок. Эти элементы проводок должны обладать необходимой механической прочностью и малым электрическим сопротивлением, сохраняя эти свойства на все время эксплуатации.

Для устройства электропроводки используются провода и кабели с алюминиевыми и медными жилами. По экономическим соображениям электропроводка, как правило, выполняется проводами и кабелями с алюминиевыми жилами. Однако алюминий имеет свойства, которые мало способствуют надежности соединения. Одно из них - повышенная (по сравнению с медью) текучесть и окисляемость с образованием токонепроводящих пленок. Окись алюминия создает большое переходное сопротивление, приводящее к ухудшению электрического контакта и чрезмерному его нагреванию. Окисная пленка создает трудности при пайке и сварке проводов, так как она имеет температуру плавления 2050 °C, температура же плавления самого алюминия составляет только 660 °C.

Пленку с контактных поверхностей необходимо удалять и принимать меры против вторичного ее возникновения. Для этого применяют кварцевазелиновую или цинковазелиновую пасты, а также смазку ЗЭС.

Медные проводники также покрываются окисной пленкой, но она незначительно влияет на качество контактного соединения и легко удаляется.

К нарушению контакта приводит также большая разница в коэффициенте линейного теплового расширения алюминия по сравнению с другими металлами. Поэтому алюминиевые провода нельзя спрессовывать в медных наконечниках или присоединять к медным контактам аппаратов. Даже при нормальной эксплуатации через некоторое время провода в местах болтовых и винтовых соединений алюминиевых жил следует периодически подтягивать, так как при изменении температуры окружающей среды они могут сильно нагреваться.

При длительной эксплуатации алюминий начинает "течь" из области с большим давлением в соседнюю область, находящуюся под меньшим давлением. Поэтому винтовые и болтовые контактные соединения алюминиевых жил нельзя пережимать.

В особенно неблагоприятных условиях находятся контакты алюминиевых жил с другими металлами в наружных электропроводках.

Под влиянием влаги, содержащейся в окружающей среде, на контактных поверхностях появляется водяная пленка со свойствами электролита и в месте соединения образуется так называемая гальваническая пара. Алюминий здесь выступает в качестве отрицательного полюса и "теряет" частицы металла, постепенно разрушается, и разрушается контакт. Особенно неблагоприятны в этом отношении соединения алюминия с медью и латунью. Такие контактные поверхности необходимо защищать от проникновения влаги кварцевазелиновой пастой, смазкой ЗЭС или покрывать их третьим металлом - оловом или припоем типа ПОС.

В процессе эксплуатации винтовые и болтовые сжимы соединений алюминиевых и медных проводов требуют контроля и периодического подтягивания. Однако для электропроводок, например, в дачных домиках этот способ соединения проводников

наиболее приемлем, так как он прост и не требует специального инструмента и аппаратуры для соединения проводов.

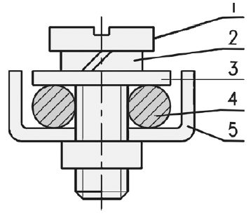
Конструкция зажима для соединения алюминиевых жил должна обеспечивать следующие свойства:

- постоянство давления на провода при появлении их текучести;

- устройство, предохраняющее провода от растекания из-под контактного винта;

- гальваническое покрытие деталей.

Этим требованиям отвечает зажим, специально разработанный для соединения алюминиевых жил. Пружинная шайба зажима обеспечивает постоянство давления на присоединяемые провода, а упор предохраняет выдавливание провода из-под контактного зажима. В некоторых конструкциях пружинная шайба и упор, ограничивающий растекание, выполняются в виде одной шайбы-звездочки. Собирать зажим необходимо со всеми деталями, так как отсутствие любой из них обязательно приведет к ухудшению контакта.

Виды контактных соединений
Рис. 30. Зажим для присоединения алюминиевых проводов: 1- винт; 2 - пружинная шайба; 3 - шайба или основание контактного зажима; 4 - токо- ведущая жила; 5 - упор, ограничивающий растекание алюминиевого проводника

Оконцевание алюминиевых жил под винтовой зажим выполняется в виде кольца, для медных жил - в виде кольца и стержня.

Последовательность присоединения алюминиевых жил сечением до 10 мм:

1) с конца жилы снимают изоляцию на длине, достаточной для выполнения кольца. Нож направляют под углом 10-15° к поверхности провода, чтобы, срезая изоляцию, он скользил по поверхности жилы. Нельзя держать нож перпендикулярно проводу, так как в этом случае можно надрезать и надломить жилу. Для снятия изоляции с проводов сечением до 4 мм применяют специальные клещи КСИ;

2) жилу зачищают наждачной или стеклянной бумагой до металлического блеска и смазывают тонким слоем кварцевазелиновой пасты;

3) подготовленный конец жилы загибают круглогубцами в кольцо. Загибать провода следует по часовой стрелке, т. е. по направлению вращения винта. Внутренний диаметр кольца должен быть несколько больше, чем диаметр контактного винта;

4) провод зажимают винтом на пластине контактного вывода, ввертывая его в нарезанное отверстие или затягивая гайкой.

Гибкие медные жилы сечением 1-2,5 мм оконцовывают в виде кольца с последующей полудкой в следующем порядке. С провода снимают примерно 25-30 мм изоляции, зачищают жилы наждачной бумагой до металлического блеска, скручивают проволочки в стержень, загибают в кольцо, покрывают кольцо канифолью или ее раствором в спирте, затем окунают на 1-2 с в расплавленный припой П0С-40. После остывания провод изолируют до кольца.

Многопроволочную медную токоведущую жилу сечением 1,0-2,5 мм в некоторых видах соединений оконцовывают в виде стержня с полудкой припоем П0С-40.

Контактные зажимы штепсельных розеток до 10 А и выключателей от 4 А и выше допускают присоединения медных и алюминиевых проводов сечением от 1 до 2,5 мм, а для выключателей 1 А - только медных жил проводов сечением от 0,5 до 1 мм.

Присоединение алюминиевых проводов в зажиме обязательно выполняется с оконце- ванием в виде колечка, медных - в виде колечка и стержнем. Колечко алюминиевого провода перед вводом в контакт зачищают и смазывают кварцевазелиновой или цинковазелиновой пастой. В штепсельных розетках до 10 А к одному контакту можно присоединить не более двух медных или алюминиевых проводов сечением до 4 мм2.

Соединение алюминиевых или медных проводов электропроводки с медными проводами осветительной арматуры выполняется с помощью специальной зажимной колодки. Провода зажимаются между пластинами, имеющими насечки и отверстия с резьбой для зажимных винтов. На винты должны быть надеты пружинящие разрезные шайбы.

Виды контактных соединений
Рис. 31. Оконцевание проводов.

Виды контактных соединений
Рис. 32. Опрессовка алюминиевых проводов гильзами ГАО: а - односторонняя опрессовка; б - двухсторонняя опрессовка

В светильниках патроны для ламп накаливания имеют контактные зажимы под кольцо, а также втычного типа для присоединения прямых концов медных жил проводов. Присоединяя провода, необходимо помнить, что центральный контакт патрона подключается к фазному проводу, а контакт, присоединенный к гильзе цоколя, - к нулевому.

Провода, выходящие из патрона, рекомендуется дополнительно изолировать ПВХ- трубкой.

Широкое распространение получил способ соединения и оконцевания алюминиевых и медных проводов и кабелей опрессовкой, которая обеспечивает надежный электрический контакт и необходимую механическую прочность, кроме того, проста в исполнении. Опрессовку выполняют ручными клещами, механическими и гидравлическими прессами с помощью сменных матриц и пуансонов. Для соединения жил проводов и кабелей служат гильзы, для оконцевания - наконечники.

Технологический порядок опрессовки алюминиевых жил в соединительных гильзах и оконцевание кабельными наконечниками:

1) в зависимости от сечения токоведущих жил проводов и кабелей подбирают тип и размеры соединительных гильз и кабельных наконечников. Для опрессовки жил сечением от 2,5 до 10 мм2 используют соединительные алюминиевые гильзы типа ГАО; для сечений более 10 мм - соединительные гильзы типа ГА. Оконцевание жил и кабелей производят с помощью трубчатых алюминиевых наконечников типа ТА или медноалюминиевых типа ТАМ;

2) подбирают матрицы и пуансоны в соответствии с типоразмерами соединительных гильз и наконечников;

3) проверяют наличие в гильзах и наконечниках заводской смазки. При отсутствии смазки гильзы и наконечники зачищают металлическим "ершиком" и смазывают защитной кварцевазелиновой или цинковазелиновой пастой;

4) снимают с концов жил изоляцию: при оконцевании - на длине, равной длине трубчатой части наконечника, при соединении - на длине, равной половине гильзы;

5) зачищают концы токоведущих жил наждачной бумагой или щеткой из кордоленты до металлического блеска, протирают тканью, смоченной в бензине, и сразу же покрывают кварцевазелиновой пастой;

6) надевают на подготовленные и спрессованные жилы наконечник или гильзу. При оконцевании жилу вводят в наконечник до упора, при соединении - так, чтобы торцы соединяемых жил соприкасались между собой в середине гильзы;

7) устанавливают трубчатую часть наконечника или гильзы в матрицу и опрессовывают;

8) обработав острые края гильз, соединение изолируют.

Не разрешается на алюминиевую жилу напрессовывать медный наконечник, так как соединение будет непрочным из-за большой разности коэффициента линейного теплового расширения у меди и алюминия.

Порядок опрессовки медных жил и кабелей:

с много- и однопроволочных проводов снимают изоляцию на длине 20-25 мм, укладывают соединяемые жилы параллельно, не скручивая их между собой. Затем обворачивают их двумя слоями медной или латунной фольги толщиной 0,2 мм и шириной 18-20 мм и обжимают место соединения пресс-клещами.

Опрессовку одно- и многопроволочных жил сечением 4 мм и более выполняют в медных трубчатых наконечниках типа Т или в соединительных медных гильзах типа ГМ. Все операции выполняют в такой же последовательности, как и для алюминиевых проводов и кабелей, за исключением наложения кварцевазелиновой и цинковазелиновой пасты.

Запрещается производить опрессовку при помощи молотка и зубила.

Пайкой и сваркой соединяют и ответвляют провода в тех случаях, когда нельзя применить все остальные - опрессовку, винтовые сжимы и сварку. Требования к пайке те же: она должна обеспечивать надежность электрического контакта и необходимую прочность.

Для получения качественной пайки необходимо, во-первых, правильно выбрать припой, во-вторых, удалить пленку окиси соединяемых контактных поверхностей. При соединении медных жил пленка окиси удаляется перед пайкой, при соединении алюминиевых жил - в процессе пайки.

Пайка создает хороший электрический контакт, но это соединение непрочное, поэтому провода перед пайкой надо скручивать.

Пайку медных жил сечением 1,0-10 мм2 производят паяльником. Для пайки применяют мягкие оловянисто-свинцовые припои марки ПОС.

При пайке медных жил окись удаляется путем зачистки поверхностей наждачной бумагой или напильником. В качестве флюса применяется канифоль или ее раствор в спирте (соотношение частей 1:1), а также паяльный жир.

Не рекомендуется при пайке медных жил применять в качестве флюса травленую соляную кислоту или нашатырь, так как они разрушающе действуют не только на пленку окиси, но и на саму медную жилу.

Температура разогрева места пайки должна быть на 30-50 °C выше температуры плавления припоя и флюса. Низкая температура дает так называемую холодную пайку, имеющую малую механическую прочность и создающую ненадежный электрический контакт.

Для предупреждения повреждений изоляции участок жилы длиной 2-3 мм до среза изоляции не облуживается.

В процессе пайки пленка окиси с поверхности соединяемых жил удаляется механически (под слоем расплавляемого припоя) или химически (путем применения специальных флюсов). При определенной температуре они разрушают пленку окиси. В этом и состоит особенность пайки и сварки алюминиевых жил.

По окончании пайки остатки флюса должны быть тщательно удалены, так как они могут вызвать разрушение контакта.

Паять соединения алюминиевых жил в условиях влажного воздуха не рекомендуется из-за возможной коррозии. От воздействия влаги места пайки предохраняют защитными покровами.

Пайка однопроволочных жил сечением 2,5-10 мм может быть выполнена припоем А с помощью паяльника, другими припоями (ЦО-12, ЦА-15) с помощью бензиновой паяльной лампы. Припой А устойчив против коррозии, удобен при пайке и облуживании жил. Окисная пленка алюминия разрушается механическим путем, когда палочкой припоя натирают провод, поэтому флюс при пайке не нужен.

Соединение и ответвление медных жил сечением до 6 мм (рис. 33) выполняется пропаянной скруткой. Скрутка с последующей пропайкой является способом соединения и ответвления однопроволочных медных и многопроволочных проводов марок ПР, ПВ, ПРВД, ПРД сечением 1,5-6 мм в открытых электропроводках на роликах и изоляторах. Этот способ соединения и ответвления применяют также в электропроводках, выполняемых плоскими проводами ППВ и другими, когда ответвительные коробки не имеют вкладышей с контактными зажимами, а также в некоторых других случаях. Например, при соединении медного провода ответвления от воздушной линии сечением 4-6 мм с медными проводами ввода сечением 2,5 мм .

Прост по исполнению способ соединения проводов скруткой, но он требует последующей пропайки соединения, так как даже качественно выполненная скрутка имеет переходное контактное сопротивление в несколько раз выше, чем при других способах соединения - опрессовке, пайке, сварке, болтовом или винтовом соединении.

Виды контактных соединений
Рис. 33. Соединение и ответвление медных проводов марок ПВ, ПР, ПРД, ПРВД

При скрутке провода имеют мало контактных точек и при протекании через соединение тока контакт может перегреваться, что иногда бывает причиной пожара. По этой причине соединение скруткой без пропайки не допускается.

Технология соединения и ответвления медных проводов заключается в следующем. Для соединения 2-х кусков провода необходимо плотно скрутить проволочки токопроводящих жил, чтобы они не раскручивались, и скрестить провода. Концом левого провода делают 8-10 оборотов вокруг правого, а концом правого делают 8-10 оборотов вокруг левого провода, но в другом направлении.

Места соединения скруткой должны быть длиною не менее 10-15 диаметров соединительных жил. Соединение обжимают плоскогубцами и пропаивают припоем ПОС-30 или ПОС-40. Пропаянную скрутку изолируют на всю длину соединения с обязательным захватом незащищенной изоляции провода. Соединение между собой двух скрученных проводов выполняют вразбежку.

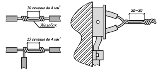
При пайке однопроволочных алюминиевых жил сечением 2,5-10 мм соединение и ответвление производят в виде двойной скрутки с желобком (рис. 34). С жил снимают изоляцию, зачищают до металлического блеска наждачной бумагой или кордовой лентой, соединяют внахлестку двойной скруткой с образованием желобка в месте касания жил.

Виды контактных соединений
Рис. 34. Соединение однопроволочных алюминиевых проводов пайкой двойной скруткой с желобком

Соединение нагревают паяльной лампой или паяльником до температуры начала плавления припоя. Палочкой припоя А с усилием потирают с одной стороны. В результате трения пленка окиси сдирается и желобок начинает облуживаться и заполняться припоем.

Аналогично облуживают жилы и заполняют припоем желобок с другой стороны. Одновременно облуживают внешние поверхности и места скрутки жил. После остывания место соединения изолируют.

Сварка применяется для оконцевания и соединения токоведущих жил проводов и кабелей всех сечений и для алюминиевых жил с медными при сечении жил не более 10 мм. Этот способ соединения требует применения специальных флюсов, сварочных аппаратов и другого специального оборудования.

Автор: Банников Е.А.

Смотрите другие статьи раздела Электромонтажные работы.

Читайте и пишите полезные комментарии к этой статье.

<< Назад

Последние новости науки и техники, новинки электроники:

Видеоигры, образ жизни и масса тела 24.01.2026

Видеоигры давно стали неотъемлемой частью повседневной жизни миллионов людей и перестали восприниматься исключительно как форма досуга. Однако по мере роста времени, проводимого за экраном, все чаще возникает вопрос о том, как подобные привычки отражаются на здоровье. Новое исследование позволило по-новому взглянуть на связь между увлечением видеоиграми, образом жизни и риском набора лишнего веса. Ученые обратили внимание на то, что избыточная масса тела чаще встречается среди людей, активно играющих в компьютерные игры, по сравнению с теми, кто либо вовсе не играет, либо делает это эпизодически. Особенно заметной эта тенденция оказалась у игроков, которые посвящают видеоиграм более 10 часов в неделю. Именно в этой группе чаще фиксировались неблагоприятные поведенческие факторы, включая нарушения питания, сна и недостаток физической активности. Ранее исследователи уже связывали активное пользование компьютером и распространение скоростного интернета с ростом риска избыточного вес ...>>

Игровой смартфон RedMagic 11 Air 24.01.2026

Игровые смартфоны давно перестали быть нишевыми устройствами и превратились в самостоятельный класс мобильной электроники, где на первый план выходят производительность, экран и система охлаждения. Бренд RedMagic, специализирующийся именно на таких решениях, продолжает развивать свою философию и представил новую модель RedMagic 11 Air, в которой сделан акцент на сочетание высокой мощности и сравнительно тонкого корпуса. Внешне RedMagic 11 Air сохраняет узнаваемый фирменный стиль с прозрачной задней панелью, сквозь которую просматриваются внутренние компоненты устройства. В компании отмечают, что дизайн вдохновлен эстетикой виниловых пластинок, гоночных трасс и геометрического искусства. Центральным визуальным и функциональным элементом остается активный охлаждающий вентилятор с RGB-подсветкой, подчеркивающий игровую направленность смартфона. Одной из ключевых особенностей модели стал 6,85-дюймовый AMOLED-дисплей с разрешением 1.5K и частотой обновления 144 Гц. Производитель назыв ...>>

Зеленый чай и метаболическое здоровье 23.01.2026

Зеленый чай на протяжении многих лет остается объектом пристального внимания ученых, поскольку его регулярно связывают с профилактикой различных хронических заболеваний. Этот напиток давно вышел за рамки повседневной традиции и стал предметом серьезных биомедицинских исследований. Недавняя научная работа показала, что полезные свойства зеленого чая могут быть гораздо шире, чем считалось ранее, особенно в контексте обмена веществ и здоровья кишечника. В рамках исследования ученые наблюдали за 40 добровольцами, среди которых 21 человек имел диагностированный метаболический синдром, а 19 участников были здоровыми взрослыми. В течение 28 дней одной группе испытуемых давали экстракт зеленого чая, тогда как другая группа получала плацебо. Такой подход позволил сравнить влияние активных компонентов напитка на разные показатели здоровья. Результаты показали, что у участников, принимавших экстракт зеленого чая, уровень глюкозы в крови оказался ниже, чем у тех, кто получал плацебо. Этот эф ...>>

Случайная новость из Архива

Фотокамеры Canon будут собирать роботы 23.05.2012

К 2015 г. Canon планирует полностью избавиться от ручных операций на своих заводах по сборке фотокамер. Компания объявила о намерении полностью избавиться от ручного труда на своих сборочных линиях, передает Associated Press.

Полностью роботизировать сборку фотокамер планируется, по словам пресс-секретаря компании Дзюна Мисуми (Jun Misumi), в течение нескольких лет. Точный срок он назвать отказался, но вероятным назвал 2015 г.

Целью данного проекта является сокращение операционных расходов. В Canon не сообщили, какой экономии они намерены достичь. Представитель компании добавил, что они не собираются сокращать штат - сотрудники, которые будут освобождены от ручных операций, будут выполнять в компании другие обязанности. Canon уже частично автоматизировала производство, однако люди по-прежнему являются его неотъемлемой частью. В компании убеждены в том, что со временем роботы смогут самостоятельно выпускать некоторые виды продукции, без человеческого участия. В компании не отметили, о каких товарах идет речь.

Другая японская компания - Toyota Motor - также работает над полной автоматизацией сборочных линий, и не только ради экономии, но и ради получения более высокого качества автомобилей, добавляет AP. Агенство отмечает, что новые технологии, в частности, используются для сборки автомобилей Lexus.

Canon является крупнейшим производителем фотокамер в мире. Согласно IDC, в 2010 г. вендору принадлежало 19% мирового рынка. На втором месте расположилась Sony с долей 16,9%, на третьем - Nikon с долей 12%. По итогам 2010 г. объем мировых поставок достиг 141 млн устройств, на 10% больше в сравнении с 2009 г. Результаты исследования за 2011 г. компания IDC в открытом не публиковала.

Выручка Canon по итогам 2011 финансового года, завершившегося 31 декабря 2011 г., сократилась на 4% по сравнению с годом ранее до 3,56 трлн иен ($46,4 млрд). Чистая прибыль практически не изменилась, составив 248,6 млрд ($3,2 млрд) иен по сравнению с 246,6 млрд иен в 2010 г. Как и другие производители, включая Nikon, компания понесла потери в результате прошлогоднего наводнения в Таиланде. Влияние на результаты также оказало землетрясение в Японии. Согласно годовому отчету, оба стихийных бедствия привели к снижению выручки приблизительно на 230 млрд иен и операционной прибыли примерно на 120 млрд иен.

В 2012 г. Canon не ожидает существенного улучшения финансовых показателей. Рост выручки прогнозируется на уровне 5,4%. Прибыль ожидается на уровне прошлого года. Собственный прогноз на текущий год оказался ниже прогноза независимых аналитиков.

Другие интересные новости:

▪ Кислородно-ионная батарея

▪ Передатчик Analogix SlimPort ANX7688

▪ Взрослые и дети воспринимают время по-разному

▪ Светодиодная лента для умного дома Aqara LED Strip T1

▪ Повышение качества марсианского грунта

Лента новостей науки и техники, новинок электроники

 

Интересные материалы Бесплатной технической библиотеки:

▪ раздел сайта Важнейшие научные открытия. Подборка статей

▪ статья Спи скорей, твоя подушка нужна другому. Крылатое выражение

▪ статья Почему закаты багряные? Подробный ответ

▪ статья Ольха черная. Легенды, выращивание, способы применения

▪ статья Симисторный регулятор с защитой от перегрузки. Энциклопедия радиоэлектроники и электротехники

▪ статья Фрикционный верньер для радиоприемника. Энциклопедия радиоэлектроники и электротехники

Оставьте свой комментарий к этой статье:

Имя:


E-mail (не обязательно):


Комментарий:





Главная страница | Библиотека | Статьи | Карта сайта | Отзывы о сайте

www.diagram.com.ua

www.diagram.com.ua
2000-2026