Бесплатная техническая библиотека
Расширение частотного диапазона ДМВ приставки. Энциклопедия радиоэлектроники и электротехники

Энциклопедия радиоэлектроники и электротехники / Телевидение
Комментарии к статье
До недавнего времени было выпущено много типов приставок-селекторов ДМВ, рассчитанных на прием телевизионных сигналов на любом из 21 каналов ДМВ (с 21 -го по 41 -и) и преобразование их в сигналы метрового диапазона (1-й и 2-й канал). Отсутствие блока ДМВ в телевизорах предшествующих поколений заставило многих приобрести приставки ДМВ.
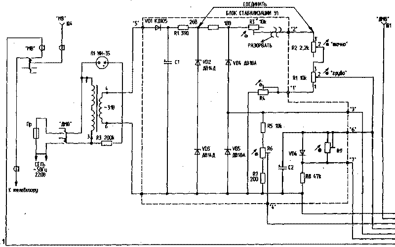
В Витебске недавно был включен передатчик на 48-й канал. Для расширения принимаемого диапазона до 59-го канала предлагаю простейшую доработку приставки-селектора "Умань" и ей подобных с диапазоном 21 ...41 каналы. Доработка заключается в повышении напряжения настройки (UH) варикапов до 26 В (вместо 18 В). Для этого необходимо разорвать связь между резисторами R2 и R3 блока стабилизации и подать вывод 3 резистора R2 на точку R1 (рис.1).
(нажмите для увеличения)

Можно сделать это коммутацией через тумблер (рис.2) - тогда сохраняется диапазон 21...41 канал.
Рис.2
После этого - произвести настройку на 48-й канал (или другой этого порядка) как обычно. Эта доработка аналогичным образом делается и на других типах приставок-селекторов ДМВ, рассчитанных на прием 21...41 каналов. Схемы их практически унифицированы.
Автор: В.Резков, г.Витебск; Публикация: Н. Большаков, rf.atnn.ru
Смотрите другие статьи раздела Телевидение.
Читайте и пишите полезные комментарии к этой статье.
<< Назад
Последние новости науки и техники, новинки электроники:
Власть является ключевым фактором счастья в отношениях
11.03.2026
Исследования семейных и романтических отношений показывают, что длительное счастье пары зависит не только от привычных факторов, таких как доверие, уважение и преданность, но и от более тонких психологических аспектов. Современные ученые ищут закономерности, которые отличают действительно счастливые пары от остальных, чтобы понять, какие механизмы поддерживают гармонию в отношениях.
Группа исследователей из Университета Мартина Лютера в Галле-Виттенберге и Бамбергского университета провела опрос среди 181 пары, которые состояли в совместных отношениях более восьми лет и прожили вместе хотя бы месяц. Участники заполняли анкету, описывая различные аспекты своих отношений, включая распределение обязанностей, эмоциональную поддержку и степень вовлеченности в совместные решения.
Анализ данных показал интересный паттерн: пары, где оба партнера ощущали высокий уровень личной власти, оказывались наиболее счастливыми и удовлетворенными. В данном контексте под властью понимается способност ...>>
Защищенная колонка-повербанк Anker Soundcore Boom Go 3i
11.03.2026
Компания Anker представила новую модель линейки Soundcore - колонку Soundcore Boom Go 3i, ориентированную на активное использование на улице.
Новинка отличается высокой степенью защиты: корпус соответствует стандарту IP68, что обеспечивает водо- и пыленепроницаемость, а ударопрочный дизайн выдерживает падение с высоты до одного метра. За качество звука отвечает 15-ваттный драйвер, обеспечивающий пик громкости до 92 дБ, а технология BassUp 2.0 усиливает низкие частоты, делая звучание более насыщенным.
Колонка обладает автономностью до 24 часов, а LED-индикатор позволяет контролировать уровень заряда батареи. Кроме того, Soundcore Boom Go 3i может выполнять функцию павербанка: согласно внутренним тестам, устройство способно зарядить iPhone 17 с нуля до 40% за один час, что делает его полезным аксессуаром в походах и поездках.
Среди функциональных особенностей модели стоит выделить технологию Auracast, которая улучшает подключение и позволяет создавать стереопару из двух колонок ...>>
Раннее воздержание от алкоголя перестраивает мозг и иммунитет
10.03.2026
Алкогольная зависимость - хроническое расстройство с компульсивным употреблением спиртного, которое влияет не только на поведение, но и на функционирование мозга и иммунной системы. Недавние исследования показали, что даже на ранних этапах воздержания организм начинает перестраиваться, открывая новые возможности для терапии зависимости.
Ученые сосредоточились на пациентах, находящихся в первые недели абстиненции, и зафиксировали значительные изменения в мозговой активности. С помощью функциональной магнитно-резонансной томографии они выявили перестройку сетей нейронных связей, отвечающих за контроль импульсов и принятие решений. Эти изменения могут быть ключевыми для восстановления самоконтроля и снижения риска рецидива.
Одновременно с нейронной перестройкой исследователи наблюдали колебания иммунной системы. В крови повышался уровень цитокинов - сигнальных белков, регулирующих воспалительные процессы. Эти данные свидетельствуют о существовании нейроиммунного взаимодействия, при ...>>
Случайная новость из Архива Intel научит телевизоры узнавать людей
19.06.2012
Intel рассчитывает узнавать пол и возраст телезрителей и выводить на экран телеприемника релевантную рекламу. Телесети без энтузиазма откликнулись на эту идею, так как корпорация намеревается добиваться отчислений за использование новой технологии.
Intel ведет переговоры с телесетями о внедрении технологии распознавания лиц в телевизионных приставках, которая бы позволяла узнавать пол и возраст зрителя и отображать на экране телевизора релевантную рекламу, сообщает Reuters. По мнению представителей Intel, их технология предлагает более точный анализ по сравнению с существующими аналитическими инструментами, вроде тех, которые предлагает американская компания Nielsen. Персональную информацию, связанную с конкретным пользователем, данная технология не будет записывать.
В настоящее время компания ведет переговоры с несколькими операторами, однако ни с одним из них каких-либо соглашений пока не достигнуто. Переговоры длятся несколько последних месяцев и ведутся как минимум с нескольмими провайдерами контента. Intel предлагает постоянно отчислять за использование данной технологии определенный процент, что провайдеров контента не устраивает, тем более что технология новая и не проверенная. Тем временем в Intel подчеркивают, что более точный таргетинг позволит получить финансовую выгоду, которая в конечном счете нивелирует расходы на технологию. Несмотря на сложности, Intel планирует запустить новую технологию на коммерческий рынок в конце 2012 г.
Корпорация Intel производит процессоры Atom CE для телеприставок и является партнером Google по проекту Google TV. Компания принимает активное участие в становлении "умного телевидения" и неоднократно демонстрировала варианты развития этого направления. По мнению аналитиков, запуск технологии распознавания лиц - это новый способ, с помощью которого Intel пытается укрепить свое положение на рынке телевизионных устройств, тем более что проект Google TV нельзя назвать успешным.
В конце прошлого года глава правления Google Эрик Шмидт (Eric Schmidt) заявил, что к лету 2012 г. большинство телевизоров в продаже будет базироваться на платформе Google TV. Однако вендоры не спешат выпускать соответствующие устройства, а Logitech, например, отказалась от этого направления после провальных продаж телеприставки Revue на базе Google TV. Неудача Revue связана с неудобством интерфейса платформы. Фактически пользоваться устройством было сложнее, чем если бы пользователь взять в руки обычный ноутбук и смотрел телеканалы на нем. Ожидается, что конкуренция на рынке телевидения обострится после того, как компания Apple представит собственный телевизор.
|
Другие интересные новости:
▪ Оптический биометрический датчик толщиной 1 мм
▪ Открыта новая форма магнетизма
▪ Ночной сторож - профессия для Интернета
▪ Газированный океан Энцелада
▪ Космические лучи - угроза колонизаторам Марса
Лента новостей науки и техники, новинок электроники
Интересные материалы Бесплатной технической библиотеки:
▪ раздел сайта Цветомузыкальные установки. Подборка статей
▪ статья Дети - цветы жизни. Крылатое выражение
▪ статья Что делал Нерон, пока горел Рим? Подробный ответ
▪ статья Отравление концентрированными кислотами и едкими щелочами. Медицинская помощь
▪ статья Антенна диапазона 2 метра. Энциклопедия радиоэлектроники и электротехники
▪ статья Цветочный дождь. Секрет фокуса
Оставьте свой комментарий к этой статье:
Главная страница | Библиотека | Статьи | Карта сайта | Отзывы о сайте

www.diagram.com.ua
2000-2026