Menu Home

Бесплатная техническая библиотека для любителей и профессионалов Бесплатная техническая библиотека


Приемопередающие KB антенны. Энциклопедия радиоэлектроники и электротехники

Бесплатная техническая библиотека

Энциклопедия радиоэлектроники и электротехники / Антенны КВ

Комментарии к статье Комментарии к статье

О высоте установки антенны

При выборе конструкции приемно-передающей антенны для своей любительской радиостанции коротковолновику приходится принимать во внимание множество факторов, искать компромиссные решения для многих технических вопросов. Один из них - высота установки антенны. Возможности радиолюбителя в этой области (независимо от того, где он проживет - в городе или на селе) весьма и весьма ограничены. Есть ли здесь какие-либо оптимальные решения? В какой-то мере ответ на этот вопрос дают эксперименты, проведенные DJ2NN[1].

Следует подчеркнуть, что измерить зависимость эффективности антенны от высоты ее установки на коротких волнах непросто. Наибольший интерес, естественно, представляют эти данные для больших по протяженности трасс (т. е. для DX связей), а это означает, что на результаты измерений в значительной степени влияет распространение радиоволн в ионосфере (особенно быстрые флуктуации прохождения). Более того, в общем случае эти зависимости могут иметь разный характер для трасс с различной протяженностью и азимутальной направленностью. Повысить достоверность результатов можно лишь многократными повторными измерениями, набором статистических данных.

Приемопередающие KB антенны
Рис. 1. Зависимости эффективности направленной KB антенны от высоты ее установки (1 - DX станции, 2 - "ближняя" зона): а - диапазон 14 МГц; б-диапазон 28 МГц

DJ2NN проводил измерения зависимостей эффективности антенны от высоты ее установки на любительских диапазонах 14. 21 и 28 МГц в режиме приема сигналов DX станций (протяженность трассы не менее 5000 км). Кроме того, измерялись и аналогичные зависимости по сигналам станций, находящихся в "ближней" зоне, где связь обусловлена поверхностной волной. В этих экспериментах DJ2NN использовал антенны "волновой канал", высоту установки которых можно было очень быстро изменять в пределах 2,5 ... 25 м. Им были приняты специальные меры, которые исключали бы ошибки измерений, обусловленные расстройкой антенны при малых высотах ее установки (из-за влияния "земли"). Результаты этих экспериментов для диапазонов 14 и 28 МГц приведены на рис. 1, а и 1, б. Общий ход аналогичных зависимостей для диапазона 21 МГц весьма близок к данным, приведенным на рис. 1, а. Кривые, обозначенные цифрой 1, относятся к измерениям по сигналам DX станций, а цифрой 2-по сигналам станций, находящихся в "ближней" зоне Анализ этих кривых позволяет сделать несколько выводов.

Во-первых, измерение параметров коротковолновой антенны и отработка ее диаграммы направленности по напряженности поля в "ближней" зоне далеко не всегда может дать объективную информацию о ее эффективности при проведении DX связей. Иными словами, измерения в "ближней" зоне - это необходимый, но иногда недостаточный этап в налаживании направленной KB антенны. Во-вторых, в интервале высот 2,5... 15 м эффективность такой антенны на диапазонах 14 и 21 МГц изменяется очень сильно. Может возникнуть такая ситуация, когда более простая и легкая двухэлементная антенна, поднятая на высоту 10...12 м, окажется более эффективной, чем, скажем, трехэлементная антенна, которую радиолюбитель не может поднять выше 5...7 м (из-за большей массы, более громоздкого и тяжелого вращающего устройства и т. д.).

Приемопередающие KB антенны
Рис. 2. Зависимости эффективности направленной УКВ антенны от высоты ее установки: 1-диапазон 432 МГц; 2' - диапазон 144 МГц

И в-третьих, увеличение высоты установки антенны свыше примерно 17 м неоправдано. Эффективность возрастает незначительно, а затраты на изготовление и технические сложности, связанные с установкой и эксплуатацией антенны, увеличиваются во много раз.
Рис. 2 иллюстрирует влияние высоты установки УКВ антенны на ее эффективность для диапазонов 144 (кривая 2) и 432 (кривая 1) МГц. Эти измерения проводились DJ2NN для источника сигнала, удаленного на 20 км. Интересно отметить, что в этом случае зависимости практически не имеют тенденции к насыщению при больших высотах.

Ненаправленные антенны

Большая часть коротковолновиков вынуждена ограничиваться установкой только одной антенны, которую, конечно, стараются сделать многодиапазонной и ненаправленной. Существует множество конструкций подобных антенн, в которых эти требования выполняются в большей или меньшей степени. Одна из таких антенн - "G5RV" (по позывному радиолюбителя, предложившего ее [2] - предназначена для работы на любительских диапазонах 3,5 ... 28 МГц.

Размеры антенны и двухпроводной согласующей линии показаны на рис. 3.а, питание антенны подается коаксиальным кабелем с волновым сопротивлением 75 Ом. Рекомендуемая высота установки антенны над землей или над крышей - около 10 м. Если пролет, в котором устанавливают антенну, меньше 32 м, то концевые отрезки полотна антенны длиной до 3 м можно оставить висящими вниз (т. е. для установки антенны в этом случае подойдет пролет примерно 26 м). Антенна "G5RV" в принципе допускает установку с использованием только одной мачты в виде "INVERTED V", но для того чтобы ее характеристики заметно не ухудшались, угол при вершине должен быть не менее 120°.

Приемопередающие KB антенны
Рис. 3. Многодиапазонная KB "G5RV": а - упрощенная конструкция антенны. б - изолятор; в - устройство двухпроводной линии: г - высокочастотный дроссель.

Самодельная двухпроводная согласующая линия образована двумя проводами, расстояние между которыми поддерживается постоянным изоляторами (рис. 3,б) выполненными из хорошего, негигроскопического диэлектрика (оргстекло, текстолит и т. д.) После соответствующей пропитки можно использовать также дерево или фанеру. Провода линии укладывают в V-образные вырезы на торцах изоляторов и фиксируют небольшими отрезками проводов (рис. 3. 0), пропущенных через отверстия в изоляторах. Согласующая линия должна идти перпендикулярно полотну антенны по крайней мере на длине 6 м.

Для эффективной работы антенны "G5RV" на всех диапазонах ее фидер необходимо подключать к передатчику через согласующее устройство. Поскольку у этой антенны в фидере практически всегда есть в той или иной степени стоячая волна, то применять симметрирующее устройство (BALUN) для перехода от согласующей линии к коаксиальному кабелю нет смысла. Однако для уменьшения излучения с внешней оплетки кабеля (это. в частности, может быть причиной помех телевидению) целесообразно [3] из верхней части фидера сделать высокочастотный дроссель (рис. 3. г). Число витков 8 .. 10,  диаметр намотки около 180 мм, витки скреплены в трех местах липкой лентой.

Приемопередающие KB антенны
Рис. 4. Вариант исполнения многодиапазонной антенны на основе "G5RW: а - конструкция антенны: б - центральный изолятор и подключение фидера.

Еще один вариант многодиаплзонной KB антенны, в основу которой положена "G5RV" [4], приведен на рис. 4. а. На центральной мачте 1 высотой около 12 м под углом примерно 30° друг к другу подвешены два полотна антенны "G5RV". Концы этих полотен через изоляторы 4 крепятся к четырем вспомогательным мачтам 3 высотой около 6 м. В центре, антенны полотна попарно подключены к обшей двухпроводной линии 5 (см. рис. 4.б), которая так же, как и в обычной "G5RV", выполнена воздушной на изоляторах 6. Для крепления концов полотен на мачте 1 служит центральный изолятор 2. Следует отметить, что приведенные размеры не являются критичными. Их можно варьировать в достаточно широких пределах, ориентируясь на возможности радиолюбителя и место, имеющееся в его распоряжении для установки антенны.

В радиолюбительской литературе нередко встречаются описания многодиапазонных горизонтальных антенн, представляющих собой включенные параллельно излучатели (например, полуволновые диполи) на отдельные KB диапазоны. Данный принцип можно применить и для создания антенн с вертикальной поляризацией. Конструкция такой трехдиапазонной KB антенны [5] показана на рис. 5. Металлическая мачта 3, служащая излучателем на диапазоне 14 МГц, установлена на опорном изоляторе 2. В ее верхней части на расстоянии около 350 см от опорного изолятора укреплена диэлектрическая распорка 9. К основанию мачты крепятся (и подключаются к ней электрически) проволочные излучатели 4 на диапазоны 21 и 28 МГц. Натяжение излучателей обеспечивают нейлоновые растяжки 5, которые присоединяют к ним через изоляторы 6. Питается антенна коаксиальным кабелем 8 с волновым сопротивлением 50 Ом, центральную жилу которого подключают к мачте 3, а оплетку к системе противовесов 7. Длины всех излучателей отличаются от значения */4 для соответствующего диапазона, что обусловлено взаимным влиянием излучателей. Приведенные на рис. 5 размеры излучателей были подобраны экспериментально по минимальным значениям КСВ на рабочих диапазонах.

Приемопередающие KB антенны
Рис. 5.

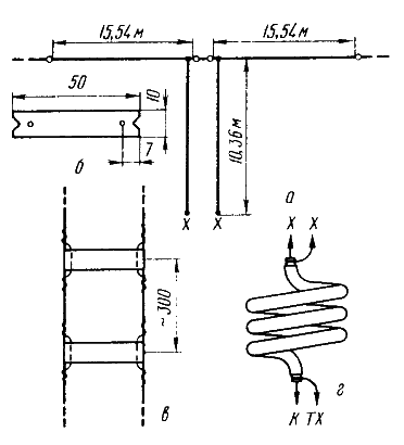
Вариант широкополосной антенны [б], работающей на всех KB диапазонах, включая и 160 м, показан на рис. 6. Антенна представляет собой проволочный излучатель длиной 22,6 м, на расстоянии одной трети от конца которого включена LR-цепь, расширяющая полосу рабочих частот.

Приемопередающие KB антенны
Рис. 6. KB антенна для диапазонов 10..J60 м: а - общий вид: б -LR-цепь; в - согласующий трансформатор.

Эта цепь (рис. 6, б) образована резистором R сопротивлением 370 Ом (6 резисторов сопротивлением 2,2 кОм и максимальной мощностью рассеивания 1 Вт) и катушкой L (55 витков провода диаметром 1 мм, намотка рядовая сплошная на каркасе диаметром примерно 50 мм).

Антенну подключают к фидеру (волновое сопротивление 50 Ом) через согласующий трансформатор (рис. 6, в). Он выполнен на кольцевом магнитопроводе из феррита диаметром примерно 50 мм с начальной магнитной проницаемостью около 20. Каждая из обмоток имеет по 24 витка провода диаметром 1 мм. Антенну подключают к отводу от 18-го витка вторичной обмотки. Точку подключения подбирают экспериментально при налаживании антенны.

Настраивают антенну подбором в первую очередь индуктивности катушки L и точки подключения антенны к согласующему трансформатору. Критерий - минимум КСВ в пределах любительских диапазонов. Хотя в статье отмечается возможность работы антенны даже на диапазоне 160 м, реально, по-видимому, получить удовлетворительные характеристики можно только на частотах 7 МГц и выше.

Влияние "земли"

Описанная выше антенна, так же как и многие другие "проволочные" и штыревые антенны, для своей нормальной (эффективной) работы требует наличия хорошей "радиотехнической земли". В городских (да и не только в городских) условиях ее обычно обеспечивают подключением эквивалента - противовесов. Сколько же противовесов и какой длины могут создать хорошую "радиотехническую землю"? Измерения показывают [7], что их число должно превышать 20 ... 30. При нескольких противовесах (случай очень типичный в радиолюбительской практике) сопротивление потерь составляет примерно 30 Ом. Это означает, что около 50% мощности передатчика теряется. Иными словами, стоит задуматься: что проще - конфликтовать с Государственной инспекцией электросвязи, повышая сверх дозволенных пределов мощность передатчика, или добавить несколько десятков противовесов к антенне и получить ту же самую эффективность радиостанции в целом.

Приемопередающие KB антенны
Рис. 7. Зависимости входного сопротивления штыря от числа противовесов

Типичные зависимости входного сопротивления четвертьволнового штыря (теоретическое значение 37 Ом) от числа четвертьволновых противовесов для различных условий (1 - сухая почва, 2-мокрая, 3 - теоретическое значение) приведены на рис. 7. Не следует, принимая во внимание эти зависимости, удивляться, что GP с тремя противовесами обеспечивает КСВ ~ 1 при питании коаксиальным кабелем 75 Ом (теоретическое значение КСВ ~2). Становится понятной и эффективная работа некоторых вертикальных антенн в широкой полосе частот - потери в "земле" заметно ее расширяют.

Режекторные контуры для KB антенн

Антенны с режекторными контурами ("W3DZZ" и ей подобные) получили широкое распространение в радиолюбительской практике. Они имеют вполне приемлемые характеристики, но с конструктивной точки зрения не совсем удобны. Особые трудности (в изготовлении или приобретении) вызывает конденсатор, входящий в режекторный LC-контур. Он должен иметь вполне определенный номинал и очень высокие электрические параметры, работая в условиях воздействия на него атмосферой влаги.

Режекторный контур для антенн типа "W3DZZ" можно изготовить из отрезка коаксиального кабеля, оплетка которого будет формировать необходимую индуктивность, а "центральная жила- оплетка" создадут необходимую емкость |8].

Приемопередающие KB антенны
Рис. 8. Конструкция режекторного контура на основе коаксиального кабеля

Конструкция такого режекторного контура приведена на рис. 8. На диэлектрический каркас 1 наматывают коаксиальный кабель 2. Концы кабеля 3 пропускают в отверстия каркаса и распаивают (5) в соответствии с рисунком. Скобы 4 служат для подключения полотен антенны 6.

Для простых антенн с режекторными контурами выбор параметров катушки достаточно произволен (надо лишь обеспечить требуемую частоту режекции). В антенне "W3DZZ". кроме того, необходимо иметь и вполне определенное отношение индуктивности катушки L и емкости конденсатора С - без этого нельзя реализовать многодиапазонные свойства антенны.

Направленные антенны

Вращающаяся направленная KB антенна - мечта всех коротковолновиком. Однако изготовить полноразмерную антенну ("волновой канал", "двойной квадрат" и т. д.) многим радиолюбителям не под силу Одна из причин этого - весьма ограниченная площадь на крыше жилого дома, которую коротковолновик может использовать для установки антенны (особенно в домах-башнях). Вот почему в радиолюбительских журналах так часто встречаются описания различных вариантов малогабаритных одно- или многодиапазонных KB антенн.

Приемопередающие KB антенны
Рис. 9. Направленная антенна "DOUBLE-D"

Антенна, эскиз которой приведен на рис. 9, получила название "DOUBLE-D" ("двойная дельта") [9]. Небольшая по габаритам, легкая, она вполне может быть первой конструкцией коротковолновика, желающего повысить эффективность своей любительской радиостанции установкой вращающейся направленной антенны.

На мачте 1 на расстоянии D от ее вершины установлены четыре распорки 2 из бамбука или дерева, пропитанного влагозащитными составами. К концам этих распорок и через растяжки 5 крепятся полотна активного элемента 3 и рефлектора 4. Оба полотна выполнены из медного провода или антенного канатика, а растяжки - из нейлонового шнура. Конфигурация активного элемента и рефлектора напоминает латинскую букву D, откуда и пошло название антенны. Питают антенну по коаксиальному кабелю 6 с волновым сопротивлением 50 Ом.

Длину проволочных элементов антенны в метрах рассчитывают по следующим формулам (f - рабочая частота в МГц):

А = В = 85,1/f

С = 60,2/f

D = 17,8/f

Е = 34/f

Значение частоты f выбирают либо в середине соответствующего любительского диапазона, либо в середине его участка, наиболее интересующего коротковолновика (например, в середине телеграфного участка).

Исходя из данных [9], антенна "DOUBLE-D" практически не уступает двухэлементной антенне "волновой канал" по коэффициенту направленного действия и отношению излучения назад-вперед. Однако она имеет меньшую полосу пропускания, что иллюстрирует рис. 10, на котором приведены зависимости КСВ от частоты (диапазона 28 МГц) для антенны "DOUBLE-D" (кривая 1) и полноразмерного "волнового канала" (кривая 2).

Приемопередающие KB антенны
Рис. 10. Зависимости коэффициента стоячей волны от частоты в диапазоне 10 м для антенн "DOUBLE-D: и двухэлементного "волнового канала"

Настраивают эту антенну подбором длины активного элемента  и рефлектора. На резонансной частоте ее входное сопротивление носит чисто активный характер и составляет примерно 40 Ом.

Используя такой принцип построения антенны, можно изготовить и многодиапазонную конструкцию. В этом случае каждый из активных элементов желательно запитать отдельным коаксиальным кабелем. Эксперименты с двухдиапазонной антенной (14 и 21 МГц) показали, что установка на ту же конструкцию элементов на второй диапазон не изменяет диаграммы направленности антенн. При запитке обоих активных элементов даже по одному коаксиальному кабелю КСВ в пределах обоих любительских диапазонов не превышал 2.

Компактный трехдиапазонныи (14, 21 и 28 МГц) "двойной квадрат" (рис. 11) был предложен. 9Н1GL [10]. По габаритам он не превышает двухднапазонный "двойной квадрат" на 21 и 28 МГц. Эта антенна по существу состоит из двух полноразмерных "двойных квадратов" на диапазоны 21 и 28 МГц, а третий диапазон- 14 МГц получается подключением к элементам диапазона 21 МГц нагрузочных емкостей.

Приемопередающие KB антенны
Рис. 11. Малогабаритный трехдиапазонный двойной квадрат: а - вид спереди; б - вид сбоку; в - конфигурация элементов антенны

На мачте 1 закреплена короткая несущая траверса 2, к которой в свою очередь крепятся скобы 3 "ежа". Применение комбинации "несущая траверса" - "ежи" (каждая из них в отдельности широко используется в "двойных квадратах") позволило получить весьма высокую точку крепления растяжек 6. Антенна вращается вместе с мачтой 1 (двигатель с редуктором установлены у ее основания), поэтому оттяжки крепятся к промежуточному подшипнику 5. Высота мачты примерно 5,5 м, подшипник установлен на 0,8... 1 м ниже точки крепления несущей траверсы. В этом случае при максимальном допустимом угле между мачтой и оттяжками 30° точки крепления оттяжек к крыше будут отстоять от основания мачты примерно на 2.7 м.

Конфигурация элементов "ежей" 3 (их выполняют из стального уголка) показана на рис 11. в. В отогнутые части этих элементов крепят U-образными болтами или зажимами распорки 4 из бамбука. Длина распорок -около 2,4 м. Длина каждой стороны рамки для диапазона 21 МГц составляет 3,6 м, а для диапазона 28 МГц - 2,75 м.

Нагрузочные емкостные элементы, обеспечивающие работу антенны на диапазоне 14 МГц, расположены внутри рамок диапазона 21 МГц (несколько ближе к мачте, чем эти рамки). Они "отключаются" четырьмя режекторными контурами - по два на каждую рамку. Резонансная частота режекторных контуров (до подключения к антенне) -20,2 МГц. Конструктивно они выполнены из коаксиального кабеля так же, как описано в предыдущем разделе обзора. Контуры подключают между рамкой и емкостными нагрузками в точках, обозначенных на рис. 11.

Методика настройки элементов антенны на диапазонах 28 и 21,МГц не отличается от стандартной. На диапазоне 14 МГц антенну настраивают подбором длины элементов - емкостных нагрузок. Если изменение длины этих элементов существенным образом влияет на параметры антенны на диапазоне 21 МГц, то эго свидетельствует о том, что режекторные контуры настроены неточно (т е. не "отключают" полностью емкостную нагрузку при работе на диапазоне 21 МГц).

При питании антенны 50-омным коаксиальным кабелем КСВ не превышало 2 на всех трех диапазонах.

Литература

  1. Hawker P. Technica I Topics. - Radio Communication, 1985, № 4, p. 274-275. 
  2. Yarncy L. G5RV multiband antenna up-to-date. - Radio Communication. 1984. №"6, p. 572-575.
  3. Hawker P. Technical Topics. - Radio Communication, 1982, № 2, p. 142-143.
  4. Dob'ns R. G. QRP. - Radio Communication, 1985, № 3, p. 206.
  5. Doncei D. Antena "sisargas" vertical para 10, 15 у 20 m. - URE, 1984, № 10, n 572.
  6. Johansson F. VK fi - antennen mliltihandantennen. - QIC, 1984, № 12, s. 428.
  7. Servik J. Short ground radial sistcms for short verticals. -QST, 1978, № 4, p. 30-33.
  8. Sommer R. Optimizing coaxial-cable traps.-QST, 1984, № 12, p. 37-42.
  9. Dodd P. Wire beam antennas and the evolution of the "Double-D". -QST, 1984, Л" 10, p. 21-23.
  10. Hawkes J. M. A two clement quad 14, 21 and 28 MHZ antenna for restricted space. - Radio Communication. I984, № 4, p. 300 - 103.

Автор: Б. Степанов (RU3AX); Публикация: cxem.net

Смотрите другие статьи раздела Антенны КВ.

Читайте и пишите полезные комментарии к этой статье.

<< Назад

Последние новости науки и техники, новинки электроники:

Власть является ключевым фактором счастья в отношениях 11.03.2026

Исследования семейных и романтических отношений показывают, что длительное счастье пары зависит не только от привычных факторов, таких как доверие, уважение и преданность, но и от более тонких психологических аспектов. Современные ученые ищут закономерности, которые отличают действительно счастливые пары от остальных, чтобы понять, какие механизмы поддерживают гармонию в отношениях. Группа исследователей из Университета Мартина Лютера в Галле-Виттенберге и Бамбергского университета провела опрос среди 181 пары, которые состояли в совместных отношениях более восьми лет и прожили вместе хотя бы месяц. Участники заполняли анкету, описывая различные аспекты своих отношений, включая распределение обязанностей, эмоциональную поддержку и степень вовлеченности в совместные решения. Анализ данных показал интересный паттерн: пары, где оба партнера ощущали высокий уровень личной власти, оказывались наиболее счастливыми и удовлетворенными. В данном контексте под властью понимается способност ...>>

Защищенная колонка-повербанк Anker Soundcore Boom Go 3i 11.03.2026

Компания Anker представила новую модель линейки Soundcore - колонку Soundcore Boom Go 3i, ориентированную на активное использование на улице. Новинка отличается высокой степенью защиты: корпус соответствует стандарту IP68, что обеспечивает водо- и пыленепроницаемость, а ударопрочный дизайн выдерживает падение с высоты до одного метра. За качество звука отвечает 15-ваттный драйвер, обеспечивающий пик громкости до 92 дБ, а технология BassUp 2.0 усиливает низкие частоты, делая звучание более насыщенным. Колонка обладает автономностью до 24 часов, а LED-индикатор позволяет контролировать уровень заряда батареи. Кроме того, Soundcore Boom Go 3i может выполнять функцию павербанка: согласно внутренним тестам, устройство способно зарядить iPhone 17 с нуля до 40% за один час, что делает его полезным аксессуаром в походах и поездках. Среди функциональных особенностей модели стоит выделить технологию Auracast, которая улучшает подключение и позволяет создавать стереопару из двух колонок ...>>

Раннее воздержание от алкоголя перестраивает мозг и иммунитет 10.03.2026

Алкогольная зависимость - хроническое расстройство с компульсивным употреблением спиртного, которое влияет не только на поведение, но и на функционирование мозга и иммунной системы. Недавние исследования показали, что даже на ранних этапах воздержания организм начинает перестраиваться, открывая новые возможности для терапии зависимости. Ученые сосредоточились на пациентах, находящихся в первые недели абстиненции, и зафиксировали значительные изменения в мозговой активности. С помощью функциональной магнитно-резонансной томографии они выявили перестройку сетей нейронных связей, отвечающих за контроль импульсов и принятие решений. Эти изменения могут быть ключевыми для восстановления самоконтроля и снижения риска рецидива. Одновременно с нейронной перестройкой исследователи наблюдали колебания иммунной системы. В крови повышался уровень цитокинов - сигнальных белков, регулирующих воспалительные процессы. Эти данные свидетельствуют о существовании нейроиммунного взаимодействия, при ...>>

Случайная новость из Архива

Магнитные монополи в среде холодного квантового газа 23.07.2018

Известно, что магниты, имеющие форму шара, прямоугольника или подковы, всегда имеют по два магнитных полюса. И если разделить магнит на две части, вы получите два новых магнита с двумя полюсами. Однако, согласно некоторым физическим теориям, на свете могут существовать однополюсные магнитные образования, подобные электрическим зарядам, которые бывают или положительными, или отрицательными. Одно из таких магнитных образований, монополь Янга, может существовать с точки зрения физики высоких энергий, но никому из ученых еще не доводилось вживую "увидеть" этот монополь даже в лабораторных условиях.

Группе физиков из Объединенного квантового института (Joint Quantum Institute, JQI) удалось впервые создать аналог монополя Янга на основе квантового газа из сверхохлажденных атомов рубидия. И это достижение можно будет использовать в будущем для более глубокого проникновения в суть уже известных областей физики и новых областей, которые еще не охвачены человеческой наукой.

Для того, чтобы обнаружить монополи Янга, существующие в квантовом газе, ученые, при помощи радиоволн и микроволновых лучей выровняли особым образом все спины атомов квантового газа. Периодически повторяя комбинации из четырех различных ориентаций вращения атомов, исследователи заставили двигаться эти атомы в пространстве-времени, при этом, каждый атом через время возвращался в исходную точку.

Когда каждый атом заканчивал полный круг, ученые измеряли его спин и сравнивали с его изначальным спином. Было обнаружено, что спин атома не соответствовал изначальному, а небольшие различия, согласно предположениям, могли возникнуть из-за того, что атомы двигались в искривленном пространственно-временном континууме. Рассчитав параметры искривления континуума, ученые определили, что они в точности соответствуют искривлениям, создаваемым, с точки зрения теории, монополем Янга.

Для того, чтобы проверить то, что искривления континуума вызваны действительно присутствием монополя Янга, исследователи заставляли атомы двигаться различными путями, даже теми, которые должны огибать область создаваемых искривлений и искажений. Двигавшиеся по этому пути атомы, вернувшись в исходную точку, имели такой же спин, как и в самом начале, что указывало на то, что им удалось избежать воздействия монополя.

Используя описанный выше подход и направляя атомы разными путями, исследователи определили, что монополь Янга является топологическим явлением, т.е. он имеет определенные размеры и форму. А в своих дальнейших исследованиях ученые будут выяснять, каким образом можно будет заставить монополи Янга работать на благо человечества в самых различных квантовых технологиях.

Другие интересные новости:

▪ Самые опасные страны

▪ Жесткие диски еще долго не подешевеют

▪ Солнечные панели LG NeON R и NeON R Prime

▪ 17-дюймовая панель экрана прикосновения с 7-проводной системой передачи данных

▪ Самый крошечный хищник

Лента новостей науки и техники, новинок электроники

 

Интересные материалы Бесплатной технической библиотеки:

▪ раздел сайта Предварительные усилители. Подборка статей

▪ статья VirtualDub. Краткое руководство и полезные советы. Искусство видео

▪ статья Какой фрукт раньше называли китайским крыжовником? Подробный ответ

▪ статья Сарезское озеро. Чудо природы

▪ статья Активный разветвитель сигнала для стереотелефонов. Энциклопедия радиоэлектроники и электротехники

▪ статья Электромашинные помещения. Общие требования. Энциклопедия радиоэлектроники и электротехники

Оставьте свой комментарий к этой статье:

Имя:


E-mail (не обязательно):


Комментарий:





Главная страница | Библиотека | Статьи | Карта сайта | Отзывы о сайте

www.diagram.com.ua

www.diagram.com.ua
2000-2026