Menu Home

Бесплатная техническая библиотека для любителей и профессионалов Бесплатная техническая библиотека


Механически прочная двухэлементая антенна Волновой канал. Энциклопедия радиоэлектроники и электротехники

Бесплатная техническая библиотека

Энциклопедия радиоэлектроники и электротехники / Антенны КВ

Комментарии к статье Комментарии к статье

Антенна, о которой пойдет речь (на фото в заставке она нижняя), построена на базе антенны, предложенной HB9CV еще в шестидесятые годы. Вот что о ней написано в [1].

"Антенна представляет собой два вибратора неравной длины, укрепленные параллельно в одной горизонтальной плоскости на расстоянии l/8. Оба вибратора активные.

Механически прочная двухэлементая антенна Волновой канал

При выбранном расстоянии l/8 между вибраторами наилучшая односторонняя направленность антенны получается тогда, когда ток в заднем вибраторе (рефлекторе) отстает от тока в переднем вибраторе (директоре) на 225°"

В другой публикации ([2]) приведены результаты сравнения этой антенны с другими, уже известными.

"Коэффициент усиления двухэлементной антенны с обоими активными элементами,- говорится там,- эквивалентен усилению полноразмерной трехэлементной антенны с пассивными директором и рефлектором. При одинаковых значениях коэффициента усиления двухэлементная система легче, проще в конструктивном отношении и обладает меньшим моментом инерции и парусностью Антенна с активным питанием позволяет получить большее подавление излучения назад... Коэффициент усиления у такой антенны на 3,4 дБ выше, чем у антенны с пассивным рефлектором, а максимальное подавление излучения назад составляет 40...50 дБ, в то время как в пассивных системах оно не превышает 25 дБ"

Оба автора дают преимущественно сведения об электрических параметрах антенны, что, конечно, важно, но мало рассказывают о ее конструктивном исполнении, надежности в работе.

По данным, приведенным в [2], например, получается, что один из элементов на диапазоне 20 м, прикрепленный к траверсе, должен иметь вылет около 5,5 м, свободно расположенный в пространстве Но в сложных метеорологических условиях имеющейся прочности может оказаться недостаточно.

Автором данной статьи применены планки, соединяющие элементы и обеспечивающие жесткость конструкции в горизонтальной плоскости. Подвески, поддерживающие элементы, сходятся на мачте выше плоскости антенны. Этим достигнута жесткость по вертикали. Конструкция получилась довольно прочной. Антенна на диапазон 20 м эксплуатируется более четырех лет без ремонта и находится в хорошем состоянии. Она выдержала пыльные бури, гололед, ветры.

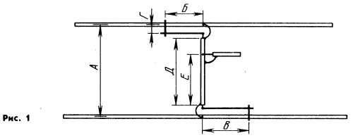
Схематично часть антенны показана на рис. 1. Размеры ее элементов на разные диапазоны при диаметре труб 30 мм даны в таблице. За исходный размер активного вибратора взят 0,46l, рефлектора - 0,5l. Следует учитывать, что длина элементов зависит от диаметра труб.

Механически прочная двухэлементая антенна Волновой канал

Особо следует сказать о питании антенны по коаксиальному кабелю РК-75. Необходимый фазовый сдвиг в 225° получается так. Сдвиг на 180° происходит из-за того, что согласующие устройства подключены к разным плечам элементов (одно к правому, второе к левому).

Еще 45° обеспечивает фазосдвигающая линия, соединяющая элементы.

Рассчитать фазосдвигающую линию несложно. Коаксиальный кабель электрической длиной 0,5l изменяет фазу на 180°. Следовательно, чтобы получить сдвиг 45°, нужен кабель длиной 0,125l. Его же геометрическая длина будет меньше, а во сколько раз - зависит от коэффициента укорочения. Если будет использован коаксиальный кабель с полиэтиленовой изоляцией между центральным проводом и оплеткой, имеющий коэффициент укорочения 0,67, при длине волны 21,2 м, потребуется отрезок

Lгeoм=Lэлeктp x Kyкop=0,125lKyкop=0,125x21,2x0,67=1,78 м.

Но фазосдвигающей линией такой длины соединить элементы антенны нельзя - расстояние между ними 2,65 м. Поэтому нужно в разумных пределах удлинить кабель. Так, в данном случае минимальная длина дополнительного отрезка кабеля равна 2,65-1,78=0,87 м. Чтобы добавленный отрезок в 0,87 м не внес изменений в сдвиг по фазе (45°), фидер нужно присоединить к середине дополнительного куска. На практике при изготовлении фазосдвигающей линии ее не следует составлять из кусков (1,78 м + 0,435 м + 0,435 м). К кабелю длиной 2,65 м подключают питающую линию на расстоянии 2,215 м от конца, который будет соединен с рефлектором.

Удобнее же использовать дополнительный кусок кабеля несколько длиннее минимально требуемого, например 1 м. Тогда общая длина фазосдвигающей линии будет равна 1,78+1=2,78 м. Фидер же присоединяют на расстоянии 1,78+0,5=2,28 м от рефлектора.

Центральные проводники кабеля фазосдвигающей линии подключают к согласующим устройствам, оплетку - к середине элементов, фидера - к центральному проводу фазосдвигающей линии, а оплетку - к оплетке. Автор применил кабель РК-75-9-13. Опыты с кабелем РК-150-4-11, рекомендуемым в литературе, какого-то преимущества не выявил.

 Механически прочная двухэлементая антенна Волновой канал

При постройке антенны (рис. 2) использовались доступные материалы. Траверса изготовлена из стальной однодюймовой водопроводной трубы (внешний диаметр приблизительно 33 мм). К концам трубы приварены планки размерами 200Х50Х8 мм с четырьмя отверстиями диаметром 6,5 мм для двух хомутов крепления элементов. Общая длина траверсы с планками 2,63 м. Траверса прикреплена к мачте через квадратную пластину размерами 150Х150 мм из стали толщиной 4 мм хомутами с резьбой М10.

Элементы - сборные. Средняя часть выполнена из стальной полудюймовой водопроводной трубы (внешний диаметр около 21 мм) длиной 3,5 м.

С двух сторон добавлены отрезки дюралюминиевой трубы диаметром 16 мм с толщиной стенки 1 мм.

Труба получена из кольца для художественной гимнастики. Оно было разрезано на стыке, плотно заполнено сухим песком, после чего медленно (в течение 3...4 ч) выпрямлено.

В стальную трубу (см.рис. 2) вставляют проточенную по внутреннему размеру проставку (место В) и приваривают в трех точках через предварительно просверленные через 120 ° отверстия диаметром 6 мм. На выступающий конец проставки туго надевают подогретую дюралюминиевую трубу. Дополнительно ее фиксируют двумя алюминиевыми заклепками диаметром 5 мм.

В свободный конец дюралюминиевой трубы вставляют фасонную шину от трехжильного электрического кабеля и заклинивают ее двумя короткими отрезками такой же шины (место Д). Дополнительно стык фиксируют двумя алюминиевыми заклепками диаметром 3 мм.

Вылет шины на активном элементе - 0,5 м, на рефлекторе - 0,9 м.

В точках, отстоящих от траверсы примерно на 0,7 длины полувибратора, элементы антенны соединены между собой деревянными планками жесткости сечением 20Х30 мм (место Г). На трубу элемента устанавливают дюралюминиевый хомут и закрепляют двумя болтами М6. Поверх гаек на болты надевают отверстиями косынку из стеклотекстолита (текстолита, гетинакса) толщиной 4 мм и закрепляют ее гайками с шайбами.

Косынки предварительно с усилием вставляют в пропилы планки жесткости и фиксируют (через шайбы) двумя стальными заклепками диаметром 4 мм. На хомутах со стороны траверсы сделано дополнительное отверстие А диаметром 6 мм для крепления подвесок.

Для изготовления подвесок используют жгут, свитый из трех медных эмалированных проводников диаметром 1 мм.

Подвески собраны из отрезков длиной по 1 м, соединенных через фарфоровые изоляторы - орешковые или ролики, и прикреплены к мачте в одной точке, находящейся на 1 м выше плоскости антенны.

Согласующий элемент выполнен из стальной трубы диаметром 12 мм. Она прикреплена к элементу через стеклотекстолитовый изолятор (место А) и подвижный хомут из листовой стали толщиной 1 мм (место Б).

Следует иметь в виду, что при использовании деталей из разнородных металлов в месте их контакта возникает гальваническая пара, разрушающая со временем соприкасающиеся поверхности, особенно при попадании влаги. Наиболее сильно страдает контакт между деталями из меди и алюминиевого сплава.

Мачта - вращающаяся, телескопическая, состоит из двух частей. Нижняя (наружная) труба - стальная 2.25 - дюймовая длиной 6 м. В ней через 0,5...1 м просверлены сквозные отверстия диаметром 6,5...8,5 мм для того, чтобы иметь возможность фиксировать в ней штырем внутреннюю трубу при ее подъеме. Внутренняя труба - полуторадюймовая, длиной 7 м. На нижнюю трубу сверху надет (с зазором 0,2...0,5 мм) стальной фланец для крепления трех оттяжек (рис.3).

Механически прочная двухэлементая антенна Волновой канал

Глубина проточки 30 мм. К фланцу приварены равномерно по окружности три стальных уголка типоразмера 30Х30Х3 мм длиной 300 мм с отверстиями для крепления оттяжек. Применение выступающих уголков уменьшает дополнительное натяжение оттяжек при вращении мачты. Фланец опирается на два текстолитовых (стеклотекстолитовые не годятся!) кольца, которые хорошо удерживают смазку (ЦИАТИМ-201, солидол). Применение здесь шариковых, упорных, роликовых подшипников себя не оправдывает.

Конструкция фланца для крепления оттяжек второго яруса аналогична. Этот фланец опирается на стальное кольцо, жестко фиксированное на внутренней трубе мачты. Перед подъемом антенны над фланцами устанавливают защитные колпаки из толи, рубероида или оцинкованного железа. Все места соединения деталей конструкции прокрашивают два раза автомобильной эмалью или суриком.

Механически прочная двухэлементая антенна Волновой канал

Оттяжки нужно изготовлять из двух-трех скрученных проволок (из оцинкованной стали, меди; стальной трос применять не следует). Однопроволочная оттяжка очень ненадежна. Нижние концы оттяжек крепят к штырю, заложенному в землю, через стальное кольцо диаметром 150...200, шириной 50 и толщиной 4...5 мм (рис. 4). Кольцо может быть изготовлено из полосы, соединенной внахлест.

Слишком натягивать оттяжки не следует - это только затруднит поворот антенны, а зимой может привести к их обрыву.

В верхней части наружной трубы, отступив 50 мм от края, сверлят три отверстия, расположенных равномерно по окружности, и нарезают резьбу М6.

Отступив 0,5...1 м, сверлят еще три таких же отверстия. После подъема внутренней трубы болтами М6 с заточенными на конус концами ее центрируют и надежно фиксируют.

Механически прочная двухэлементая антенна Волновой канал

Трос для подъема внутренней трубы прикреплен к ее нижнему концу. Конструкция этого узла показана на рис. 5.

Перед подъемом трос пропускают через ролик, устанавливаемый на фланце первого яруса растяжек, и фиксируют на простейшем вороте, прикрепляемом к нижней части мачты. По мере выдвижения внутренней трубы перемещают штырь, на который она опирается.

Мачта антенны опирается на стальной шар диаметром 15 мм от шарикоподшипника. На наружной трубе в ее нижней части укреплена шестерня диаметром 600 мм (ее сердечник выточен на станке, а венец использован от маховика автомобильного или тракторного двигателя). С помощью простого зубчато-червячного редуктора она соединена с 50-ваттным коллекторным электродвигателем.

Механически прочная двухэлементая антенна Волновой канал

Приводное устройство можно сделать и более простым - на базе обода велосипедного колеса (рис. 6).

При настройке антенны ее устанавливают на возможно большей высоте, на открытом месте, но так, чтобы к ней был доступ (чтобы элементы ее находились примерно в трех метрах над землей).

В первую очередь, ГИРом определяют резонансную частоту элементов (без согласующих устройств и фазосдвигающих линий). Катушку прибора при этом подносят к середине элемента. Резонансная частота активного вибратора должна быть 14,15 МГц, рефлектора - 14,05 МГц.

Если резонансная частота оказалась выше требуемой, необходимо проверить, не коротки ли вибраторы - и при необходимости удлинить их. Если же резонансная частота меньше, то устанавливают согласующее устройство и фазосдвигающую линию. Фидер подключают через жесткую катушку (4-6 витков диаметром 15 мм; остальные ее характеристики некритичны).

Поднося к ней ГИР, определяют резонансную частоту всей системы - она не должна превышать 14,15 МГц.

После этого добиваются минимального КСВ и оптимального отношения значений излучения вперед и назад. Это можно сделать, используя всего лишь трансивер и индикатор поля.

Антенну подключают к трансиверу, и индикатором поля находят максимум излучения по диапазону и направлению. Если он находится в начале диапазона, то элементы длиннее требуемых, если в конце - короче.

Установив резонансную частоту, перемещением хомутов на согласующих устройствах добиваются минимума КСВ.

Последний этап настройки - снятие диаграммы направленности излучения на рабочей высоте. Оптимальные значения высоты - 0,5l (10,5 м) и l (21 м); на промежуточных - диаграмма направленности может искажаться. Так, при высоте 6 м диаграмма близка к круговой.

Индикатор поля располагают на расстоянии 20...50 м от антенны, желательно на той же высоте, что и она. Включают трансивер в телеграфном режиме и, поворачивая антенну, через каждые 15...20° фиксируют показания индикатора.

По полученным точкам строят диаграмму (рис. 7).

Механически прочная двухэлементая антенна Волновой канал

В авторском экземпляре антенны КСВ на частоте 14,18 кГц был менее 1,1, на краях диапазона не превышал 1,6, что объясняется некоторой узкополосностью из-за малого диаметра концов элементов. Ширина диаграммы направленности по уровню 0,7 в горизонтальной плоскости - около 75°. Задний лепесток выражен слабо.

Литература

  1. Ротхаммель К. Новые радиолюбительские антенны.- Радио, 1965, № 11, с. 20-23.
  2. Снесарев А. Антенна с активным рефлектором.- Радио, 1968/N9 9, с. 17, 18.
  3. Козлов Ф. Об антенне с активным рефлектором.- Радио, 1972. № 9, с. 22.
  4. Наша консультация.- Радио, 1973. № 11, с. 63.
  5. Беньковский 3., Липинский Э. Любительские антенны коротких и ультракоротких волн.- М.: Радио и связь, 1983, с. 304, 325, 389.

Автор: Г. Буторин (U5MH) г. Антрацит; Публикация: cxem.net

Смотрите другие статьи раздела Антенны КВ.

Читайте и пишите полезные комментарии к этой статье.

<< Назад

Последние новости науки и техники, новинки электроники:

Рыжий ген и ускоренная эволюция 30.04.2026

Вопрос о том, как и насколько быстро меняется человеческий вид, давно занимает биологов и генетиков. Долгое время считалось, что эволюционные процессы происходят крайне медленно, однако новые данные заставляют пересматривать эти представления. Особенно интересные результаты связаны с изменением частоты редких генетических признаков, включая рыжий цвет волос. Рыжеволосость сегодня остается редкой чертой: ее носители составляют менее 2 процентов мирового населения. Однако анализ древней и современной ДНК показывает, что ген, связанный с этим признаком, за последние примерно 10 тысяч лет стал заметно более распространенным, особенно среди популяций Европы. Более того, вместе с ним исследователи фиксируют и другие изменения в генетическом профиле человека, затрагивающие внешность и физиологические особенности. Среди сопутствующих тенденций, выявленных в генетических данных, отмечается увеличение частоты светлой кожи, снижение вероятности мужского облысения, а также некоторые физиолог ...>>

Нейтринный лазер 30.04.2026

Нейтринный лазер - это гипотетическое устройство, способное управлять потоками одних из самых трудноуловимых частиц во Вселенной. Такая разработка открывает новые горизонты в изучении фундаментальных законов природы и может изменить представления о космосе. Идею нового типа излучателя представили физики из Massachusetts Institute of Technology, предложив лазер, который вместо света генерирует поток нейтрино. Эти частицы, почти не взаимодействующие с материей, настолько слабо проявляют себя, что их часто называют "частицами-призраками". Тем не менее они пронизывают все вокруг: по оценкам, триллионы нейтрино ежесекундно проходят через человеческое тело, не оставляя следа. Несмотря на их колоссальную распространенность во Вселенной, нейтрино остаются одними из наименее изученных частиц. Их крайне сложно регистрировать, а еще сложнее контролировать, поэтому традиционно их получают в крупных установках вроде ядерных реакторов или ускорителей частиц. Такие комплексы требуют огромных за ...>>

Мороженое не такое вредное, как принято считать 29.04.2026

В питании часто встречаются продукты, которые одновременно вызывают удовольствие и сомнения с точки зрения здоровья. К таким относится и мороженое: оно воспринимается как типичный десерт с высоким содержанием сахара и жиров, однако современные научные данные постепенно усложняют это привычное представление. Долгое время считалось, что мороженое не может быть частью рационального питания, однако исследования последних лет показывают более неоднозначную картину. Ученые подчеркивают, что влияние этого продукта на организм зависит не только от его сладости или калорийности, но и от состава, качества ингредиентов и общего образа жизни человека. Одни из наиболее масштабных данных были получены в рамках долгосрочных наблюдений в США, включавших проекты Nurses Health Study, Nurses Health Study II и Health Professionals Follow-Up Study. В этих исследованиях на протяжении 20-40 лет наблюдали примерно 190 тысяч взрослых участников, регулярно собирая данные об их питании, физической активнос ...>>

Случайная новость из Архива

Поезд, устойчивый к землетрясениям 13.03.2025

В Японии продолжает развиваться инновационное железнодорожное сообщение, и одной из ярких новинок стала разработка нового поезда, который будет устойчив к землетрясениям. Такой подход обусловлен особой природной ситуацией в стране, где сейсмическая активность является важным фактором, влияющим на безопасность и комфорт пассажиров. Новый поезд с уникальными характеристиками будет введен в эксплуатацию уже в 2030 году.

Компания JR East, крупнейший японский оператор железных дорог, представила новейший поезд, получивший название E10. Он станет преемником нынешних моделей E2 и E5, которые эксплуатируются на маршруте Тохоку - важной магистрали, соединяющей Токио с Аомори на севере Японии. Ожидается, что E10 будет способен развивать скорость до 320 км/ч, что сделает его одним из самых быстрых поездов на планете.

Особое внимание разработчики уделили дизайну нового поезда. Ливрея E10 Shinkansen символизирует разнообразие природных и культурных объектов, через которые проходит маршрут. Цветовая палитра поезда включает средне-зеленые оттенки, которые отражают величественные горные леса и живописное побережье региона, в то время как ярко-зеленый цвет верхней части поезда, получивший название "цугара", и темно-зеленый оттенок нижней части - "вечерний вяз", напоминают о вечере и красивых закатах. Графические элементы, использованные в оформлении, отсылают к сакуре, символу Японии, что делает поезд не только технологической новинкой, но и культурным ориентиром.

Одной из ключевых особенностей нового поезда является его высокая устойчивость к сейсмическим потрясениям. Внедрение системы датчиков землетрясений позволяет автоматически останавливать поезд в случае обнаружения толчков. Это значительное улучшение безопасности, ведь благодаря заранее подготовленным мерам поезд сможет избежать серьезных повреждений и схода с рельсов. К тому же поезда будут оснащены динамическими демпферами, которые будут поглощать вибрации и тряску во время землетрясений.

Для повышения уровня комфорта и безопасности пассажиров новый поезд будет оснащен рядом дополнительных технологий. Одной из них станет улучшенная звукоизоляция, обеспечиваемая перегородками между различными частями состава. Кроме того, предусмотрены более удобные сиденья с боковыми крыльями, которые поддерживают голову пассажира, и наличие USB-портов для зарядки мобильных устройств. Также пассажиры смогут наслаждаться удобными широкими столиками для подносов, что обеспечит дополнительное удобство во время поездки.

Учитывая высокие требования, которые предъявляются к поездам в Японии, E10 будет соответствовать самым строгим стандартам безопасности и комфорта. Инновации в области сейсмоустойчивости, улучшение дизайна и повышенные удобства сделают поезд не только технологическим прорывом, но и важным шагом к совершенствованию транспортной инфраструктуры Японии.

Запуск нового поезда, намеченный на 2030 год, станет значимым событием для всей транспортной отрасли Японии и мира. Он не только повысит уровень безопасности в стране с высокой сейсмической активностью, но и продемонстрирует возможности внедрения современных технологий в область железнодорожного транспорта. Японские инженеры вновь показывают, что будущее железных дорог - это не только скорость и комфорт, но и безопасность, обеспеченная на самом высоком уровне.

Другие интересные новости:

▪ Автомобильный кузов изменит жесткость при аварии

▪ Пластмассовые самолеты готовятся взлететь

▪ Умный пластик

▪ Воскрешение мамонтов

▪ Синие светодиоды опасны для насекомых

Лента новостей науки и техники, новинок электроники

 

Интересные материалы Бесплатной технической библиотеки:

▪ раздел сайта Жизнь замечательных физиков. Подборка статей

▪ статья Бхартрихари. Знаменитые афоризмы

▪ статья Что дарили сиамские короли неугодной знати? Подробный ответ

▪ статья Начальник диспетчерской службы. Должностная инструкция

▪ статья Антенна для диапазонов 21, 24, 27, 28, 30 МГц. Энциклопедия радиоэлектроники и электротехники

▪ статья Линейные стабилизаторы напряжения с высоким КПД. Энциклопедия радиоэлектроники и электротехники

[an error occurred while processing this directive] Оставьте свой комментарий к этой статье:

Имя:


E-mail (не обязательно):


Комментарий:





Главная страница | Библиотека | Статьи | Карта сайта | Отзывы о сайте

www.diagram.com.ua

www.diagram.com.ua
2000-2026