Menu Home

Бесплатная техническая библиотека для любителей и профессионалов Бесплатная техническая библиотека


Усовершенствованный блок зажигания. Энциклопедия радиоэлектроники и электротехники

Бесплатная техническая библиотека

Энциклопедия радиоэлектроники и электротехники /Автомобиль. Зажигание

Комментарии к статье Комментарии к статье

Эта конструкция может быть рекомендована подготовленным радиолюбителям, уже имеющим опыт изготовления простых блоков зажигания и желающим иметь устройство, из которого, образно говоря, "выжато" все, на сегодня кажущееся возможным. За истекшие годы стабилизированный блок зажигания [1] повторили очень многие авто- и радиолюбители, и несмотря на выявленные недостатки, можно считать, что он проверку временем выдержал. Существенно также, что в литературе пока не появились публикации сходных по простоте конструкций с аналогичными параметрами. Эти обстоятельства и побудили автора сделать еще одну попытку основательно улучшить показатели блока, сохранив его простоту.

Основное отличие усовершенствованного блока зажигания от [1] - заметное улучшение его энергетических характеристик. Если у исходного блока максимальная длительность искры не превышала 1,2 мс, причем она могла быть получена лишь на самых низких значениях частоты искрообразования, то у нового длительность искры постоянна во всей рабочей полосе 5...200 Гц и равна 1,2...1,4 мс. Это значит, что на средних и максимальных оборотах двигателя - а это наиболее часто используемые режимы - длительность искры практически соответствует установившимся в настоящее время требованиям.

Ощутимо изменилась и мощность, подводимая к катушке зажигания. На частоте 20 Гц при катушке Б-115 она достигает 50...52 мДж, а на 200 Гц - около 16 мДж. Расширены также пределы питающего напряжения, в которых блок работоспособен. Уверенное искрообраэование при пуске двигателя обеспечивается при бортовом напряжении 3,5 В, но работоспособность блока сохраняется и при 2,5 В. На максимальной частоте искрообразование не нарушается, если питающее напряжение достигает 6 В, а длительность искры - не ниже 0,5 мс. . Указанные результаты получены главным образом за счет изменения режима работы преобразователя, особенно условий его возбуждения. Эти показатели, которые, по мнению автора, находятся на практическом пределе возможностей при использовании всего одного транзистора, обеспечены также применением ферритового магнитопровода в трансформаторе преобразователя.

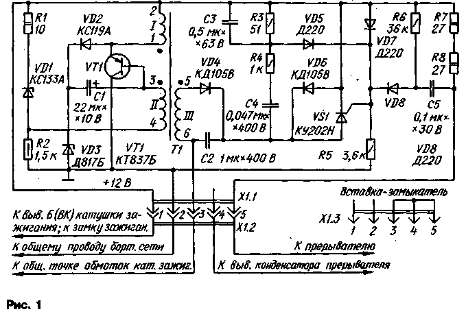
Как видно из принципиальной схемы блока, показанной на рис.1, основные ее изменения относятся к преобразователю, т.е. генератору зарядных импульсов, питающих накопитель-конденсатор С2. Упрощена цепь запуска преобразователя, выполненного, как и прежде, по схеме однотактного стабилизированного блокинг-генератора. Функции пускового и разрядного диодов (соответственно VD3 и VD9 по прежней схеме) выполняет теперь один стабилитрон VD1. Такое решение обеспечивает более надежный запуск генератора после каждого цикла искрообразования путем значительного увеличения начального смещения на эмиттерном переходе транзистора VT1. Это не снизило тем не менее общей надежности блока, поскольку режим транзистора ни по одному из параметров не превысил допустимых значений.

Изменена и цепь зарядки конденсатора задержки С1. Теперь он после зарядки накопительного конденсатора заряжается через резистор R1 и стабилитроны VD1 и V03. Таким образом, в стабилизации участвуют два стабилитрона, суммарным напряжением которых при их открывании и определяется уровень напряжения на накопительном конденсаторе С2. Некоторое увеличение напряжения на этом конденсаторе скомпенсировано соответствующим увеличением числа витков базовой обмотки II трансформатора. Средний уровень напряжения на накопительном конденсаторе уменьшен до 345...365 В, что повышает общую надежность блока и обеспечивает вместе с тем требуемую мощность искры.

Усовершенствованный блок зажигания. Схема блока зажигания
(нажмите для увеличения)

В разрядной цепи конденсатора С1 использован стабисторVD2, позволяющий получить такую же степень перекомпенсации при уменьшении бортового напряжения, как три-четыре обычных последовательных диода. При разрядке этого конденсатора стабилитрон VD1 открыт в прямом направлении (подобно диоду VD9 исходного блока).

Конденсатор C3 обеспечивает увеличение длительности и мощности импульса, открывающего тринистор VS1. Это особенно необходимо при большой частоте искрообразования, когда средний уровень напряжения на конденсаторе С2 существенно снижается.

В блоках электронного зажигания с многократной разрядкой накопительного конденсатора на катушку зажигания [1,2] длительность искры и в определенной степени ее мощность определяет качество тринистора, поскольку все периоды колебаний, кроме первого, создаются и поддерживаются только энергией накопителя. Чем меньше затраты энергии на каждое включение тринистора, тем большее число запусков будет возможно и тем большее количество энергии (и за большее время) будет передано катушке зажигания. Крайне желательно поэтому подобрать тринистор с минимальным открывающим током.

Хорошим можно считать тринистор, если блок обеспечивает начало искрообразования (с частотой 1 ...2 Гц) при питании блока напряжением 3 В. Удовлетворительному качеству соответствует работа при напряжении 4...5 В. С хорошим тринистором длительность искры равна 1,3...1,5 мс, при плохом - уменьшается до 1...1,2мс. При этом, как это ни покажется странным, мощность искры в обоих случаях будет примерно одинаковой по причине ограниченной мощности преобразователя. 8 случае большей длительности конденсатор-накопитель разряжается практически полностью, начальный (он же средний) уровень напряжения на конденсаторе, задаваемый преобразователем, несколько ниже, чем в случае с меньшей длительностью. При меньшей же длительности начальный уровень более высок, но высок и остаточный уровень напряжения на конденсаторе из-за его неполной разрядки. Таким образом, разность между начальным и конечным уровнями напряжения на накопителе в обоих случаях практически одинакова, а от нее и зависит количество вводимой в катушку зажигания энергии [3]. И все-таки при большей длительности искры достигается лучшее дожигание горючей смеси в цилиндрах двигателя, т.е. повышается его КПД.

При нормальной работе блока формированию каждой искры соответствуют 4,5 периода колебаний в катушке зажигания. Это означает. что искра представляет собой девять знакопеременных разрядов в свече зажигания, непрерывно следующих один за другим. Нельзя поэтому согласиться с мнением (изложенным в [4]) о том, что вклад третьего и тем более четвертого периодов колебаний не удается обнаружить ни при каких условиях. На самом деле каждый период вносит свой совершенно конкретный и ощутимый вклад в общую энергию искры, что подтверждают и другие публикации, например [2]. Однако, если источник бортового напряжения включен последовательно с элементами контура (т.е. последовательно с катушкой зажигания и накопителем), сильное затухание, вносимое именно источником, а не другими элементами, действительно, не позволяет обнаружить упомянутый выше вклад. Такое включение как раз и использовано в [4].

В описываемом блоке источник бортового напряжения в колебательном процессе участия не принимает и упомянутых потерь, естественно, не вносит.

Один из наиболее ответственных узлов блока - трансформатор Т1. Его магнитопровод Ш15х12 изготовлен из оксифера НМ2000. Обмотка 1 содержит 52 витка провода ПЭВ-2 0,8; 11-90 витков провода ПЭВ-2 0,25; III - 450 витков провода ПЭВ-2 0,25.

Зазор между Ш-образными частями магнитопровода должен быть выдержан с максимально возможной точностью. Для этого при сборке между его крайними стержнями помещают без клея по гетинаксовой (или текстолитовой) прокладке толщиной 1,2+0,05 мм, после чего детали магнитопровода стягивают прочными нитками.

Снаружи трансформатор необходимо покрыть несколькими слоями эпоксидной смолы, нитроклея или нитроэмали.

Катушку можно выполнить на прямоугольной шпуле без щек. Первой наматывают обмотку III, в которой каждый слой отделяют от следующего тонкой изоляционной прокладкой, а завершают трехслойной прокладкой. Далее наматывают обмотку II. Обмотку 1 отделяют от предыдущей двумя слоями изоляции. Крайние витки каждого слоя при намотке на шпуле следует фиксировать любым нитроклеем.

Гибкие выводы катушки лучше всего оформить по окончании всей намотки. Выводить концы обмотки 1 и II следует в сторону диаметрально противоположную концам обмотки Й1, но все выводы должны быть на одном из торцов катушки. В таком же порядке располагают и гибкие выводы, которые закрепляют нитками и клеем на прокладке из электрокартона (прессшпана). Перед заливкой выводы маркируют.

Кроме КУ202Н, в блоке можно применить тринистор КУ221 с буквенными индексами А-Г. При выборе тринистора следует принять во внимание, что, как показывает опыт, КУ202Н по сравнению с КУ221 имеют в большинстве случаев меньший ток открывания, но более критичны к параметрам импульса запуска (длительности и частоте). Поэтому для случая использования тринистора из серии КУ221 номиналы элементов цепи удлинения искры необходимо скорректировать - конденсатор C3 должен иметь емкость 0,25 мкф, а резистор, R4 - сопротивление 620 Ом.

Транзистор КТ837 может быть с любыми буквенными индексами, кроме Ж, И, К, Т, У, Ф. Желательно, чтобы статический коэффициент передачи тока не был менее 40. Применение транзистора другого типа нежелательно. Теплоотвод транзистора должен иметь полезную площадь не менее 250см2. В роли теплоотвода удобно использовать металлический кожух блока или его основание, которые следует дополнить охлаждающими ребрами. Кожух должен обеспечивать и брызгозащищенность блока.

Стабилитрон VD3 также необходимо устанавливать на теплоотвод. В блоке он представляет собой две полосы размерами 60х25х2 мм, согнутые П-образно и вложенные одна в другую. Стабилитрон Д817Б можно заменить последовательной цепью из двух стабилитронов ДВ16В; при бортовом напряжении 14 В и частоте искрообра-зования 20 Гц эта пара должна обеспечивать на накопителе напряжение 350.. .360 В. Каждый из них устанавливают на небольшой теплоотвод. Стабилитроны подбирают только после выбора и установки тринистора.

Стабилитрон VD1 подборки не требует, но он обязательно должен быть в металлическом корпусе. Для увеличения общей надежности блока целесообразно этот стабилитрон снабдить небольшим теплоотводомв виде обжимки из полоски тонкого дюралюминия.

Стабистор КС119А (VD2) можно заменить тремя диадами Д223А (или другими кремниевыми диодами с импульсным прямым томом не менее 0,5 А), включенными последовательно. Большинство деталей блока смонтированы на печатной плате из фольгированного стеклотекстолита толщиной 1,5мм. Чертеж платы показан на рис.2. Плата разработана с учетам возможности монтажа деталей при различных вариантах замены.

Для блока, предназначенного работать в местностях с суровым зимним климатом, оксидный конденсатор С1 желательно использовать танталовый с рабочим напряжением не ниже 10 В. Его устанавливают вместо большой перемычки на плате, при этом точки подключения алюминиевого оксидного конденсатора (он-то и показан на плате), пригодного для работы в подавляющем большинстве климатических зон, следует замкнуть перемычкой соответствующей длины. Конденсатор С2 - МБГО.МБГЧ или К73-17 на напряжение 400...600 В.

В случае выбора для блока тринистора из серии КУ221 нижнюю по рис.2 часть платы необходимо скорректировать так, как это показано на рис.3. При монтаже тринистора необходимо один из винтов его крепления изолировать от печатной дорожки общего провода,

Проверку работоспособности и тем более регулировку следует проводить именно с такой катушкой зажигания, с которой блок будет работать в дальнейшем. Следует иметь в виду, что включение блока без катушки зажигания, нагруженной запальной свечой, совершенно недопустимо. Для проверки вполне достаточно измерять пиковым вольтметром напряжение на накопительном конденсаторе С2. Таким вольтметром может служить авометр, имеющий предел постоянного напряжения 500 В. Авометр подключают к конденсатору С2 через диод Д226Б (или подобный), а зажимы авометра шунтируют конденсатором емкостью 0,1.. .0,5 мкФ на напряжение 400...600 В.

При номинальном напряжении питания (14 В) и частоте искрообразования 20 Гц напряжение на накопителе должно находиться в пределах 345...365 В. Если напряжение меньше, то прежде всего подбирают тринистор с учетом сказанного выше. Если после подборки будет обеспечено искрообразование при понижении напряжения питания до 3 В, но на конденсаторе С2 при номинальном напряжении литания будет повышенное напряжение, следует подобрать стабилитрон VD3 с несколько пониженным напряжением стабилизации.

Далее проверяют блок на высшей частоте искрообраэования (200 Гц), поддерживая номинальное бортовое напряжение. Напряжение на конденсаторе С2 должно находиться в пределах 185...200 В, а потребляемый блоком ток после непрерывной работы в течение 15...20 мин не должен превышать 2,2 А. Если транзистор за это время нагреется выше 60°С при комнатной окружающей температуре, теплоотводящую поверхность следует несколько увеличить.

Усовершенствованный блок зажигания

Усовершенствованный блок зажигания

Конденсатор C3 и резистор R4 подборки, как правило, не требуют. Однако для отдельных экземпляров тринисторов (как того, так и другого типа) может потребоваться корректировка номиналов, если на частоте 200 Гц будет обнаружена неустойчивость в искрообразовании. Она проявляется обычно в виде кратковременного сбоя в показаниях вольтметра, подключенного к накопителю, и хорошо заметна на слух.

В этом случае следует увеличить емкость конденсатора C3 на 0,1...0,2мкФ,а если это не поможет, вернуться к прежнему значению и увеличить сопротивление резистора R4 на 100...200 Ом. Одна из этих мер, а иногда и обе вместе, обычно устраняют неустойчивость запуска. Заметим, что увеличение сопротивления уменьшает, а увеличение емкости увеличивает длительность искры.

Если есть возможность воспользоваться осциллографом, то полезно убедиться в нормальном течение колебательного процесса в катушке зажигания и фактической его длительности. До полного затухания должны быть хорошо различимы 9-11 полуволн, суммарная длительность которых должна быть равна 1,3...1,5 мс на любой частоте искрообраэования. Вход Х осциллографа следует подключать к общей точке обмоток катушки зажигания.

Типичный вид осциллограммы показан на рис.4. Всплески посредине минусовых полуволн соответствуют единичным импульсам блокинг-генератора при изменении направления тока в катушке зажигания.

Целесообразно проверить также зависимость напряжения на накопительном конденсаторе от бортового напряжения. Ее вид не должен заметно отличаться от показанного на рис.5.

Изготовленный блок рекомендуется устанавливать в моторном отсеке в передней, более прохладной его части. Искрогасящий конденсатор прерывателя следует отключить и соединить его вывод с соответствующим контактом розетки разъема Х1. Переход на классическое зажигание выполняют, как и в прежней конструкции, установкой вставки-замыкателя Х1.3.

В заключение отметим, что попытки получить столь же "длинную" искру с трансформатором на стальном магнитопроводе, даже из стали самого высокого качества, не приведут к успеху. Наибольшая длительность, которая может быть достигнута, - 0,8...0,85 мс. Тем не менее блок почти без изменений (сопротивление резистора R1 следует уменьшить до 6...80 м) работоспособен и с трансформатором на стальном магнитопроводе с указанными намоточными характеристиками, и эксплуатационные качества блока выше, чем у его прототипа [1].

Литература

  1. Г.Карасев. Стабилизированный блок электронного зажигания. - Радио, 1988, № 9, с. 17; 1989, № 5, с.91.
  2. П.Гацанюк. Усовершенствованная электронная система зажигания. В сб.: "В помощь радиолюбителю", вып. 101, с. 52, - М.:ДОСААФ.
  3. А.Синельников. Электроника в автомобиле. - М.: Радио и связь, 1985, с.46.
  4. Ю.Архипов. Полуавтоматический блок зажигания. - Радио, 1990, № 1, с. 31-34; № 2, с. 39-42.

Автор: Г.Карасев г. Санкт-Петербург; Публикация: Н. Большаков, rf.atnn.ru

Смотрите другие статьи раздела Автомобиль. Зажигание.

Читайте и пишите полезные комментарии к этой статье.

<< Назад

Последние новости науки и техники, новинки электроники:

Лабораторная модель прогнозирования землетрясений 30.11.2025

Предсказание землетрясений остается одной из самых сложных задач геофизики. Несмотря на развитие сейсмологии, ученые все еще не могут точно определить момент начала разрушительного движения разломов. Недавние эксперименты американских исследователей открывают новые горизонты: впервые удалось наблюдать микроскопические изменения в контактной зоне разломов, которые предшествуют землетрясению. Группа под руководством Сильвена Барбота обнаружила, что "реальная площадь контакта" - участки, где поверхности разлома действительно соприкасаются - изменяется за миллисекунды до высвобождения накопленной энергии. "Мы открыли окно в сердце механики землетрясений", - отмечает Барбот. Эти изменения позволяют фиксировать этапы зарождения сейсмического события еще до появления традиционных сейсмических волн. Для наблюдений ученые использовали прозрачные акриловые материалы, через которые можно было отслеживать световые изменения в зоне контакта. В ходе искусственного моделирования примерно 30% ко ...>>

Музыка как естественный анальгетик 30.11.2025

Ученые все активнее исследуют немедикаментозные способы облегчения боли. Одним из перспективных направлений становится использование музыки, которая способна воздействовать на эмоциональное состояние и когнитивное восприятие боли. Новое исследование международной группы специалистов демонстрирует, что даже кратковременное прослушивание любимых композиций может значительно снижать болевые ощущения у пациентов с острой болью в спине. В эксперименте участвовали пациенты, обратившиеся за помощью в отделение неотложной помощи с выраженной болью в спине. Им предлагалось на протяжении десяти минут слушать свои любимые музыкальные треки. Уже после этой короткой сессии врачи фиксировали заметное уменьшение интенсивности боли как в состоянии покоя, так и при движениях. Авторы исследования подчеркивают, что музыка не устраняет саму причину боли. Тем не менее, она воздействует на эмоциональный фон пациента, снижает уровень тревожности и отвлекает внимание, что в сумме приводит к субъективном ...>>

Алкоголь может привести к слобоумию 29.11.2025

Проблема влияния алкоголя на стареющий мозг давно вызывает интерес как у врачей, так и у исследователей когнитивного старения. В последние годы стало очевидно, что границы "безопасного" употребления спиртного размываются, и новое крупное исследование, проведенное международной группой ученых, вновь указывает на это. Работы Оксфордского университета, выполненные совместно с исследователями из Йельского и Кембриджского университетов, показывают: даже небольшие дозы алкоголя способны ускорять когнитивный спад. Команда проанализировала данные более чем 500 тысяч участников из британского биобанка и американской Программы миллионов ветеранов. Дополнительно был выполнен метаанализ сорока пяти исследований, в общей сложности включавших сведения о 2,4 миллиона человек. Такой масштаб позволил оценить не только прямую связь между употреблением спиртного и развитием деменции, но и влияние генетической предрасположенности. Один из наиболее тревожных результатов касается людей с повышенным ге ...>>

Случайная новость из Архива

Твердотельные накопители Blue и Ultra объемом до 1 ТБ 05.08.2017

Компания Western Digital и ее дочернее предприятие SanDisk начали поставки твердотельных накопителей серий Blue и Ultra соответственно. Пока доступны модели объемом от 250 до 1 ТБ, но скоро в линейке SanDisk Ultra должна появиться модель объемом 2 ТБ.

В накопителях используется контроллер Marvell 88SS1074. Для подключения к хосту предназначен интерфейс SATA 6 Гбит/с.

Наряду с SSD типоразмера 2,5 дюйма, входящими в обе линейки, в линейку WD Blue также вошли SSD в виде односторонних плат M.2 2280.

Накопители минимального объема демонстрируют скорость чтения до 550 МБ/с и скорость записи до 525 МБ/с. Производительность на операциях с произвольным доступом достигает 95 000 IOPS в режиме чтения и 81 000 IOPS в режиме записи. Остальные накопители развивают скорость чтения 560 МБ/с и скорость записи 530 МБ/с, производительность на операциях с произвольным доступом у них достигает 95 000 IOPS в режиме чтения и 84 000 IOPS в режиме записи.

Цена SSD WD Blue объемом 250 ГБ равна $90, 500 ГБ - $150, 1 ТБ - $280. Накопители SanDisk Ultra таких же объемов стоят $100, $165 и $280 соответственно, а модель объемом 2 ТБ будет стоить $550. На все новые SSD распространяется трехлетняя гарантия.

Другие интересные новости:

▪ Идеальный перекус для здоровья сердца

▪ Клонированные овцы стареют, как обычно

▪ Солнечная электростанция в рулоне

▪ Принцип устройства камеры - глаз насекомого

▪ Пчелиные предпочтения

Лента новостей науки и техники, новинок электроники

Интересные материалы Бесплатной технической библиотеки:

▪ раздел сайта Аккумуляторы, зарядные устройства. Подборка статей

▪ статья Ставить (класть, положить) что-либо во главу угла. Крылатое выражение

▪ статья В каком языке существует разный лексикон для мужчин и женщин? Подробный ответ

▪ статья Дубовый узел. Советы туристу

▪ статья Автомат управления лестничным освещением с датчиком движения. Энциклопедия радиоэлектроники и электротехники

▪ статья Преобразователь 12/220 вольт на полевых транзисторах. Энциклопедия радиоэлектроники и электротехники

Оставьте свой комментарий к этой статье:

Имя:


E-mail (не обязательно):


Комментарий:




Комментарии к статье:

Ярослав
Отличное электронное зажигание!


Главная страница | Библиотека | Статьи | Карта сайта | Отзывы о сайте

www.diagram.com.ua

www.diagram.com.ua
2000-2025