Menu Home

Бесплатная техническая библиотека для любителей и профессионалов Бесплатная техническая библиотека


Усовершенствованный блок зажигания для автомобиля

Бесплатная техническая библиотека

Энциклопедия радиоэлектроники и электротехники / Автомобиль. Электронные устройства

Комментарии к статье Комментарии к статье

Эта конструкция может быть рекомендована подготовленным радиолюбителям, уже имеющим опыт изготовления простых блоков зажигания и желающим иметь устройство, из которого, образно говоря, "выжато" все на сегодня кажущееся возможным. За истекшие годы стабилизированный блок зажигания [ 1 ] повторили очень многие авто- и радиолюбители, и несмотря на выявленные недостатки, можно считать, что он проверку временем выдержал. Существенно также, что в литературе пока не появились публикации сходных по простоте конструкций с аналогичными параметрами. Эти обстоятельства и побудили автора сделать еще одну попытку основательно улучшить показатели блока зажигания, сохранив его простоту.

Основное отличие усовершенствованного блока зажигания от [ 1 ] - заметное улучшение его энергетических характеристик. Если у исходного блока максимальная длительность искры не превышала 1,2 мс, причем она могла быть получена лишь на самых низких значениях частоты искрообразования, то у нового длительность искры постоянна во всей рабочей полосе 5...200 Гц и равна 1,2...1,4 мс. Это значит, что на средних и максимальных оборотах двигателя - а это наиболее часто используемые режимы - длительность искры практически соответствует установившимся в настоящее время требованиям.

Ощутимо изменилась и мощность, подводимая к катушке зажигания. На частоте 20 Гц при катушке Б-115 она достигает 50...52 мДж, а на 200 Гц - около 16 мДж. Расширены также пределы питающего напряжения, в которых блок работоспособен. Уверенное искрообразование при пуске двигателя обеспечивается при бортовом напряжении 3,5 В, но работоспособность блока сохраняется и при 2,5 В. На максимальной частоте искрообразование не нарушается, если питающее напряжение достигает 6 В, а длительность искры - не ниже 0,5 мс. Указанные результаты получены главным образом за счет изменения режима работы преобразователя, особенно условий его возбуждения. Эти показатели, которые, по мнению автора, находятся на практическом пределе возможностей при использовании всего одного транзистора, обеспечены также применением ферритового магнитопровода в трансформаторе преобразователя.

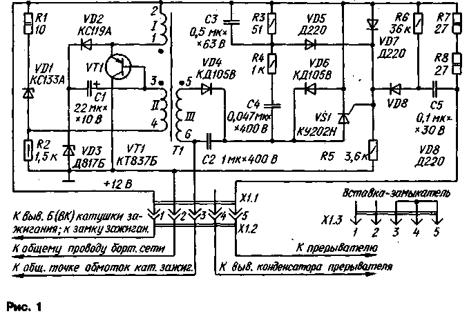
Как видно из принципиальной схемы блока зажигания, показанной на рис.1, основные ее изменения относятся к преобразователю, т.е. генератору зарядных импульсов, питающих накопитель-конденсатор С2. Упрощена цепь запуска преобразователя, выполненного, как и прежде, по схеме однотактного стабилизированного блокинг-генератора. Функции пускового и разрядного диодов (соответственно VD3 и VD9 по прежней схеме) выполняет теперь один стабилитрон VD1. Такое решение обеспечивает более надежный запуск генератора после каждого цикла искрообразования путем значительного увеличения начального смещения на эмиттерном переходе транзистора VT1. Это не снизило тем не менее общей надежности блока зажигания, поскольку режим транзистора ни по одному из параметров не превысил допустимых значений.

Изменена и цепь зарядки конденсатора задержки С1. Теперь он после зарядки накопительного конденсатора заряжается через резистор R1 и стабилитроны VD1 и V03. Таким образом, в стабилизации участвуют два стабилитрона, суммарным напряжением которых при их открывании и определяется уровень напряжения на накопительном конденсаторе С2. Некоторое увеличение напряжения на этом конденсаторе скомпенсировано соответствующим увеличением числа витков базовой обмотки II трансформатора. Средний уровень напряжения на накопительном конденсаторе уменьшен до 345...365 В, что повышает общую надежность блока зажигания и обеспечивает вместе с тем требуемую мощность искры.

Усовершенствованный блок зажигания для автомобиля. Схема блока зажигания
(нажмите для увеличения)

В разрядной цепи конденсатора С1 использован стабисторVD2, позволяющий получить такую же степень перекомпенсации при уменьшении бортового напряжения, как три-четыре обычных последовательных диода. При разрядке этого конденсатора стабилитрон VD1 открыт в прямом направлении (подобно диоду VD9 исходного блока).

Конденсатор СЗ обеспечивает увеличение длительности и мощности импульса, открывающего тринистор VS1. Это особенно необходимо при большой частоте искрообразования, когда средний уровень напряжения на конденсаторе С2 существенно снижается.

В блоках электронного зажигания с многократной разрядкой накопительного конденсатора на катушку зажигания [1,2] длительность искры и в определенной степени ее мощность определяет качество тринистора, поскольку все периоды колебаний, кроме первого, создаются и поддерживаются только энергией накопителя. Чем меньше затраты энергии на каждое включение тринистора, тем большее число запусков будет возможно и тем большее количество энергии (и за большее время) будет передано катушке зажигания. Крайне желательно поэтому подобрать тринистор с минимальным открывающим током.

Хорошим можно считать тринистор, если блок зажигания обеспечивает начало искрообразования (с частотой 1 ...2 Гц) при питании блока напряжением 3 В. Удовлетворительному качеству соответствует работа при напряжении 4...5 В. С хорошим тринистором длительность искры равна 1,3...1,5 мс, при плохом - уменьшается до 1...1,2мс. При этом, как это ни покажется странным, мощность искры в обоих случаях будет примерно одинаковой по причине ограниченной мощности преобразователя. 8 случае большей длительности конденсатор-накопитель разряжается практически полностью, начальный (он же средний) уровень напряжения на конденсаторе, задаваемый преобразователем несколько ниже, чем в случае с меньшей длительностью. При меньшей же длительности начальный уровень более высок, но высок и остаточный уровень напряжения на конденсаторе из-за его неполной разрядки. Таким образом, разность между начальным и конечным уровнями напряжения на накопителе в обоих случаях практически одинакова, а от нее и зависит количество вводимой в катушку зажигания энергии [З]. И все-таки при большей длительности искры достигается лучшее дожигание горючей смеси в цилиндрах двигателя, т.е. повышается его КПД.

При нормальной работе блока зажигания формированию каждой искры соответствуют 4,5 периода колебаний в катушке зажигания. Это означает. что искра представляет собой девять знакопеременных разрядов в свече зажигания, непрерывно следующих один за другим. Нельзя поэтому согласиться с мнением (изложенным в [4]) о том, что вклад третьего и тем более четвертого периодов колебаний не удается обнаружить ни при каких условиях. На самом деле каждый период вносит свой совершенно конкретный и ощутимый вклад в общую энергию искры, что подтверждают и другие публикации, например [2]. Однако, если источник бортового напряжения включен последовательно с элементами контура (т.е. последовательно с катушкой зажигания и накопителем), сильное затухание, вносимое именно источником, а не другими элементами, действительно, не позволяет обнаружить упомянутый выше вклад. Такое включение как раз и использовано в [4].

В описываемом блоке зажигания источник бортового напряжения в колебательном процессе участия не принимает и упомянутых потерь, естественно, не вносит.

Один из наиболее ответственных узлов блока зажигания - трансформатор Т1. Его магнитопровод Ш15х12 изготовлен из оксифера НМ2000. Обмотка 1 содержит 52 витка провода ПЭВ-2 0,8; 11-90 витков провода ПЭВ-2 0,25; III - 450 витков провода ПЭВ-2 0,25.

Зазор между Ш-образными частями магнитопровода должен быть выдержан с максимально возможной точностью. Для этого при сборке между его крайними стержнями помещают без клея по гетинаксовой (или текстолитовой) прокладке толщиной 1,2+0,05 мм, после чего детали магнитопровода стягивают прочными нитками.

Снаружи трансформатор необходимо покрыть несколькими слоями эпоксидной смолы, нитроклея или нитроэмали.

Катушку можно выполнить на прямоугольной шпуле без щек. Первой наматывают обмотку III, в которой каждый слой отделяют от следующего тонкой изоляционной прокладкой, а завершают трехслойной прокладкой. Далее наматывают обмотку II. Обмотку 1 отделяют от предыдущей двумя слоями изоляции. Крайние витки каждого слоя при намотке на шпуле следует фиксировать любым нитроклеем.

Гибкие выводы катушки лучше всего оформить по окончании всей намотки. Выводить концы обмотки I и II следует в сторону диаметрально противоположную концам обмотки III, но все выводы должны быть на одном из торцов катушки. В таком же порядке располагают и гибкие выводы, которые закрепляют нитками и клеем на прокладке из электрокартона (прессшпана). Перед заливкой выводы маркируют.

Кроме КУ202Н, в блоке можно применить тринистор КУ221 с буквенными индексами А-Г. При выборе тринистора следует принять во внимание, что, как показывает опыт, КУ202Н по сравнению с КУ221 имеют в большинстве случаев меньший ток открывания, но более критичны к параметрам импульса запуска (длительности и частоте). Поэтому для случая использования тринистора из серии КУ221 номиналы элементов цепи удлинения искры необходимо скорректировать - конденсатор СЗ должен иметь емкость 0,25 мкФ, а резистор, R4 - сопротивление 620 Ом.

Транзистор КТ837 может быть с любыми буквенными индексами, кроме Ж, И, К, Т, У, Ф. Желательно, чтобы статический коэффициент передачи тока не был менее 40. Применение транзистора другого типа нежелательно. Теплоотвод транзистора должен иметь полезную площадь не менее 250см2. В роли теплоотвода удобно использовать металлический кожух блока или его основание, которые следует дополнить охлаждающими ребрами. Кожух должен обеспечивать и брызгозащищенность блока.

Стабилитрон VD3 также необходимо устанавливать на теплоотвод. В блоке он представляет собой две полосы размерами 60х25х2 мм, согнутые П-образно и вложенные одна в другую. Стабилитрон Д817Б можно заменить последовательной цепью из двух стабилитронов ДВ16В; при бортовом напряжении 14 В и частоте искрообразования 20 Гц эта пара должна обеспечивать на накопителе напряжение 350.. .360 В. Каждый из них устанавливают на небольшой теплоотвод. Стабилитроны подбирают только после выбора и установки тринистора.

Стабилитрон VD1 подборки не требует, но он обязательно должен быть в металлическом корпусе. Для увеличения общей надежности блока целесообразно этот стабилитрон снабдить небольшим теплоотводомв виде обжимки из полоски тонкого дюралюминия.

Стабистор КС119А (VD2) можно заменить тремя диодами Д223А (или другими кремниевыми диодами с импульсным прямым томом не менее 0,5 А), включенными последовательно. Большинство деталей блока зажигания смонтированы на печатной плате из фольгированного стеклотекстолита толщиной 1,5мм. Чертеж платы показан на рис.2. Плата разработана с учетам возможности монтажа деталей при различных вариантах замены.

Для блока зажигания, предназначенного работать в местностях с суровым зимним климатом, оксидный конденсатор С1 желательно использовать танталовый с рабочим напряжением не ниже 10 В. Его устанавливают вместо большой перемычки на плате, при этом точки подключения алюминиевого оксидного конденсатора (он-то и показан на плате), пригодного для работы в подавляющем большинстве климатических зон, следует замкнуть перемычкой соответствующей длины. Конденсатор С2 - МБГО, МБГЧ или К73-17 на напряжение 400...600 В.

При монтаже тринистора необходимо один из винтов его крепления изолировать от печатной дорожки общего провода,

Проверку работоспособности и тем более регулировку следует проводить именно с такой катушкой зажигания, с которой блок зажигания будет работать в дальнейшем. Следует иметь в виду, что включение блока без катушки зажигания, нагруженной запальной свечой, совершенно недопустимо. Для проверки вполне достаточно измерять пиковым вольтметром напряжение на накопительном конденсаторе С2. Таким вольтметром может служить авометр, имеющий предел постоянного напряжения 500 В. Авометр подключают к конденсатору С2 через диод Д226Б (или подобный), а зажимы авометра шунтируют конденсатором емкостью 0,1.. .0,5 мкФ на напряжение 400...600 В.

При номинальном напряжении питания (14 В) и частоте искрообразования 20 Гц напряжение на накопителе должно находиться в пределах 345...365 В. Если напряжение меньше, то прежде всего подбирают тринистор с учетом сказанного выше. Если после подборки будет обеспечено искрообразование при понижении напряжения питания до 3 В, но на конденсаторе С2 при номинальном напряжении питания будет повышенное напряжение, следует подобрать стабилитрон VD3 с несколько пониженным напряжением стабилизации.

Далее проверяют блок на высшей частоте искрообраэования (200 Гц), поддерживая номинальное бортовое напряжение. Напряжение на конденсаторе С2 должно находиться в пределах 185...200 В, а потребляемый блоком зажигания ток после непрерывной работы в течение 15...20 мин не должен превышать 2,2 А. Если транзистор за это время нагреется выше 60°С при комнатной окружающей температуре, теплоотводящую поверхность следует несколько увеличить.

Усовершенствованный блок зажигания для автомобиля

Усовершенствованный блок зажигания для автомобиля

Конденсатор СЗ и резистор R4 подборки, как правило, не требуют. Однако для отдельных экземпляров тринисторов (как того, так и другого типа) может потребоваться корректировка номиналов, если на частоте 200 Гц будет обнаружена неустойчивость в искрообразовании. Она проявляется обычно в виде кратковременного сбоя в показаниях вольтметра, подключенного к накопителю, и хорошо заметна на слух.

В этом случае следует увеличить емкость конденсатора СЗ на 0,1...0,2 мкФ,а если это не поможет, вернуться к прежнему значению и увеличить сопротивление резистора R4 на 100...200 Ом. Одна из этих мер, а иногда и обе вместе, обычно устраняют неустойчивость запуска. Заметим, что увеличение сопротивления уменьшает, а увеличение емкости увеличивает длительность искры.

Если есть возможность воспользоваться осциллографом, то полезно убедиться в нормальном течении колебательного процесса в катушке зажигания и фактической его длительности. До полного затухания должны быть хорошо различимы 9-11 полуволн, суммарная длительность которых должна быть равна 1,3...1,5 мс на любой частоте искрообраэования. Вход Х осциллографа следует подключать к общей точке обмоток катушки зажигания.

Типичный вид осциллограммы показан на рис.4. Всплески посредине минусовых полуволн соответствуют единичным импульсам блокинг-генератора при изменении направления тока в катушке зажигания.

Целесообразно проверить также зависимость напряжения на накопительном конденсаторе от бортового напряжения. Ее вид не должен заметно отличаться от показанного на рис.5.

Изготовленный блок зажигания рекомендуется устанавливать в моторном отсеке в передней, более прохладной его части. Искрогасящий конденсатор прерывателя следует отключить и соединить его вывод с соответствующим контактом розетки разъема Х1. Переход на классическое зажигание выполняют, как и в прежней конструкции, установкой вставки-замыкателя Х1.3.

В заключение отметим, что попытки получить столь же "длинную" искру с трансформатором на стальном магнитопроводе, даже из стали самого высокого качества, не приведут к успеху. Наибольшая длительность, которая может быть достигнута, - 0,8...0,85 мс. Тем не менее блок почти без изменений (сопротивление резистора R1 следует уменьшить до 6...80м) работоспособен и с трансформатором на стальном магнитопроводе с указанными намоточными характеристиками, и эксплуатационные качества блока выше, чем у его прототипа [1].

Литература

1. Г. Карасев. Стабилизированный блок электронного зажигания. - Радио, 1988, № 9, с. 17; 1989, № 5, с.91
2. П. Гацанюк. Усовершенствованная электронная система зажигания. В сб.: "В помощь радиолюбителю", вып. 101, с. 52, - М.:ДОСААФ
3. А. Синельников. Электроника в автомобиле. - М.: Радио и связь, 1985, с.46
4. Ю. Архипов. Полуавтоматический блок зажигания. - Радио, 1990, № 1, с. 31-34; № 2, с. 39-42.

Публикация: cxem.net

Смотрите другие статьи раздела Автомобиль. Электронные устройства

Читайте и пишите полезные комментарии к этой статье.

<< Назад

Последние новости науки и техники, новинки электроники:

Оптимальная продолжительность сна 12.11.2025

Сон играет ключевую роль в поддержании здоровья, когнитивных функций и общего самочувствия. Несмотря на широко распространенный стереотип о восьмичасовом сне, последние исследования показывают, что оптимальная продолжительность сна для большинства здоровых взрослых ближе к семи часам. Эволюционный биолог из Гарварда, Дэниел Э. Либерман, утверждает, что традиционная норма восьми часов сна - это скорее культурное наследие индустриальной эпохи, чем биологическая необходимость. По его словам, полевые исследования, проведенные в сообществах, не использующих электричество, показывают, что средняя продолжительность сна составляет 6-7 часов, что значительно отличается от общепринятого стандарта. Современные эпидемиологические данные подтверждают этот взгляд. Исследования выявили так называемую "U-образную кривую" зависимости между продолжительностью сна и рисками для здоровья. Минимальные показатели заболеваемости и смертности наблюдаются именно у людей, спящих около семи часов в сутки. ...>>

Дефицит кислорода усиливает выброс закиси азота 12.11.2025

Парниковые газы играют ключевую роль в изменении климата, а закись азота (N2O) - один из наиболее опасных среди них. Этот газ не только втрое сильнее углекислого газа в удержании тепла, но и разрушает озоновый слой. Недавнее исследование американских ученых показало, что микробы в зонах с низким содержанием кислорода активно производят N2O, усиливая глобальные климатические риски. Команда из Университета Пенсильвании изучала прибрежные воды у Сан-Диего и провела наблюдения на глубинах от 40 до 120 метров в Восточной тропической северной части Тихого океана - одной из крупнейших зон дефицита кислорода. Исследователи сосредоточились на том, как морские микроорганизмы превращают нитраты в закись азота. В ходе работы выяснилось, что существует два пути образования N2O. Один путь начинается с нитрата, другой - с нитрита. На первый взгляд более короткий путь должен быть эффективнее, однако микробы, использующие нитрат, продуцируют больше газа, поскольку этот "сырьевой" источник более д ...>>

Омега-3 помогают молодым кораллам выживать 11.11.2025

Сохранение коралловых рифов становится все более актуальной задачей в условиях глобального изменения климата. Молодые кораллы особенно уязвимы на ранних стадиях развития, когда стрессовые условия и нехватка питательных веществ могут привести к высокой смертности. Недавнее исследование ученых из Технологического университета Сиднея показывает, что специальные пищевые добавки способны существенно повысить выживаемость личинок кораллов. В ходе работы исследователи разработали особый состав "детского питания" для коралловых личинок. В него вошли масла, богатые омега-3 жирными кислотами, а также важные стерины, необходимые для формирования клеточных мембран. Личинки, получавшие эти добавки, развивались быстрее, становились крепче и демонстрировали более высокую устойчивость к стрессовым факторам. Особое внимание ученые уделили липидам. Анализ показал, что личинки активно усваивают эти вещества, что напрямую влияет на их жизнеспособность. Стерины, содержащиеся в корме, повышают устойчи ...>>

Случайная новость из Архива

Гамма-лазеры для медицины и изучения Вселенной 15.08.2025

Американские ученые из Университета Колорадо в Денвере разрабатали уникальные устройства, способные не только лечить рак, но и исследовать глубинную структуру Вселенной.

Доктор философии и специалист по электротехнике Аакаш Сахаи предложил инновационный метод генерации сверхинтенсивных электромагнитных полей в лабораторных условиях. Он сумел добиться напряжения, которое раньше казалось невозможным для создания в компактных устройствах. Такие поля рождаются в результате быстрого колебания и рассеивания электронов в специально разработанных материалах. Этот прорыв не только открывает путь к новым микропроцессорам, но и к созданию мощных ускорителей частиц, которые могут помочь в поисках темной материи - загадочной субстанции, составляющей большую часть Вселенной.

Ранее для достижения аналогичных результатов требовались огромные установки, такие как Большой адронный коллайдер длиной в 26 километров, оснащенный сверхпроводящими магнитами и радиочастотными системами. Эксплуатация таких сложных объектов связана с большими затратами и техническими трудностями. В отличие от них, метод Сахаи основан на использовании миниатюрного кремниевого кристалла, который способен выдерживать высокоэнергетические пучки частиц и эффективно перенаправлять энергию, создаваемую осциллирующим квантовым электронным газом, при этом оставаясь стабильным за счет контроля тепловых процессов.

Феномен быстрых колебаний электронов внутри материала порождает мощные электромагнитные поля, которые можно изучать в устройстве размером с палец. Этот уровень контроля и компактность конструкции кардинально меняют представление о возможностях управления энергией и создают новые горизонты для науки и техники.

Калян Тирумаласетти, научный сотрудник лаборатории и соавтор проекта, подчеркивает, что управление столь интенсивным потоком энергии без разрушения структуры материала - это выдающееся достижение, способное кардинально изменить наше понимание природы и открыть путь к инновационным технологиям с позитивным влиянием на общество.

Университет Колорадо уже подал патентные заявки на эту технологию как в США, так и за рубежом. Хотя до массового внедрения и практического использования гамма-лазеров еще далеко, исследователи убеждены, что их открытия помогут значительно продвинуться в понимании фундаментальных процессов Вселенной и улучшить методы диагностики и лечения болезней.

Аакаш Сахаи уверен, что в будущем гамма-лазеры позволят получать детализированные изображения живых тканей на уровне ядер клеток, а не только атомов, что откроет новые возможности для медицины. По его словам, благодаря этим технологиям возможно будет точечно модифицировать ядра клеток и удалять раковые опухоли с беспрецедентной точностью, что станет настоящим прорывом в онкологии.

Кроме того, метод экстремальных плазмонов, лежащий в основе разработки, может помочь проверить широкий спектр теорий о структуре и происхождении нашей Вселенной, включая гипотезы о мультивселенной. В дальнейшем команда планирует совершенствовать используемые материалы и лазерные технологии, чтобы расширить их научный и практический потенциал.

Таким образом, разработка мощных гамма-лазеров обещает стать важным шагом в развитии как фундаментальной физики, так и медицины, открывая новые пути для точного воздействия на материю и изучения самых глубоких тайн космоса.

Лента новостей науки и техники, новинок электроники

Рекомендуем скачать в нашей Бесплатной технической библиотеке:

▪ раздел сайта Альтернативные источники энергии

▪ журналы Техника - молодежи (годовые архивы)

▪ книга Уход за электрическими контактами. Хомяков М.В., 1967

▪ статья Наговорить сорок бочек арестантов. Крылатое выражение

▪ статья Сценарист отдела производства рекламы. Должностная инструкция

▪ статья Преобразователь однофазного сетевого напряжения в трехфазное частотой 50 - 400 Гц. Энциклопедия радиоэлектроники и электротехники

▪ справочник Сервисные меню зарубежных телевизоров. Книга №8

Оставьте свой комментарий к этой статье:

Имя:


E-mail (не обязательно):


Комментарий:





Главная страница | Библиотека | Статьи | Карта сайта | Отзывы о сайте

www.diagram.com.ua

www.diagram.com.ua
2000-2025