Menu Home

Бесплатная техническая библиотека для любителей и профессионалов Бесплатная техническая библиотека


Восстановление кислотных аккумуляторов переменным током. Энциклопедия радиоэлектроники и электротехники

Бесплатная техническая библиотека

Энциклопедия радиоэлектроники и электротехники / Автомобиль. Аккумуляторы, зарядные устройства

Комментарии к статье Комментарии к статье

Напряжение электросети переменного тока представляет собой осциллограмму в виде синусоиды с положительными и отрицательными полупериодами.

При зарядке аккумуляторов используется положительная часть синусоиды в однополупериодных и двухполупериодных выпрямителях постоянного тока.

Ускорить процесс восстановления пластин аккумулятора без ухудшения состояния возможно, если использовать дополнительно отрицательный полупериод тока небольшой мощности.

Ввиду низкой скорости химического процесса в электролите не все электроны достигают кристаллов сульфата свинца за отведенное время в десять миллисекунд, к тому же исходя из формы синусоиды напряжение в начале равно нулю, а затем растет и достигает максимума через пять миллисекунд, в последующие 5 мс оно падает и переходит через нуль в отрицательный полупериод синусоиды. Электроны средней части синусоиды обладают наибольшим энергетическим потенциалом и в состоянии расплавить кристалл сульфата свинца с переводом его в аморфное состояние. Электроны остальной части синусоиды, имея недостаточную энергию, не достигают поверхности пластин аккумулятора, или неэффективно воздействуют на их восстановление. Накапливаясь в молекулярных соединениях на поверхности пластин, они' препятствуют восстановлению, переводя химический процесс в электролиз воды.

Отрицательный полупериод синусоиды "отводит" электроны от поверхности пластин на исходные позиции с суммарной энергией, неиспользованной при первоначальной попытке расплавления кристалла сульфата свинца и энергии возврата. Идет раскачивание энергетической мощности с ее ростом, что в конечном результате позволяет расплавить нерастворимые кристаллы.

Значение амплитуды напряжения отрицательного полупериода не превышает 1 /10... 1 /20 от тока заряда и является достаточной для возврата электронов перед следующим циклом подачи положительного импульса, направленного на расплавление кристалла сульфата свинца. При таком токе отсутствует вероятность переполюсовки пластин аккумулятора при отрицательной полярности.

В практике используется несколько технологий восстановления, в зависимости от технического состояния аккумуляторов и условий предшествующей эксплуатации. Техническое состояние можно определить с помощью диагностического прибора или простой нагрузочной вилкой, при высоком внутреннем сопротивлении напряжение под нагрузкой заметно ниже,' чем без нее - это означает, что поверхность пластин и внутренняя губчатая структура покрыты кристаллами сульфата свинца, который препятствует току разряда.

Характеристика устройства Напряжение электросети, В 220
Напряжение аккумуляторов, В 12
Емкость аккумуляторов, А*ч 2...90
Вторичное напряжение, В 2*18
Мощность трансформатора, Вт 120
Зарядный ток, А 0...5
Импульс тока, А до 50
Мощность импульса, Вт до 1000
Разрядный ток, А 0,25
Время заряда при восстановлении, мс 1...5
Время разряда, мс 10
Время восстановления, ч 5...7

Ранее используемые технологии восстановления имеют положительные и отрицательные качества: длительное время восстановления, большое энергопотребление, работа с кислотой, большие выделения газа, в состав которого входит взрывчатая смесь водорода с кислородом, необходимость мощной принудительной вентиляции и средств защиты при переливании кислоты при восстановительных работах. Положительным является конечный результат.

Технология восстановления atf-кумуляторов длительным зарядом малым током была разработана в прошлом веке и применялась при незначительной сульфатации электродов, заряд проводился до начала газообразования, ток снижался ступенчато с небольшими перерывами. Такой метод и сейчас используется для восстановления пластин мощных промышленных аккумуляторов на низкое напряжение и ток до десятков тысяч ампер. Время восстановления составляет не менее пятнадцати суток.

Второй метод представляет собой восстановление пластин в дистиллированной воде, он также длителен по времени и связан с заменой кислоты на воду с последующим зарядом, как в первом варианте. По окончании восстановления плотность выравнивается добавкой электролита.

Возможно восстановление пластин кратковременной подачей большого зарядного тока в течении 1...3 ч. Недостаток такого метода состоит в резком сокращении срока эксплуатации аккумулятора, чрезмерном нагреве пластин и их коробление, повышенном саморазряде, обильном газовыделении кислорода и водорода.

Технология восстановления свинцовых аккумуляторов переменным током позволяет в кратчайшее время снизить внутреннее сопротивление до заводского значения, при незначительном нагреве электролита.

Положительный полупериод тока используется полностью при зарядке аккумуляторов с незначительной рабочей сульфатацией, когда мощности зарядного импульса тока достаточно для восстановления пластин.

При восстановлении аккумуляторов с длительным послегарантийным сроком необходимо использовать оба полупериода тока в соизмеримых величинах: при токе заряда в 0,05С (С - емкость), ток разряда рекомендуется в пределах 1/10... 1/20 оттока заряда. Интервал времени тока заряда не должен превышать 5 мс, то есть восстановление должно идти на максимально высоком уровне напряжения положительной синусоиды, при которой энергии импульса достаточно для перевода сульфата свинца в аморфное состояние. Освободившийся кислотный остаток SO4 повышает плотность электролита до тех пор, пока все кристаллы сульфата свинца не будут восстановлены и повышение плотности закончится, при этом из-за возникшего электролиза напряжение на аккумуляторе возрастет. При зарядно-восстановительных работах необходимо использовать максимальную амплитуду тока при минимальном времени его действия. Крутой передний фронт импульса тока заряда свободно расплавляет кристаллы сульфата, когда другие методы не дают положительных результатов. Время между зарядом и разрядом дополнительно используется на охлаждение пластин и рекомбинацию электронов в электролите. Плавное снижение тока во второй половине синусоиды создает условия для торможения электронов в конце зарядного времени с дальнейшим реверсом при, переходе тока в отрицательный полупериод синусоиды через нуль.

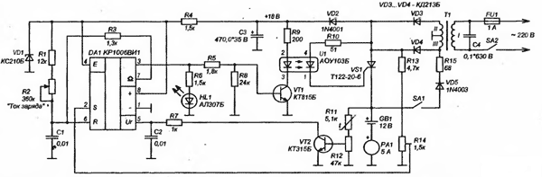
Для создания условий восстановления применена тиристорно-диодная схема установки и регулирования тока синхронизированного с частотой электросети. Тиристор во время переключения позволяет создать крутой передний фронт тока и меньше подвержен нагреву во время работы, чем транзисторный вариант. Синхронизация импульса зарядного тока с электросетью снижает уровень помех, создаваемых устройством.

Восстановление кислотных аккумуляторов переменным током
Рис. 1

Момент повышения напряжения на аккумуляторе контролируется введением в схему отрицательной обратной связи по напряжению, с аккумулятора на ждущий мультивибратор на аналоговом таймере DA1 (рис. 1).

Также в схему введен температурный датчик для защиты от перегрева силовых компонентов. Регулятор тока заряда позволяет установить начальный ток восстановления, исходя из значения емкости аккумулятора.

Контроль среднего тока заряда ведется по гальваническому прибору - амперметру с линейной шкалой и внутренним шунтом. В показаниях амперметра токи алгебраически суммируются, поэтому показания среднего зарядного тока с учетом одновременной подачи с положительного тока отрицательного полупериода будут занижены.

Не следует продолжительное время подавать на аккумулятор только отрицательный полу период тока - это приведет к разряду аккумулятора с переполюсовкой пластин.

В заряженном аккумуляторе всегда идет саморазряд из-за разной плотности верхнего и нижнего уровня электролита в банке и других факторов, нахождение в буферном режиме подзарядки поддерживает аккумулятор в рабочем состоянии.

Схема восстановления аккумуляторов переменным током (рис. 1) содержит небольшое количество радиодеталей.

В состав схемы входит ждущий мультивибратор - формирователь синхронизированных с электросетью импульсов на аналоговом таймере DA1 типа КР1006ВИ1, усилитель амплитуды импульса на биполярном транзисторе обратной проводимости VT1, датчик температуры и усилитель напряжения отрицательной обратной связи VT2, узел питания и тиристорный регулятор зарядного тока. Напряжение синхронизации снимается с двухполупериодного выпрямителя на диодах VD3, VD4 и подается через делитель напряжения R13, R14 на вход 2 нижнего компаратора микросхемы DA1.

Частота импульсов ждущего мультивибратора зависит от номиналов резисторов R1, R2 и конденсатора С1.

В исходном состоянии на выходе 3 DA1 имеется высокий уровень напряжения при отсутствии на входе 2 DA1 напряжения выше1/3Uп, после его появления микросхема срабатывает с порогом, установленным резистором R14, на выходе появляется импульс с периодом 10 мс и длительностью, зависящей от положения регулятора R2, - времени заряда конденсатора С1. Резистор R1 определяет минимальную длительность выходных импульсов.

Вывод 5 микросхемы имеет прямой доступ к точке 2/3Un внутреннего делителя напряжения. По мере роста напряжения на аккумуляторе в конце заряда открывается транзистор VT2 цепи отрицательной обратной связи и снижает напряжение на выводе 5 DA1, создается модификация схемы и длительность импульса уменьшается, время нахождения тиристора в открытом состоянии снижается. Импульс с выхода 3 таймера через резистор R5 поступает на вход усилителя на транзисторе VT1. Усиленный транзистором VT1 импульс через оптопару U1 подает на управляющий электрод тиристора VS1 отпирающее напряжение, синхронизированное с сетью, тиристор открывается и подает в цепь аккумулятора импульс двухполупериодного зарядного тока с длительностью, зависящей от положения регулятора тока R2. Резисторы R9, R10 защищают оптопару от перегрузок.

Температура силовых элементов контролируется с помощью терморезистора R11, установленного в делителе напряжения цепи отрицательной обратной связи.

Повышение температуры вызывает снижение сопротивления терморезистора и шунтирование транзистором VT2 вывода 5 DA1, длительность импульса сокращается - ток снижается.

Питание таймера и RC-цепи в схеме стабилизировано стабилитроном VD1.

Электронная схема питается от вторичной обмотки силового трансформатора через диоды VD2...VD4, пульсации сглаживаются конденсатором C3. Диод VD2 разделяет пульсирующее напряжение выпрямителя на диодах VD3, VD4 от напряжения питания таймера и усилителя на транзисторе VT1.

Тиристор питается двухполупериодным пульсирующим напряжением и исполняет роль ключа с регулируемым временем включения положительных импульсов тока, отрицательный импульс подается в аккумулятор с однополупериодного выпрямителя на диоде VD5.

Радиодетали в схеме установлены общего применения: микросхема таймера серии 555, 7555. Резисторы МЛТ 0,12, R15 - мощностью 5 Вт. Переменные резисторы типа СП. Трансформатор можно использовать типа ТПП 2*18 В/5 А. Диоды малогабаритные на ток до 5 А. Тиристор при емкости аккумулятора до 50 А*ч подойдет типа КУ202Б...Н с радиатором.

Регулировку схемы устройства начинают с проверки напряжения +18 В, небольшие расхождения не влияют на работу прибора.

Временно установив параллельно конденсатору С1 емкость в 0,1 мкФ, по вспышкам светодиода уточняют работоспособность таймера.

В цепь катода тиристора для контроля его работы включают лампочку на напряжение 12 В и мощность 50...60 Вт. Мигание лампочки подтверждает исправность тиристора и его работу в допустимом тепловом режиме. Вращением вала установочного резистора R14 устанавливают порог срабатывания микросхемы. После подключения в зарядную цепь аккумулятора необходимо выставить зарядный ток резистором R2 при среднем положении подстроечного резистора R12. При нагреве терморезистора R11 ток заряда должен уменьшится.

Восстановление кислотных аккумуляторов переменным током
Рис. 2

Элементы схемы, кроме выключателя, регулятора тока заряда, амперметра и предохранителя устанавливаются на печатной плате (рис. 2), остальное крепится в корпусе зарядного устройства.

Технология восстановления аккумуляторов переменным током была разработана в 1999 г. и выполнена в изделии небольшой партией для патентного эксперимента.

Литература

  1. И.П. Шелестов "Радиолюбителям - полезные схемы". Солон-Пресс. Москва. 2003 г.
  2. В. Коновалов. "Зарядно-восстановительное устройство для Ni-Cd аккумуляторов". - "Радио", №3/2006, стр. 53.
  3. В. Коновалов. "Измеритель Rbh АБ". - "Радиомир", №8/2004, стр. 14.
  4. В. Коновалов., А. Разгильдеев. "Восстановление аккумуляторов". -"Радиомир", №3/2005, стр. 7.
  5. В. Коновалов. "Пульсирующее зарядно - восстановительное устройство". - "Радиолюбитель", №5/2007, стр. 30.

Автор: Владимир Коновалов; Публикация: radioradar.net

Смотрите другие статьи раздела Автомобиль. Аккумуляторы, зарядные устройства.

Читайте и пишите полезные комментарии к этой статье.

<< Назад

Последние новости науки и техники, новинки электроники:

Оптимальная продолжительность сна 12.11.2025

Сон играет ключевую роль в поддержании здоровья, когнитивных функций и общего самочувствия. Несмотря на широко распространенный стереотип о восьмичасовом сне, последние исследования показывают, что оптимальная продолжительность сна для большинства здоровых взрослых ближе к семи часам. Эволюционный биолог из Гарварда, Дэниел Э. Либерман, утверждает, что традиционная норма восьми часов сна - это скорее культурное наследие индустриальной эпохи, чем биологическая необходимость. По его словам, полевые исследования, проведенные в сообществах, не использующих электричество, показывают, что средняя продолжительность сна составляет 6-7 часов, что значительно отличается от общепринятого стандарта. Современные эпидемиологические данные подтверждают этот взгляд. Исследования выявили так называемую "U-образную кривую" зависимости между продолжительностью сна и рисками для здоровья. Минимальные показатели заболеваемости и смертности наблюдаются именно у людей, спящих около семи часов в сутки. ...>>

Дефицит кислорода усиливает выброс закиси азота 12.11.2025

Парниковые газы играют ключевую роль в изменении климата, а закись азота (N2O) - один из наиболее опасных среди них. Этот газ не только втрое сильнее углекислого газа в удержании тепла, но и разрушает озоновый слой. Недавнее исследование американских ученых показало, что микробы в зонах с низким содержанием кислорода активно производят N2O, усиливая глобальные климатические риски. Команда из Университета Пенсильвании изучала прибрежные воды у Сан-Диего и провела наблюдения на глубинах от 40 до 120 метров в Восточной тропической северной части Тихого океана - одной из крупнейших зон дефицита кислорода. Исследователи сосредоточились на том, как морские микроорганизмы превращают нитраты в закись азота. В ходе работы выяснилось, что существует два пути образования N2O. Один путь начинается с нитрата, другой - с нитрита. На первый взгляд более короткий путь должен быть эффективнее, однако микробы, использующие нитрат, продуцируют больше газа, поскольку этот "сырьевой" источник более д ...>>

Омега-3 помогают молодым кораллам выживать 11.11.2025

Сохранение коралловых рифов становится все более актуальной задачей в условиях глобального изменения климата. Молодые кораллы особенно уязвимы на ранних стадиях развития, когда стрессовые условия и нехватка питательных веществ могут привести к высокой смертности. Недавнее исследование ученых из Технологического университета Сиднея показывает, что специальные пищевые добавки способны существенно повысить выживаемость личинок кораллов. В ходе работы исследователи разработали особый состав "детского питания" для коралловых личинок. В него вошли масла, богатые омега-3 жирными кислотами, а также важные стерины, необходимые для формирования клеточных мембран. Личинки, получавшие эти добавки, развивались быстрее, становились крепче и демонстрировали более высокую устойчивость к стрессовым факторам. Особое внимание ученые уделили липидам. Анализ показал, что личинки активно усваивают эти вещества, что напрямую влияет на их жизнеспособность. Стерины, содержащиеся в корме, повышают устойчи ...>>

Случайная новость из Архива

Изображения пищи, созданные ИИ, вызывают тревожность 27.02.2025

Современные технологии искусственного интеллекта (ИИ) достигли невероятных успехов в создании изображений, поражающих своей реалистичностью. Однако недавнее исследование выявило неожиданный побочный эффект: изображения пищи, сгенерированные ИИ, вызывают у людей чувство тревоги и дискомфорта. Особенно сильно это проявляется в тех случаях, когда картинка стремится к фотореализму, но содержит едва заметные искажения.

Ученые предполагают, что такая реакция связана не с опасением съесть испорченный продукт, а с пищевой неофобией - естественным страхом перед незнакомой едой. Наш мозг эволюционно запрограммирован на то, чтобы избегать потенциально опасных продуктов, и ИИ-изображения, в которых есть что-то неестественное, могут активировать этот механизм.

Для изучения этого феномена исследователи провели два эксперимента. В первом, пилотном исследовании, 12 студентам были показаны 99 изображений пищи, созданных ИИ. Участники оценивали их по таким критериям, как удовольствие, "жуткость", фотореалистичность и художественное качество.

В основном исследовании приняли участие 95 человек, которым были продемонстрированы 38 изображений, варьирующихся от реалистичных до мультяшных, а также фотографии испорченной пищи. Участники оценивали изображения по уровню "жуткости", теплоты и реализма, а также прошли тест на пищевую неофобию.

Результаты показали, что фотореалистичные, но искаженные изображения пищи, созданные ИИ, вызывают эффект "зловещей долины" - чувство дискомфорта и тревоги, которое возникает при виде объектов, слишком похожих на реальные, но имеющих незначительные отклонения. Мультяшные изображения, напротив, не вызывали такого эффекта.

Кроме того, выяснилось, что люди с высоким уровнем пищевой неофобии испытывают большую тревогу при виде таких изображений. Также было обнаружено, что индекс массы тела (ИМТ) влияет на восприятие: люди с более высоким ИМТ проявляли меньшее беспокойство.

Ученые планируют продолжить исследования, чтобы понять, как культурные особенности и привыкание к ИИ-изображениям повлияют на эту реакцию в будущем. Возможно, со временем люди привыкнут к таким изображениям и перестанут испытывать тревогу.

Другие интересные новости:

▪ Сверхтонкие, легкие и гибкие панели прикосновения для мобильных применений

▪ DC/DC-преобразователи TEQ 20/40WIR

▪ Новый способ пастеризации молока

▪ Спортивная одежда по технологии NASA

▪ Ракета, летающая на пластиковых отходах

Лента новостей науки и техники, новинок электроники

 

Интересные материалы Бесплатной технической библиотеки:

▪ раздел сайта Микроконтроллеры. Подборка статей

▪ статья Чрезвычайные ситуации. Классификация чрезвычайных ситуаций. Основы безопасной жизнедеятельности

▪ статья Кто первым напечатал книгу типографским способом? Подробный ответ

▪ статья Сборщик изделий и конструкций. Должностная инструкция

▪ статья Пуск звезда-треугольник трехфазного электродвигателя. Энциклопедия радиоэлектроники и электротехники

▪ статья Широкополосный усилитель мощности. Энциклопедия радиоэлектроники и электротехники

Оставьте свой комментарий к этой статье:

Имя:


E-mail (не обязательно):


Комментарий:





Главная страница | Библиотека | Статьи | Карта сайта | Отзывы о сайте

www.diagram.com.ua

www.diagram.com.ua
2000-2025