Menu Home

Бесплатная техническая библиотека для любителей и профессионалов Бесплатная техническая библиотека


Транзисторный передатчик на диапазон 432 МГц. Энциклопедия радиоэлектроники и электротехники

Бесплатная техническая библиотека

Энциклопедия радиоэлектроники и электротехники / Передатчики

Комментарии к статье Комментарии к статье

Описание этого передатчика было опубликовано в журнале RADIO REF, автор - F8CV. Выходная мощность передатчика сравнительно небольшая, примерно 100 мВт, но этого бывает вполне достаточно, чтобы проводить связи на небольшие расстояния или, "пристегнув", например, гибридный усилитель, производимый фирмой "Motorola" или RCA, получить "полноправный" передатчик с выходной мощностью в несколько десятков ватт.

Схема передатчика приведена на рис.1.


Рис.1. ЧМ передатчик на 432 МГц. Схема принципиальная электрическая (нажмите для увеличения).

Транзистор Т2 работает в схеме кварцевого генератора на частоте 72 МГц. На транзисторе Т1 собран модуляционный усилитель, на базу Т1 подается сигнал с микрофона.

Усиленный сигнал, через разделительный конденсатор, поступает на варикап, подключенный последовательно с катушкой L1 и кварцевым резонатором. Модулирующее напряжение изменяет емкость варикапа и, соответственно, частоту кварцевого генератора, обеспечивая, таким образом, ЧМ модуляцию.

Усиление микрофонного УЗЧ устанавливается потенциометром Р, сопротивлением 10 кОм, изменением напряжения питания усилителя.

Схема кварцевого генератора классическая и, обычно, при исправных деталях и правильном монтаже сразу начинает работать.

За кварцевым генератором следует утроитель частоты на транзисторе Т3, в цепи коллектора которого установлен контур, настроенный на частоту 216 МГц. Отличительной чертой утроителя является повышенное входное сопротивление каскада, применение индуктивно-емкостной связи с генератором [можно сделать подстроечным С8, что позволит увеличить фильтрацию напряжения кварцевого генератора, лучше согласовать между собой каскады и за счет этого повысить выходную мощность передатчика в целом, т. к., катушка связи с конденсатором образуют последовательный колебательный контур (возможно, придется подобрать количество витков катушки связи и лучше согласовать ее с утроителем)]. В цепи эмиттера Т3 включен последовательный колебательный контур L4C9, включенный параллельно резистору R15 и настроенный на утроенную частоту кварцевого генератора - 216 МГц, обеспечивается (всего одним контуром !) практически до нуля подавление частоты генератора и его гармоник (особенно, второй - 144 МГц и четвертой - 288 МГц, кроме, конечно, полезной, третьей) за счет частотозависимой отрицательной обратной связи по току РЧ. Таким образом, на выходе утроителя присутствует довольно чистый выходной сигнал с частотой 216 МГц.

Следующий каскад на транзисторах Т4 и Т5 - удвоитель частоты с 216 МГц на 432 МГц, выполнен по двухтактной схеме, причем, выводы коллекторов транзисторов соединены вместе [такие схемы выделяют четные гармоники и подавляют нечетные, если включить этот каскад по обычной схеме с нагрузками в коллекторных цепях, то будут выделяться нечетные гармоники, в том числе и первая (усилитель), а четные, наоборот, - подавляться]. На выходе этого каскада присутствует уже довольно высокий уровень выходной мощности, достаточный для раскачки оконечного каскада. Важно обеспечить полную симметрию каскада удвоителя [как аппаратную, так и по сигналу]. Было бы логично соединить выводы эмиттеров транзисторов удвоителя частоты Т4 и Т5 друг с другом и установить один общий резистор между ними и корпусом, заблокировав его по РЧ одним конденсатором, однако, в целях обеспечения лучшей симметрии нужно выполнить эмиттерные цепи раздельными [можно также установить вместо постоянных резисторов R16 и R17 один подстроечный резистор сопротивлением 160:180 Ом между выводами эмиттеров, заземлив вывод его движка, тогда появится возможность плавной оперативной балансировки каскада].

Полученная после удвоителя РЧ мощность с частотой 432 МГц подается на полосковую линию L5, а всего полосковых линии в передатчике три: L5, L6 и L7, они выполнены из фольги печатной платы [известно, что на 432 МГц стеклотекстолит уже начинает "прихрамывать", т. е., увеличиваются потери в диэлектрике, поэтому желательно, хоть немного "компенсировать" их, отполировав линию до зеркального блеска и покрыть ее от окисления хорошим электроизоляционным лаком, обладающим малыми потерями на СВЧ, позолотить или посеребрить линию. Лучший вариант будет в случае отполированной, покрытой серебром линии, размещенной на плате из фторопласта (тефлона), при дефиците фольгированного фторопласта можно применить комбинированную плату, разместив на "фторопласте" только оконечный каскад с линиями].

Каскад на транзисторе Т6 - выходной каскад передатчика, работает на частоте 432 МГц в классе АВ. Открывающее смещение на базу транзистора подано с "плюса" источника питания через цепочку резисторов R18 и R19, между точкой их соединения и корпусом включен кремниевый диод в качестве низковольтного стабилитрона. В отсутствие "раскачки" в цепи коллектора транзистора Т6 протекает ток покоя 2:3 мА. Полосковая линия L6 является коллекторной нагрузкой оконечного усилителя мощности передатчика, полосковая линия L7 работает в схеме П-фильтра по согласованию выходного импеданса транзистора со входным импедансом антенны. Отвод на антенну от 10 мм от "холодного" конца линии.

Конструкция и детали: для постройки передатчика необходимо изготовить монтажную плату из фольгированного стеклотекстолита или (еще лучше) из фольгированного фторопласта (тефлона) размерами 130 х 60 х 1,5 мм. Расположение деталей на монтажной плате приведено на Рис.2. На Рис. 3 приведен эскиз печатных проводников монтажной платы (для удобства, приведено негативное изображение: белым цветом обозначена фольга). Размещение деталей на плате, как правило, не вызывает затруднений, так как, на ней достаточно места.

Особое внимание следует уделить изготовлению катушек.

Катушка L1 содержит 9 витков обмоточного провода диаметром 0,3:0,35 мм на каркасе диаметром 6 мм. Катушка кварцевого генератора L2 содержит 6 витков такого же провода на каркасе диаметром 4 мм, катушка связи намотана между витками катушки L2 с "холодного" ее конца и имеет 4 витка обмоточного провода такого же диаметра как и у L2 (Рис.4).


Рис.2. Размещение деталей на монтажной плате ЧМ передатчика на 432 МГц.


Рис.3. Эскиз проводников на монтажной плате ЧМ передатчика.

Намотке катушки L3 и парафазной катушке связи следует уделить повышенное внимание: сначала на оправке диаметром 3 мм наматывается 5 витков обмоточного провода диаметром 0,8 мм, затем свиваем два провода, можно монтажных одножильных с разноцветной изоляцией с диаметром по меди 0,15:0,2 мм. Намотку парафазной катушки связи (3 витка) следует произвести как показано на Рис.5, у "холодного" конца катушки L3, уложив на нее, сначала два витка катушки связи, а, поверх них, третий. Затем, начало одного провода катушки связи соединяется с концом второго (Рис.6), соединенные вместе провода припаиваются к общему проводу платы, оставшиеся - к базам транзисторов Т4, Т5. Таким образом, получается отвод от середины и симметричная катушка связи.


Рис. 4, 5, 6. Эскизы намотки катушек передатчика.

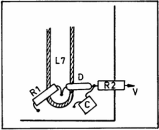
Поскольку частота 216 МГц уже довольно

высокая, с целью уменьшения ее проникновения на выход передатчика из-за паразитных монтажных емкостей, выводы баз транзисторов Т4 и Т5 не пропускаются в отверстия платы на сторону печатных дорожек, а соединяются над платой навесным монтажом короткими, достаточными для пайки, выводами. Как это выполнено, показано на рис.7, на примере транзистора Т5.


Рис.7

Все цепи следует монтировать максимально короткими выводами, помня о том, что один сантиметр длины провода или вывода на частоте 216 МГц соответствует примерно метру на частотах вблизи 2 МГц, не будете же Вы монтировать детали в КВ аппаратуре выводами в метр!

При настройке можно измерить напряжения на каждой половине катушки связи РЧ вольтметром при подключенных транзисторах и немного еще подсимметрировать ее обмотку, откусив бокорезами один из выводов (с меньшим напряжением). Пайки следует защитить от окисления электроизоляционным лаком. Катушка L4 намотана обмоточным проводом диаметром 0,45 мм на оправке диаметром 4 мм и содержит 6 витков. РЧ дроссель в цепях коллекторов транзисторов удвоителя частоты имеет 4 витка провода диаметром 0,45 мм на оправке 2,5 мм. Оставшиеся два дросселя имеют по 4:5 витков изолированного провода и намотаны на маленьких ферритовых трубках (рис.8). Количество витков некритично.


Рис.8

Выводы монтируемых транзисторов должны быть минимальной для пайки к ним длины, особенно, это относится к Т6. Подстроечные конденсаторы должны быть очень высокого качества: с диэлектриком из керамики (или воздушные).

Коаксиальное антенное гнездо BNC установлено на латунном уголке или стенке передатчика, таким образом, чтобы обеспечить пайку к полосковой линии без дополнительных проводов в месте спайки L7 с C17. Антенный вывод можно сделать и без соединителя, припаяв кабель согласно рис.9: центральную жилу кабеля к линии в месте спайки L7 с C17, оплетка разделяется на две части, которые припаиваются к фольге общего провода платы по обе стороны от кабеля.


Рис.9

Настройка: коль скоро Вы собрали этот, в общем-то, простой передатчик, то, чтобы он работал, его необходимо настроить. Чтобы можно было оптимально согласовать с передатчиком антенну, необходимо изготовить РЧ приставку для измерителя, например, тестера. Схема такой приставки приведена на рис. 10. Если коаксиальный кабель подключается к передатчику без соединителя, детали приставки могут быть припаяны согласно Рис.11. Еще необходим безиндуктивный резистор сопротивлением 47 (50) или 75 Ом, в зависимости от сопротивления фидера Вашей антенны с мощностью рассеяния 0,5 Вт - эквивалент антенны. Диод АА119 - германиевый, его можно заменить любым другим (германиевым), способным работать на СВЧ. Конденсатор С - развязывающий по РЧ, его емкость может быть в пределах 100:200 пФ, миниатюрного типа, соединен со схемой приставки короткими выводами.


Рис.10

Для измерения напряжения выхода к РЧ приставке следует подключить вольтметр постоянного тока со входным сопротивлением не менее 20000 Ом/В. Измерение производится на пределе в 10 В. Полезным может оказаться и включение в цепь питания передатчика миллиамперметра постоянного тока с пределом в 100 мА.

Первым делом проверяем монтаж на отсутствие коротких замыканий и правильность сборки передатчика.

Подключаем питание и проверяем генерацию в кварцевом генераторе, поднося к катушке L2 резонансный волномер и вращая ее подстроечный ферритовый сердечник (возможен подбор емкости конденсатора С6 или установка его подстроечным и растяжение и сжатие витков катушки, если, в качестве L2, применяется бескаркасная катушка или без сердечника). Вращением роторов конденсаторов С9 и С11 следует установить максимальную "раскачку" транзисторов Т4 и Т5, при этом, следует проверить, что контур L4C9, действительно, настроен на частоту 216 МГц. Конденсатором С12 добиваются максимальной "раскачки" транзистора Т6, а, затем, конденсаторами С14 и С16 (С15 и С17 в положении средней их емкости) следует добиться максимального напряжения на выходе индикатора-приставки.


Рис.11

Эту операцию требуется повторить несколько раз при различных положениях роторов С15 и С17 до получения максимального выходного напряжения около 3 В. Естественно, если эквивалент - 47 Ом, то напряжение будет ниже, а при 75 Ом - выше.

Операции по настройке следует проводить короткими сеансами, давая "остыть" транзисторам, имеющим уже на входе солидную раскачку, но ненастроенные выходные цепи, иначе, такие транзисторы придется менять, особенно, это касается выходных транзисторов, - об этом не следует забывать и при работе с другими передающими устройствами]. Для правильной установки уровня модуляции (а, значит, и девиации частоты), следует контролировать свой сигнал на включенном ЧМ приемнике диапазона 432 МГц. Вывернем ферритовый сердечник катушки L1, установим движок подстроечного потенциометра Р (10 кОм) в крайнее верхнее (по схеме рис.1) положение, т.е., на максимальное усиление сигнала ЗЧ. Если теперь, например, подуть в микрофон, то в ЧМ приемнике можно услышать соответствующий сигнал. При введении сердечника внутрь катушки L1, глубина модуляции (девиация частоты) будет меняться, будет изменяться (понижаться) и частота настройки передатчика, что неизбежно.

При установке сердечника катушки, в некоторых положениях, возможно, частота кварцевого генератора будет срываться, при чрезмерной девиации. Пользуясь перемещением вышеупомянутого сердечника и устанавливая достаточный уровень модуляции потенциометром Р, добейтесь стабильной работы кварцевого генератора при достаточной девиации частоты и требуемой частоты передатчика (в отсутствие модуляции).

Поскольку "дуть" в микрофон постоянно утомительно, да и уровень такого сигнала непостоянен, то на микрофонный вход следует подключить генератор звуковых частот, подобрав его выходное напряжение частотой, например, 1 кГц, в пределах 1:10 мВ, в зависимости от "возможностей" Вашего микрофона.

Конденсаторы, обозначенные на Рис.1 как "C" могут иметь емкость от 1000 до 4700 пФ. В качестве транзистора Т1 можно употребить любой n-p-n типа проводимости, например, из серии ВС107/108/109. Автор применил 2N918. В качестве Т3, Т4 и Т5, также применены 2N918. Т2 - 2N2369 или ему подобный по характеристикам. При настройке кварцевого генератора, возможно, придется подобрать величину емкости конденсатора С7 (неустойчивая генерация, малое выходное напряжение, смещение частоты). В качестве выходного транзистота Т6 применен 2N3866. Для ориентировки, приведены значения коллекторных токов транзисторов передатчика: Т2 - 2,2 мА, Т3 - 12 мА, Т4 - 8 мА, Т5 - 8 мА (токи Т4 и Т5 могут отличаться, максимум, до 5 %), Т6 - примерно, 20 мА. Общий потребляемый ток от источника питания составляет 50:55 мА при напряжении питания 12 В. Если токи транзисторов Т4 и Т5 отличаются более, чем на 5%, то следует проверить идентичность сопротивлений резисторов R16 и R17 (на мосте или с помощью цифрового мультиметра, обладающего достаточной точностью), характеристик транзисторов Т4 и Т5 и половин катушки связи с L3.

Симметрирование схем - процесс тонкий, но сильно облегчается, если предварительно позаботиться об идентичности плеч таких схем: подобрав детали с одинаковыми характеристиками, не надеясь на балансировку, которая, конечно же помогает, но будет очень узкополосной и недостаточной по глубине, если речь идет о подавлении, например, сигнала гетеродина в смесителях, если надеяться только на балансировку. Подобрав детали, в данном случае, можно установить элемент плавной балансировки, как было упомянуто выше и сбалансировать удвоитель по минимуму искажений формы сигнала, максимальной выходной мощности в уже настроенном передатчике и максимально чистому спектру - это для тех, кто любит "побаловаться" с приборами и имеет такую возможность, в простом же случае, можно измерить РЧ вольтметром (тестером с РЧ головкой) напряжение на коллекторах Т4 и Т5, установить их одинаковыми, поочередно, кратчайшим и идентичным путем замыкая базы транзисторов на точку соединения обмоток катушки связи с L3 накоротко или через один и тот же низкоомный резистор, если сильно падает выходное напряжение, что неудобно для измерений и говорит о сильной индуктивной связи с L3.

В заключение, следует отметить, что даже такой простой передатчик следует строить, настраивать и эксплуатировать человек, обладающий определенными навыками работы с подобными устройствами. [Если человек построил приемник и не смог его настроить, то навредил только себе, неисправный же передатчик может "испортить жизнь" многим, в том числе и самому "создателю"]. Пользуясь настоящей статьей, можно изготовить передатчик и на диапазон 144 МГц, [ что и сделал автор перевода, смотрите на сайте "Экспериментальный ЧМ передатчик на 145 МГц"] (при желании, и на 28 и 27 МГц, естественно, что речь о полосковых линиях идти уже не будет). Для работы с этим передатчиком автор использовал усилитель RCA R47-M15, питаемый напряжением 12 В, что, при токе потребления 3А, дало 15 Вт выходной РЧ мощности. Нужно обязательно согласовывать уровни допустимых входных мощностей раскачки усилителей с выходными мощностями возбудителей, следует также согласовывать импедансы, если этого требует усилитель (вход не широкополосный).

Следует обеспечивать от усилителей мощности хороший теплоотвод, размещая их на радиаторах. Применение гибридного усилителя не потребовало никаких дополнительных согласующих и настраиваемых цепей (все - внутри, рассчитано на определенную полосу пропускания): ко входу РА подключался вышеописанный передатчик, к выходу - антенна и на соответствующие входы РА - питание. В цепь питания РА можно включить реостатом мощный проволочный потенциометр сопротивлением 100:200 Ом для возможности уменьшения выходной мощности РА до 2:3 Вт, для случая, когда работа повышенной мощностью (15 Вт) не требуется.

Автор: В.Беседин

Смотрите другие статьи раздела Передатчики.

Читайте и пишите полезные комментарии к этой статье.

<< Назад

Последние новости науки и техники, новинки электроники:

Кислотность океана разрушает зубы акул 03.10.2025

Мировые океаны выполняют важнейшую функцию - они поглощают около трети углекислого газа, выбрасываемого в атмосферу. Это помогает замедлять темпы глобального потепления, но имеет и обратную сторону. Растворяясь в воде, CO2 образует угольную кислоту, которая повышает концентрацию водородных ионов и приводит к снижению pH. Вода становится более кислой, а последствия этого процесса уже заметны для морских экосистем. Средний показатель кислотности океана сейчас равен примерно 8,1, тогда как еще недавно за условную норму брали значение 8,2. По прогнозам, к 2300 году уровень может упасть до 7,3 - это сделает океан почти в десять раз кислее нынешнего состояния. Для обитателей морей подобные изменения означают не просто сдвиг химического равновесия, а реальную угрозу физиологическим процессам, начиная от формирования раковин у моллюсков и заканчивая охотничьим поведением акул. Чтобы выяснить, как именно кислотная среда отражается на зубах акул, группа немецких исследователей провела эксп ...>>

Почтовый космический корабль Arc 03.10.2025

Космические технологии становятся частью инфраструктуры, способной повлиять на логистику, медицину и даже военную сферу. Идея использовать орбиту как глобальный склад для срочных поставок звучала еще недавно как научная фантастика, но стартап Inversion пытается превратить ее в практическое решение. Компания Inversion появилась в начале 2021 года благодаря Джастину Фиаскетти и Остину Бриггсу, которые на тот момент были студентами Бостонского университета. Их замысел состоял в том, чтобы сделать возможной доставку грузов не только через спутниковые сети данных, но и в буквальном смысле - физических предметов. В основе лежит простая мысль: если космос обеспечивает доступ к любой точке Земли, то и грузы должны перемещаться тем же маршрутом. Уже за три года работы команда из 25 специалистов успела построить демонстрационный аппарат "Ray". Его запуск состоялся в рамках миссии SpaceX Transporter-12. Устройство весом 90 килограммов проверяло ключевые технологии Inversion, включая двухком ...>>

Лазерное обогащение урана 02.10.2025

Ядерная энергия остается одним из ключевых источников стабильного электричества, особенно для стран с растущими потребностями в энергоснабжении. Однако обеспечение бесперебойных поставок топлива для атомных станций требует современных технологий обогащения урана, которые одновременно эффективны и безопасны. Американская компания Global Laser Enrichment (GLE) делает значительный шаг в этом направлении, завершив масштабное тестирование лазерной технологии обогащения урана. Демонстрационная программа была проведена на объекте в Уилмингтоне, Северная Каролина. Тестирование технологии SILEX (Separation of Isotopes by Laser EXcitation), разработанной австралийской Silex Systems, стартовало в мае 2025 года и продлится до конца года. В ходе экспериментов компания планирует получить сотни фунтов низкообогащенного урана (LEU), который может быть использован в качестве топлива для атомных электростанций. GLE была создана в 2007 году для коммерциализации лазерных методов обогащения урана в С ...>>

Случайная новость из Архива

Создание тяжелых химических элементов в космосе 30.08.2024

Проблема происхождения тяжелых химических элементов остается одной из наиболее интригующих загадок современной физики. Если образование элементов до железа можно объяснить термоядерным синтезом в недрах звезд, то происхождение более тяжелых элементов требует особых условий, которые могут возникнуть только в самых экстремальных космических событиях. Американские ученые предложили новую теорию, объясняющую, как такие элементы образуются в результате явления, известного как быстрый процесс захвата нейтронов, или r-процесс.

R-процесс, по мнению исследователей, происходит в среде чрезвычайно мощных космических взрывов, что позволяет создавать элементы тяжелее железа. Эти взрывы могут обеспечить достаточно высокую температуру и плотность вещества, необходимые для запуска r-процесса. Ученые считают, что примерно половина всех тяжелых элементов во Вселенной возникает именно благодаря этому процессу.

Несколько лет назад было установлено, что r-процесс может происходить при столкновении нейтронных звезд. Эти колоссальные космические катаклизмы действительно способны создавать тяжелые элементы, включая редкие металлы из группы лантаноидов, однако количество таких элементов, образующихся при слиянии нейтронных звезд, оказалось значительно меньшим, чем ожидалось. Это поставило под сомнение гипотезу о том, что только нейтронные звезды являются основным источником тяжелых элементов.

Недавно ученые предложили новый сценарий, который может объяснить образование большого количества тяжелых элементов, в том числе и за пределами лантаноидов. Речь идет о взрыве сверхновой особого типа - CEJSN (Collapsar-Event Jet Supernova). Этот взрыв происходит в двойной звездной системе, где одна из звезд - красный сверхгигант, а другая - нейтронная звезда.

Когда красный сверхгигант начинает расширяться, он поглощает нейтронную звезду. Последняя, погружаясь в ядро сверхгиганта, начинает быстро набирать массу и формировать мощные струи вещества, которые разрушают внешнюю оболочку сверхгиганта. Именно в этих экстремальных условиях, по мнению ученых, и создаются элементы тяжелее лантаноидов.

Этот новый сценарий объясняет, почему количество лантаноидов в звездах с низким содержанием металлов оказывается больше, чем предсказывали предыдущие модели. Взрывы типа CEJSN могут стать основным источником этих элементов, обеспечивая необходимую среду для их образования.

Предложенная теория о роли сверхновых типа CEJSN в образовании тяжелых химических элементов открывает новые перспективы в понимании эволюции вещества во Вселенной. Если эти предположения подтвердятся дальнейшими исследованиями, это значительно расширит наши знания о космических процессах и происхождении элементов, составляющих мир вокруг нас.

Другие интересные новости:

▪ Оверклокерская память Kingston FURY Beast DDR5 RGB

▪ Графен помогает проникнуть в мозг

▪ PENTAX прекращает производство компактных и зеркальных аналоговых камер

▪ Бюджетные нетбуки HP

▪ Ток ведет себя как жидкость

Лента новостей науки и техники, новинок электроники

 

Интересные материалы Бесплатной технической библиотеки:

▪ раздел сайта Защита электроаппаратуры. Подборка статей

▪ статья С легким паром. Крылатое выражение

▪ статья Какой продукт в российских магазинах часто продают под видом спаржи? Подробный ответ

▪ статья Определение расстояний по пластинке Лионде. Советы туристу

▪ статья Балконная ветроустановка. Энциклопедия радиоэлектроники и электротехники

▪ статья Стаканы-антигравитаторы. Секрет фокуса

Оставьте свой комментарий к этой статье:

Имя:


E-mail (не обязательно):


Комментарий:





Главная страница | Библиотека | Статьи | Карта сайта | Отзывы о сайте

www.diagram.com.ua

www.diagram.com.ua
2000-2025