Бесплатная техническая библиотека
Магистральный усилитель для СТВ-приемника. Энциклопедия радиоэлектроники и электротехники

Энциклопедия радиоэлектроники и электротехники / Антенные усилители
Комментарии к статье
В комплект для приема спутниковых ТВ-программ входят параболическая антенна, которая устанавливается таким образом, чтобы попадала в зону прямой видимости со спутника, понижающий конвертор и тюнер (внутренний блок). Между собой они соединяются коаксиальным кабелем, длина которого обычно не должна превышать 15...20 м, но на практике бывает и больше. В результате сигнал, приходящий на тюнер, существенно ослабляется, и качество принимаемого изображения ухудшается.
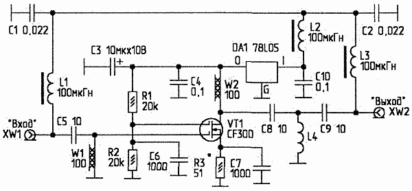
Для компенсации затухания в кабеле предлагаю магистральный усилитель (рис.1). Он питается от инжектируемого в кабель напряжения и включается посередине кабеля. Усилитель собран по однокаскадной схеме, его усиление - не менее 10 дБ. Он построен на двухзатворном малошумящем полевом СВЧ-транзисторе. Напряжение питания стабилизируется маломощной ИМС DA1. ФНЧ L1-С1, L3-C2 предотвращают самовозбуждение усилителя и обеспечивают прохождение на конвертор напряжение питания.
Рис.1. Принципиальная схема магистрального усилителя
Усилитель собирают на печатной плате (рис.2) из фольгированного стеклотекстолита толщиной 1,5 мм. Все детали - SMD или обычные, с выводами минимальной длины (для уменьшения паразитных индуктивностей выводов). XW1, XW2 - разъемы типа "F". L4 имеет 2 витка провода ПЭВТЛ-2 d0,36 мм, намотанных на оправке d2 мм, которую после намотки удаляют.
Рис.2. Печатная плата
Усилитель помещают в латунный или литой дюралюминиевый корпус. Корпус после настройки герметизируют. VT1 можно заменить на отечественный 3П351А-2 (параметры усилителя при этом должны улучшиться, но такой транзистор найти весьма трудно). При наладке, возможно, придется подобрать резистор R3 по максимальному коэффициенту усиления устройства в целом.
Автор: В.Федоров; Публикация: radioradar.net
Смотрите другие статьи раздела Антенные усилители.
Читайте и пишите полезные комментарии к этой статье.
<< Назад
Последние новости науки и техники, новинки электроники:
Власть является ключевым фактором счастья в отношениях
11.03.2026
Исследования семейных и романтических отношений показывают, что длительное счастье пары зависит не только от привычных факторов, таких как доверие, уважение и преданность, но и от более тонких психологических аспектов. Современные ученые ищут закономерности, которые отличают действительно счастливые пары от остальных, чтобы понять, какие механизмы поддерживают гармонию в отношениях.
Группа исследователей из Университета Мартина Лютера в Галле-Виттенберге и Бамбергского университета провела опрос среди 181 пары, которые состояли в совместных отношениях более восьми лет и прожили вместе хотя бы месяц. Участники заполняли анкету, описывая различные аспекты своих отношений, включая распределение обязанностей, эмоциональную поддержку и степень вовлеченности в совместные решения.
Анализ данных показал интересный паттерн: пары, где оба партнера ощущали высокий уровень личной власти, оказывались наиболее счастливыми и удовлетворенными. В данном контексте под властью понимается способност ...>>
Защищенная колонка-повербанк Anker Soundcore Boom Go 3i
11.03.2026
Компания Anker представила новую модель линейки Soundcore - колонку Soundcore Boom Go 3i, ориентированную на активное использование на улице.
Новинка отличается высокой степенью защиты: корпус соответствует стандарту IP68, что обеспечивает водо- и пыленепроницаемость, а ударопрочный дизайн выдерживает падение с высоты до одного метра. За качество звука отвечает 15-ваттный драйвер, обеспечивающий пик громкости до 92 дБ, а технология BassUp 2.0 усиливает низкие частоты, делая звучание более насыщенным.
Колонка обладает автономностью до 24 часов, а LED-индикатор позволяет контролировать уровень заряда батареи. Кроме того, Soundcore Boom Go 3i может выполнять функцию павербанка: согласно внутренним тестам, устройство способно зарядить iPhone 17 с нуля до 40% за один час, что делает его полезным аксессуаром в походах и поездках.
Среди функциональных особенностей модели стоит выделить технологию Auracast, которая улучшает подключение и позволяет создавать стереопару из двух колонок ...>>
Раннее воздержание от алкоголя перестраивает мозг и иммунитет
10.03.2026
Алкогольная зависимость - хроническое расстройство с компульсивным употреблением спиртного, которое влияет не только на поведение, но и на функционирование мозга и иммунной системы. Недавние исследования показали, что даже на ранних этапах воздержания организм начинает перестраиваться, открывая новые возможности для терапии зависимости.
Ученые сосредоточились на пациентах, находящихся в первые недели абстиненции, и зафиксировали значительные изменения в мозговой активности. С помощью функциональной магнитно-резонансной томографии они выявили перестройку сетей нейронных связей, отвечающих за контроль импульсов и принятие решений. Эти изменения могут быть ключевыми для восстановления самоконтроля и снижения риска рецидива.
Одновременно с нейронной перестройкой исследователи наблюдали колебания иммунной системы. В крови повышался уровень цитокинов - сигнальных белков, регулирующих воспалительные процессы. Эти данные свидетельствуют о существовании нейроиммунного взаимодействия, при ...>>
Случайная новость из Архива Саундбар Sonos Arc Ultra
28.10.2024
Одним из самых передовых решений на рынке акустических систем стал саундбар Sonos Arc Ultra, представленный компанией Sonos как премиум-продукт с инновационными технологиями для ценителей высокого качества звука.
Sonos Arc Ultra представляет собой передовой саундбар, который устанавливает новый стандарт качества для домашних аудиосистем. Совмещение мощного баса, чистого голоса и продуманного дизайна делает его достойным выбором для тех, кто стремится создать по-настоящему захватывающий звуковой опыт у себя дома.
Главное преимущество Sonos Arc Ultra - это обновленная система объемного звучания с поддержкой формата Dolby Atmos в конфигурации 9.1.4. Это означает, что саундбар способен создать трехмерное звуковое пространство, усиливая эффект присутствия за счет четкого позиционирования звука. Устройство оснащено 14 уникальными драйверами, которые включают в себя эксклюзивный динамик Sound Motion, значительно улучшая качество низких частот и повышая мощность баса вдвое по сравнению с предыдущими моделями Sonos.
Встроенная функция Speech Enhancement помогает сделать диалоги в фильмах и передачах более четкими и разборчивыми, что особенно полезно при просмотре в шумной обстановке. К тому же Sonos Arc Ultra имеет изогнутую форму, которая обеспечивает идеальное сочетание с большими экранами телевизоров, не перекрывая их обзор. Решетчатая конструкция корпуса также способствует многоканальному распределению звука, а усовершенствованный центральный канал позволяет еще более точно передавать голосовые частоты.
Пользователи могут настраивать параметры звука, используя мобильное приложение Sonos, которое позволяет корректировать настройки акустики под индивидуальные предпочтения и особенности помещения. Встроенные опции управления включают как привычный пульт, так и голосовые команды с поддержкой Amazon Alexa и собственных голосовых команд Sonos. Сенсорные кнопки, скрытые за корпусом устройства, помогают избежать лишнего визуального отвлечения и минимизировать количество видимых элементов на устройстве, сохраняя минималистичный и элегантный дизайн.
Технические характеристики Sonos Arc Ultra впечатляют: 15 цифровых усилителей класса D обеспечивают высокую мощность и качество звучания. В дополнение к этому, устройство оборудовано семью твитерами с шелковыми диафрагмами и шестью среднечастотными динамиками, что позволяет более детально воспроизводить частоты в широком диапазоне. Поддержка современных стандартов подключения, включая Wi-Fi 6 и Bluetooth 5.3, делает саундбар удобным и гибким в эксплуатации.
К подключению Sonos Arc Ultra подходит как HDMI eARC, так и оптический вход, обеспечивая универсальную совместимость с большинством современных телевизоров. Мощный процессор Quad Core 4xA55 с частотой 1,9 ГГц и объем встроенной памяти в 8 ГБ гарантируют быструю обработку звуковых данных и стабильную работу устройства. При весе 5,9 кг Sonos Arc Ultra остается достаточно компактным, чтобы легко вписаться в любое пространство, при этом обеспечивая максимальное качество звука.
|
Другие интересные новости:
▪ Процессор с частотой 5 ГГц
▪ Левши добиваются большего
▪ Робот-собака Lenovo Daystar Bot GS
▪ Польза секса для спортсменов
▪ Сплетни полезны для коллектива
Лента новостей науки и техники, новинок электроники
Интересные материалы Бесплатной технической библиотеки:
▪ раздел сайта Шпионские штучки. Подборка статей
▪ статья Подводный бокс для фотокамеры. Советы домашнему мастеру
▪ статья Как появилась кока-кола? Подробный ответ
▪ статья Лаборант-диагностик. Типовая инструкция по охране труда
▪ статья Монтаж открытых электропроводок. Энциклопедия радиоэлектроники и электротехники
▪ статья Высококачественный усилитель ПЧ звука. Энциклопедия радиоэлектроники и электротехники
Оставьте свой комментарий к этой статье:
Главная страница | Библиотека | Статьи | Карта сайта | Отзывы о сайте

www.diagram.com.ua
2000-2026