Menu Home

Бесплатная техническая библиотека для любителей и профессионалов Бесплатная техническая библиотека


Параболические антенны для СТВ. Энциклопедия радиоэлектроники и электротехники

Бесплатная техническая библиотека

Энциклопедия радиоэлектроники и электротехники / Антенны телевизионные

Комментарии к статье Комментарии к статье

Заинтересовавшись приемом СТВ, радиолюбители, как правило, приобретают для этого готовый комплект аппаратуры. В него обычно входит параболическая антенна (ПА) небольшого диаметра (0,9...1,2 м). Одним из первых шагов модернизации системы является приобретение антенны большего диаметра. Но антенны большого диаметра очень дороги, поэтому многие пытаются изготовить ПА в домашних условиях. В радиолюбительской литературе публиковались статьи об изготовлении ПА, например [1], но в них не учитывались некоторые факторы. Дело в том, что при конструировании антенн нужно учитывать параметры облучателя, входящего в состав конвертера. Данная статья направлена на систематизацию данных по конструированию ПА и применение их к имеющимся условиям.

Существует множество видов СВЧ-антенн - параболические, фазированные решетки, на основе линз Френеля и т.д. Применительно к условиям домашнего изготовления рекомендуются ПА, ввиду простоты их изготовления.

Возможны два варианта исполнения ПА:

- путем выклейки на матрице;

- пайкой из медной проволоки и сетки (т.н. сетчатые антенны).

Каждая из антенн имеет свои достоинства и недостатки. К достоинствам первой относится простота контроля формы при изготовлении, ко второй - меньшие масса и парусность.

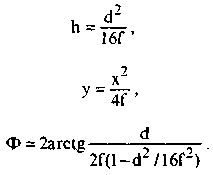
Прежде всего нужно определить, какой облучатель имеется в наличии у радиолюбителя. Обратимся к рис.1 и определим, какие параметры характеризуют антенну. Во-первых, это ее диаметр d (как правило, им и задаются в начале расчета). Наикратчайшее расстояние от фокуса антенны (в фокусе располагается облучатель конвертера, либо второе зеркало в случае двухрефлекторной системы) до .рефлектора антенны называется фокусным расстоянием f. Глубина зеркала h - наибольшее расстояние от плоскости раскрыва рефлектора S до самого рефлектора антенны. Угол апертуры Ф - угол, под которым видна плоскость раскрыва зеркала антенны S из ее фокуса F. При этом они связаны следующими соотношениями.

Параболические антенны для СТВ

Отношение f/d определяет параметры вашего облучателя. Обычно f/d лежит в пределах 0,3...0,5. Чем больше это отношение, тем меньше h и тем меньше расход материалов на изготовление ПА (при некоторой потере коэффициента усиления Ку). Если вы имеете облучатель с f/d=0,3 и хотите снизить расходы, то приобретите облучатель с f/d=0,5, а лучше всего приобрести облучатель с изменяемым f/d.

Параболические антенны для СТВ
(нажмите для увеличения)

Сначала по формуле (2) вычисляют зависимость у от х (принимающего значения от 0 до d/2) и составляют таблицу. Получившиеся значения переносят на миллиметровку и строят параболу. Далее ее наклеивают на лист стали толщиной 5 мм и выпиливают по линии параболы. Таким образом получается нож (необходимо строго соблюдать его форму, т.к. от этого в большой мере зависит конечный результат и качество ПА). Затем, в соответствии с рис.2, следует подобрать стержень 2 и подшипник 1 подходящих размеров (3 - нож). При этом нож укорачивают на половину диаметра стержня 2 и приваривают к нему соосно. В соответствии с рис.3 изготавливают каркас из стального прутка диаметром 8...10 мм (сваркой). При этом ребра 2 приблизительно выгибают по ножу. В вершину каркаса вваривают подшипник.

Устанавливают каркас на ровной площадке, при этом под подшипник 1 (рис.3) необходимо вертикально установить трубу 4 с внутренним диаметром, большим чем диаметр подшипника 1. Все пространство под каркасом заполняется щебнем или битым кирпичом.

Установив на подшипник шайбу 4 (рис.2) диаметром, чуть большим чем диаметр подшипника, и высотой, равной толщине будущей ПА (например для ПА диаметром 2 м толщина равна 25 мм), вставляют в подшипник нож. Замешивают бетонный раствор цемент-песок до густой консистенции, накладывают его на каркас и выравнивают ножом. Высушивают полученную матрицу в течение 3...5 суток. На третьи сутки (при сухой погоде) затирают образовавшиеся трещины алебастром и зачищают наждачной бумагой, контролируя качество поверхности ножом. Следует заметить, что если вы планируете использовать матрицу неоднократно, поместите между ней и землей два-три слоя рубероида, чтобы она не разрушалась от влаги. Также не советую использовать рекомендацию из [2] по изготовлению матрицы из глины, т.к. этот материал при просушке дает много трещин, и полученная матрица недолговечна.

Далее приступают к выклейке антенны. Существует множество способов выполнения этого процесса. Приведем несколько советов. Во-первых, если вы выклеиваете антенну большого диаметра, то помните три недостатка, присущие ей - большой вес, сопротивление ветру и невысокую прочность. Для упрощения изготовления поделите антенну (точно) на 6...8 секторов (при этом учтите форму их соединения, скрепления). В этом случае матрицу также можно сделать в виде сектора, но все же предпочтительней изготовить ее полностью, т.к. на ней можно будет выклеивать офсетные антенны. Для прочности увеличьте толщину рефлектора и армируйте его радиальными ребрами из стальной проволоки.

В качестве материала для выклейки ПА обычно берут стеклоткань, нарезанную полосами, и эпоксидный клей. Можно воспользоваться методикой, описанной в [1], несколько упростив ее. Сначала на вымытую с мылом матрицу наносят разделительную смесь, в качестве которой используют автомобильное масло (лучший результат получается, если перед этим натереть матрицу ровным слоем мастики для паркета). В шайбу 4 (рис.2) плотно вставляют трубу, на которую неплотно надевают другую шайбу из дюралюминия, высота которой равна толщине рефлектора. Далее наносят слой смолы (не повредив разделительную смесь) и накладывают куски стеклоткани, разглаживая их и убирая пузырьки воздуха. Конечно, желательно использовать металлизированную стеклоткань, но можно использовать и обыкновенную, ввиду малодоступности первой. В дальнейшем (после изготовления) необходимо оклеить рефлектор кусками алюминиевой фольги, вырезанными секторообразно. Все же первый вариант, с армированной стеклотканью, предпочтительней из-за лучшего качества поверхности. Другой вариант формирования токопроводящей поверхности состоит в нанесении на отражающую поверхность ПА красок, в состав которых входят металлопорошковые основания (серебрянка и т.п.).

Доведя толщину рефлектора до требуемых размеров, приформовывают гайки для его крепления. Можно также раму, к которой крепится рефлектор, приварить к радиальным ребрам жесткости, которыми крепится рефлектор. Рефлектор также можно крепить болтами через сквозные отверстия, просверленные в ПА после ее высыхания. Антенны небольшого диаметра можно изготавливать из папье-маше (идея была подсказана Р.К.Гайдиновым). В качестве наполнителя берутся газеты. Их замачивают в воде и пропускают через мясорубку. Добавляют в полученную массу обойный клей в качестве связующего материала. Полученную смесь наносят на матрицу (предварительно нанеся на нее разделительную смесь) и выравнивают ее шпателем, формируя нужную поверхность. После высыхания антенну снимают и покрывают токопроводящим слоем и несколькими слоями нитрокраски для защиты ПА от атмосферных осадков. Вместо газет можно использовать ткань, как описано в [2], формируя ПА как и в случае со стеклотканью, используя в качестве связывающего материала обойный клей.

Второй вариант ПА (сетчатый) описан в [3]. Для нее изготавливают шаблон (рис.4), параметры которого рассчитывают по формуле (2). По нему изгибают радиальные параболы из толстой медной проволоки. Толщина проволоки выбирается исходя из диаметра антенны. Например для антенны диаметром 1,5 м берут проволоку диаметром 4...5 мм. Также необходимо изготовить круговые пояса. Диаметр поясов меняется с шагом 10...30 см. Места пайки поясов к радиальным параболам вычисляются по формуле (1). После изготовления каркаса его обтягивают мелкоячеистой медной сеткой, которую припаивают к нему. Следует заметить, что чем больше диаметр ПА, тем толще провод, из которого ее изготавливают, и тем труднее его паять (при использовании провода диаметром больше 7 мм желательна контактная сварка).

Параболические антенны для СТВ

Следующий шаг - изготовление опорно-поворотного устройства (ОПУ). Все ОПУ делятся на два вида: азимутально-угломестные и полярные.

Первый тип проще в изготовлении, так как использует лишь две регулировочные оси (при перенастройке со спутника на спутник используются обе). Первая ось - азимутальная, и ее угол вычисляется по формуле

Параболические антенны для СТВ

где ф - долгота места приема в градусах, Фисз - местоположение ИC3 на орбите в градусах, w - широта места приема в градусах.

Если вы направите антенну строго на юг, то для настройки на заданный спутник по азимуту вам необходимо от А отнять 180°. Если угол будет положительным, антенну смещают на величину этого угла в западную сторону; если отрицательный - в восточную.

Угол расположения угломестной оси 2 (рис.5) вычисляется по формуле

Параболические антенны для СТВ

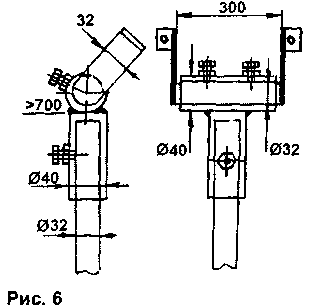
Конструкция подвески произвольная. Размеры ее зависят от диаметра антенны. Например для антенны диаметром 1,2м ОПУ изготавливают в соответствии с рис.6.

Параболические антенны для СТВ

Указанный тип ОПУ используется в основном с офсетными ПА и прямофокусными ПА малого диаметра. Так как антенны большого формата имеют больший вес, их неудобно перестраивать относительно двух осей. Поэтому для них используют другой тип ОПУ - полярный (рис.7). В нем имеется четыре оси вращения - А (1), УМ(2), полярная (3) и корректирующая (4). Для ориентирования антенны необходимо, чтобы плоскость, которой принадлежат полярная ось и ось рефлектора, лежала в плоскости азимутальной оси 1 и направления на юг, отмеченного в истинный полдень. Для определения направления вбивают в землю небольшой штырь, и каждые 20...30 минут отмечают положение тени, отбрасываемой штырем. Наикратчайшее расстояние от конца штыря, вбитого в землю, до линии, пройденной тенью конца штыря, и является направлением на юг.

Параболические антенны для СТВ

Далее устанавливают угол оси УМ (2) равным географической широте места приема в градусах. Устанавливают угол К корректирующей оси (4)

Параболические антенны для СТВ

Затем полярную ось (3) поворачивают на угол

Параболические антенны для СТВ

где ф -долгота места приема; Фисз - местоположение спутника на ГСО (если в.д. то (Фисз>0, если з.д., то Фисз<0).

Как можно заметить, в случае полярной подвески для перестройки со спутника на спутник используется только полярная ось (что и дало название этому типа ОПУ). Следовательно, упрощается перенастройка антенны. Диапазон перестройки лежит в пределах ±40° относительно южного направления. Но за простоту в эксплуатации платят усложнением механизма ОПУ.

На рис.8 приведен один из многочисленных вариантов полярной ОПУ.

Параболические антенны для СТВ

Размеры указаны для ПА диаметром 2 м. К трубе 1 приваривается фланец 2. Сверху надевается фланец 3, который свободно вращается вокруг своей оси. В фланцах имеются отверстия 4 для их взаимной фиксации. К верхнему фланцу приваривают две трубы 5 диаметром 40 мм и длиной 60 см. К этим трубкам двумя болтами крепится труба 6 длиной 80 см. К трубе 6 приваривают две трубы 7 диаметром 40 мм и длиной 25 см. К трубам 7 крепится трапеция 8 посредством винтов 12 (трапеция изготавливается из труб диаметром 25...32 мм). К трапеции посредством скоб 9, 10 (очень прочных) крепится рефлектор антенны, при этом в нижнюю трубу трапеции вставляют штифт с резьбой на концах, а скобу 10 крепят к верхней трубе трапеции посредством винтов 11, которыми регулируется корректирующий угол. Угломестная и полярная оси регулируются с помощью тальрепов (на рисунке не показаны для упрощения). Важно расположить их таким образом, чтобы они были доступны и не мешали доступу к конвертеру, имеющему обратноотражающий облучатель. Не советую приспосабливать всяческие позиционеры, актуаторы и другие средства дистанционной настройки, применение которых оправдано лишь в случаях использования малоформатных ПА. При изготовлении ПА необходимо обеспечить минимальный люфт всех соединений, т.к. болтанка антенны на ветру плохо сказывается на приеме, а также приводит к быстрому разрушению ОПУ.

Для крепления конвертера к антенне в соответствии с рис.9 в рефлекторе сверлят три отверстия. Изготавливают из дюралюминия кольцо 1 с внутренним диаметром, равным диаметру шейки конвертера. Кольцо может состоять из двух частей, соединяемых между собой болтами. В кольце сверлят три отверстия 3 и нарезают в них резьбу. Из дюралюминия (трубок) изготавливают три штанги 2. Размер их подбирается так, чтобы кольцо 1 отстояло от точки фокуса F на 2...3 см. На концах штанг нарезают резьбу и ввинчивают их в кольцо 1, а затем их крепят к рефлектору 4.

Параболические антенны для СТВ

Коэффициент усиления полученной антенны рассчитывается по формуле

Параболические антенны для СТВ

где Q - коэффициент использования поверхности (КИП), для большинства типов облучателей Q=0,4...0,7 (обычно 0,6);

L - длина принимаемой волны.

В таблице сведены данные о Ку антенн трех диаметров на наиболее используемых диапазонах (Q=0,6).

Как мы видим, чем выше частота, тем больше Ку антенны. Но при существующем положении (спутники имеют приблизительно равную эффективную излучаемую мощность) при различном затухании сигналов на трассе спутник - Земля (на более высоких частотах затухание больше) результирующий сигнал на входе приемника на разных диапазонах приблизительно одинаков.

Интересен и тот факт, что в каталогах многих фирм, торгующих ПА, указаны явно завышенные Ку. Можете проверить самостоятельно, посчитав КУ по вышеприведенной формуле.

Таблица 1
fo, ГГц 17,5 11,5 3,9 2,6 0,72
d, м \ L, м 0,017 0,026 0.077 0,115 0,417
0,6 38,7 35,0 25,5 22,1 10,9
2.0 49,1 45,4 36,0 32,5 21,3
5,0 57,1 43,9 43,9 30,5 29,3

Из таблицы также видно, что на низких частотах применение ПА нецелесообразно из-за более низкого по сравнению с антенными фазированными решетками Ку.

Приведу несколько советов.

1. Чем больше диаметр ПА, тем уже ее диаграмма направленности, поэтому рядом с большой антенной желательно установить антенну маленького диаметра и настроить ее на спутник, имеющий максимальный уровень сигнала в вашей местности. Затем, заметив приблизительное направление на спутник, направить в том же направлении большую антенну. Приняв сигнал, откорректировать положение облучателя в фокусе антенны по наилучшему приему изображения слабых каналов.

Можно еще больше упростить перенастройку большой антенны, укрепив маленькую на ее краю таким образом, чтобы оси вращения ПА 1, 2 (рис.10) были параллельны. В схему крепления малой антенны необходимо ввести корректирующие винты, для предварительной установки параллельности осей антенны. Приняв сигнал маленькой антенной, переключаются на большую.

Параболические антенны для СТВ

Для точной настройки на спутник (даже имеющий очень малый сигнал) очень удобно применять специальные детекторы, схемы которых публиковались в радиолюбительской литературе. Также для этой цели можно использовать анализатор спектра (на диапазоне от 1 до 2 ГГц), подав сигнал от конвертера через разделительный конденсатор. При этом не следует забывать подать на конвертер напряжение питания +14 В.

2. Необходимо тщательно заземлять антенну и конвертер во избежание выхода из строя аппаратуры во время грозы (судя по статистике, это случается довольно часто). Для этого наматывают на разъем, соединяющий кабель с конвертером, 2...3 витка провода диаметром 1,5...2 мм и заземляют его. Таким же проводом заземляют (отдельно и параллельно на один контур) металлическую поверхность антенны и ОПУ.

3. Не забывайте, что чем больше диаметр антенны, тем больше ее сопротивление ветру, поэтому необходимо предусмотреть меры по защите антенны и ОПУ от ветровых нагрузок. Используйте для изготовления ОПУ качественный стальной прокат. К примеру, если для метровой ПА требуется несущая труба диаметром 32...40 мм, то для двухметровой - 120...150 мм. Если имеется возможность, установите антенну так, чтобы ее с тыльной стороны защищала стена. По возможности избегайте установки антенны на высоте.

В заключение хочу отметить, что в данной статье описана лишь малая часть антенных систем.

Персонально благодарю В.В.Орлова и С.А.Козлова за помощь в изготовлении металлоконструкций, чертежи которых приведены в данной статье.

Литература

  1. Цуриков Г. и др. Прием СТВ. Антенна для частот 11 ...12 ГГц. - Радио, 1990, N4, С.48-53, 88.
  2. Бедак Н. Приставка к ТВ для приема спутниковой программы. - Радио, 1998, N1, С.12...15.
  3. Родионов В.М. Линии передачи и антенны УКВ. - М.: Энергия, 1977.

Автор: В.Федоров, пгг. Лев Толстой, Липецкой обл.; Публикация: Н. Большаков, rf.atnn.ru

Смотрите другие статьи раздела Антенны телевизионные.

Читайте и пишите полезные комментарии к этой статье.

<< Назад

Последние новости науки и техники, новинки электроники:

Лабораторная модель прогнозирования землетрясений 30.11.2025

Предсказание землетрясений остается одной из самых сложных задач геофизики. Несмотря на развитие сейсмологии, ученые все еще не могут точно определить момент начала разрушительного движения разломов. Недавние эксперименты американских исследователей открывают новые горизонты: впервые удалось наблюдать микроскопические изменения в контактной зоне разломов, которые предшествуют землетрясению. Группа под руководством Сильвена Барбота обнаружила, что "реальная площадь контакта" - участки, где поверхности разлома действительно соприкасаются - изменяется за миллисекунды до высвобождения накопленной энергии. "Мы открыли окно в сердце механики землетрясений", - отмечает Барбот. Эти изменения позволяют фиксировать этапы зарождения сейсмического события еще до появления традиционных сейсмических волн. Для наблюдений ученые использовали прозрачные акриловые материалы, через которые можно было отслеживать световые изменения в зоне контакта. В ходе искусственного моделирования примерно 30% ко ...>>

Музыка как естественный анальгетик 30.11.2025

Ученые все активнее исследуют немедикаментозные способы облегчения боли. Одним из перспективных направлений становится использование музыки, которая способна воздействовать на эмоциональное состояние и когнитивное восприятие боли. Новое исследование международной группы специалистов демонстрирует, что даже кратковременное прослушивание любимых композиций может значительно снижать болевые ощущения у пациентов с острой болью в спине. В эксперименте участвовали пациенты, обратившиеся за помощью в отделение неотложной помощи с выраженной болью в спине. Им предлагалось на протяжении десяти минут слушать свои любимые музыкальные треки. Уже после этой короткой сессии врачи фиксировали заметное уменьшение интенсивности боли как в состоянии покоя, так и при движениях. Авторы исследования подчеркивают, что музыка не устраняет саму причину боли. Тем не менее, она воздействует на эмоциональный фон пациента, снижает уровень тревожности и отвлекает внимание, что в сумме приводит к субъективном ...>>

Алкоголь может привести к слобоумию 29.11.2025

Проблема влияния алкоголя на стареющий мозг давно вызывает интерес как у врачей, так и у исследователей когнитивного старения. В последние годы стало очевидно, что границы "безопасного" употребления спиртного размываются, и новое крупное исследование, проведенное международной группой ученых, вновь указывает на это. Работы Оксфордского университета, выполненные совместно с исследователями из Йельского и Кембриджского университетов, показывают: даже небольшие дозы алкоголя способны ускорять когнитивный спад. Команда проанализировала данные более чем 500 тысяч участников из британского биобанка и американской Программы миллионов ветеранов. Дополнительно был выполнен метаанализ сорока пяти исследований, в общей сложности включавших сведения о 2,4 миллиона человек. Такой масштаб позволил оценить не только прямую связь между употреблением спиртного и развитием деменции, но и влияние генетической предрасположенности. Один из наиболее тревожных результатов касается людей с повышенным ге ...>>

Случайная новость из Архива

Электродиализный метатезис для опреснения воды 08.11.2024

Опреснение воды - одна из ключевых задач, стоящих перед человечеством в условиях роста населения и дефицита пресной воды. Инновационные методы очистки морской воды могут сыграть решающую роль в обеспечении планеты необходимыми ресурсами. Студентка Техасского университета Тайя Оддонетто предложила новый подход к опреснению, который может произвести революцию в этой сфере. Ее проект, поддержанный Центром инженерных исследований Национального научного фонда США, основан на методе электродиализного метатезиса и уже показал отличные результаты.

Метод Тайи Оддонетто предусматривает использование электродиализа для опреснения воды. Это процесс, при котором вода отделяется от соли на молекулярном уровне с помощью электрического тока и специальных ионообменных мембран. В ходе испытаний ее метод показал впечатляющую эффективность, снижая соленость морской воды на 93%. Такой результат делает этот способ более экономичным: по оценкам, он обходится на 20% дешевле существующих технологий опреснения.

Одной из мотиваций для создания нового метода стала задача, озвученная профессором Тайи. Он сказал, что если бы кто-то нашел способ превращать концентрированный рассол - отход опреснения - во что-то полезное, это могло бы кардинально изменить ситуацию с пресной водой на планете. Тайя, вдохновленная этой идеей, поставила перед собой цель решить проблему рассола, и ее настойчивость привела к созданию нового метода.

Обычно при опреснении до 85% воды из морского рассола превращается в питьевую, а оставшиеся 15% остаются в виде концентрированного солевого раствора, который закачивают в глубокие скважины. Однако этот процесс приводит к потере полезных минералов, таких как литий, который имеет растущий спрос. Кроме того, закачивание рассола в землю может привести к загрязнению почвы. Новая технология, предложенная Оддонетто, не только минимизирует эти риски, но и предлагает потенциально более экологичные решения.

Электродиализный метатезис - это перспективный метод, который может решить множество экологических и экономических проблем. Тайя объясняет, что эта технология может не только эффективно опреснять морскую воду, но и применяться для очистки сточных вод, что позволит снизить коммунальные расходы и обеспечить доступ к питьевой воде в засушливых регионах.

В условиях глобального водного кризиса технология, предложенная Тайей, открывает новые горизонты. Более дешевый и эффективный способ опреснения воды может существенно улучшить качество жизни миллионов людей. Кроме того, решение проблемы утилизации концентрированного рассола может принести дополнительные выгоды за счет сохранения важных минералов и снижения нагрузки на окружающую среду.

Электродиализный метатезис представляет собой шаг вперед в области опреснения и водоочистки. Эта инновационная технология может сыграть решающую роль в будущем водоснабжения и ресурсосбережения, предлагая как экономичные, так и экологичные решения глобальных проблем.

Другие интересные новости:

▪ Сверхтонкие солнечные панели для дирижаблей

▪ 100-мВт УФ-светодиод диапазона 200-280 нм

▪ Электромобиль от BMW

▪ Углеродно-нейтральная Apple

▪ STM32CubeIDE - новый универсальный инструмент разработки от ST

Лента новостей науки и техники, новинок электроники

Интересные материалы Бесплатной технической библиотеки:

▪ раздел сайта Электроснабжение. Подборка статей

▪ статья Нищие духом. Крылатое выражение

▪ статья Почему в Троянской войне Афродита защищала троянцев, а Гера и Афина помогали ахейцам? Подробный ответ

▪ статья Приемщик товаров. Должностная инструкция

▪ статья Простая трехдиапазонная антенна. Энциклопедия радиоэлектроники и электротехники

▪ статья Предок фотоаппарата. Физический эксперимент

Оставьте свой комментарий к этой статье:

Имя:


E-mail (не обязательно):


Комментарий:





Главная страница | Библиотека | Статьи | Карта сайта | Отзывы о сайте

www.diagram.com.ua

www.diagram.com.ua
2000-2025