Бесплатная техническая библиотека
Стабилизированный адаптер из нестабилизированного. Энциклопедия радиоэлектроники и электротехники

Энциклопедия радиоэлектроники и электротехники / Преобразователи напряжения, выпрямители, инверторы
Комментарии к статье
В магазинах, киосках подземных переходов, на радиорынках можно купить так называемые адаптеры, оформленные в виде сетевой вилки. Большие пульсации выходного напряжения и его зависимость от тока нагрузки затрудняют питание от них какой-либо радиоэлектронной аппаратуры. Как стабилизировать выходное напряжение таких адаптеров и рассказывается в данной статье.
Для фиксирования "круглых" значений выходного напряжения проще всего использовать микросхемы КР142ЕН5 и КР142ЕН8 с соответствующими буквенными индексами [1], устанавливая их на теплоотводе в корпус адаптера и дополняя выходным конденсатором емкостью не менее 10 мкФ. Если же необходимо "нестандартное" напряжение, следует применить микросхему КР142ЕН12А [2].

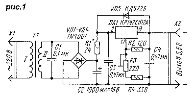
На рис.1 приведена схема зарядно-питающего устройства для портативного радиоприемника, в котором установлены четыре аккумулятора ЦНК-0,45. Конденсатор C1 устраняет высокочастотные помехи, возникающие в момент закрывания диодов выпрямительного моста. Выходное напряжение 5.6В устанавливают подстроечным резистором R3, а максимальный ток зарядки (примерно 150 мА) - подборкой резистора R1 при подключенной разряженной аккумуляторной батарее. Блок удобен тем, что зарядка аккумуляторов происходит быстро (4...6 ч), и перезарядить их невозможно [3,4].

Устройство собрано на основе адаптера RW-900 [5]. Чертеж печатной платы приведен на рис.2, а внешний вид блока - на рис.3. Использованы резисторы МЛТ: они установлены на плате вертикально, R3 - СП3-19а. Диоды VD1-VD4 и конденсатор C2 - от адаптера, остальные - RV-6. Конденсатор C4 можно установить также и любой оксидный, но его емкость должна быть не менее 10 мкA. Диод VD5 - практически любой выпрямительный или импульсный.
Микросхема DA1 установлена на ребристый теплоотвод размерами 10x18x38 мм от промышленного устройства. Для хорошего охлаждения в нижней и верхней стенках корпуса адаптера (ориентация при включении его в настенную розетку) просверлены по шесть отверстий диаметром 6 мм.
Если ограничение выходного тока не требуется, резистор R1 и конденсатор C3 можно исключить. В таком варианте максимальный выходной ток составлял 0.5А при напряжении пульсаций около 1 мВ. Подобрав сопротивления резисторов R3 и R4, можно можно собрать стабилизатор на любое выходное напряжение в пределах, допустимых трансформатором адаптера.
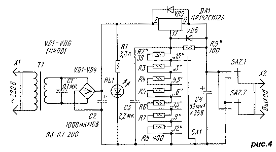
Используя универсальный адаптер, можно изготовить стабилизированный блок питания с переключаемым выходным напряжением. Схема доработанного адаптера "FIRST ITEM NO:57" приведена на рис.4. Вторичная обмотка трансформатора Т1 использована полностью, ее отводы заизолированы. Диоды VD5, VD6 - защитные [2].

Диоды VD1-VD4, конденсатор C2, светодиод HL1 и переключатели SA1 и SA2 - от адаптера. Резисторы R3-R8 не обязательно должны иметь указанные сопротивления, они могут отличаться в любую сторону в 1.5 раза. Важно, чтобы сопротивления R3-R7 были равны между собой с точностью 1...2%, а сопротивление R8 было вдвое большим, поскольку ими определяется погрешность установки выходных напряжений.
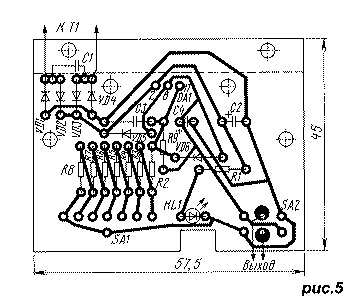
Все элементы, кроме трансформатора Т1, установлены на печатной плате, чертеж которой приведен на рис.5, а внешний вид устройства - на рис.6.
Для сверления крепежных отверстий и отверстий для установки переключателей и светодиода удобно применить печатную плату от используемого адаптера как трафарет. Чтобы выпаять переключатель из платы и при этом не повредить ее, необходимо, прогревая одновременно несколько соседних контактов паяльником, изгибать плату. Переходя постепенно к другим контактам, можно выпаять переключатель целиком.

Микросхема DA1 установлена на медную пластину размерами 52x38x1 мм, выполняющую роль теплоотвода. Пластина имеет отбортовку для крепления на плате, а по ее периметру просверлены отверстия диаметром 4 мм для обеспечения вентиляции. Для тех же целей в верхней и нижней стенках корпуса просверлено по восемь отверстий диаметром 6 мм.
Налаживание устройства заключается в установке выходных напряжений без нагрузки подборкой резисторов R2 и R9. Резистор R9 можно сразу поставить указанного на схеме сопротивления, а параллельно ему и вместо R2 впаять переменные резисторы сопротивлением 10 кОм и 56 Ом соответственно. Резистором, подключенным параллельно R9, устанавливают выходное напряжение 12 В, резистором R2 - 1.5 В. Поскольку эти установки взаимосвязаны, их надо повторить несколько раз. После этого устанавливают постоянные резисторы с подобранными сопротивлениями, причем резистор параллельно R9 подпаивают со стороны печатных проводников.
Стабилизированный адаптер обеспечивал выходной ток до 200 мА. При напряжении 12 В ток ограничен появлением пульсаций, при меньших - температурой микросхемы DA1. Увеличением поверхности теплоотвода можно существенно повысить выходной ток при малых выходных напряжениях.

Литература
- Щербина А., Благий С. Микросхемные стабилизаторы серий 142, К142, КР142. - Радио, 1990, №8, с. 89, 90; №9, с. 73
- Нефедов А., Головина В. Микросхемы КР142ЕН12. - Радио, 1993, №8, с. 41
- Нечаев И. Ускоренная зарядка аккумуляторов. - Радио, 1995,№9, с. 52, 53
- Алексеев С. Зарядные устройства для Ni-Cd аккумуляторов и батарей. - Радио, 1997, №1, с. 44-46; №2, с. 44-46
- Бирюков С. Сетевые адаптеры. - Радио, 1998, №6, с. 66, 67
Публикация: Н. Большаков, rf.atnn.ru
Смотрите другие статьи раздела Преобразователи напряжения, выпрямители, инверторы.
Читайте и пишите полезные комментарии к этой статье.
<< Назад
Последние новости науки и техники, новинки электроники:
Соседи формируют вашу микрофлору
27.04.2026
Ученые уже давно рассматривают человека не как изолированный организм, а как сложную экосистему, тесно связанную с микромиром внутри и вокруг него. Особенно активно исследуется кишечная микрофлора, от которой зависят пищеварение, иммунитет и даже некоторые аспекты поведения. Новая работа Университета Восточной Англии добавляет к этому пониманию еще один важный слой: оказывается, состав микробиоты может изменяться под влиянием людей, с которыми мы живем рядом.
Чтобы проверить, как социальные контакты влияют на передачу микробов, исследователи обратились к природной модели - сейшельской камышовке (Acrocephalus sechellensis), небольшой певчей птице, обитающей на острове Кузен на Сейшельских островах. Этот вид оказался особенно удобным для наблюдений, поскольку птицы живут изолированно и не покидают остров, что позволяет отслеживать их биологические и социальные связи на протяжении всей жизни.
В рамках многолетнего исследования ученые собирали сотни образцов птичьего помета, анализир ...>>
Лазерная печать микросхем как альтернатива кремнию
27.04.2026
Индустрия электроники постепенно уходит от исключительно кремниевых и пластиковых решений в сторону более гибких, дешевых и экологичных материалов. Одним из наиболее необычных направлений стала так называемая бумажная электроника, где привычный лист бумаги превращается в основу для работающих электронных схем. Именно в этой области исследователи из Лаборатории биоэлектроники и микросхем Бингемтонского университета предложили принципиально новый подход к созданию микросхем.
Ученые разработали технологию, при которой электронные схемы формируются прямо на пергаментной бумаге с помощью стандартного углекислотного лазера. Особенность используемого материала заключается в тонком силиконовом покрытии, придающем бумаге гидрофобные свойства и защищающем ее от влаги. Лазер точечно удаляет это покрытие, создавая рисунок будущей схемы и обнажая целлюлозные волокна, способные впитывать жидкость.
Далее в образованные лазером микроскопические каналы вводятся водные чернила, которые формируют ф ...>>
Психологическое состояние и старение
26.04.2026
Наука все чаще рассматривает старение не только как биологический процесс, но и как явление, тесно связанное с психологическим состоянием человека. Эмоциональное благополучие, уровень стресса и ощущение социальной включенности могут напрямую влиять на то, как быстро изнашивается организм на клеточном уровне.
Китайские исследователи провели масштабный анализ данных людей старше 45 лет и обнаружили важную закономерность: такие факторы, как одиночество и субъективное ощущение несчастья, связаны с ускорением биологического старения примерно на 1,65 года. Иными словами, внутреннее эмоциональное состояние может "добавлять" организму лишний возраст даже при одинаковом паспортном возрасте.
Чтобы получить более точную оценку биологического старения, ученые использовали комплексный подход. В их анализ вошли 16 биомаркеров крови, семь биометрических параметров, а также данные, связанные с биологическим полом участников. Такой набор позволил сформировать более многослойную картину состояния ...>>
Случайная новость из Архива Выдохни и подумай
02.07.2016
Говорят, что лишь божественный Юлий мог одновременно делать семь дел, а простому смертному это искусство неподвластно. Но вот появление сначала мультизадачной операционной системы, а потом и проникновение из виртуального в реальный мир множества устройств, распространяющих информацию, несколько изменило эту древнюю истину.
Нет, она по-прежнему верна, но тем не менее множество людей теперь стремятся делать несколько дел одновременно, например читать книгу, слушать музыку, смотреть фильм по телевизору и просматривать ленту новостей на планшете. И все у них получается плохо, поскольку нет возможности сосредоточиться на одной задаче. Появились эдакие многозадачные люди, или, как их назвали американские специалисты, всегда умеющие найти емкое англоязычное выражение, плохо переводимое на другие языки, heavy media multitaskers - что-то вроде "многозадачники с тяжелым пристрастием к информационной среде". Психологи, естественно, выполняя свою работу, хотят помочь им жить в современном мире, для чего ставят опыты.
Вот недавний результат, полученный Шауном Грином и его коллегами из университета Висконсин-Мэдисон (агентство "NewsWise", 18 апреля 2016 года). В эксперименте участвовали две группы людей: одни жили по старинке, а другие - в информационно насыщенной среде с полной многозадачностью. Обе группы выполняли тесты на внимание, однако их постоянно отвлекали, заставляя поглядеть что-нибудь в Сети.
Ожидаемо, вторая группа провалила испытания, показав гораздо худшие результаты: информационно-зависимые по привычке не могли сосредоточиться ни на одном из двух дел. Но вот перед началом испытания каждая группа сделала простейшее медитативное упражнение - люди посидели десять минут в покое, сосредоточившись на подсчитывании серий своих вдохов и выдохов, по девять штук в серии. И оказалось, что результаты не только у обеих групп выросли, но теперь люди-многозадачники успешнее справлялись с тестами.
"Конечно, благотворное влияние упражнения весьма непродолжительно, - говорит Шаун Грин. - Однако ясно, что для тех людей, которые пользуются одновременно несколькими гаджетами, не все потеряно: их система внимания отнюдь не повреждена. А значит, их можно научить сосредоточиваться, когда это нужно".
|
Другие интересные новости:
▪ Ртуть, которой мы дышим
▪ Вред галстуков
▪ LED драйверы от Mean Well HLG-480H
▪ Ноутбук ASUS VivoBook 4K
▪ Велодорожка с солнечными панелями
Лента новостей науки и техники, новинок электроники
Интересные материалы Бесплатной технической библиотеки:
▪ раздел сайта Охрана труда. Подборка статей
▪ статья Иллюзии цвета и контраста. Энциклопедия зрительных иллюзий
▪ Каковы социально-экономические предпосылки возникновения городов? Подробный ответ
▪ статья Глод. Легенды, выращивание, способы применения
▪ статья Стрелочный автомобильного вольтметр с растянутой шкалой 10...15 вольт. Энциклопедия радиоэлектроники и электротехники
▪ статья Карта становится шаржем. Секрет фокуса
[an error occurred while processing this directive]
Оставьте свой комментарий к этой статье:
Главная страница | Библиотека | Статьи | Карта сайта | Отзывы о сайте

www.diagram.com.ua
2000-2026