Бесплатная техническая библиотека
Катамаран на матрацах. Личный транспорт

Справочник / Личный транспорт: наземный, водный, воздушный
Комментарии к статье
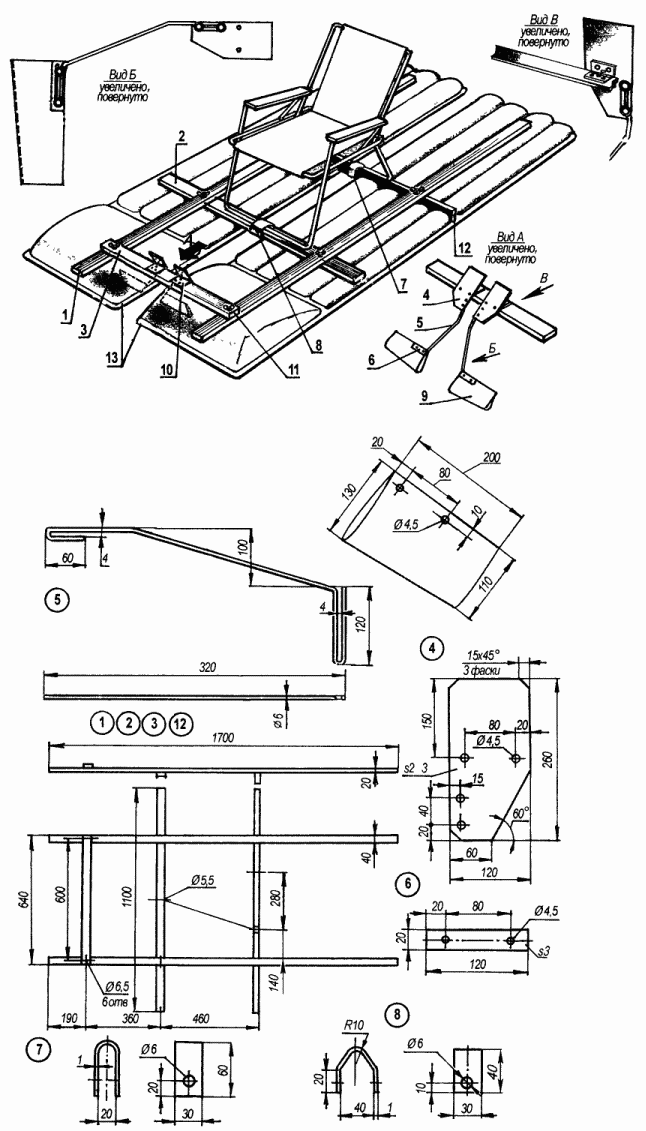
Для любителей походов выходного дня, предпочитающих отдыхать на воде, несомненный интерес представит вариант необычного легкого катамарана, опубликованный в венгерском журнале "Эзермештер". Это одноместный прогулочный "катер" с гребным ножным приводом, основу которого составляют два пляжных надувных матраса. Они используются без изменений или какой-либо доработки, поэтому сохраняют и свое традиционное назначение. А чтобы отправиться на них в небольшое плавание - например, порыбачить или просто "покататься" - достаточно уложить сверху небольшую деревянную раму с прикрепленным к ней обычным раскладным креслом, популярным у дачников и пенсионеров.
Поскольку надувные матрасы - изделия покупные (готовые), остановимся подробнее на раме-основании катамарана. Она собирается из деревянных планок сечением 40x20 мм и состоит из двух продольных опор длиной 1700 мм и скрепляющих их поперечин - одна передняя длиной 640 мм и еще две по 1100 мм. Между собой опоры и поперечины соединяются мебельными болтами с барашковыми гайками - для удобства сборки-разборки. Передняя и средняя поперечины при этом крепятся плашмя (первая - сверху опор, вторая - снизу), а задняя - снизу и ребром: так, чтобы она вошла в поперечный промежуток надувных баллонов каждого матраса. Этого сопряжения оказывается достаточно, чтобы обойтись без дополнительных соединений рамы с матрасами (хотя при необходимости можно скрепить и дополнительно).
После того, как рама-основание собрана, на ее среднюю и заднюю поперечину устанавливается раскладное кресло и прикрепляется металлическими хомутами из стальной или дюралюминиевой полосы.
Остается установить еще упомянутый гребной привод - две ножные педали, приводящие в возвратно-поступательное движение две лопасти, согнутые вдвое из толстой резины от автомобильных камер. Педали представляют собой металлические пластины, имеющие шарнир из форточной петли, прикрепленный, в свою очередь, к передней поперечине. Пластины соединяются с лопастями особым образом - изогнутыми (см. рис.) металлическими тягами из прутка диаметром 6 мм, крючкообразные концы которых привинчены болтами М4. Для удобства сборки-разборки петли педалей могут крепиться к поперечине также с помощью болтов с барашковыми гайками.
Катамаран (нажмите для увеличения): 1 - опора продольная (2 шт.), 2 - поперечина рамы, средняя, 3 - поперечина рамы, передняя, 4 - педаль (2 шт.), 5 - тяга (2 шт.), 6 - накладка гребной лопасти (металлическая пластина, 2 шт.), 7 - хомут задней поперечины, 8 - хомут средней поперечины, 9 - лопасть гребная (2 шт.), 10 - петля педали (2 шт.), 11 - болт с барашковой гайкой (6 шт.), 12 - поперечина рамы, задняя, 13 - надувные матрасы.
Окончательная сборка катамарана производится на мелководье возле берега: на воду укладываются надувные матрасы, а на них аккуратно опускается и соответственным образом совмещается с ними рама с креслом и приводом.
Для предохранения древесины от излишнего намокания все элементы рамы тщательно пропитываются олифой и окрашиваются в несколько слоев масляными красками или водостойким лаком.
Рекомендуем интересные статьи раздела Личный транспорт: наземный, водный, воздушный:
▪ Позисторные подогреватели дизельного топлива
▪ Велосипед в чемодане
▪ Раскладушка на волнах
Смотрите другие статьи раздела Личный транспорт: наземный, водный, воздушный.
Читайте и пишите полезные комментарии к этой статье.
<< Назад
Последние новости науки и техники, новинки электроники:
Большой адронный коллайдер прекращает работу
16.01.2026
Физика элементарных частиц - одна из самых передовых областей науки, где каждый эксперимент может изменить наше понимание мироздания. Центральным инструментом этих исследований является Большой адронный коллайдер (LHC), уникальный ускоритель частиц, позволяющий изучать самые фундаментальные законы природы. Недавно стало известно, что LHC временно прекращает свою работу для масштабной модернизации, которая подготовит его к новому этапу экспериментов с гораздо большей производительностью.
Коллайдер, расположенный в подземном тоннеле вдоль швейцарско-французской границы, создает столкновения частиц на невероятно высоких энергиях. Именно здесь в 2012 году ученые открыли бозон Хиггса - ключевую частицу, объясняющую, почему другие элементарные частицы имеют массу. Это открытие стало одним из самых значимых событий современной физики и подтвердило предсказания Стандартной модели.
Причиной временной остановки LHC стало развертывание проекта High-Luminosity LHC (HL-LHC). Модернизация позв ...>>
Робот-бармен AI Barmen
16.01.2026
Американские инженеры создали AI Barmen - робота-бармена, способного не только готовить коктейли, но и запоминать предпочтения гостей.
AI Barmen представляет собой автономную систему, которую можно устанавливать практически в любых местах - от баров и ресторанов до гостиниц, аэропортов и корпоративных мероприятий. Робот сочетает механический манипулятор с интеллектуальной программой, которая подбирает напитки на основе истории заказов конкретного пользователя. Гости могут оставаться анонимными или разрешить системе запоминать их вкусы, что позволяет получать одинаково качественный персонализированный коктейль в любой точке, где установлен AI Barmen.
Робот готовит широкий спектр коктейлей с высокой точностью, контролирует запасы ингредиентов и автоматически ведет учет, что снижает затраты и минимизирует ошибки. Для работы устройства достаточно стандартной розетки, подключение к воде не требуется, что делает его мобильным и удобным для эксплуатации в самых разных условиях.
Систе ...>>
Стерильного нейтрино не существует
15.01.2026
В физике элементарных частиц поиск новых, пока не обнаруженных объектов играет ключевую роль в понимании устройства Вселенной. Иногда такие поиски приводят к громким открытиям, а иногда - к не менее важным отрицательным результатам, которые позволяют отбросить неверные направления. Именно к таким случаям относится недавний вывод ученых о судьбе стерильного нейтрино - одной из самых интригующих гипотетических частиц последних десятилетий.
Исследователи из американской лаборатории Fermilab официально сообщили, что им не удалось найти доказательства существования стерильного нейтрино. К такому выводу пришла команда эксперимента MicroBooNE после многолетнего анализа столкновений нейтрино, которые ранее рассматривались как возможный намек на существование четвертого типа этих частиц. Предполагалось, что стерильное нейтрино взаимодействует с материей исключительно через гравитацию, что делало его крайне трудным объектом для обнаружения.
В рамках современной физики нейтрино известны в т ...>>
Случайная новость из Архива Камера на основе зрения насекомых
21.01.2025
Современные технологии все чаще черпают вдохновение из живой природы, совершенствуя оптические системы и алгоритмы обработки изображений. Ученые из Корейского института передовой науки и технологий (KAIST) разработали уникальную камеру, способную снимать даже при крайне слабом освещении и фиксировать объекты, движущиеся с высокой скоростью. Основой для создания устройства послужила зрительная система насекомых, которая позволяет им различать мельчайшие движения даже в условиях почти полной темноты.
Разработанная камера сочетает сложную оптическую архитектуру и передовые алгоритмы анализа изображений. В ее основе лежит способность насекомых накапливать свет и интегрировать его во времени, что дает возможность фиксировать быстро движущиеся объекты в условиях низкой освещенности. Этот принцип позволил ученым создать устройство, которое может снимать объекты, светимость которых в 40 раз ниже порога чувствительности традиционных высокоскоростных камер.
Группа исследователей под руководством профессоров Ки-Хун Джонга и Мин Х. Кима применила технологию параллельных оптических каналов, позволяющую фиксировать изображения с разных временных интервалов. Это новшество, известное как метод "разделения каналов", в сочетании с механизмом накопления света, значительно улучшает качество съемки при недостатке освещения.
Одним из главных достижений разработки стала способность камеры записывать видео со скоростью 9120 кадров в секунду. Это в девять раз превышает возможности стандартных датчиков изображения, что делает ее крайне перспективной для использования в различных технологических сферах.
Экспериментальные испытания показали высокую точность устройства. Камера успешно зафиксировала вращение диска со скоростью 32,5 оборота в секунду в условиях слабого освещения, при этом различая шесть различных цветовых спектров. Более того, она смогла точно определить световой спектр отдельных участков диска. Для сравнения, частота взмахов крыльев бабочки составляет от 15 до 20 раз в секунду, а камера без труда фиксирует движения даже с большей скоростью.
Перспективы применения новой технологии весьма широки. Разработчики планируют интегрировать систему в медицинские приборы, системы видеонаблюдения и камеры мобильных устройств. В настоящее время ведутся исследования по совершенствованию алгоритмов, что позволит создавать трехмерные изображения и повышать разрешающую способность съемки.
Идея использования особенностей зрения животных в инженерных разработках не нова. Ранее специалисты из Института науки и технологий Кванджу создали систему компьютерного зрения, вдохновленную строением глаз кошек. Эта технология позволила роботизированным системам лучше распознавать объекты в условиях нестабильного освещения, что стало важным шагом в развитии автономных машин. Таким образом, изучение природы продолжает открывать перед человечеством новые горизонты в области высоких технологий.
|
Другие интересные новости:
▪ Наномеханический датчик микрочипов с керамическим покрытием
▪ Цифровой апокалипсис
▪ Жидкость, сохраняющая энергию 20 лет
▪ Влияние стресса на структуру мозга
▪ Нут как важнейший элемент продовольственной безопасности
Лента новостей науки и техники, новинок электроники
Интересные материалы Бесплатной технической библиотеки:
▪ раздел сайта Ваши истории. Подборка статей
▪ статья Тайное стало явным. Крылатое выражение
▪ статья Во сколько лошадиных сил может развивать мощность одна лошадь? Подробный ответ
▪ статья Берберийская туя. Легенды, выращивание, способы применения
▪ статья Многодиапазонный симметричный диполь. Энциклопедия радиоэлектроники и электротехники
▪ статья Включение мощных семиэлементных светодиодных индикаторов. Энциклопедия радиоэлектроники и электротехники
Оставьте свой комментарий к этой статье:
Главная страница | Библиотека | Статьи | Карта сайта | Отзывы о сайте

www.diagram.com.ua
2000-2026