Menu Home

Бесплатная техническая библиотека для любителей и профессионалов Бесплатная техническая библиотека


Рыболовный глиссер. Личный транспорт

Личный транспорт: наземный, водный, воздушный

Справочник / Личный транспорт: наземный, водный, воздушный

Комментарии к статье Комментарии к статье

Для удачной рыбалки было бы неплохо чтобы к хорошим снастям добавилось везение, да еще; как говорится, "места надо знать". И если везение штука непостоянная, то места, где водится рыба, я знал. Однако добраться до них порой было сложно и "конному", и даже пешему. и существовал только один путь - по воде. Однако для этого нужно было хоть какое-то плавсредство. Вот я и решил сделать простую рыбацкую лодку.

Перед началом строительства лодки (а точнее - перед проектированием) сформулировал основные желаемые требования к ней: 1 - остойчивость; 2 - непотопляемость; 3 - жесткость конструкции; 4 экономичность хода под подвесным мотором, 5 - небольшая масса; 6 - траспортабельность; 7 - достаточное водоизмещение {грузоподъемность); 8 - маневренность; 9 - долговечность.

Требований достаточно много, а некоторые из них. к тому же, противоречили друг другу, что вынудило искать компромисс между ними. Отчасти поэтому лодка изготовлена из разных материалов: металла (дюралюминия) и дерева. Маневренность в некоторой степени принес в жертву остойчивости, а вместимость (водоизмещение) небольшим размерениям в целях фанспортабельности.

Как известно, лодка может плыть по воде в водоизмещающем режиме (как, например, плывут самоходные баржи) или глиссировать (как быстроходные катера). На маленьких скоростях экономично плавание на первом режиме. Но на относительно высоких скоростях такой режим приемлем лишь при достаточно большом отношении длины судна к его ширине (1/10 и выше), а для малых лодок экономичным является глиссирующий режим. Правда, для этого необходимо, чтобы на каждые 25 кг массы лодки со всем содержимым в ней приходилось не менее 1 л.с. мощности подвесного мотора. Но на это! показатель, по всем прикидкам, я выходил легко.

Исходя из этого, стал проектировать и лодку. Наиболее рационально было придать ее днищу такую форму, благодаря которой корпус при увеличении скорости сам бы поднимался над водой, т. е. чтобы лодка могла легко выходил, на глиссирование. Такая форма известна - реданная. Но изготовление уступа в днище в условиях домашней мастерской - работа довольно сложная, да и перемещаться по ступенчатому днищу не очень-то удобно. Поэтому остановился на более простом плоскодонном "лыжном" (с поднятой носовой частью) варианте - ведь не в гонках же на этом суденышке участвовать.

Рыболовный глиссер

Рыболовный глиссер
Самодельная рыбацкая лодка: слева - вид сзади; справа - вид спереди

В результате была построена простая. но прочная лодка для интенсивной эксплуатации с многолетним ресурсом, практически не требующая обслуживания и каких либо особых условий хранения.

Лодка конструктивно состоит из двух частей: носовой закрытой оконечности - форпика, и остальной открытой части - кокпита.

Корпус лодки изготовлен, в основном, из листов дюралюминия. Для днища был использован лист толщиной 1,6 мм. а для бортов, транца, переборки и передней части днища толщиной 1 мм. Все перечисленные детали цельнокроеные (каждая вырезана из одного листа), хотя и днище, и борта ничто не мешает склепать из составных панелей, сделав стык на месте крепления к ним переборки (только не забудьте прибавить 20-мм припуски на обеих стыкуемых заготовках). При этом толщина днища в 1,6 мм необходима только в кокпите, а в форпике можно использовать и миллиметровый лист.

Еще потребовалось 15 погонных метров алюминиевых уголков с размерами полок 20x20x2 мм и около 1000 штук авиационных заклепок диаметром 3,5х10 мм. Пихтовые доски и оцинкованные шурупы-саморезы в расчет не беру (такие. или подобные, материалы всегда есть под рукой у самодельщиков).

Применение этих материалов обеспечило легкость и достаточную прочность конструкции. К тому же они (материалы) сравнительно легко раскраиваются и обрабатываются. Правда, соединение деталей при помощи заклепок - способ трудоемкий и требует опыта, но он у меня имелся и время гоже было. К тому же сейчас в продаже есть немало хороших приспособлений, повышающих производительность и качество клепочных работ.

Рыболовный глиссер
Лодка рыболова (нажмите для увеличения): 1 - днище (дюралюминиевый лист s1,6); 2 - сиденье-банка (пихтовая доска 160х20); 3 - кронштейн для установки сиденья-балки (дюралюминиевый уголок 30x30x2,5, 2 шт.); 4 - внутренняя угловая накладка (дюралюминий, лист s3, 4 шт.); 5 - гнездо уключины; 6 - хомут крепления бензобака и канистр (алюминиевая полоса 20x2. 3 шт.); 7 - палубный настил (дюралюминиевый лист s1); 8 - крышка форпика (дюралюминиевый лист s1); 9 - ручка-рым (труба Ø10); 10 - продольная подпалубная балка - карлингс (пихтовая доска 80x20); 11 - поперечная подпалубная балка-бимс (пихтовая доска 80x20); 12 - ящик для снастей; 13 - борт (дюралюминиевый лист s1,2 шт.); 14 - наружная угловая накладка (s3, 2 шт.); 15 - планширь (пихтовая доска 125x20, 2шт.); 16 - стойка-пиллерс банки-сиденья; 17 - переборка (дюралюминиевый лист s1); 18 - лоска переборки (пихтовая доска 140x20); 19 - соединительный каркасный момент (дюралюминиевый уголок 20x20x2); 20 - транцевая доска (пихтовая доска 135x20); 21 - подмоторная накладка (сталь, лист s2); 22 - амортизирующий блок (жесткая резина 60x30x20); 23 - заклепка Ø3; 24 - шуруп-саморез; 25 - граней (дюралюминиевый лист s1)

Рыболовный глиссер
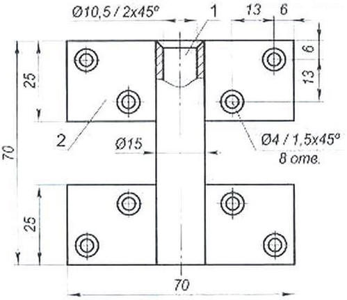
Монтаж стойки (пиллерса) под сиденьем (банкой): 1 - сиденье; 2 - крепеж упорного фланца (шуруп, 4 шт.); 3 - упорный фланец (дюралюминий, круг 60); 4 - стойка-пиллерс (дюралюминиевая труба Ø20); 5 - шпенек (алюминиевая заклепка Ø10); 6 - упорная шайба (дюралюминии, лист s3); 7 - днище лодки

Рыболовный глиссер
Выкройки основных деталей корпуса (поз. деталей совпадают с рис. общего вида) (нажмите для увеличения)

Уголки используются в конструкции как элементы, с помощью которых производится соединение отдельных деталей (панелей) между собой и в единую конструкцию. Одновременно они служат и как формообразующие (каркасные) элементы и даже отчасти как силовые. Но основные нагрузки несет корпус лодки.

Пихтовыми досками (можно использовать древесину и других хвойных пород), уложенными на ребро, обнесен весь кокпит. Эта обноска служит и рамой кокпита (придает жесткость верхним свободным кромкам панелей, не позволяя им изгибаться). и одновременно увеличивав! высоту бортов. К тому же транцевая доска служит опорой для подвесного мотора. а бортовые - для уключин весел и еще выполняют роль и пиллерсов, и привальных брусьев.

Уголки для скул корпуса лодки (линий стыковки бортов и днища) слегка разгибаются под соответствующий тупой угол и при необходимости - рихтуются.

Соединение дюралюминиевых листов с уголками ниже ватерлинии производится с установкой заклепок в два ряда в шахматном порядке с шагом 15 мм, а выше ее - в один ряд с шагом 20 мм.

В шов закладывается тонкий слой мастики. Необходимо проследить, чтобы в стык не попал какой-нибудь мусор или металлические опилки.

Крепление дюралюминиевых панелей к деревянным деталям конструкции осуществляется шурупами-саморезами в один ряд с шагом 30 мм - эти соединения находятся достаточно высоко над водой.

Палуба носовой оконечности лодки сделана в форме полукруга. Загиб уголка радиусом 650 мм для стыкооки бортов и палубного настила производится в сторону предварительно подрезанной горизонтальной полки до ширины 12 мм

Палубный настил над форпиком выполнен составным, из двух панелей, вырезанных из дюралюминиевого листа толщиной 1 мм Опорой для настила снизу служат две балки: поперечная (по судостроительной терминологии - бимс) и продольная (карлингс). В месте пересечения балки соединены "вполдерева". Бимс и карлингс позволяют смело наступать на палубу при швартовке носом и отчаливании. Для швартовки лодки в ее носу смонтирована ручка-рым. Первая (передняя) палубная панель - съемная, это крышка люка для доступа в форпик. К каркасному уголку она привинчена шурупами-саморезами Вторая (следующая за ней) панель боковыми кромками скреплена заклепками посредством того же угол ка с бортами, а к доске-надставке переборки привинчена тоже шурупами-саморезами Переборка тоже выполнена из миллиметрового дюралюминиевого листа. К бортам и днищу она прикреплена заклепками через дюралюминиевые уголки, причем на нижний уголок как раз приходится стык (внахлест) днищевых панелей и бортовых панелей, если они составные Здесь же стоит отметить, что поперечного силового набора как такового у лодки нет. поэтому переборка выполняет роль шпангоута, как. впрочем, и транец.

Корма лодки - транцевая то есть плоскосрезанная. Выполнена из листа дюралюминия толщиной 1 мм и надставлена в верхней части пихтовой доской двадцаткой шириной 125 мм. Здесь же отмечу, что для того чтобы поднять подвесной мотор повыше над водой, верхнюю кромку транцевой доски сделал выпуклой. Впрочем, такой же выпуклой сделал и верхнюю кромку доски надставки переборки, но с другой целью - для придания палубе выпуклости, чтобы попавшая на нее вода стекала за борт, а но в кокпит. В середине на транцевую доску надел оковку из стальной пластины толщиной 1 мм, чтобы кронштейн крепления мотора не повредил доску.

Хотя лодка двухместная, но сиденье (банка) одно и смонтировано оно не как обычно - поперек лодки, а посередине вдоль нее и чуть наискосок. Такое расположение банки не только гораздо удобнее для рыбалки, но позволяет рулевому и пассажиру занять любое место в кокпите в зависимости от загруженности плавсредства и волнения воды, а также при необходимости меняться местами прямо на воде и даже на ходу лодки без риска перевернуть ее или свалиться за борт самому. Размещение в лодке бензобака объемом 5 л, коробки для рыболовных снастей, ящика под одежду организовано, по возможности, таким образом, что днище осталось почти полностью свободным, что улучшило условия эксплуатации и обитаемости (если это слово можно употребить для небольшого по площади и открытого всем ветрам кокпита).

Большую, причем сосредоточенную, нагрузку на днище лодки передает установленная враспор стойка-пипперс сиденья-банки. Поэтому нижний конец стойки опирается на шайбу довольно большою диаметра из дюралюминиевого листа толщиной 3 мм. Шайба уложена на дно и приклепана к днищу единственной заклепкой диаметром 10 мм. причем. замыкающая головка выполнена в форме шпенька, служащего фиксатором положения нижнего конца трубчатой стойки.

Деревянные детали еще до монтажа пропитываются горячей олифой. Дюралюминиевые детали перед самой окраской очищаются от окисной пленки (заодно придается шероховатость их поверхностям для лучшего сцепления), обезжириваются и грунтуются. Вся лодка после сборки ее деталей в единую конструкцию окрашивается эмалью.

Форпик тюка не герметичен. Поэтому непотопляемость лодки обеспечивают помещенные в него 20 пластиковых баллонов емкостью по 1,5 л и две канистры по 10 л. установленные на днище в кормовой части кокпита лодки и прикрепленные, как и бензобак, хомутами к транцу.

Веспа постарался сделать прочными, легкими. удобными и непотопляемыми. Представляю их конструкцию.

Веретено весла выполнено из дюралюминиевой трубы диаметром 32 мм и миллиметровой толщиной стенки. В месте подсоединения уключины веретено усиливается изнутри отрезком толстостенной алюминиевой трубы с деревянной пробкой, закрепленной там эпоксидным клеем Пробка необходима для предотвращения попадания воды в весло и для того, чтобы ось-болт уключины не так интенсивно разбивал отверстие в веретене. Также для увеличения износостойкости на ось между рожками вилки уключины и трубой валька с обеих сторон вставлены фторопластовые шайбы.

Рыболовный глиссер
Весло (нажмите для увеличения): 1 - ручка (береза); 2 - веретено (труба 32x1): 3 - пробка (пихта); 4 - усилитель (труба алюминиевая Ø30x3); 5 - кронштейн (труба алюминиевая Ø32x4); 6 - заклепка (алюминий Ø6, 3 шт.); 7 - лопасть (дюралюминий, лист s2,5)

Рыболовный глиссер
Гнездо уключины: 1 - втулка для штыря (стальная труба Ø15x2,25); 2 - накладка (стальной лист s2, 2 шт.)

Рыболовный глиссер
Уключина и сборе (детали весла поз. 5, 6 и 7 условно показаны в сечении): 1 - штырь (сталь 35, круг Ø10); 2 - вилка (сталь 20, полоса 20x3); 3 - ось весла (болт М6x55 с гайкой); 4 - прокладка (фторопластовая шайба, s2); 5 - веретено весла: 6 - усилитель; 7 - пробка

Рыболовный глиссер
Доработка антикавитационной плиты на подвесном лолочном моторе "Ветерок-8М"

Попасть весла изготовлена из листового алюминия средней твердости толщиной 2,5 мм Вдоль лопасти, путем изгиба, выполнены два ручья. Крепление ее к веретену производится не напрямую, а через переходную вставку - усилитель корневой части веретена, выполненную из толстостенной алюминиевой трубы наружным диаметром 32 мм. также с деревянной пробкой. Чтобы можно было вставить усилитель в веретено, один конец первою проточен до внутреннего диаметра второю. В другом же конце сделана прорезь для лопасти, конец расплющен и детали склепаны. Усилитель посажен в веретено на эпоксидном клее. Для прочности соединения в клей можно добавить чистые мелкие металлические опилки или алюминиевую пудру.

Возможно изготовление веретена весла из пихты. В этом случае его диаметр, а соответственно и расстояние между рожками вилки уключины следует увеличить в 1,5 раза.

Масса лодки не дотягивает даже до 20 кг, а вот водоизмещение (общая масса пассажиров и полезного груза) составила около 130 кг.

Лодка оснащается доработанным подвесным мотором "Ветерок" мощностью 8 л.с. (ходил и под 12-сильным). Немаловажное значение имеет заглубление дейдвудной части мотора. У меня мотор максимально поднят, а для предотвращения подсоса воздуха антикавитационная плита уширена в носовой части и по бокам - к ней снизу приклепана пластина. В режиме глиссирования заглубление винта составляет около 250 мм, что вполне достаточно - трава и мусор, плавающие по воде, до винта не достают.

Еще у подвесного мотора "Ветерок" демонтировал упор, а к заднему борту у днища лодки приклепал дюралюминиевый уголок с блоком из твердой резины. Такая подвеска мотора не только лучше гасит вибрацию и удары, но и уменьшает нагрузку на транец. Из последнего соображения крепление мотора в поднятом положении также демонтировал, а двигатель теперь в этом положении держится на левом боку и без упора.

Скорость лодки с мотором "Ветерок-8М" 8 л.с. - до 30 км/ч, а с 12-сильным мотором - до 40 км/ч.

С одним водителем даже под 8-сильным двигателем лодка легко выходи і на глиссерный режим, а под мотором мощностью 12 л.с. ее корпус почти полностью выходит из воды. Дальнейшая езда происходит в экономичном глиссерном режиме (по расходу горючего) для мотора.

Замечено, что при наличии на воде ряби скорость выхода лодки на глиссирование возрастает. Счастливого вам плавания или. как говорят моряки: семь футов под килем. Только не забудьте надеть спасательные жилеты, даже если вы умеете хорошо плавать

Автор: Р.Нигматуллин

 Рекомендуем интересные статьи раздела Личный транспорт: наземный, водный, воздушный:

▪ Реверс-редуктор

▪ Аквапед-поплавок

▪ Восстановление велосипедной покрышки

Смотрите другие статьи раздела Личный транспорт: наземный, водный, воздушный.

Читайте и пишите полезные комментарии к этой статье.

<< Назад

Последние новости науки и техники, новинки электроники:

Лабораторная модель прогнозирования землетрясений 30.11.2025

Предсказание землетрясений остается одной из самых сложных задач геофизики. Несмотря на развитие сейсмологии, ученые все еще не могут точно определить момент начала разрушительного движения разломов. Недавние эксперименты американских исследователей открывают новые горизонты: впервые удалось наблюдать микроскопические изменения в контактной зоне разломов, которые предшествуют землетрясению. Группа под руководством Сильвена Барбота обнаружила, что "реальная площадь контакта" - участки, где поверхности разлома действительно соприкасаются - изменяется за миллисекунды до высвобождения накопленной энергии. "Мы открыли окно в сердце механики землетрясений", - отмечает Барбот. Эти изменения позволяют фиксировать этапы зарождения сейсмического события еще до появления традиционных сейсмических волн. Для наблюдений ученые использовали прозрачные акриловые материалы, через которые можно было отслеживать световые изменения в зоне контакта. В ходе искусственного моделирования примерно 30% ко ...>>

Музыка как естественный анальгетик 30.11.2025

Ученые все активнее исследуют немедикаментозные способы облегчения боли. Одним из перспективных направлений становится использование музыки, которая способна воздействовать на эмоциональное состояние и когнитивное восприятие боли. Новое исследование международной группы специалистов демонстрирует, что даже кратковременное прослушивание любимых композиций может значительно снижать болевые ощущения у пациентов с острой болью в спине. В эксперименте участвовали пациенты, обратившиеся за помощью в отделение неотложной помощи с выраженной болью в спине. Им предлагалось на протяжении десяти минут слушать свои любимые музыкальные треки. Уже после этой короткой сессии врачи фиксировали заметное уменьшение интенсивности боли как в состоянии покоя, так и при движениях. Авторы исследования подчеркивают, что музыка не устраняет саму причину боли. Тем не менее, она воздействует на эмоциональный фон пациента, снижает уровень тревожности и отвлекает внимание, что в сумме приводит к субъективном ...>>

Алкоголь может привести к слобоумию 29.11.2025

Проблема влияния алкоголя на стареющий мозг давно вызывает интерес как у врачей, так и у исследователей когнитивного старения. В последние годы стало очевидно, что границы "безопасного" употребления спиртного размываются, и новое крупное исследование, проведенное международной группой ученых, вновь указывает на это. Работы Оксфордского университета, выполненные совместно с исследователями из Йельского и Кембриджского университетов, показывают: даже небольшие дозы алкоголя способны ускорять когнитивный спад. Команда проанализировала данные более чем 500 тысяч участников из британского биобанка и американской Программы миллионов ветеранов. Дополнительно был выполнен метаанализ сорока пяти исследований, в общей сложности включавших сведения о 2,4 миллиона человек. Такой масштаб позволил оценить не только прямую связь между употреблением спиртного и развитием деменции, но и влияние генетической предрасположенности. Один из наиболее тревожных результатов касается людей с повышенным ге ...>>

Случайная новость из Архива

Полихроматические светодиоды для экранов 17.06.2024

В мире технологий дисплеев появился новый прорыв благодаря стартапу Q-Pixel из Лос-Анджелеса. Компания разработала уникальные полихроматические светодиоды "три в одном", которые обещают революционизировать производство экранов. Эта инновация значительно упрощает процесс создания дисплеев по сравнению с существующими технологиями OLED и micro-LED.

Одним из ключевых ограничений современных дисплейных технологий является необходимость использования трех субпикселей для каждого пикселя. Это ограничение приводит к значительному усложнению производства, особенно при создании матриц с сверхвысоким разрешением. Каждый субпиксель должен быть точно размещен, что делает процесс дорогостоящим и сложным.

Технология Q-Pixel решает эту проблему, предлагая заменить три субпикселя одним полихроматическим светодиодом. Эти светодиоды изготовлены на основе полупроводников из нитрида галлия, которые могут излучать красный, зеленый или синий свет в зависимости от приложенного напряжения. Такой подход не только упрощает производство, но и открывает новые возможности для создания дисплеев с более высоким разрешением и качеством изображения.

На основе этой технологии уже был создан прототип экрана размером 1,1х0,55 см с разрешением 3000х1500 пикселей. Данный экран демонстрирует впечатляющие характеристики: более быстрое время отклика, увеличенную яркость и длительный срок службы. Кроме того, такие дисплеи являются более энергоэффективными, что важно в эпоху растущих требований к энергосбережению и устойчивому развитию.

Полихроматические светодиоды "три в одном" от Q-Pixel обладают рядом преимуществ, которые делают их привлекательными для использования в различных устройствах - от смартфонов до телевизоров и профессиональных мониторов. Более простое и экономичное производство этих дисплеев позволяет ожидать снижения стоимости конечной продукции и, соответственно, ее большей доступности для потребителей.

Новые светодиоды также могут существенно улучшить качество изображения за счет более точной передачи цветов и высокой яркости. Это особенно важно для устройств, предназначенных для работы в условиях яркого освещения, а также для создания экранов с высоким динамическим диапазоном (HDR).

Разработка полихроматических светодиодов "три в одном" компанией Q-Pixel открывает новые горизонты в области производства дисплеев. Эта технология не только упрощает и удешевляет процесс создания экранов, но и обеспечивает лучшее качество изображения и энергоэффективность. Успешное внедрение таких дисплеев на рынок может изменить ландшафт индустрии, сделав передовые технологии более доступными и широко распространенными. В будущем, возможно, полихроматические светодиоды станут стандартом для всех видов экранов, обеспечивая высокое качество изображения и долговечность.

Другие интересные новости:

▪ Механический скелет, управояемый нейронами человека

▪ Строить здания по примеру шершней

▪ Бытовая химия и кишечник

▪ Комбинированный подэкранный датчик для безрамочных смартфонов

▪ Световое загрязнение затрудняет наблюдение за звездами

Лента новостей науки и техники, новинок электроники

 

Интересные материалы Бесплатной технической библиотеки:

▪ раздел сайта Мобильная связь. Подборка статей

▪ статья Эрих Фромм. Знаменитые афоризмы

▪ статья Для чего по ночам зажигаются светлячки? Подробный ответ

▪ статья Льюисия воскресающая. Легенды, выращивание, способы применения

▪ статья Прибор для проверки телефонных аппаратов. Энциклопедия радиоэлектроники и электротехники

▪ статья Цветочный магазин в платке. Секрет фокуса

Оставьте свой комментарий к этой статье:

Имя:


E-mail (не обязательно):


Комментарий:





Главная страница | Библиотека | Статьи | Карта сайта | Отзывы о сайте

www.diagram.com.ua

www.diagram.com.ua
2000-2025