Menu Home

Бесплатная техническая библиотека для любителей и профессионалов Бесплатная техническая библиотека


Устройства на логических элементах. Радио - начинающим

Радио - начинающим

Справочник / Радио - начинающим

Комментарии к статье Комментарии к статье

Начнем с автоколебательного мультивибратора. Являясь устройством универсальным, он может найти разнообразное применение. Возьмем, к примеру, мультивибратор на трех логических элементах. Будучи смонтированным вместе с транзисторным индикатором, он становится генератором световых импульсов, который можно использовать для модели маяка. Если транзистор будет средней или большой мощности, например КТ801А, в его коллекторную цепь можно включить несколько соединенных параллельно миниатюрных ламп накаливания - они украсят небольшую новогоднюю елку.

Если емкость конденсатора мультивибратора будет 1 мкФ, а постоянный резистор R1-переменным, сопротивлением 1,5 или 2,2 кОм, то получится генератор колебаний звуковой частоты, пригодный для проверки работоспособности радиовещательных приемников, усилителей звуковой частоты.

К выходу такого устройства можно подключить телефонный капсюль ДЭМ-4м или транзисторный индикатор, но с динамической головкой в коллекторной цепи. Получится звуковой генератор, который можно использовать в качестве квартирного звонка или применить для изучения приема на слух телеграфной азбуки. В первом варианте напряжение питания генератора можно подавать через звонковую кнопку, во втором - через контакты телеграфного ключа. Частоту генерируемых импульсов в пределах 800... 1000 Гц устанавливают переменным резистором или подборкой заменяющего его постоянного резистора. Следующий пример использования мультивибратора - генератор прерывистого звукового сигнала (рис. 1).

Устройства на логических элементах
Рис. 1 Генератор прерывистого звукового сигнала

Устройство состоит из двух взаимосвязанных мультивибраторов, выполненных на логических элементах одной микросхемы К155ЛАЗ. Мультивибратор на элементах DD1.3 и DD1.4 генерирует колебания частотой около 1000 Гц, которые капсюль ДЭМ-4м (BF1) преобразует в звук. Но звук прерывистый, потому что работой этого мультивибратора управляет другой, собранный на логических элементах DD1.1 и DD1.2.

Он генерирует тактовые импульсы с частотой следования около 1 Гц. Тональный сигнал в телефоне звучит лишь в те промежутки времени, когда на выходе тактового мультивибратора появляется высокий уровень напряжения. Длительность звуковых сигналов можно изменять подборкой конденсатора С1 и резистора R1, а высоту тона звука - подборкой конденсатора С2 и резистора R2.Одновибратор, дополненный световым сигнализатором (рис. 2), может стать основой игрового автомата или аттракциона. Например, аттракциона под условным названием "Погаси свечу". Сам аттракцион - это макет горящей свечи на подставке. Если сильно подуть на свечу, то замаскированная в ее "фитиле"лампа накаливания HL1 должна погаснуть, а спустя некоторое время вновь включиться.

Устройства на логических элементах
Рис. 2 Аттракционы "Погаси свечу" и "Тир"

"Секрет"аттракциона в том, что стенка подставки за свечой - легкая непрозрачная ткань, на обратной стороне которой, напротив "фитиля"свечи, укреплена небольшая жестяная пластина. Это контакт датчика-выключателя SF1. На расстоянии 3...5 мм от нее укреплен конец отрезка толстого провода - второй контакт выключателя. Когда дуют на "свечу", струя воздуха прогибает тканевую стенку коробки и контакты выключателя замыкаются. На выходе одновибратора появляется импульс низкого уровня, который закрывает транзистор и гасит лампу.

Другой пример возможного использования такого автомата - тир для "стрельбы"теннисным мячом. "Яблочком"мишени служит металлическая пластина диаметром 80...100 мм-это один из контактов SF1. На небольшом расстоянии от первого укреплен второй контакт. При точном попадании в "яблочко"контакты кратковременно замыкаются и сигнальная лампа гаснет. Но можно сделать так, чтобы лампа индикатора, наоборот, при точном попадании в цель зажигалась. В этом случае надо лишь для индикатора использовать транзистор структуры р-n-р, например, из серии П213 или КТ814, и поменять местами подключение выводов его эмиттера и коллектора, как показано на рис. 2, б. При этом резистор в базовую цепь транзистора можно не включать.

Одновибратор представляет интерес и как генератор одиночных импульсов для проверки работоспособности приборов и устройств цифровой техники, о чем мы поговорим чуть позже. Сейчас же приведем еще несколько примеров практического применения автоколебательного мультивибратора в радиолюбительских конструкциях. На рис. 3 показана схема простейшего 'измерительного прибора - пробника, с помощью которого можно проверить качество электрических контактов монтажа, выключателя, целость катушки колебательного контура, исправность диода, качество конденсатора, p-n перехода транзистора.

Устройства на логических элементах
Рис. 3 Пробник

Основа пробника - симметричный мультивибратор на элементах DD1.1 и DDl.2, генерирующий импульсы с частотой следования около 1 кГц. Индикатором пробника служат светодиод HL1 или высокоомные головные телефоны ТОН-1, ТОН-2 или ТЭГ-1, подключенные к двухгнездной розетке XS1. Щупы ХА1 и ХА2 выполняют роль контактов своеобразного выключателя, через который на микросхему подается напряжение источника питания GB1.

Пока щупы не замкнуты между собой, цепь питания разорвана и мультивибратор не работает. Если щупами коснуться концов проводника или выводов исправной катушки индуктивности, цепь питания микросхемы окажется замкнутой и мультивибратор начнет генерировать электрические колебания звуковой частоты. При высоком уровне напряжения на выходе (на выводе 6) мультивибратора светодиод HL1 будет зажигаться, а при низком- гаснуть. А так как частота генерируемых импульсов довольно высокая, глаз не замечает миганий светодиода - он светит как бы непрерывно. Если, однако, в проверяемом проводнике или в катушке есть обрыв, то ни свечения светодиода, ни звука в телефонах не будет.

Чтобы проверить полупроводниковый диод, к его выводам подключают щупы пробника - сначала в одной полярности, а затем, поменяв местами, в другой. При одном подключении, когда диод относительно источника питания оказывается включенным в прямом направлении, световой и звуковой сигналы должны быть, а при обратном - нет. Появление сигналов при любой полярности подключения пробника укажет на тепловой пробой р-n перехода диода, а отсутствие сигналов при любой полярности подключения - на обрыв внутренней цепи диода.

Аналогично проверяют исправность коллекторных и эмиттерных р-n переходов транзисторов.

Исправность конденсаторов проверяют на пробой (замыкание обкладок) по отсутствию светового (или звукового) сигнала при касании их выводов щупами пробника. При проверке конденсатора большой емкости 'в момент подключения к его выводам щупов пробника могут появляться кратковременный звуковой сигнал и вспышка светодиода. Эти сигналы вызывает ток зарядки конденсатора. Они тем продолжительнее, чем больше емкость проверяемого конденсатора.

Источником питания такого пробника может служить батарея 3336 или три гальванических элемента 316, 332, соединенные последовательно. На логических элементах 2И-НЕ можно построить простой генератор колебаний звуковой частоты (3Ч) и радиочастоты (РЧ) для проверки трактов радиовещательных приемников. Примером может служить прибор, схема которого показана на рис. 4

Устройства на логических элементах
Рис. 4 Генератор колебаний ЗЧ и РЧ

Генератором колебаний звуковой частоты (около 1 кГц) служит мультивибратор на элементах D.D1.3 и DD1.4. Генерируемые им колебания через инвертор DD2.2, конденсатор С5 и гнездо XS2 "ЗЧ"с помощью щупа ХА1, вставляемого в это гнездо, подают на вход проверяемого усилителя звуковой частоты.

Генератор колебаний радиочастоты образуют логические элементы DD1.1, DD1.2, катушка L1 и конденсаторы C1, C2. Частоту его колебаний, определяемую в основном индуктивностью катушки L1, в небольших .пределах можно изменять конденсатором переменной емкости C1.

Элемент DD2.1 выполняет функцию смесителя прибора. На его входной вывод 1 поступают колебания радиочастоты, а на вывод 2 - звуковой частоты. В результате на выходе элемента формируется импульсный сигнал радиочастоты, модулированный колебаниями звуковой частоты. Через конденсатор С4 и гнездо XS1 "РЧ"его подают на вход радиочастотного тракта (или одного из его узлов) проверяемого приемника.

Катушку L1 контура генератора радиочастоты можно намотать на каркасе диаметром 8... 9 мм с отрезком стержня из феррита 600НМ внутри. Чтобы пробник работал в диапазоне 3...7 МГц, на каркас надо намотать 50. . .55 витков провода ПЭВ-2 0,2.. .0,3. В качестве конденсатора переменной емкости (C1) можно использовать подстроечный КПК-1.

Конструкция такого генератора-пробника - произвольная. Для его питания желательно использовать источник напряжения 5В, но можно и батарею 3336.

И еще один пример практического использования логических элементов цифровых микросхем - игра "Переправа". В основу содержания этой игры положена старинная логическая задача о волке, козе и капусте, которых перевозчик должен без потерь переправить на противоположный берег реки. Но лодка так мала, что кроме самого перевозчика она может вместить только одного пассажира или груз. Оставлять же на берегу волка с козой или козу с капустой нельзя - обязательно будут потери. Без присмотра оставить вместе можно только волка с капустой. Как в такой ситуации должен поступить перевозчик?

Для решения этой задачи радиолюбитель И. Синельников из Калининграда предложил игровое электронное устройство на логических элементах 2И-НЕ и ЗИ-НЕ, принципиальную схему которого вы видите на рис. 5.

Устройства на логических элементах
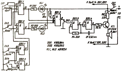
Рис. 5 Игра "Перевозчик"

Переключателями SA1-SA4 играющий выполняет "перевозку"пассажиров и груза на противоположный берег реки. Так, например, если он считает, что первой через реку должна быть переправлена коза, он переводит вниз (по схеме) подвижный контакт переключателей SA2 "Коза"и SA1 "Перевозчик". Положение ручек переключателей на лицевой панели коробки, в которой смонтирована игра, отображает ситуацию, сложившуюся в текущий момент на переправе. Элементы DD1.1, DD1.2 и DD2.1, DD2.2 образуют логический узел, формирующий сигнал ошибочного хода, при котором возникает опасная ситуация на одном из берегов реки (волк может съесть козу, а коза - капусту). О допущенной ошибке сигнализируют светодиоды HL1 и HL2, каждый из которых расположен на "своем"берегу, и звуковой сигнал, создаваемый Динамической головкой ВА1.

Как работает такой игровой автомат? В исходном состоянии, когда все пассажиры, груз и перевозчик находятся на одном берегу реки, что соответствует показанному на схеме положению переключателей SAI-SA4. Для рассказа о работе логического узла будем считать, что питание автомата подано, то есть замкнуты контакты кнопки SB1. На выходе элементов DD1.1, DD1.2 и DD2.1 логического узла действует высокий уровень напряжения и, следовательно, светодиоды не светят (из-за того, что на аноде и на катоде каждого из них практически одинаковое напряжение, ток через светодиод не протекает), а на выходе элемента DD2.2- низкий уровень. При включении питания кнопкой SB1 "Переправа"на входном выводе 2 элемента DD1.1 и входном выводе 3 элемента DD1.2, а также на обоих входах элемента DD2.1 возникает низкий уровень напряжения. Для элементов 2И-НЕ и ЗИ-НЕ этого достаточно, чтобы на их выходе появился высокий уровень напряжения. Оба входа элемента DD2.2 в это время остаются свободными, на них, следовательно, присутствует высокий уровень напряжения, а на выходе элемента (вывод 8), а значит, и на нижнем по схеме входе элемента DD1.2, с которым он соединен,- низкий уровень напряжения.

Предположим, что играющий первым ходом переправляет на другой берег козу. Для этого он должен перевести в другое положение ручки переключателей SA2, SAI и нажать на кнопку SB1. При этом все четыре элемента логического узла останутся в исходном состоянии и ни один из светодиодов не включится.

А если попытаться первым перевезти волка? В таком случае переключатель SA3 создаст на верхнем по схеме входе элемента DD2.2 низкий уровень напряжения и на нижнем входе элемента DD1.2 появится высокий уровень. Сигнал такого же уровня будет и на двух других входах элемента DD1.2, так как они окажутся свободными. В результате на выходе элемента DD1.2 появится низкий уровень напряжения и включится светодиод HL2 - сигнал опасной ситуации (оставшаяся на берегу коза может съесть капусту!). А светодиод HL1, находящийся на другом берегу реки, останется выключенным, так как в это время на верхнем входе элемента DD1.1 переключатель SAI создаст низкий уровень напряжения.

С выходов элементов DD1.1 и DD1.2 сигнал опасной ситуации (низкого уровня) подается также на входные выводы 9 и 10 элемента DD1.3. При появлении хотя бы на одном из них низкого уровня элемент переключается в единичное состояние, что приводит к запуску мультивибратора, собранного на элементах DD2.3 и DD2.4. Генерируемые им колебания частотой около 500 Гц усиливает ступень на транзисторе VT1, включенном эмиттерным повторителем, и головка ВА1 излучает тревожный звуковой сигнал. Переключателем SA5 звуковую сигнализацию, оповещающую об ошибке в ходе решения задачи, можно отключить, оставив лишь световую сигнализацию.

Резистор R5 ограничивает ток базы транзистора VT1. Через резистор R3 на верхний вход элемента DD1.3 подан высокий уровень напряжения, что защищает узел сигнализации от различных электрических помех. Подстрочным резистором R6 устанавливают желательную громкость звучания головки ВА1.

Детали игрового автомата, кроме элементов коммутации, светодиодов и динамической головки, можно смонтировать на печатной плате размерами 70х25 мм (рис. 6, а) и разместить ее в пластмассовой или изготовленной из фанеры коробке размерами примерно 120Х90х50 мм (рис. 6, б).

Устройства на логических элементах
Рис 6 а Монтажная сторона игры "Перевозчик"

Устройства на логических элементах
Рис. 6 б Лицевая сторона игры "Перевозчик"

На передней панели коробки выполнен рисунок реки, вдоль русла которой укреплены переключатели SAI-SA4, а на противоположных берегах- светодиоды HL1 и HL2. Здесь же находятся переключатель SA5 и кнопка SB1 "Переправа". Переключатели SAI-SA5-тумблеры МТ-1 или ТВ2-1, кнопка SB1-KM1-1. Динамическая головка ВА1-мощностью 0,1...0,25 Вт, например 0,25ГД-10. Источником питания может служить двухполупериодный выпрямитель с выходным напряжением 5 В или батарея 3336.

Перед началом решения задачи все переключатели должны быть в исходном положении, соответствующем ситуации, когда все пассажиры, груз и перевозчик находятся на одном берегу реки. Затем начинают переправу на другой берег - ставят ручки соответствующих переключателей так, чтобы они были направлены в сторону берега, куда должна плыть лодка, и, нажав на кнопку "Переправа", проверяют правильность хода. Если при этом появляется световой или звуковой сигнал ошибки, ход считается неверным - надо искать другой вариант решения задачи.

Чтобы убедиться в правильной работе игрового автомата, надо знать ход решения логической задачи. Он может быть таким. Сначала перевозчик переправляет на другой берег козу. Затем возвращается обратно и забирает капусту. На другом берегу он оставляет капусту и забирает козу. Переправив обратно козу, сажает в лодку волка и перевозит его к капусте, после чего возвращается и забирает козу. Таким образом, задача решается за семь ходов. Могут ли быть другие варианты решения задачи? Подумайте.

Смотрите другие статьи раздела Начинающему радиолюбителю.

Читайте и пишите полезные комментарии к этой статье.

<< Назад

Последние новости науки и техники, новинки электроники:

Оптимальная продолжительность сна 12.11.2025

Сон играет ключевую роль в поддержании здоровья, когнитивных функций и общего самочувствия. Несмотря на широко распространенный стереотип о восьмичасовом сне, последние исследования показывают, что оптимальная продолжительность сна для большинства здоровых взрослых ближе к семи часам. Эволюционный биолог из Гарварда, Дэниел Э. Либерман, утверждает, что традиционная норма восьми часов сна - это скорее культурное наследие индустриальной эпохи, чем биологическая необходимость. По его словам, полевые исследования, проведенные в сообществах, не использующих электричество, показывают, что средняя продолжительность сна составляет 6-7 часов, что значительно отличается от общепринятого стандарта. Современные эпидемиологические данные подтверждают этот взгляд. Исследования выявили так называемую "U-образную кривую" зависимости между продолжительностью сна и рисками для здоровья. Минимальные показатели заболеваемости и смертности наблюдаются именно у людей, спящих около семи часов в сутки. ...>>

Дефицит кислорода усиливает выброс закиси азота 12.11.2025

Парниковые газы играют ключевую роль в изменении климата, а закись азота (N2O) - один из наиболее опасных среди них. Этот газ не только втрое сильнее углекислого газа в удержании тепла, но и разрушает озоновый слой. Недавнее исследование американских ученых показало, что микробы в зонах с низким содержанием кислорода активно производят N2O, усиливая глобальные климатические риски. Команда из Университета Пенсильвании изучала прибрежные воды у Сан-Диего и провела наблюдения на глубинах от 40 до 120 метров в Восточной тропической северной части Тихого океана - одной из крупнейших зон дефицита кислорода. Исследователи сосредоточились на том, как морские микроорганизмы превращают нитраты в закись азота. В ходе работы выяснилось, что существует два пути образования N2O. Один путь начинается с нитрата, другой - с нитрита. На первый взгляд более короткий путь должен быть эффективнее, однако микробы, использующие нитрат, продуцируют больше газа, поскольку этот "сырьевой" источник более д ...>>

Омега-3 помогают молодым кораллам выживать 11.11.2025

Сохранение коралловых рифов становится все более актуальной задачей в условиях глобального изменения климата. Молодые кораллы особенно уязвимы на ранних стадиях развития, когда стрессовые условия и нехватка питательных веществ могут привести к высокой смертности. Недавнее исследование ученых из Технологического университета Сиднея показывает, что специальные пищевые добавки способны существенно повысить выживаемость личинок кораллов. В ходе работы исследователи разработали особый состав "детского питания" для коралловых личинок. В него вошли масла, богатые омега-3 жирными кислотами, а также важные стерины, необходимые для формирования клеточных мембран. Личинки, получавшие эти добавки, развивались быстрее, становились крепче и демонстрировали более высокую устойчивость к стрессовым факторам. Особое внимание ученые уделили липидам. Анализ показал, что личинки активно усваивают эти вещества, что напрямую влияет на их жизнеспособность. Стерины, содержащиеся в корме, повышают устойчи ...>>

Случайная новость из Архива

Безошибочные осциллирующие катализаторы 09.03.2020

Команда исследователей Миннесотского университета создала технологию осциллирующего катализатора, который может ускорять определенные химические реакции без побочных процессов или ошибок.

Во многих химических процессах сегодня используются катализаторы. Они ускоряют химические реакции, снижая энергию их активации. Химическая реакция, происходящая на поверхности катализатора, такого как металл, ускоряется быстрее, чем нежелательные побочные процессы. Если целевая реакция протекает намного быстрее, чем любая другая побочная, то катализатор хорошо подходит для синтеза наиболее ценных продуктов. Но иногда даже незначительная примесь побочных продуктов может существенно загрязнить конечное соединение. К тому же не во всех реакциях побочные процессы протекают значительно медленнее основных - иногда они даже сравнимы с ними по скорости.

Чтобы решить эти проблемы, ученые из Миннесотского и Делавэрского университетов, Калифорнийского университета в Санта-Барбаре и Массачусетского университета в Амхерсте разработали новый класс катализаторов, которые значительно ускоряют целевые химические реакции с помощью колебаний. Когда частота и амплитуда воздействующей волны совпадают с характеристиками целевой реакции, то она становится в тысячи раз быстрее всех побочных процессов.

"Все химические реакции имеют собственные частоты, как струны на пианино или гитаре, - рассказывает ведущий автор исследования Пол Дауенхауэр. - Когда мы находим эту правильную частоту нужной реакции, то катализатор становится почти совершенным - расточительные побочные процессы практически полностью прекращаются".

Открытие имеет особое значение для производства ключевых химических веществ в энергетике, материаловедении, пищевой и медицинской промышленности. Наиболее важные химические вещества производятся в огромных промышленных масштабах, так что даже хорошо развитые катализаторы образуют некоторые побочные продукты, создавая тысячи тонн отходов в год. Теперь исследователи знают, как справиться с этим.

Другие интересные новости:

▪ Определены требования к первым мобильным сетям пятого поколения

▪ Никотин из электронных сигарет вносит мутации в ДНК

▪ Смартфоны Samsung Galaxy Core II, Galaxy Young 2 и Galaxy Star 2

▪ Экологичная замена пластиковым бутылкам

▪ Суперкомпьютер производительностью 1,5 экзафлопс

Лента новостей науки и техники, новинок электроники

 

Интересные материалы Бесплатной технической библиотеки:

▪ раздел сайта Прошивки. Подборка статей

▪ статья Книги имеют свою судьбу. Крылатое выражение

▪ статья Какие камни называют драгоценными? Подробный ответ

▪ статья Мини-микроскоп. Детская научная лаборатория

▪ статья Монтаж скрытых электропроводок. Энциклопедия радиоэлектроники и электротехники

▪ статья Преобразователь напряжения, 12/220 вольт 60 ампер 720 ватт. Энциклопедия радиоэлектроники и электротехники

Оставьте свой комментарий к этой статье:

Имя:


E-mail (не обязательно):


Комментарий:





Главная страница | Библиотека | Статьи | Карта сайта | Отзывы о сайте

www.diagram.com.ua

www.diagram.com.ua
2000-2025