Бесплатная техническая библиотека
Автодром для ходовых испытаний моделей. Советы моделисту

Справочник / Аппаратура радиоуправления
Комментарии к статье
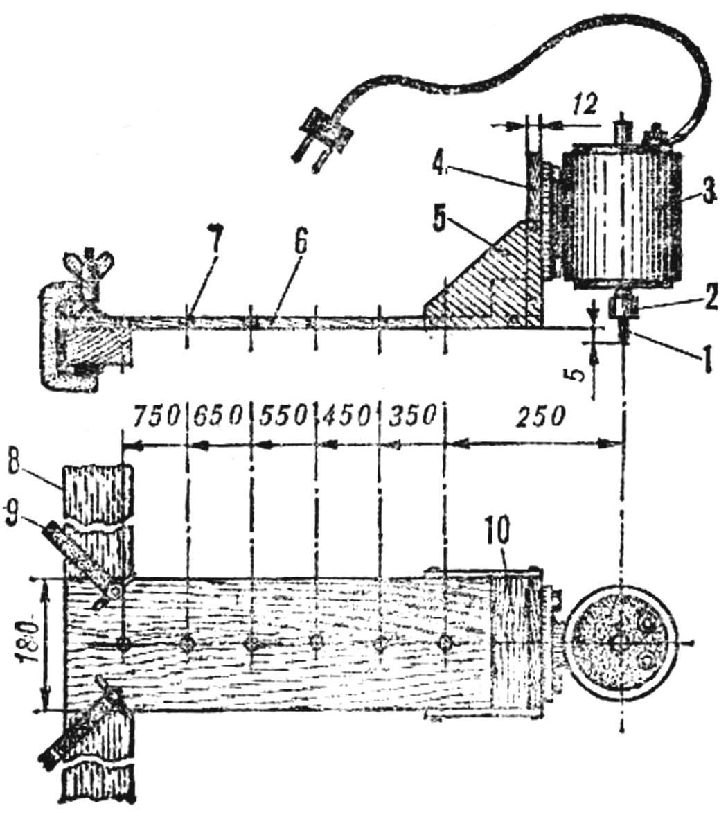
Несложное приспособление, разработанное членами автомодельного кружка Уфимского Дворца детского творчества, мелеет оказаться полезным многим трассовикам. Оно очень облегчает создание миниатюрного автодрома для проведения ходовых испытаний моделей. Мы убедились в этом, испробовав его на деле: "проходка" пазов на трассе ускоряется во много раз.
Основа устройства - Г-образная конструкция из фанеры толщиной 10-12 мм, скрепленная дюралюминиевыми пластинами и усиленная на стыке деревянным бруском. На вертикальную стенку болтами М6 крепится двигатель ДТ-75 на 2800 об/мин. Отверстия для него сверлятся по месту, причем для настройки глубины фрезерования лучше делать их овальными. Патрон для фрезы O 5 мм мы выточили из латуни и посадили на вал двигателя. Чтобы получить паз необходимой глубины, фреза в подготовленном к работе приспособлении должна выступать на 5 мм за нижнюю горизонтальную плоскость.
Для образования пазов на прямых участках трассы к основанию устройства крепится, как показано на рисунке, направляющая планка. Это может быть деревянная рейка, прижимаемая струбцинами, или металлический угольник, фиксируемый болтами с барашковыми гайками. В последнем случае вдоль боковых кромок основания с шагом 100 мм сверлятся отверстия для фиксации направляющей; при использовании рейки достаточно на соответствующих расстояниях нанести риски.
Вариант оснащения приспособления для фрезеровки прямых пазов с использованием деревянной рейки (нажмите для увеличения): 1 - фреза Ø 5 мм, 2 - патрон, 3 - электродвигатель типа ДТ-75 (220 В, 2300 об/мин), 4 - стойка вертикальная, фанера 12-мм, 5 - крепежный уголок, 6 - горизонтальная плоскость, фанера 12-мм, 7 - отверстия для фрезеровки радиусных пазов, 8 - планка для фрезеровки прямых пазов, 9 - струбцины, 10 - деревянный брусок 80х80 мм.
Приспособление для фрезеровки пазов (нажмите для увеличения)
Отверстия по продольной оси основания служат для установки приспособления в рабочее положение при фрезеровании радиусных пазов. Этот процесс тоже несложен. В предварительно размеченном участке будущей трассы просверлите центры предполагаемых закруглений, совмещая с ними поочередно соответствующие отверстия основания (планку-направляющую, разумеется, надо предварительно снять), фиксируйте установку болтом и ведите "дорожные работы".
Фрезеровка с использованием первого и шестого отверстий облегчит вам обрезку краев будущего дорожного полотна и подгонку к нему бортиков.
Автор: В.Вальтер
Рекомендуем интересные статьи раздела Моделирование:
▪ Три модели планетоходов
▪ Авиамодельное многоборье
▪ Гоночный автомобиль Лотус-56В
Смотрите другие статьи раздела Моделирование.
Читайте и пишите полезные комментарии к этой статье.
<< Назад
Последние новости науки и техники, новинки электроники:
Видеоигры, образ жизни и масса тела
24.01.2026
Видеоигры давно стали неотъемлемой частью повседневной жизни миллионов людей и перестали восприниматься исключительно как форма досуга. Однако по мере роста времени, проводимого за экраном, все чаще возникает вопрос о том, как подобные привычки отражаются на здоровье. Новое исследование позволило по-новому взглянуть на связь между увлечением видеоиграми, образом жизни и риском набора лишнего веса.
Ученые обратили внимание на то, что избыточная масса тела чаще встречается среди людей, активно играющих в компьютерные игры, по сравнению с теми, кто либо вовсе не играет, либо делает это эпизодически. Особенно заметной эта тенденция оказалась у игроков, которые посвящают видеоиграм более 10 часов в неделю. Именно в этой группе чаще фиксировались неблагоприятные поведенческие факторы, включая нарушения питания, сна и недостаток физической активности.
Ранее исследователи уже связывали активное пользование компьютером и распространение скоростного интернета с ростом риска избыточного вес ...>>
Игровой смартфон RedMagic 11 Air
24.01.2026
Игровые смартфоны давно перестали быть нишевыми устройствами и превратились в самостоятельный класс мобильной электроники, где на первый план выходят производительность, экран и система охлаждения. Бренд RedMagic, специализирующийся именно на таких решениях, продолжает развивать свою философию и представил новую модель RedMagic 11 Air, в которой сделан акцент на сочетание высокой мощности и сравнительно тонкого корпуса.
Внешне RedMagic 11 Air сохраняет узнаваемый фирменный стиль с прозрачной задней панелью, сквозь которую просматриваются внутренние компоненты устройства. В компании отмечают, что дизайн вдохновлен эстетикой виниловых пластинок, гоночных трасс и геометрического искусства. Центральным визуальным и функциональным элементом остается активный охлаждающий вентилятор с RGB-подсветкой, подчеркивающий игровую направленность смартфона.
Одной из ключевых особенностей модели стал 6,85-дюймовый AMOLED-дисплей с разрешением 1.5K и частотой обновления 144 Гц. Производитель назыв ...>>
Зеленый чай и метаболическое здоровье
23.01.2026
Зеленый чай на протяжении многих лет остается объектом пристального внимания ученых, поскольку его регулярно связывают с профилактикой различных хронических заболеваний. Этот напиток давно вышел за рамки повседневной традиции и стал предметом серьезных биомедицинских исследований. Недавняя научная работа показала, что полезные свойства зеленого чая могут быть гораздо шире, чем считалось ранее, особенно в контексте обмена веществ и здоровья кишечника.
В рамках исследования ученые наблюдали за 40 добровольцами, среди которых 21 человек имел диагностированный метаболический синдром, а 19 участников были здоровыми взрослыми. В течение 28 дней одной группе испытуемых давали экстракт зеленого чая, тогда как другая группа получала плацебо. Такой подход позволил сравнить влияние активных компонентов напитка на разные показатели здоровья.
Результаты показали, что у участников, принимавших экстракт зеленого чая, уровень глюкозы в крови оказался ниже, чем у тех, кто получал плацебо. Этот эф ...>>
Случайная новость из Архива Морские водоросли делают облака
01.08.2015
Над антарктическими водами Мирового океана почти никогда не рассеиваются облака, и причина тому, как оказалось, в фитопланктоне - местные микроскопические водоросли в буквальном смысле делают облака, выделяя в атмосферу аэрозольные частицы. Обычно, когда говорят про аэрозоли, то имеют в виду те, которые получаются в результате человеческой деятельности (дым из заводских труб и т. д.). Частицы сажи служат своеобразными "семенами", вокруг которых конденсируются пары воды - так и получаются капли, объединяющиеся в облако.
Но такие точки конденсации могут иметь и вполне природное происхождение: мельчайшие брызги воды, содержащие органические вещества и морскую соль, или сульфаты и соли аммония как продукты жизнедеятельности каких-нибудь живых организмов. О том, что море и его обитатели служат источником "натуральных аэрозолей", говорят давно, однако до сих пор мало кто пытался количественно оценить вклад морских экосистем в формирование облаков. Именно это попытались сделать Дэннис Хартманн (Dennis Hartmann) из Вашингтонского университета вместе коллегами из Университета Лидса, Тихоокеанской северо-западной национальной лаборатории и Лос-Аламосской национальной лаборатории.
В работе были использованы данные спутников НАСА, позволившие оценить плотность облаков между 35° и 55° южной широты. Состояние облаков сравнивали с концентрацией хлорофилла а, который обычно служит маркером биологической активности в морях и океанах. В статье в Science Advances авторы пишут, что связь между облаками и уровнем хлорофилла была однозначной: чем больше было фотосинтезирующего пигмента (то есть чем больше было водорослей), тем облачней была погода.
Жизнь в океане ежегодно повышала количество облачных водяных капель на 60%; сильнее всего эффект был заметен летом. Облака, располагающиеся невысоко над землей, отражают солнечный свет, и поверхность планеты под ними будет охлаждаться. ("Запирание" тепла и парниковый эффект обуславливаются другими, высокоуровневыми облаками.) Летом уровень солнечной радиации возрастает, и одновременно же, как было сказано, увеличивается концентрация фитопланктона - по оценкам исследователей, активность водорослей приводит к тому, что количество отраженного солнечного излучения увеличивается на 10 ватт на квадратный метр. Это сравнимо с тем, что происходит в северном полушарии, за тем исключением, что на севере добавочное "облачное отражение" возникает из-за промышленного загрязнения атмосферы.
Как микроскопические водоросли могут повышать облачность? Первый способ: выделяя газообразный диметилсульфид, который в атмосфере превращается в остаток серной кислоты - сульфат, который, в свою очередь, очень хорошо конденсирует пары воды. Второй способ: за счет органических остатков, поднимающихся в воздух на поверхности мельчайших пузырьков, оторвавшихся от воды. Такие пузырьки с органическими добавками тоже могут работать центрами конденсации облачных капель. Любопытно, что с 35° по 45° южной широты облака над океаном формируются преимущественно за счет диметилсульфида, а с 45° по 55° - за счет фитопланктонной органики.
Таким образом, предположения об активной климатической деятельности морских экосистем подтвердились - крохотные водоросли действительно могут делать облака. Мы привыкли полагать, что только человек обладает достаточным могуществом, чтобы по-крупному влиять на климат, однако, как видим, настоящее положение дел может быть сложнее. (И не только из-за фитопланктона - здесь же можно вспомнить работу сотрудников Геттингенского университета, опубликованную в прошлом году в Angewandte Chemie: в ней описывается, как обычные хвойные деревья с помощью веществ, содержащихся в их смолах, помогают формироваться облакам.) Строя климатические модели, пытаясь оценить наше влияние на погоду на планете, мы должны учитывать и вклад природных производителей облакообразующих аэрозолей.
|
Другие интересные новости:
▪ Бесплатный Wi-Fi стал важнее секса и алкоголя
▪ Общение со спящими
▪ Биометрические линзы сделают зрение в три раза острее
▪ Обучающие ошибки
▪ Дисплей на светодиодах TR2015х
Лента новостей науки и техники, новинок электроники
Интересные материалы Бесплатной технической библиотеки:
▪ раздел сайта Электрику. ПУЭ. Подборка статей
▪ статья Товарищ не понимает. Крылатое выражение
▪ статья Что такое камера-обскура? Подробный ответ
▪ статья Уборщик служебных помещений. Типовая инструкция по охране труда
▪ статья Разрезание стеклянных трубок. Простые рецепты и советы
▪ статья Носовой платок и исчезающие деньги. Секрет фокуса
Оставьте свой комментарий к этой статье:
Главная страница | Библиотека | Статьи | Карта сайта | Отзывы о сайте

www.diagram.com.ua
2000-2026