Menu Home

Бесплатная техническая библиотека для любителей и профессионалов Бесплатная техническая библиотека


Огонь из воды. Советы домашнему мастеру

Строителю, домашнему мастеру

Справочник / Строителю, домашнему мастеру

Комментарии к статье Комментарии к статье

В том, что нескольких литров воды достаточно, чтобы получить высокотемпературное пламя (200 °С), убедится каждый, ознакомившись с описанием устройства разработанного мною электролизера.

Большая температура факела обеспечивает паяние черных и цветных металлов практически любыми тугоплавкими припоями или самим металлом (сварка). Высокая концентрация тепла в узком пятне позволяет прожигать, например, в тонкой листовой стали отверстия Ø 2 мм и более, вести термическую обработку инструмента, выполнять фасонный раскрой тонкой листовой стали.

"Водяной" горелкой можно обрабатывать эмали, керамику, стекло, в том числе кварцевое. Для этого, правда, температура факела увеличивается на 5000 °С (способ здесь не описывается). Получаемый факел бесшумен, отсутствие углерода в его составе обеспечивает бездымность. В качестве отхода горения образуется просто перегретый водяной пар, не имеющий цвета и запаха.

Огонь из воды
Рис. 1. Так выглядит водяная горелка (в блоке с водяным затвором)

В расчете на изготовление прибора силами любого умельца предлагается предельно простая конструкция, в которой нет баллонов, редукторов, вентилей и сложной горелки.

Основная часть устройства - электролизер; он состоит из ряда герметических полостей, образованных электродами, прокладками между ними и платами. Герметизация набранного таким образом пакета осуществляется стяжкой болтами.

Огонь из воды
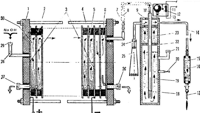
Рис. 2. Схема электролизера (нажмите для увеличения): 1 - плата, 2 - прокладка, 3 - электроды, 4 - стяжной болт, 5 - отверстие для газовой смеси, 6 - отстойник с перегородкой, 7 - штуцер, 8 - шланг, 9 - корпус водяного затвора, 10 - газоприемная трубка затвора, 11 - корпус автовыключателя, 12 - контактор, 13 - резиновая груша, 14 - шланг к горелке, 15 - рукоятка горелки, 16 - огнегасящая набивка, 17 - полая игла, 18 - обратный клапан, 19 - водяной столб, 20 - кран нижнего уровня воды, 21 - заливной патрубок, 22 - решетка фильтра, 23 - фильтр, 24 - аварийный обратный клапан, 25 - раструб, 26 - сливной патрубок отстойника, 27 - сливной патрубок для электролита, 28 - заливная трубка, 29 - винтовая пробка, 30 - электролит.

Техническая характеристика электролизера

  • Напряжение питающей сети, В - 220
  • Потребляемая мощность (регулируемая), Вт - до 1000
  • Потребление воды при максимальной мощности, л/ч - 60
  • Рабочее давление (регулируемое) газа, атм - до 0,3
  • Выход газа при максимальной мощности, л/ч - до 150
  • Максимальная тепловая энергия пламени, ккал/ч - 500
  • Коэффициент преобразования электрической энергии в химическую - 0,7
  • Состав смеси (кислород и водород в точном соотношении) - 1:2
  • Размер факела пламени (игловидный): максимальный диаметр - до 5 мм; максимальная длина (регулируемая) - до 150 мм
  • Температура стабильного игольчатого факела - 2000°

Через заливную трубку полости заполняются электролитом; уровень его ограничивается верхним торцом трубки. Отверстие, находящееся в нижней части каждого электрода, служит для равномерного заполнения электролитом каждой полости. Нижний патрубок предназначен для опорожнения полостей. Обе трубки герметично закрываются.

При электролизе образующаяся газовая смесь кислорода и водорода через отверстие, находящееся в верхней части каждого электрода, направляется в отстойник, разделенный на две части перегородкой. Из него смесь поступает в водяной затвор через штуцер и шланг, барботирует (проходит) через слой воды и по шлангу поступает в горелку.

Не менее важная часть устройства - водяной затвор. Он служит для отделения подводящего и отводящего газ шлангов столбом воды высотой 120-150 мм, через который газ барботирует. Затвор надежно защищает электролизер от случайной вспышки газа в шланге горелки.

Его корпус изготовлен из металлической трубы Ø 100 мм, заваренной с обоих концов. Через патрубок заливается вода до верхнего контрольного уровня. Кран находится на нижнем продольном уровне. Решетка служит опорой фильтра, изготовленного из любого гранулированного негорючего материала. Фильтр предотвращает унос влаги газом. Газоприемная трубка заканчивается обратным клапаном обычной конструкции. В корпус вмонтирован также обратный клапан с раструбом, срабатывающий при случайной вспышке газа.

Автоматический выключатель напряжения - самодельный. Он состоит из корпуса, контактора и резиновой груши. Полость последней соединена с полостью водяного затвора. При превышении давления в системе груша раздувается и нажимом на рычаг контактора отключает прибор от электросети.

Электросхема выпрямителя состоит из следующих элементов: лабораторный автотрансформатор - ЛАТР 2 кВт, трансформатор понижающий 220/65 В, мост на диодах на 15 А (любой конструкции), плавкий предохранитель на 20 А, амперметр (шкала не менее 15 А), вольтметр.

Огонь из воды
Рис. 3. Электрическая схема выпрямителя электролизера

Выпрямитель подключается к электролизеру биполярно, как указано на схеме.

Блок-схема выглядит так: Сеть 220 В > Выпрямитель > Электролизер > Водяной затвор > Горелка

Огонь из воды
Рис. 4. Схема горелки

Расчет и изготовление

В соответствии с законом Фарадея при электролизе количество выделенного вещества пропорционально силе тока. Теоретически каждые 2В,7 А дают 11,7 л водорода и 5,85 л кислорода. Практически выход по току никогда не бывает 100%. Падение напряжения на каждой паре электродов (расчетное) составляет 2 В. Плотность тока на 1 дм2 площади электрода зависит от времени непрерывной работы электролизера и составляет от 2 до 5 А.

Простота конструкции позволила сократить количество основных деталей до трех: электрода, прокладки, платы.

Электрод - листовое декапированное или трансформаторное железо 250х250 мм толщиной 0,3-0,5 мм (32 шт.). Прокладка - резина средней твердости (фланцевая), кольцо Ø 220 х Ø 250 мм, толщина - 4-6 мм (31 шт). Плата - любой изоляционный материал (листовой) 300х350 мм, толщина не менее 20 мм (2 шт.). Стяжные болты - М12 из стали 45, длина - по месту (не менее 4 шт.).

Электролитом служит 22% раствор едкого натра (NаОН) в дистиллированной воде. По мере его расходования (общее количество 4 л) добавляется в электролизер только дистиллированная вода.

Перед заливкой электролита нужно испытать герметичность собранного электролизера, заполнив его под давлением водой из городского водопровода; малейшие подтеки тщательно устраняются. При работе электролизера нельзя допустить нагревания электролита выше 65°.

Ввиду постоянства состава газовой смеси, выдаваемой электролизером, упрощаются и требования к горелке. Ею может быть обыкновенная инъекционная игла от медицинского шприца, точнее, набор игл разного диаметра, от 0,3 до 1 мм. Игла крепится на конусе штуцера рукоятки так, как и на шприце. Рукоятка горелки представляет собой отрезок трубки, к которой через штуцер и шланг подводится газ от водяного затвора. Внутрь рукоятки помещается огнегасительная набивка в виде мелкой металлической дроби и сетки.

В качестве шлангов используется хлорвиниловая трубка Ø 4-5 мм.

Рекомендации по технике безопасности

Следует помнить, что смесь водорода с кислородом, выдаваемая электролизером, - взрывоопасна!

Однако сам прибор при тщательности его исполнения и аккуратности работы с ним никакой опасности не представляет. Это достигается тем, что отсутствуют промежуточные емкости значительного объема; газ нигде не накапливается: сколько его вырабатывается, столько же одновременно потребляется факелом.

Однако категорически недопустимо заполнять получаемой газовой смесью какие-либо емкости для любых технологических целей, и тем более надувные детские летающие шары. Ни в коем случае нельзя также проверять герметичность соединений в конструкции электролизера пламенем свечи, спички и другим открытым огнем; недопустима и работа без заливки воды до верхнего контрольного уровня в водяном затворе или без систематической проверки наличия в нем воды, залитой перед началом работы. Опасно также снижение уровня электролита. Нужно постоянно добавлять дистиллированную воду по мере расхода электролита.

При изготовлении электролита следует работать в защитных очках и резиновых перчатках.

Гасить рабочий факел пламени нужно не выключением электропитания, а опусканием иглы в емкость с водой, иначе последует перегрев иглы и она выйдет из строя.

Оператор должен работать с горелкой в светозащитных очках.

В заключение несколько слов о перспективах. Конструкторам известно о том, что нет машин, аппаратов, приборов, не поддающихся совершенствованию. Это относится и к электролизеру. Здесь можно, например, в выпрямителе обойтись без ЛАТРа и трансформатора, без снижения эксплуатационного качества; в самом электролизере - без резиновых или иных прокладок; режим работы перевести в непрерывный; повысить температуру факела с 2000 до 3000 °C.

Есть немало мест, сезонно отрезанных бездорожьем или слишком отдаленных от баз снабжения. Для работающих в таких условиях автор разработал модель электролизера, выдающего газ под давлением, специально для выполнения разовых, например аварийных, работ с большой мощностью факела.

Надеюсь совместно с заинтересованными читателями провести широкую проверку этой, как мне кажется, перспективной, разработки.

Автор: С.Серов

 Рекомендуем интересные статьи раздела Строителю, домашнему мастеру:

▪ Кузница из шести кирпичей

▪ Компрессорная установка

▪ Оградить трубу от птиц

Смотрите другие статьи раздела Строителю, домашнему мастеру.

Читайте и пишите полезные комментарии к этой статье.

<< Назад

Последние новости науки и техники, новинки электроники:

Психологическое состояние и старение 26.04.2026

Наука все чаще рассматривает старение не только как биологический процесс, но и как явление, тесно связанное с психологическим состоянием человека. Эмоциональное благополучие, уровень стресса и ощущение социальной включенности могут напрямую влиять на то, как быстро изнашивается организм на клеточном уровне. Китайские исследователи провели масштабный анализ данных людей старше 45 лет и обнаружили важную закономерность: такие факторы, как одиночество и субъективное ощущение несчастья, связаны с ускорением биологического старения примерно на 1,65 года. Иными словами, внутреннее эмоциональное состояние может "добавлять" организму лишний возраст даже при одинаковом паспортном возрасте. Чтобы получить более точную оценку биологического старения, ученые использовали комплексный подход. В их анализ вошли 16 биомаркеров крови, семь биометрических параметров, а также данные, связанные с биологическим полом участников. Такой набор позволил сформировать более многослойную картину состояния ...>>

BMW i7 2027 26.04.2026

Компания BMW представила обновленный флагманский седан BMW i7 модельного года 2027, который стал заметным шагом в эволюции линейки. Внешность автомобиля сохранила узнаваемые черты бренда, однако была переосмыслена в стилистике Neue Klasse. Фирменная решетка радиатора стала шире и ниже, получив светодиодную подсветку, а передняя оптика разделилась на два уровня: основные фары смещены вниз, а тонкие дневные ходовые огни расположены выше. Задняя часть получила удлиненные фонари и обновленный матовый логотип, подчеркивающий современный характер модели. Интерьер BMW i7 2027 года во многом строится вокруг новой системы Panoramic iDrive. Она выводит информацию на всю нижнюю часть лобового стекла, создавая расширенное поле визуализации данных для водителя. Центральную роль по-прежнему играет 17,9-дюймовый дисплей, а передний пассажир впервые получает собственный экран диагональю 14,6 дюйма, который автоматически затемняется при отвлечении водителя. Задняя часть салона остается ориенти ...>>

Новизна корма влияет на кошачий аппетит 25.04.2026

Пищевое поведение животных часто кажется простым, но на деле оно зависит от множества тонких сенсорных и когнитивных механизмов. Особенно это заметно у кошек, чьи предпочтения в еде могут меняться не только из-за насыщения, но и из-за восприятия вкуса и запаха. Новое исследование японских ученых позволило точнее понять, почему питомцы нередко оставляют корм в миске. В лабораторных условиях исследователи из Японии наблюдали за двенадцатью кошками, чтобы изучить, как меняется их аппетит при повторяющемся питании. Животным поочередно предлагали шесть видов промышленного сухого корма, обозначенных от A до F, что позволило сравнить их предпочтения и оценить стабильность потребления. В ходе экспериментов выяснилось, что корм F оказался наиболее привлекательным для кошек и заметно опережал остальные варианты по уровню потребления. Однако даже он не сохранял свою "привлекательность" при многократном повторении: когда один и тот же корм предлагали шесть раз подряд в течение двух часов, жи ...>>

Случайная новость из Архива

Беспроводной передача энергии Солнца из космоса 25.05.2025

Идея передачи солнечной энергии из космоса на Землю звучит как сюжет из научной фантастики, однако сейчас она выходит на стадию реальных испытаний. Возможность собирать свет от Солнца вне атмосферы, где он не прерывается облаками и погодными условиями, и передавать эту энергию на поверхность Земли способна революционизировать мировую энергетику. В 2025 году Япония планирует сделать первый важный шаг в этом направлении, запустив спутник OHISAMA, что с японского переводится как "солнце". Это устройство станет первым в истории аппаратом, который будет передавать энергию с орбиты в виде микроволн на Землю.

Спутник массой 180 килограммов будет размещен на низкой околоземной орбите на высоте около 400 километров и оснащен солнечной панелью площадью 2 квадратных метра. Энергия, собранная солнечными элементами, сначала аккумулируется в батарее, а затем преобразуется в микроволновой сигнал и направляется на наземную антенну в японском городе Сува. Приемная система будет занимать площадь более 600 квадратных метров и включать 13 отдельных приемников, способных эффективно захватывать сигнал, несмотря на высокую скорость спутника - свыше 28 тысяч километров в час.

Стоит отметить, что мощность, передаваемая OHISAMA, пока невелика - всего один киловатт, что сопоставимо с энергопотреблением небольшой бытовой техники, например кофеварки. Тем не менее ключевая задача проекта - доказать, что такая технология возможна в принципе. Это первый шаг к более масштабным разработкам, способным в будущем обеспечить электричеством целые города без зависимости от погодных условий и времени суток.

История идеи передачи энергии из космоса начинается еще с 1968 года, когда физик Питер Глейзер впервые выдвинул концепцию солнечных электростанций на орбите. Однако долгое время реализация оставалась невозможной из-за дороговизны запуска ракет и отсутствия технологий для беспроводной передачи энергии на большие расстояния. С появлением многоразовых ракетных систем, таких как Starship от SpaceX, а также прогрессом в робототехнике и микроволновых технологиях, проект вновь привлек внимание ученых и инженеров.

Япония не единственная страна, испытывающая подобные технологии. Например, в 2020 году военно-морские силы США провели эксперимент PRAM, в ходе которого солнечная энергия превращалась в микроволны на борту орбитального аппарата X-37B. А в 2023 году исследователи из Калифорнийского технологического института (Caltech) запустили микроволновой модуль MAPLE, демонстрировавший успешную передачу энергии в космосе. Несмотря на успехи, все эти проекты пока остаются в стадии тестирования.

В то же время специалисты NASA обращают внимание, что на данный момент себестоимость электроэнергии, производимой с помощью космических систем, в десять раз превышает цену традиционных источников и достигает около 61 цента за киловатт-час. Тем не менее растущий интерес к проектам свидетельствует о том, что прорыв в данной области вполне возможен. Если миссия OHISAMA пройдет успешно, это станет отправной точкой для создания больших орбитальных электростанций, способных обеспечить стабильное и экологически чистое энергоснабжение.

Несмотря на существующие технические и экономические трудности, первые успешные эксперименты дают надежду на то, что в будущем энергия "космического солнца" сможет стать важной частью энергетического баланса нашей планеты, значительно снижая зависимость от ископаемых источников и способствуя устойчивому развитию человечества.

Другие интересные новости:

▪ Телевизионная приставка Pipo X7

▪ Следы первых европейцев

▪ Кофеин способствует росту волос

▪ Земля все дальше отдаляется от Солнца

▪ Ремонт клюва с помощью компьютера

Лента новостей науки и техники, новинок электроники

 

Интересные материалы Бесплатной технической библиотеки:

▪ раздел сайта Молниезащита. Подборка статей

▪ статья Безопасная бритва. История изобретения и производства

▪ статья Почему только в английском языке местоимение я пишется с заглавной буквы? Подробный ответ

▪ статья Проверка и регулировка грозозащиты. Типовая инструкция по охране труда

▪ статья Низкобюджетный металлодетектор. Энциклопедия радиоэлектроники и электротехники

▪ статья PS one: эксплуатация и ремонт. Энциклопедия радиоэлектроники и электротехники

[an error occurred while processing this directive] Оставьте свой комментарий к этой статье:

Имя:


E-mail (не обязательно):


Комментарий:




Комментарии к статье:

Алекс
Пробовал, работает [up]

BS
1) <<...высокотемпературное пламя (200° С)>>??? Или 2000° С [roll] ? 2) <<тугоплавкими припоями или самим металлом (сварка)>>>??? [roll]


Главная страница | Библиотека | Статьи | Карта сайта | Отзывы о сайте

www.diagram.com.ua

www.diagram.com.ua
2000-2026