Menu Home

Бесплатная техническая библиотека для любителей и профессионалов Бесплатная техническая библиотека


Подземный бокс. Советы домашнему мастеру

Строителю, домашнему мастеру

Справочник / Строителю, домашнему мастеру

Комментарии к статье Комментарии к статье

Когда задумал делать машину, то передо мной встала проблема - а где производить работы? Не под открытым же небом во дворе. Временный навес или даже сарай опять-таки в полной мере не выручали - в холодный период года в них тоже трудиться было бы практически невозможно. А потому изготовление автомобиля могло бы затянуться на долгие годы.

Тогда и пришел к выводу, образно говоря, сначала обзавестись конюшней, а уж потом - конем и решил прежде построить гараж-мастерскую. Но тут появился другой вопрос: если перед домом возвести такое строение (а другого подходящего места для него на участке просто не находилось), то оно закроет не только обзор из окон, но и сам дом, что было крайне нежелательно.

В конце концов пришла идея - сделать подземный, а точнее заглубленный гараж, по типу подвала. Но не такой, что имеется под каждым домом и который правильнее было бы назвать подпольем, а подобный тем, что сохранились еще кое-где в наших селениях: заглубленное в грунт и обвалованное сверху строение, в котором, как в погребе, сельские жители хранили зимой припасы, а летом даже жили - укрываясь от полуденного зноя, ночной прохлады или утренней росы - температура в нем в любое время дня и даже года была достаточно комфортная.

Условия: рельефные, гео- и гидрологические для строительства заглубленного гаража были подходящими. Сток дождевых и талых вод с участка обеспечивался небольшим естественным уклоном Грунт основания - сухой суглинок, грунтовых вод не обнаруживалось на глубине до 2,5 м (недалеко имелся погреб).

Своими соображениями по возведению гаража поделился со знакомым инженером-строителем и получил ряд полезных советов: чем нельзя пренебречь для обеспечения надежности сооружения в стремлении экономии средств. К примеру: обязательное заложение подошвы фундамента (или хотя бы песчаного подстилающего слоя) ниже максимальной глубины промерзания грунта основания; категорический отказ от некондиционных плит перекрытия и др.

Подземный бокс

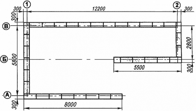
План фундаментов (материал - бетонные блоки ФБ1 размерами 1000x600x400 мм-длинах высота х ширина, 35 шт); А, Б, В, 1,2-строительные оси

Подземный бокс
План заглубленного гаража-мастерской на уровне земли

Подземный бокс
План заглубленного гаража-мастерской на уровне земли (вышенаходящиеся конструкции показаны на разрезах: 1 - основание (естественный грунт-суглинок); 2 - пол (монолитный бетон); 3 - подушка (песок); 4 - фундамент (бетонный блок 1000x600x400, по потребности); 5 - стена (бетонный блок 400x200x200, по потребности); 6 - гидрозамок (глина); 7-наклонный пандус, 8 - колея (чугунные плиты); 9 - перекрытие (железобетонная плита), 10 - гидроизоляция (рубероид на битумной мастике); 11 - насыпь (грунт); 12 - покров (почвенно-растительный слой); 13 - перемычка-притолока (железобетонная балка)

В мыслях не раз представлял себе гараж-мастерскую под будущую машину, конструкцию которой тоже видел, как наяву. Однако необходимые эскизы все же выполнил и на бумаге. Как оказалось впоследствии, чертежи плана и фасадов были необходимы для получения разрешения на строительство в местных органах архитектуры. А поскольку заглубленный гараж практически не изменяет окружающий ландшафт и общую архитектуру существующей застройки, то и разрешение было выдано без проблем. А мне чертежи понадобились в большей степени для подсчета объемов строительных материалов, а по ним - прикидки их стоимости и выявления своих возможностей финансового обеспечения возведения гаража.

Были сомнения в расположении пандуса (наклонного съезда-выезда): вне помещения или внутри его. В итоге выбрал последний вариант и, как оказалось, не прогадал. В зимнее время его не приходится очищать от снега и наледи (наружный же пандус требовал бы тщательного зимнего обслуживания, да и летом надо было бы как-то удалять попавшую на него дождевую воду.

Строительство гаража-мастерской начал с разметки его плана на выбранной площадке (или, как говорят строители, - с разбивки сооружения в натуре).

Сначала определил местоположение наружных углов (пересечений проекций внешних поверхностей стен) будущего гаража, вбив здесь небольшие колышки. Проверку прямоугольности произвел по способу равных диагоналей. Затем на продолжении линий стен, примерно в 2,5 метра от угловых колышков вкопал столбики "посолиднее". Более точное положение линий отметил гвоздями-"двухсотками", вбив их наполовину в торцы столбиков, а на гвозди натянул капроновые шнуры.

Подземный бокс
План перекрытий: 1 - железобетонная пустотная плита 3000x1500x200 (4 шт.); 2 - железобетонная пустотная плита 6000x1500x200 (4 шт.); 3 -железобетонная пустотная плита 6000x1000x200; 4 - бетонные щелевые блоки (400x200)

Подземный бокс
Конструкция заглубленного гаража-мастерской: 1 - песчаная подфун; 2 - фундаментная подушка; 2 - фундамент; 3-боковая (левая стена); 4 - подстилающий песчаный слой; 5 - пандус; 6 - колея (чугунные плиты); 7 - скос (монолитный бетон, 2 шт.); 8 - короткая плита перекрытия закутка; 9 - правая боковая стена (с уступом); 10 - пол; 11 - широкая плита перекрытия; 12 - узкая плита перекрытия

Разработку котлована производил механизированным способом - нанимал бульдозер-экскаватор на базе трактора "Беларусь". Надо отметить, что земляные работы экскаваторщик на нем произвел очень аккуратно: сдвинул в три стороны растительный слой, выкопал котлован с частичной погрузкой глиняного грунта на вывоз в автосамосвал; спланировал дно котлована и наклонный съезд-пандус. Правда, кое-где пришлось дорабатывать и вручную: подровнять стенки, углубить почти по периметру траншею под фундаментные блоки - но это лучше, чем если бы потребовалось подсыпать и уплотнять грунт на место, излишне выбранное экскаватором.

Фундамент гаража выполнен из бетонных блоков размерами 1000x600x400 мм всего в один ряд по песчаному подстилающему слою толщиной 200 мм. Под частью наружной стены, сопряженной с пандусом, а точнее - под крышкой-воротами, фундаментные блоки не клал вообще, а стена здесь выложена уступами с постепенным подъемом к поверхности земли. Фундаментные блоки положил и под перегородку, так как образованный ею и наружными стенами закуток тоже перекрыл железобетонными плитами, имеющими значительную массу.

Стены толщиной в "полкирпича" (длинной стороной вдоль стены) выложил из легкобетонных блоков (камней) размерами 400x200x200 мм с щелевидными пустотами. Кладку производил на цементно-песчаном растворе с высотой шва около 20 мм самым распространенным - цепным способом, при котором каждый вертикальный шов между соседними блоками перекрывается вышележащим блоком.

В щели каждого блока вставлял штырь - отрезок нетолстой трубы или арматурного стержня, который пронизывал и нижележащий камень, а иногда и камень следующего ряда. В пределах проема наружную стену и перегородку выложил уступами, с постепенным понижением к поверхности земли. Уступы выровнял до наклонной кромки монолитным бетоном На кромки вдоль их внутреннего края уложил и закрепил анкерными штырями уголки 70x70 мм -ложементы для ворот. В задней стене (по диагонали от въезда) оставил арочный проем для двери. Впоследствии снаружи устроил здесь приямок с лестницей, а выше на стойках - козырек-навес.

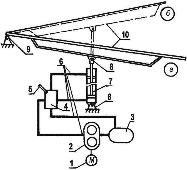
Ворота гаража (их можно назвать и крышкой люка) выполнены из стального листа двухмиллиметровой толщины. Но поскольку площадь ворот-крышки довольно значительная (длина свыше 5 м, а ширина около 3 м), то для них потребовалась и силовая рама в виде решетки, которую сварил из круглых стальных труб наружным диаметром 60 мм. Размеры обвязки решетки - по въездному проему в гараж.

Открывать-закрывать (а точнее поднимать-опускать) такие ворота вручную не представлялось возможным. Поэтому решил оборудовать их гидравлическим подъемником, механизмом наподобие того, каким опрокидывают кузов автомобилей-самосвалов. Однако гидроцилиндр можно было установить только сбоку у стенки. При открывании ворота выгибались и перекашивались. Чтобы этого не происходило пришлось изготовить специальную конструкцию, наподобие фермы. Ее стойки приварил к одной из продольных труб обвязки, а нижний пояс соединил подкосами с противоположной трубой обвязки.

Пол гаража - сплошная монолитная плита толщиной около 200 мм, изготовлена из армированного бетона, по песчаному подстилающему слою-подушке толщиной тоже около 200 мм. Марку бетона определить затрудняюсь, состав же смеси приведу.

Примерное соотношение ингредиентов (щебень:песок:цемент:вода) 4:2:1:1. В качестве вяжущего использовал портландцемент марки 400.

Армирование осуществлялось в основном обрезками различных стальных и чугунных материалов: труб, проволоки и даже старыми отопительными радиаторами, отожженными от краски. Весь этот "металлолом" разложил на полу и соединил отдельные элементы в единую решетку сваркой или проволочными скрутками.

Бетонную смесь по полу распределял без вибратора, а потому готовил ее достаточно пластичной, чтобы она заполняла пространство между арматурой без пустот.

В месте, намеченном для стоянки машины в гараже, в полу огородил досками и оставил недозалитым неглубокий приямок для сбора стекаемой с днища и арок колес машины оставшейся воды или талого снега.

А вот для пандуса бетонную смесь использовал довольно жесткую, чтобы она не ползла по наклонной плоскости. А после ее схватывания наложил на пандус вдоль по колее колес чугунные рифленые плиты (такими отделывают полы в промышленных зданиях).

Подземный бокс
Подъемные ворота-крышка люка: 1 - гидроцилиндр с поршнем (от автогрейдера); 2 - опорный кронштейн (стальной лист s5); 3 - шланги (от автосамосвала); 4 - угловой подкос (стальная труба Ø 30, 2 шт); 5 - обшивка (стальной оцинкованный лист s2); 6 - продольные связи обвязки (стальная труба Ø 40, 2 шт.); 7 - поперечина (стальная труба Ø 30); 8 - поперечная связь обвязки (стальная труба Ø 40, 2 шт.); 9 - срединный подкос (стальная труба Ø 30, 2 шт.); 10 - стойка фермы (стальная труба Ø 30, по потребности); 11 - нижний пояс фермы (стальная труба Ø 40); 12 - упорный кронштейн (сталь, лист s5)

Подземный бокс
Схема гидравлического привода открывания-закрывания ворот-люка: 1 - электродвигатель (N = 5 кВт, n = 1380 об/ мин.); 2 - масляный шестеренчатый насос НШ-10; 3 - герметичный маслобак (от трактора Т-25); 4 - золотниковый гидрораспределитель (от автогрейдера); 5 - рукоятка управления гидрораспределителем (3 шт), 6 - маслопроводы (от трактора "Беларусь"); 7 - силовой гидроцилиндр (от автосамосвала); 8 - шарниры (2шт), 9 - петля ворот (2 шт), 10 - ворота-люк: а - в опущенном (закрытом) состоянии, б - в поднятом (открытом) состоянии

Перекрытие (или покрытие) основной части гаража-мастерской произвел пустотными железобетонными плитами размерами 6000x1500x200 мм (длина х ширина х высота), а закутка - подобными плитами длиной 3 м. Здесь же отмечу, что вход в закуток на высоте 2 м еще при кладке стен и перегородки перекрыл перемычкой-притолокой, на которую уложил еще три ряда бетонных блоков, вплоть до потолка сделав своеобразную висячую стенку. Впоследствии собирался отгородить закуток от гаража дверью с боковыми стенками и организовать здесь комнату отдыха. Но эту идею так и не реализовал, а сам закуток стал складом запасных частей и инструмента.

При укладке перекрытий выяснилось, что где-то я допустил просчет и между крайней плитой и задней (торцевой) стенкой осталась щель шириной около 100 мм. Этот огрех исправил тем, что уложил на стену еще ряд блоков, только теперь развернув их поперек (тычком к плитам), а щелями-пустотами - в горизонтальное положение. Над воротами, по краю плиты выложил невысокую (в один блок) стенку-парапет - чтобы не осыпался впоследствии грунт обваловки с крыши.

По верху перекрытий расстелил два слоя рубероида, склеив нахлестные кромки расплавленным битумом. При этом полотна первого слоя раскатал вдоль плит перекрытия, а второго - поперек, сделав небольшие напуски по периметру.

Но эти рубероидные слои выполняют не роль кровли, а всего лишь гидроизоляции, поскольку сверху закрываются (а точнее засыпаются) толстым слоем грунта - в основном тем, что был вынут из котлована при его разработке. Сначала в дело шел глинистый грунт. Замоченная в воде глина закладывалась в пазухи между стенками котлована и выложенными бетонными стенами гаража и утрамбовывалась ручной деревянной трамбовкой - устраивался так называемый глиняный гидроизоляционный замок.

Затем та же глина, но уже естественной влажности накладывалась толстым слоем (около 300 мм) на перекрытия и приваливалась к стенам гаража с устройством откоса с уклоном примерно 1:1. После этого на образовавшийся над гаражом глиняный вал распределил гумус - почвенно-растительный (или иначе - плодородный) слой грунта. Спереди и по бокам вала устроил неглубокую облицованную бетоном водоотводящую канавку со стоком по естественному уклону местности взад от гаража.

Вентиляция гаража при необходимости осуществляется через ворота и входную дверь, расположенные в противоположных (по диагонали) углах.

Склоны вала засеял травой, а на горизонтальной площадке жена посадила цветы - получилась большая красивая клумба. Но кроме приятного любования цветами моя семья получила вполне осязаемую экономию средств. По подсчетам, на строительство наземного гаража я потратил бы примерно на треть больше.

Впоследствии, во время эксплуатации, выявились и некоторые другие преимущества подземного гаража перед обычными. Во-первых, внутри него температура не опускалась ниже 0°С даже в морозы (не замерзала вода в приямке). Во-вторых, шум, треск, стук, создаваемые внутри гаража, особенно при работе с металлом, практически не были слышны даже на улице, а не только в доме.

Вот в этом гараже-мастерской начал, а через два года закончил строительство автомашины "Герань".

Но на этом строительный процесс не остановился. Через несколько лет появилась возможность осуществить давно задуманный план: возвести над домом второй этаж. Для претворения намеченного плана был необходим запас различных строительных материалов, который надо было где-то хранить. Более подходящего варианта, чем сделать для склада надстройку над обвалованным гаражом, не придумал. И как ни жаль было клумбу - еще нерациональнее было бы занимать под сарай-склад другой участок сада-огорода. К тому же стены подземного гаража - это уже готовый фундамент под новую надстройку, а перекрытия послужат полом.

Именно этот окончательный вариант строения - заглубленного гаража-мастерской с надстроенным складом и еще боковым пристроем приведен на фотографии в заставке к статье.

Позже сделал вход в гараж через подземный тоннель прямо из подполья дома. На доме же возвел второй этаж, на котором расположились теперь жилые помещения, а на первом - бытовые. Так что обзору из окон жилых комнат гараж-склад не препятствует.

Автор: Б.Абрамов

 Рекомендуем интересные статьи раздела Строителю, домашнему мастеру:

▪ Навесы от солнца

▪ Подставка для книг

▪ Вечная манжета для насоса

Смотрите другие статьи раздела Строителю, домашнему мастеру.

Читайте и пишите полезные комментарии к этой статье.

<< Назад

Последние новости науки и техники, новинки электроники:

Оптимальная продолжительность сна 12.11.2025

Сон играет ключевую роль в поддержании здоровья, когнитивных функций и общего самочувствия. Несмотря на широко распространенный стереотип о восьмичасовом сне, последние исследования показывают, что оптимальная продолжительность сна для большинства здоровых взрослых ближе к семи часам. Эволюционный биолог из Гарварда, Дэниел Э. Либерман, утверждает, что традиционная норма восьми часов сна - это скорее культурное наследие индустриальной эпохи, чем биологическая необходимость. По его словам, полевые исследования, проведенные в сообществах, не использующих электричество, показывают, что средняя продолжительность сна составляет 6-7 часов, что значительно отличается от общепринятого стандарта. Современные эпидемиологические данные подтверждают этот взгляд. Исследования выявили так называемую "U-образную кривую" зависимости между продолжительностью сна и рисками для здоровья. Минимальные показатели заболеваемости и смертности наблюдаются именно у людей, спящих около семи часов в сутки. ...>>

Дефицит кислорода усиливает выброс закиси азота 12.11.2025

Парниковые газы играют ключевую роль в изменении климата, а закись азота (N2O) - один из наиболее опасных среди них. Этот газ не только втрое сильнее углекислого газа в удержании тепла, но и разрушает озоновый слой. Недавнее исследование американских ученых показало, что микробы в зонах с низким содержанием кислорода активно производят N2O, усиливая глобальные климатические риски. Команда из Университета Пенсильвании изучала прибрежные воды у Сан-Диего и провела наблюдения на глубинах от 40 до 120 метров в Восточной тропической северной части Тихого океана - одной из крупнейших зон дефицита кислорода. Исследователи сосредоточились на том, как морские микроорганизмы превращают нитраты в закись азота. В ходе работы выяснилось, что существует два пути образования N2O. Один путь начинается с нитрата, другой - с нитрита. На первый взгляд более короткий путь должен быть эффективнее, однако микробы, использующие нитрат, продуцируют больше газа, поскольку этот "сырьевой" источник более д ...>>

Омега-3 помогают молодым кораллам выживать 11.11.2025

Сохранение коралловых рифов становится все более актуальной задачей в условиях глобального изменения климата. Молодые кораллы особенно уязвимы на ранних стадиях развития, когда стрессовые условия и нехватка питательных веществ могут привести к высокой смертности. Недавнее исследование ученых из Технологического университета Сиднея показывает, что специальные пищевые добавки способны существенно повысить выживаемость личинок кораллов. В ходе работы исследователи разработали особый состав "детского питания" для коралловых личинок. В него вошли масла, богатые омега-3 жирными кислотами, а также важные стерины, необходимые для формирования клеточных мембран. Личинки, получавшие эти добавки, развивались быстрее, становились крепче и демонстрировали более высокую устойчивость к стрессовым факторам. Особое внимание ученые уделили липидам. Анализ показал, что личинки активно усваивают эти вещества, что напрямую влияет на их жизнеспособность. Стерины, содержащиеся в корме, повышают устойчи ...>>

Случайная новость из Архива

Впервые оценено магнитное поле экзопланеты 02.12.2014

В течение двух десятилетий, прошедших с момента открытия первой планеты за пределами Солнечной системы, астрономы нашли уже более 350 экзопланет и сделали большой шаг в их изучении. Двадцать лет назад большим событием было просто открытие новой экзопланеты, а сейчас астрофизики исследуют строение и химический состав их атмосфер, климат и другие характеристики. А в некоторых случаях могут даже наблюдать их луны.

Одной из важных характеристик планет является их магнитное поле. Оно влияет на поведение атмосферы планеты, поскольку защищает ее от разрушительного воздействия звездного ветра и взаимодействует с ионизированной ее частью - ионосферой и магнитосферой. Кроме того оно может влиять и на эволюцию самой планеты.

Прямые наблюдения магнитного поля экзопланет в настоящее время невозможны. Безуспешны пока и попытки обнаружить их радиоизлучение, которое также позволило бы оценить магнитное поле. Однако при изучении планеты HD 209458b с неофициальным названием Осирис за пределами ее магнитосферы было обнаружено облако горячего атомарного водорода, "испаряющегося" из атмосферы планеты под действием звезды.

Размер и форма водородной оболочки определяется взаимодействием между оттоком газа из планеты и входящих звездный ветер протонов, которые как бы сдувают это облако. Зная параметры водородного облака, с помощью определенной модели можно оценить параметры магнитосферы и, как следствие, параметры магнитного поля.

Метод такой оценки был предложен международным коллективом ученых, в который входят и российские физики, в настоящее время представляющие Институт космических исследований Австрийской академии наук, Кристина Кислякова (ранее сотрудник Нижегородского государственного университета им. Н.И. Лобачевского) и Максим Ходаченко (также сотрудник НИИЯФ им. Д.В. Скобельцына, МГУ). С его помощью им удалось оценить величину магнитного момента планеты HD 209458b. Результаты исследований опубликованы в журнале Science.

Ученые смоделировали образование облака горячего водорода вокруг планеты и показали, что наблюдаемая конфигурация облака соответствует только одному определенному значению магнитного момента и параметров звездного ветра.
Чтобы сделать модель более точной, астрофизики учли большое количество факторов, определяющих взаимодействие между звездным ветром и атмосферой планеты: так называемую перезарядку между звездным ветром и нейтральными атмосферными частицам и их ионизацию, гравитационные эффекты, давление, радиационное ускорение, спектральное уширение линий.

Планета HD 209458b, открытая в 1999 году в 150 световых лет от Земли, входит в число нескольких наиболее изученных и интенсивно изучаемых экзопланет, поскольку это один из немногих известных объектов, которые можно увидеть, когда они проходят по диску звезды. При этом свет звезды приходит на Землю, пройдя сквозь атмосферу планеты, что и позволяет исследовать ее структуру и химический состав спектральными методами. Для наблюдений ученые использовали космический телескопа Хаббл.

Моделирование показало, что магнитосфера планеты относительно невелика, около 2,9 радиусов планеты, что соответствует магнитному моменту, составляющему лишь 10% от магнитного момента Юпитера. Это согласуется с предварительными оценками эффективности планетарного динамо для этой планеты.

Столь маленькое магнитное поле связано с тем, что экзопланета HD 209458b представляет собой типичный горячий Юпитер, то есть газовый гигант с массой порядка Юпитерианской, но расположенный значительно ближе к звезде. Так, рассматриваемая экзопланета находится на расстоянии менее 5 млн км от звезды, что в 100 раз ближе, чем Юпитер в Солнечной системе, и даже в 10 раз ближе, чем самая близкая к Солнцу планета Меркурий. Ее период обращения всего 3,5 дня, масса составляет 0,7 массы Юпитера, а радиус - 1,4 юпитерианского.

Поскольку орбита такой планеты очень близка к звезде, то она испытывает сильное гравитационное притяжение, тормозящее вращение планеты. Поскольку, в соответствии с теорией планетарного динамо, генерация магнитного поля связана с вращением ядер планет, медленное вращение планеты приводит к слабым магнитным полям.

Ученые полагают, что предложенный ими метод оценки магнитного поля может быть использован для всех планет, в том числе и похожих на Землю, если вокруг них существует высокоэнергетичная водородная оболочка. Стоит отметить, что около 15% экзопланет являются горячими Юпитерами.

Другие интересные новости:

▪ Солнечная башня освещает Лас-Вегас

▪ Спутниковый чип для мобильных телефонов

▪ Компактный зарядник для электромобилей BMW

▪ Лифт на солнечных батареях с накопителем энергии

▪ Ажурный велосипед

Лента новостей науки и техники, новинок электроники

 

Интересные материалы Бесплатной технической библиотеки:

▪ раздел сайта Инструмент электрика. Подборка статей

▪ статья Марафон. Крылатое выражение

▪ статья Каких животных древние китайцы использовали в целях самообороны? Подробный ответ

▪ статья Автоматчик токарных автоматов. Типовая инструкция по охране труда

▪ статья Конвертер RS-232-TTL. Энциклопедия радиоэлектроники и электротехники

▪ статья Система защиты УМЗЧ. Энциклопедия радиоэлектроники и электротехники

Оставьте свой комментарий к этой статье:

Имя:


E-mail (не обязательно):


Комментарий:





Главная страница | Библиотека | Статьи | Карта сайта | Отзывы о сайте

www.diagram.com.ua

www.diagram.com.ua
2000-2025