Menu Home

Бесплатная техническая библиотека для любителей и профессионалов Бесплатная техническая библиотека


Фабрика денег. Секрет фокуса

Эффектные фокусы и их разгадки

Справочник / Эффектные фокусы и их разгадки

Комментарии к статье Комментарии к статье

Описание фокуса:

Артист показывает зрителям небольшую машинку с двумя валиками, поворачивает рукоятку. Нижний валик вращается в том же направлении, что и ручка, - по часовой стрелке, а верхний - в обратном. Взяв со стола несколько бумажек разного размера, исполнитель показывает их зрителям. Бумага плотная, чистая. Фокусник кладет один листок между валиками с задней (от зрителей) стороны и начинает вертеть рукоятку. Неожиданно бумажка на глазах у всех превращается в кредитный рублевый билет (рис. 45).

Фокус Фабрика денег
Рис. 45

Продолжая вертеть рукоятку, иллюзионист вынимает из валиков рубль и, показав его зрителям, кладет на край стола. Затем берет другой, чистый листок и, пропустив его через валики, снова вынимает рублевую кредитку. Исполнитель задает вопрос: "Что будет, если крутить ручку, а бумагу не класть?" - и прокручивает три оборота. Из машинки ничего не выходит.

"А что будет, если положить в машинку?" Тотчас, как бы по ошибке, фокусник кладет в машинку рублевую кредитку и вертит ручку. Из валиков показывается чистая бумажка.

"Вот к чему ведет рассеянность! Кладу бумагу обратно!" - заявляет артист. Снова крутит ручку. Из машинки опять появляется рублевый кредитный билет.

Исполнитель берет со стола бумажку и сравнивает ее размер с рублевкой. Бумажка оказывается немного больше кредитки. Фокусник кладет ее в машинку, вертит ручку. Выходит кредитка в 3 рубля. Затем, взяв листки разного размера, иллюзионист получает из машинки кредитки достоинством в 5, 10, 25, 50, а затем и в 100 рублей. Собрав все деньги, несет их показывать зрителям.

При помощи такой же машинки можно на детских представлениях "превращать" чистую бумагу в художественные открытки с изображением персонажей сказок - Деда Мороза, Буратино, Доктора Айболита и т. д. Открытки затем раздают юным зрителям.

Реквизит:

Машинка, состоящая из станка и двух валиков с приспособлением.

Бумага, нарезанная по размеру кредиток или открыток.

Кредитные новые билеты нужных достоинств или открытки.

Секрет фокуса:

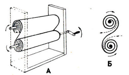
Секрет фокуса ясен из рис. 46, А и Б, на котором схематически показано устройство валиков. Диаметр их 1,5 см, длина 20-25 см. На валики намотана плотная бумажная материя (лучше черного цвета).

Фокус Фабрика денег
Рис. 46

Одна сторона ткани должна быть темнее другой, тогда оба валика будут разного оттенка. Ширина матерчатой ленты 20-25 см, длина 2-2,5 м. Ленту приклеивают к одному валику, затем немного заматывают; второй конец приклеивают к другому валику и также наматывают на него. На рисунке Б пунктиром показаны: внизу - закладываемая в валики бумага, вверху - заложенные кредитки. Верхний валик имеет ось диаметром в 5 и длиной в 12-20 мм, нижний имеет такую же ось с левой стороны, а с правой - ось длиной в 55 мм. Все оси вставляют в соответствующие им отверстия в станинах, после чего закрепляют ручку. Если вращать ручку по часовой стрелке, то нижний валик будет вращаться туда же, а верхний валик пойдет в противоположном направлении.

Зарядку машинки нужно очень точно рассчитать и тщательно отработать. Производится зарядка за кулисами. Приблизительно 3/4 ленты наматывают на нижний валик; затем кладут между валиками со стороны, обращенной к зрителям, кредитку в 100 рублей. Помогая рукой, закатывают ее внутрь верхнего валика, вращая его по часовой стрелке. Поворачивают верхний валик еще на пол-оборота. Это дает возможность делать паузы между появлением кредиток и в то же время не прекращать вращения ручки.

Исполнитель будет знать, что, как только из машинки выйдет купюра, через пол-оборота ручки должна появиться следующая. После пол-оборота ручки вхолостую в верхний валик закатывают следующую кредитку в 50 рублей. Таким же образом последовательно закладывают в машинку 25, 10, 5, 3 и 1 рубль. После нового полуоборота закатывают чистую бумажку размером в 1 рубль и делают три полных холостых оборота, затем закатывают еще 1 рубль, опять пол-оборота вхолостую - и еще 1 рубль. Теперь уже делают три холостых оборота - и машинка полностью заряжена.

Приступая к номеру, вы знаете, что если вертеть ручку по часовой стрелке, то в течение трех оборотов из машинки ничего выходить не будет. Делаете эти три оборота совершенно непринужденно, не обращая внимания на вертящиеся валики, показывая при этом зрителям чистую бумажку рублевого формата. Как только будет подходить к концу третий оборот ручки, вставьте бумажку между валиками со стороны, находящейся дальше от зрителей, и незаметно следите за моментом появления кончика рубля. Тотчас же впускайте бумажку в валики, продолжая крутить ручку. Зрителям со стороны кажется, что бумажка в валиках превращается в кредитку. Необходимо следить за тем, чтобы бумажка точно совпадала с положением кредитки (см. рис 45).

Как только выпадет рубль, прекратите вращение ручки. Показав рубль зрителям, берите вторую бумажку рублевого формата и, сравнив ее с рублем и сделав пол-оборота ручкой, положите бумажку между валиками. Продолжая крутить ручку, к исходу третьего оборота говорите: "А что будет, если положить в машинку?" - как бы по ошибке, кладете туда рубль, и из валиков выходит чистая бумажка. Дальше все идет по описанию.

Фокус исполняйте весело, непринужденно, стремитесь к тому, чтобы не смотреть пристально на валики. Всегда точно запоминайте и рассчитывайте зарядку, чтобы каждое выступление проходило гладко, без срывов.

Автор: Вадимов А.А.

 Рекомендуем интересные статьи раздела Эффектные фокусы и их разгадки:

▪ Послушная рыбка

▪ Цветы лотоса

▪ Девять решек

Смотрите другие статьи раздела Эффектные фокусы и их разгадки.

Читайте и пишите полезные комментарии к этой статье.

<< Назад

Последние новости науки и техники, новинки электроники:

Питомцы как стимулятор разума 06.10.2025

Помимо эмоциональной поддержки, домашние питомцы могут оказывать заметное воздействие на когнитивные процессы, особенно у пожилых людей. Новое масштабное исследование показало, что общение с кошками и собаками не просто улучшает настроение - оно действительно способствует замедлению возрастного снижения умственных способностей. Работа проводилась в рамках проекта Survey of Health, Ageing and Retirement in Europe (SHARE), охватывающего период с 2004 по 2022 год. В исследовании приняли участие тысячи европейцев старше 50 лет. Анализ показал, что владельцы домашних животных демонстрируют более устойчивые когнитивные функции по сравнению с теми, кто не держит питомцев. Особенно выражен эффект оказался у владельцев кошек и собак. Согласно данным ученых, владельцы собак дольше сохраняют хорошую память, в то время как хозяева кошек медленнее теряют способность к быстрому речевому взаимодействию. Исследователи связывают это с тем, что ежедневное взаимодействие с животными требует внимани ...>>

Мини-ПК ExpertCenter PN54-S1 06.10.2025

Компания ASUSTeK Computer презентовала новый мини-компьютер ASUS ExpertCenter PN54-S1. Устройство ориентировано на пользователей, которым важно сочетание производительности, энергоэффективности и универсальности - от офисных задач до мультимедийных проектов. В основе ExpertCenter PN54-S1 лежит современная аппаратная платформа AMD Hawk Point, использующая архитектуру Zen 4. Это поколение чипов отличается улучшенным управлением энергопотреблением и повышенной вычислительной мощностью. Новинка доступна в конфигурациях с процессорами Ryzen 7260, Ryzen 5220 и Ryzen 5210, представленных AMD в начале 2025 года. Таким образом, устройство охватывает широкий диапазон задач - от базовых офисных до ресурсоемких вычислений. Корпус мини-ПК выполнен из прочного алюминия и имеет размеры 130&#215;130&#215;34 мм, что делает его практически незаметным на рабочем столе или за монитором. Несмотря на компактность, внутренняя компоновка позволяет установить два модуля оперативной памяти SO-DIMM ...>>

Глазные капли, возвращающие молодость зрению 05.10.2025

С возрастом человеческий глаз постепенно теряет способность четко видеть на близком расстоянии - развивается пресбиопия, или возрастная дальнозоркость. Этот естественный процесс связан с утратой эластичности хрусталика и ослаблением цилиарной мышцы, отвечающей за фокусировку. Миллионы людей по всему миру сталкиваются с необходимостью носить очки для чтения или прибегают к хирургическим методам коррекции. Однако исследователи из Центра передовых исследований пресбиопии в Буэнос-Айресе представили решение, которое может стать удобной и неинвазивной альтернативой - специальные глазные капли, способные улучшать зрение на длительный срок. Разработку возглавила Джованна Беноцци, директор Центра. По ее словам, цель исследования состояла в том, чтобы предоставить пациентам с пресбиопией эффективный и безопасный способ коррекции зрения без хирургического вмешательства. Новые капли, созданные на основе пилокарпина и диклофенака, показали убедительные результаты: уже через час после первого пр ...>>

Случайная новость из Архива

Нейрокомпьютерный интерфейс для роботов 21.08.2015

Исследователи из Южной Кореи и Германии разработали нейрокомпьютерный интерфейс для управления нижними конечностями экзоскелета или конечностями роботов. Их доклад опубликован в журнале Journal of Neural Engineering.

Экзоскелет - электромеханическая конструкция, повторяющая скелет человека и служащая дополнительной опорой для него за счет жесткого прикрепления к телу. Используется как для увеличения силы, так и для поддержки опорно-двигательного аппарата.

Новый интерфейс, разработанный исследователями из Корейского университета и Берлинского технического университета, позволяет управлять таким костюмом, отдавая ему команды идти вперед, поворачивать влево или вправо, вставать и садиться. Система управления включает шлем для снятия электроэнцефалограммы, крестообразный держатель с пятью светодиодами и вычислительный блок.

Для того чтобы отдать экзоскелету команду, например, встать, человек должен посмотреть на светодиод, прикрепленный к верхней части крестообразного держателя. Чтобы отдать команду идти вперед - на светодиод в центре, а повернуть направо или налево - на светодиод в левой или правой части держателя.

Принцип работы заключается в следующем. Каждый из светодиодов имеет индивидуальную частоту мерцания. Когда человек пристально смотрит на него, в мозге возникают электромагнитные процессы, соответствующие этой частоте, а шлем для снятия электроэнцефалограммы (ЭЭГ) их фиксирует. Таким образом, система знает, на какой светодиод смотрит человек.

Интерфейс тестировался на здоровых людях, хотя предназначен для людей, страдающих заболеваниями нервной системы, такими как боковой амиотрофический склероз, а также получивших травмы спинного мозга и испытывающих трудности в управлении нижними конечностями. Однако интерфейс не подходит людям, страдающих эпилепсией, так как мерцающий свет может вызвать у них припадок.

Новый нейрокомпьютерный интерфейс может служить дополнительным приспособлением для экзоскелетов и приобретаться отдельно. Но исследователи не уточнили, планируют ли они коммерциализовать разработку и когда. Сейчас они работают над задачей снижения нагрузки на глаза при длительном работе с системой.

Другие интересные новости:

▪ Графеновая микросхема

▪ Мультимедийный холодильник

▪ Экспериментальные подводные дата-центры Microsoft

▪ USB-устройство для анализа крови

▪ Светодиоды на посадочной полосе

Лента новостей науки и техники, новинок электроники

 

Интересные материалы Бесплатной технической библиотеки:

▪ раздел сайта Электромонтажные работы. Подборка статей

▪ статья Как блины печет кто-либо. Крылатое выражение

▪ статья Что такое тропики? Подробный ответ

▪ статья Выполнение работ в дисплейном классе. Типовая инструкция по охране труда

▪ статья Переключатель гирлянд с плавным включением. Энциклопедия радиоэлектроники и электротехники

▪ статья Зарядка стабильным током. Энциклопедия радиоэлектроники и электротехники

Оставьте свой комментарий к этой статье:

Имя:


E-mail (не обязательно):


Комментарий:





Главная страница | Библиотека | Статьи | Карта сайта | Отзывы о сайте

www.diagram.com.ua

www.diagram.com.ua
2000-2025