Menu Home

Бесплатная техническая библиотека для любителей и профессионалов Бесплатная техническая библиотека


Сквозь стекло. Секрет фокуса

Эффектные фокусы и их разгадки

Справочник / Эффектные фокусы и их разгадки

Комментарии к статье Комментарии к статье

Описание фокуса:

Ассистент выносит рамку со стеклом и ставит ее в специальные подставки на демонстрационный стол; рядом он кладет две мишени (рис. 43) и сам остается на сцене.

Фокус Сквозь стекло
Рис. 43

Выходит фокусник с "волшебной" палочкой в руках. Подойдя к рамке, он стучит палочкой по стеклу в разных его участках, показывая, что рамка застеклена полностью. Вынув рамку из подставок, фокусник спускается с нею в зал, проходит по среднему проходу между рядами, показывая на обе стороны, что стекло в рамке целое, без отверстий, и возвращается на сцену. Там с помощью ассистента по обеим сторонам стекла укрепляются мишени, для этого на рамке имеются треугольные выступы. После этого рамка устанавливается на столе в подставках.

Помощник подает фокуснику большую иглу (так называемую хомутную) и узкую яркую ленту длиной 3-4 метра. Вдев ленту в игольное ушко, артист еще раз спускается в зал и дает осмотреть иголку с лентой нескольким зрителям, сидящим в первых рядах. Возвратись на авансцену, он говорит: "Вы только что осмотрели рамку и эту иголку с лентой. Это самые обычные предметы, ничем не примечательные. Между тем, они обладают необычными свойствами, которые я и постараюсь продемонстрировать сейчас". Он подходит к рамке, втыкает иглу в центр мишени - игла свободно проходит через обе мишени и стекло и выходит с обратной стороны рамки. Иллюзионист протягивает вслед за иглой всю ленту через стекло; при этом ассистент придерживает рамку, чтобы она не упала. Публика бывает поражена столь необычным прокалыванием стекла иглой.

Артист отдает помощнику иголку с лентой и берет в руки рамку; ассистент снимает с нее мишени и уносит их вместе с иглой за кулисы. Исполнитель показывает рамку со сцены, и зрители видят, что стекло в ней по-прежнему целое, но так как сидящим в глубине зала это недостаточно хорошо видно, фокусник спускается в публику и, идя по среднему проходу, показывает рамку из своих рук с близкого расстояния, постукивает по стеклу пальцем, чтобы доказать его прочность.

Секрет фокуса:

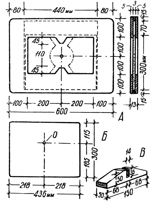
В устройстве рамки со стеклом и заключается секрет прокалывания стекла иглой. Чертеж рамки со всеми размерами вы видите на рис. 45. Для ее изготовления нам требуются два листа пятимиллиметровой и один лист трехмиллиметровой фанеры, размер каждого листа 400х600 мм.

В центре толстых листов выпиливаются окна с трапециевидными выступами по серединам длинных сторон (рис. 45, А). Затем из выпиленных из середины кусков фанеры делаются основы для мишеней, на нашем чертеже они показаны пунктиром с двумя точками. На них наклеиваются бумажные мишени (см. рис. 43), в центре которых просверливаются круглые отверстия 10 мм в поперечнике. В центре трехмиллиметрового листа вырезается прямоугольник 370х440 мм.

Фокус Сквозь стекло
Рис. 45

Далее переходим к изготовлению стекла. Толщина его 2,5 мм, в точке О, отмеченной на рис. 45, Б, оно имеет сквозное отверстие диаметром 5-6 мм. Сверлится стекло ручной дрелью, стальными сверлами для металла. Чтобы стекло при сверлении не лопнуло, поступают следующим образом: на стол кладется очень ровный лист фанеры, на котором в натуральную величину вычерчивается фигура, изображенная на рис. 45, Б; на нее накладывается наше стекло, и в точке о сверлится отверстие.

Когда стекло просверлено, необходимо обработать с обеих сторон наружные кромки его по всему периметру. Стекло подвигают к самой кромке фанерного листа, который в свою очередь сдвигается на край стола и свешивается за его пределы. На пол подстилается газета. Острым напильником с мелкой насечкой снимаются режущие кромки обреза стекла, кромка закругляется; необходимо также скруглить прямые углы обреза. Хорошим напильником стекло обрабатывается легко, только не нажимайте на напильник с большим усилием, стекло может лопнуть.

Теперь можно собирать (склеивать) рамку. Тонкий (3 мм) лист с одной стороны намажем клеем, избыток его удалим тряпочкой, наложим этот лист на пятимиллиметровый, точно совместив их наружные кромки, и просушим под прессом. Избыток клея снимают, чтобы он не проник во внутренний отсек, где будет помещаться стекло; в этом случае стекло может приклеиться к рамке и потерять подвижность. После просушки склеенных деталей наносят клей на вторую сторону тонкого листа, удаляют избыток клея и, вложив стекло на место, заклеивают его сверху вторым пятимиллиметровым листом, точно совместив его с нижними склеенными деталями.

Вторично положим рамку сушиться под прессом. Готовую рамку шкурят, если нужно, шпаклюют и шкурят вторично, а затем красят (в горизонтальном положении, оперев стеклом на подставки) подогретой эмалью и припорашивают наотлип бронзовым порошком ("золотят"); чтобы краска не попала на стекло и не заклинила, его нужно закрыть полосками бумаги, подсунув их под фанеру рамки.

Нам осталось изготовить две подставки. Делаются они из деревянного бруска 50X50 мм, как изображено на рис. 45, В.

Если теперь взять готовую рамку в руки и поворачивать ее вокруг длинной оси, то стекло внутри будет перемещаться от одной длинной кромки к другой, при этом в центре видимой части стекла будет появляться и исчезать сквозное отверстие О. На этом секрете и основан наш фокус.

Когда ассистент внес рамку на сцену, он поставил ее на стол так, что отверстия не было видно. В таком виде ведущий показывал рамку зрителям. Когда же в рамку вставляли мишени с двух сторон, то ее повернули на 180°, и отверстие встало против центров мишеней. Теперь артист мог без труда протащить сквозь стекло иголку с лентой. Снимая мишени с рамки, артист ее вновь повернул на 180°, и стекло стало "целым".

Наш артист пользовался готовой промышленной иглой, но ее можно изготовить и самому из тонкого металла.

Автор: Бедарев Г.К.

 Рекомендуем интересные статьи раздела Эффектные фокусы и их разгадки:

▪ Сказочное появление карт

▪ Бумажная сумка с двойной стенкой

▪ Зонт и платки

Смотрите другие статьи раздела Эффектные фокусы и их разгадки.

Читайте и пишите полезные комментарии к этой статье.

<< Назад

Последние новости науки и техники, новинки электроники:

Дефицит витамина B12 удваивает риск депрессии 21.01.2026

Питание и баланс микроэлементов играют ключевую роль не только для физического, но и для психического здоровья. Недавние исследования ирландских ученых показывают, что недостаток витамина B12 способен значительно повышать риск развития депрессии у пожилых людей, влияя на работу нервной системы и общее самочувствие. Витамин B12 необходим для правильного формирования эритроцитов, поддержания нервной системы и синтеза ДНК. Его дефицит может проявляться широким спектром симптомов: усталостью, слабостью, запорами, потерей аппетита и веса. У некоторых людей наблюдаются нарушения памяти, дезориентация и снижение когнитивных функций, доходящее до деменции. Особое внимание ученых привлекает анемия, которая является одним из самых опасных последствий недостатка B12. Она может возникать также при дефиците других витаминов группы B, включая фолиевую кислоту, и требует ранней диагностики и коррекции для предотвращения необратимых изменений в организме. Новое исследование показало, что у по ...>>

Бойлер Superheat добывает Bitcoin 21.01.2026

Стартап Superheat представил необычное решение - бытовой водонагреватель с функцией майнинга криптовалюты, который позволяет одновременно греть воду и генерировать доход от вычислительных операций. Модель Superheat H1 сочетает в себе накопительный бойлер объемом 190 литров и специализированный ASIC-компьютер, предназначенный для добычи Bitcoin. При работе чипов выделяется тепло, которое через встроенный теплообменник используется для нагрева воды. Таким образом, энергия, обычно теряемая при майнинге, эффективно применяется в бытовых целях. Разработчики отмечают, что расходы на электроэнергию для владельца устройства сопоставимы с затратами на обычный электрический бойлер. При этом доход от майнинга может частично или полностью компенсировать стоимость подогрева воды, превращая бытовую технику в потенциальный источник дополнительного дохода. Цена Superheat H1 составляет около 2000 долларов, что на 30-40% выше стандартных аналогов, но компенсируется инновационной функциональностью. ...>>

Стратегическое значение меди 20.01.2026

Эксперты предупреждают, что без своевременного наращивания добычи и переработки меди глобальная экономика может столкнуться с серьезным дефицитом уже в ближайшие десятилетия. По прогнозам аналитиков S&P Global, мировой спрос на медь к 2040 году вырастет на 50% и достигнет 42 миллионов метрических тонн. При этом предложение рискует не успеть за ростом потребления, что создаст напряженность на мировых рынках. Об этом в интервью телеканалу CNBC рассказал вицеголова S&P Global Даниэл Ергин. Основным драйвером роста спроса эксперты называют глобальную электрификацию. Медь играет ключевую роль в строительстве дата-центров, развитии энергетических сетей, производстве электромобилей и в оборонной промышленности. Без этого металла реализация масштабных энергетических и технологических проектов будет невозможна. Ергин отметил, что к 2040 году мировое потребление электроэнергии увеличится на 50%, что эквивалентно ежегодному вводу в эксплуатацию около 650 атомных электростанций. М ...>>

Случайная новость из Архива

Устройство для визуализации снов 05.07.2025

Сны - одна из самых загадочных и трудноуловимых сфер человеческого сознания. На протяжении веков философы, психологи и ученые пытались расшифровать их природу. Сегодня, благодаря достижениям в области искусственного интеллекта и цифровых технологий, появилась возможность не просто анализировать сновидения, но и создавать их визуальные образы. Над этой задачей успешно поработала нидерландская компания Modem Works, представив миру инновационный проект под названием Dream Recorder.

Проект основан на принципе открытого участия - каждый желающий может сам собрать устройство. Разработчики выложили в свободный доступ исходный код, схемы, список необходимых компонентов и рекомендации по их покупке. Корпус устройства предлагается напечатать на 3D-принтере, а сборка проводится вручную. Таким образом, Dream Recorder не просто гаджет, а полноценный DIY-конструктор, объединяющий энтузиастов, увлеченных технологиями и самопознанием.

Суть работы устройства проста: пользователь записывает голосом описание увиденного сна. После завершения этой аудиозаписи искусственный интеллект преобразует рассказ в видеоряд, оформленный в выбранном визуальном стиле. Созданное видео можно просматривать прямо на экране устройства, а также сохранять до семи роликов на встроенной карте памяти. Эта функция делает Dream Recorder не только инструментом визуализации, но и своеобразным цифровым дневником сновидений.

Набор комплектующих, необходимых для сборки Dream Recorder, включает в себя HDMI-экран, 8-ядерный процессор, карту памяти Micro SD и USB-микрофон. По расчетам разработчиков, суммарная стоимость всех деталей составляет около 285 евро, что делает устройство относительно доступным для широкой аудитории.

Генерация анимации сна производится платно: за создание одного визуального эпизода пользователю предстоит заплатить примерно $0,14. Итоговая сумма зависит от параметров изображения, в частности, от его качества и длительности. Тем не менее, по сравнению с профессиональными нейросетевыми сервисами визуализации, это - весьма экономичный способ запечатлеть свои ночные фантазии.

Разработка Dream Recorder - не первый опыт в попытках расшифровать и отобразить сновидения. Например, еще в 2023 году японская лаборатория ATR Computational Neuroscience Laboratories представила прототип, основанный на технологии МРТ и нейросетевого анализа. Он позволял реконструировать образы из снов с точностью до 60%, что стало серьезным прорывом. Однако новинка от Modem Works делает эту идею доступной для всех - без сложных медицинских аппаратов и лабораторных условий.

Другие интересные новости:

▪ Монитор ViewSonic VG2401mh

▪ Новые LED-лампы от Samsung

▪ Пропускнаая способность Wi-Fi повышена в 8 раз

▪ Сверхчистые алмазные пластины емкостью до 25 Эбайт данных

▪ Сетевой стандарт со скоростью передачи данных 800 Гбит/с

Лента новостей науки и техники, новинок электроники

 

Интересные материалы Бесплатной технической библиотеки:

▪ раздел сайта Истории из жизни радиолюбителей. Подборка статей

▪ статья Шалаш вашего сада. Советы домашнему мастеру

▪ статья Почему на российских автомобильных номерах используется только 12 букв? Подробный ответ

▪ статья Стрелолист. Легенды, выращивание, способы применения

▪ статья Копаловый масляный лак. Простые рецепты и советы

▪ статья Токопроводящие составы. Энциклопедия радиоэлектроники и электротехники

Оставьте свой комментарий к этой статье:

Имя:


E-mail (не обязательно):


Комментарий:





Главная страница | Библиотека | Статьи | Карта сайта | Отзывы о сайте

www.diagram.com.ua

www.diagram.com.ua
2000-2026