Бесплатная техническая библиотека
Зарядное устройство для малогабаритных элементов. Энциклопедия радиоэлектроники и электротехники

Энциклопедия радиоэлектроники и электротехники / Зарядные устройства, аккумуляторы, гальванические элементы
Комментарии к статье
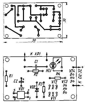
Малогабаритные элементы СЦ-21, СЦ-31 и другие используются, например, в современных электронных наручных часах. Для их подзарядки и частичного восстановления работоспособности, а значит, продления срока службы, можно применить предлагаемое зарядное устройство (рис. 1). Оно обеспечивает ток зарядки 12 мА, достаточный для "обновления" элемента через 1,5...3 часа после подключения к устройству.
Рис. 1
На диодной матрице VD1 выполнен выпрямитель, на который подается сетевое напряжение через ограничительный резистор R1 и конденсатор С1. Резистор R2 способствует разрядке конденсатора после отключения устройства от сети. На выходе выпрямителя стоит сглаживающий конденсатор С2 и стабилитрон VD2, ограничивающий выпрямленное напряжение на уровне 6,8 В. Далее следуют источник зарядного тока, выполненный на резисторах R3, R4 и транзисторах VT1-VT3, и сигнализатор окончания зарядки, состоящий из транзистора VT4 и светодиода HL).
Как только напряжение на заряжаемом элементе возрастет до 2,2 В, часть коллекторного тока транзистора VT3 потечет через цепь индикации. Зажжется светодиод HL1 и просигнализирует об окончании цикла зарядки.
Вместо транзисторов VT1, VT2 можно использовать два последовательно включенных диода с прямым напряжением 0,6 В и обратным напряжением более 20 В каждый, вместо VT4 - один такой диод, а вместо диодной матрицы - любые диоды на обратное напряжение не менее 20 В и выпрямленный ток более 15 мА. Светодиод может быть любой другой, с постоянным прямым напряжением около 1,6 В. Конденсатор С1 - бумажный, на номинальное напряжение не ниже 400 В, оксидиый конденсатор С2-К73-17 (можно К50-6 на напряжение не ниже 15 В).
Детали устройства смонтированы на печатной плате (рис. 2), которая помещена в корпус из полистирола. На корпусе укреплена сетевая вилка ХР1 и установлены контакты для подключения элемента.
Авторы: В. Бондарев, А. Рукавишников, г. Москва; Публикация: Н. Большаков, rf.atnn.ru
Смотрите другие статьи раздела Зарядные устройства, аккумуляторы, гальванические элементы.
Читайте и пишите полезные комментарии к этой статье.
<< Назад
Последние новости науки и техники, новинки электроники:
Власть является ключевым фактором счастья в отношениях
11.03.2026
Исследования семейных и романтических отношений показывают, что длительное счастье пары зависит не только от привычных факторов, таких как доверие, уважение и преданность, но и от более тонких психологических аспектов. Современные ученые ищут закономерности, которые отличают действительно счастливые пары от остальных, чтобы понять, какие механизмы поддерживают гармонию в отношениях.
Группа исследователей из Университета Мартина Лютера в Галле-Виттенберге и Бамбергского университета провела опрос среди 181 пары, которые состояли в совместных отношениях более восьми лет и прожили вместе хотя бы месяц. Участники заполняли анкету, описывая различные аспекты своих отношений, включая распределение обязанностей, эмоциональную поддержку и степень вовлеченности в совместные решения.
Анализ данных показал интересный паттерн: пары, где оба партнера ощущали высокий уровень личной власти, оказывались наиболее счастливыми и удовлетворенными. В данном контексте под властью понимается способност ...>>
Защищенная колонка-повербанк Anker Soundcore Boom Go 3i
11.03.2026
Компания Anker представила новую модель линейки Soundcore - колонку Soundcore Boom Go 3i, ориентированную на активное использование на улице.
Новинка отличается высокой степенью защиты: корпус соответствует стандарту IP68, что обеспечивает водо- и пыленепроницаемость, а ударопрочный дизайн выдерживает падение с высоты до одного метра. За качество звука отвечает 15-ваттный драйвер, обеспечивающий пик громкости до 92 дБ, а технология BassUp 2.0 усиливает низкие частоты, делая звучание более насыщенным.
Колонка обладает автономностью до 24 часов, а LED-индикатор позволяет контролировать уровень заряда батареи. Кроме того, Soundcore Boom Go 3i может выполнять функцию павербанка: согласно внутренним тестам, устройство способно зарядить iPhone 17 с нуля до 40% за один час, что делает его полезным аксессуаром в походах и поездках.
Среди функциональных особенностей модели стоит выделить технологию Auracast, которая улучшает подключение и позволяет создавать стереопару из двух колонок ...>>
Раннее воздержание от алкоголя перестраивает мозг и иммунитет
10.03.2026
Алкогольная зависимость - хроническое расстройство с компульсивным употреблением спиртного, которое влияет не только на поведение, но и на функционирование мозга и иммунной системы. Недавние исследования показали, что даже на ранних этапах воздержания организм начинает перестраиваться, открывая новые возможности для терапии зависимости.
Ученые сосредоточились на пациентах, находящихся в первые недели абстиненции, и зафиксировали значительные изменения в мозговой активности. С помощью функциональной магнитно-резонансной томографии они выявили перестройку сетей нейронных связей, отвечающих за контроль импульсов и принятие решений. Эти изменения могут быть ключевыми для восстановления самоконтроля и снижения риска рецидива.
Одновременно с нейронной перестройкой исследователи наблюдали колебания иммунной системы. В крови повышался уровень цитокинов - сигнальных белков, регулирующих воспалительные процессы. Эти данные свидетельствуют о существовании нейроиммунного взаимодействия, при ...>>
Случайная новость из Архива Карьерные самосвалы Vale на этаноле
04.09.2024
В условиях глобальной борьбы с изменением климата компании ищут новые способы снижения выбросов углерода и увеличения экологической устойчивости. В этом контексте бразильская горнодобывающая компания Vale, совместно с партнерами Komatsu и Cummins, объявила о планах модернизировать парк своих карьерных самосвалов, переведя их на смешанное топливо - комбинацию этанола и дизеля. Это нововведение позволит сократить выбросы CO2 при проведении горных работ, одновременно сохраняя высокую производительность и эффективность техники.
Vale станет первой компанией в мире, которая будет использовать этанол в качестве топлива для грузовиков с грузоподъемностью от 230 до 290 тонн. Этот шаг направлен на достижение долгосрочных целей компании по снижению углеродного следа. Согласно планам Vale, к 2030 году компания намерена сократить прямые и косвенные выбросы углерода на 33%, а к 2050 году достичь полного нулевого уровня выбросов.
Использование этанола в топливной смеси позволит модернизированным самосвалам снижать прямые выбросы углекислого газа до 70%. Важно отметить, что выбросы, связанные с использованием дизельного топлива, составляют около 15% от общего объема прямых выбросов CO2 компании Vale. Таким образом, переход на смешанное топливо представляет собой значительный шаг в направлении декарбонизации горнодобывающей отрасли.
Инженерный директор Vale, Хосе Бальтазар, подчеркнул, что замена ископаемого топлива, такого как дизель, на более экологичные альтернативы является ключевым элементом в достижении целей декарбонизации. Он отметил, что модернизация существующего автопарка без необходимости приобретения новых грузовиков позволяет эффективно продвигаться к этим целям, снижая затраты и минимизируя влияние на производственные процессы.
Проект по разработке, тестированию и внедрению этанол-дизельных двигателей будет реализован в течение следующих двух лет. Важную роль в этом проекте играет компания Cummins, которая занимается разработкой двигателей, способных эффективно работать на смешанном топливе. Решение использовать этанол обусловлено его доступностью и широким распространением в Бразилии, где страна занимает лидирующие позиции по производству биотоплива.
Людмила Насименто, директор по энергетике и декарбонизации Vale, отметила, что использование этанола как топлива для самосвалов позволяет компании воспользоваться конкурентным преимуществом Бразилии в производстве биотоплива. Это стратегическое решение помогает не только сократить углеродный след компании, но и укрепить позиции страны на мировом рынке биотоплива.
Переход Vale на этанол-дизельные двигатели представляет собой важный шаг в направлении устойчивого развития горнодобывающей отрасли. Это не только способствует снижению выбросов CO2, но и демонстрирует, как современные технологии могут быть адаптированы к существующему оборудованию, минимизируя затраты и повышая экологическую эффективность. Внедрение таких решений в масштабах всей отрасли может стать ключевым элементом глобальной стратегии по борьбе с изменением климата.
|
Другие интересные новости:
▪ Твердотельный накопитель Plextor M7e
▪ MiniSKiiP с нанесением теплопроводящей пасты
▪ Обезьяны - они как люди
▪ Оптимизация производительности сетей 5G
▪ Сетевые накопители Asustor AS3102T и AS3104T с поддержкой 4К-видео
Лента новостей науки и техники, новинок электроники
Интересные материалы Бесплатной технической библиотеки:
▪ раздел сайта Загадки для взрослых и детей. Подборка статей
▪ статья Презренный металл. Крылатое выражение
▪ статья Какой монарх технически находился в состоянии войны с самим собой? Подробный ответ
▪ статья Физиолог. Должностная инструкция
▪ статья Особенности тринисторных регуляторов. Энциклопедия радиоэлектроники и электротехники
▪ статья Преобразователь для питания двухфазного асинхронного электродвигателя. Энциклопедия радиоэлектроники и электротехники
Оставьте свой комментарий к этой статье:
Главная страница | Библиотека | Статьи | Карта сайта | Отзывы о сайте

www.diagram.com.ua
2000-2026