Menu Home

Бесплатная техническая библиотека для любителей и профессионалов Бесплатная техническая библиотека


Принимаем стереофоническое звуковое сопровождение. Энциклопедия радиоэлектроники и электротехники

Бесплатная техническая библиотека

Энциклопедия радиоэлектроники и электротехники / Телевидение

Комментарии к статье Комментарии к статье

С 14 ноября 2003 г. "Первый канал" российского телевидения начал регулярно передавать ряд программ со стереофоническим звуковым сопровождением. Они отмечены на изображении специальным значком в виде наложенных со смещением один на другой двух стилизованных экранов телевизоров. Конечно, сохранилась и передача монофонического звукового сигнала.

Такое вещание стало возможным в связи с вводом на Останкинской телебашне нового передатчика взамен старого, работавшего с 1967г. - со дня начала вещания из телецентра в Останкине. Старый передатчик пока будут использовать в качестве резервного.

Жители Москвы и Подмосковья могут принимать стереозвук, если их телевизоры оснащены демодуляторами - декодерами сигнала NICAM, передаваемого способом фазовой модуляции DQPSK на поднесущей частоте 5,85 МГц. Напомним, что разнос между несущими частотами изображения и обычного монофонического звука в радиоканалах равен 6,5 МГц, как предусмотрено в используемых у нас стандартах D (на MB) и К (на ДМВ).

О том, как формируется, передается и принимается сигнал стереофонического звукового сопровождения NICAM рассказано в этой и последующих частях публикуемого материала.

До недавнего времени в нашей стране не велось стереофоническое звуковое сопровождение эфирных телевизионных программ, поэтому интерес к системам такого вещания был небольшой. В то же время за рубежом они успешно эксплуатируются. Одна из наиболее популярных среди них - система стереофонического звукового сопровождения телевизионного вещания NICAM (Near Instantaneously Companded Audio Multiplex - почти мгновенно компандированный звуковой сигнал с уплотнением). Она была разработана Британской радиовещательной компанией ВВС (Би-Би-Си) и впервые представлена в МККР в 1987 г. В эксплуатацию она вошла в 1988 г. и сейчас широко используется в Великобритании, Швеции, Дании и других странах Европы как в наземном, так и в спутниковом телевизионном вещании.

Словарь терминов

  • Дискретизация - представление во времени непрерывного аналогового сигнала в виде последовательности его дискретных значений (выборок или отсчетов), следующих через определенные интервалы.
  • Дифференциальное кодирование - способ кодирования, при котором по каналу связи передают не значения цифрового кода каждого отсчета, а разность между действительным значением текущего отсчета и значением этого же отсчета, предсказанным по предыдущему.
  • Квантование - округление значения каждого отсчета до ближайшего уровня квантования.
  • Компандирование - сжатие динамического диапазона сигнала при его передаче и расширение при приеме.
  • Мультиплексирование - объединение нескольких входных потоков в единый выходной.
  • Отсчет - единичное значение сигнала, полученное при его дискретизации в выбранный момент времени.
  • Оцифровка - процедура, в результате которой значение отсчета представляется в виде числа, соответствующего номеру полученного уровня квантования.
  • Перемежение битов (побитовое перемежение) - перестановка битов, символов и т. п.
  • Скремблирование (рандомизация, шифрование) - специальная обработка цифрового сигнала путем перестановки битов, сегментов, блоков или добавления мешающих сигналов, например, псевдослучайной последовательности, после чего приемник перестает принимать его до тех пор, пока этот сигнал не будет подвергнут дескремблированию.
  • Слово - последовательность битов, соответствующая единице информации в цифровой форме.
  • Уровень квантования - значение постоянного уровня сигнала каждого отсчета.
  • Бит четности - бит, служащий для проверки на наличие битовой ошибки путем прибавления одного бита.

Так как "Первый канал" телевизионного вещания начал вести стереофоническое звуковое сопровождение ряда своих передач именно по этой системе, следует ознакомить читателя с принципами формирования сигнала NICAM, его передачи и приема по радиочастотным стандартам В, G, Н, I, а также с конкретными схемами декодеров сигнала телевизионных приемников. Поскольку в системе обеспечивается передача с суммарной скоростью 728 кбит/с, то в литературе ее чаще называют NICAM-728 [1- 4].

В соответствии с Рекомендацией 707 МККР систему применяют в тех случаях, когда в наземные телевизионные устройства совместно с передачей аналогового видеосигнала дополнительно требуется ввести цифровой звук. Для его передачи используют две несущие частоты (рис. 1), основная из которых f3 ocн модулируется, как обычно, по частоте аналоговым монофоническим сигналом звукового сопровождения телевизионных программ, а дополнительная f3 доп - цифровым стереофоническим сигналом звука NICAM.

Принимаем стереофоническое звуковое сопровождение

Значения несущих звука отстоят от несущих изображения fиз на 5,5 (основная) и 5,85 (дополнительная) МГц для стандартов В, G, Н и на 6 и 6,552 МГц для стандарта I. На этой одной несущей NICAM обеспечивается передача двух высококачественных звуковых сигналов каналов L (левый) и R (правый). Несущая звука NICAM в стандартах В, G, Н, I расположена по частоте чуть выше несущей обычного звука, но в пределах полосы частот радиоканала. Основные параметры системы NICAM указаны в таблице.

Принимаем стереофоническое звуковое сопровождение

Принцип формирования сигнала системы NICAM рассмотрим по упрощенной структурной схеме передатчика, показанной на рис. 2. Перед подачей из каналов L и R аналоговых звуковых сигналов на мультиплексированный АЦП в каждый из них вводят предыскажения. Они необходимы в соответствии с международными стандартами (Рекомендация J.17 МККТТ), чтобы обеспечить некоторый подъем ВЧ составляющих сигналов. Предыскажения позволяют уменьшить уровень шумов, которые расположены преимущественно в этом интервале. В приемнике соотношение НЧ и ВЧ составляющих восстанавливается цепями коррекции предыскажений, уменьшающими амплитуду ВЧ составляющих.

Принимаем стереофоническое звуковое сопровождение
(нажмите для увеличения)

Известно, что для получения высокого качества звучания домашней аппаратуры вполне достаточно полосы звуковых частот 15 кГц. Отсюда следует, что мини мальная частота дискретизации (выборки) при преобразовании аналогового зву кового сигнала в цифровой должна быть равна удвоенному значению верхней звуковой частоты, т. е. 30 кГц. Однако на практике для предотвращения наложения спектров сигналов и связанных с этим искажений используют чуть более высокую частоту выборки - 32 кГц.

Выборка в сигналах L и R происходит одновременно, после чего в АЦП группа из трех отсчетов сигнала L преобразуется в 14-битовое кодированное слово, вслед за которым следует такая же группа отсчетов сигнала R, затем опять слово L и т. д. поочередно. Выходной сигнал АЦП состоит из последовательно следующих сегментов данных, представляющих собой группы из 32 отсчетов каждого канала. 14 битовая оцифровка сигналов позволяет получить большое число уровней квантования (16384), что вполне приемлемо для высококачественного воспроизведения звука.

При упомянутых условиях оцифровки сигналов с частотой выборки 32 кГц требуется довольно большая скорость передачи данных и, следовательно, очень широкая полоса частот, которая никак не вписывается в полосу частот радиоканала. Поэтому на практике используют почти мгновенное цифровое компандирование (на что и указывает название системы), которое позволяет уменьшить число битов на отсчет с 14 до 10 и битовую скорость передачи данных без ухудшения качества воспроизводимого сигнала.

Способ цифрового компандирования основан на том, что значение каждого бита двоичного кода зависит от уровня сигнала звука, который в каждый момент представляет собой конкретный кодированный отсчет. Так, при громких звуках, т. е. при больших амплитудах сигнала, влияние младших битов весьма мало и ими можно пренебречь. При тихих звуках (значения отсчетов не превышают 100...200 мкВ) младшими битами пренебрегать нельзя.

Следовательно, цифровой компандер NICAM превращает 14-битовый код в 10-битовый: для слабых сигналов сохранены исходные 14-битовые отсчеты, а для сигналов с большим уровнем отброшены от одного до четырех младших битов.

Для более эффективного компандирования в ряде случаев исключают и некоторые старшие биты. Например, 13-й бит будет исключен, если он совпадает с 14-м; 12-й бит - при совпадении и с 13-м, и с 14-м и т. д. 14-й бит присутствует всегда, так как он указывает на полярность сигнала. При удалении старших битов в системе предусмотрен способ их восстановления в приемнике, называемый кодированием с масштабным множителем. Он представляет собой трехбитовый код, сообщающий приемнику число исключенных старших битов для их последующего восстановления.

Следующий этап обработки сигнала заключается в добавлении к коду каждого отсчета бита четности и образовании 11-битового кода. Бит четности необходим для проверки шести старших битов на присутствие в них ошибки.

На выходе устройства добавления битов четности из 32-х 11 -битовых отсчетов L1 - L32 (в канале L) и R1- R32 (в канале R) формируются группы, называемые сегментами (рис. 3), которые поступают сначала на формирователь блоков, а затем - на циклообразующий мультиплексор. Перед формированием циклов (кадров, фреймов) поток данных организуется в 704-битовые блоки данных, каждый из которых содержит два сегмента (по одному от каждого канала), причем блоки мультиплексируются так, как это показано на рис. 4.

Принимаем стереофоническое звуковое сопровождение

Перед каждым блоком звуковых данных размещают дополнительные 24 бита информации, необходимые для синхронизации и управления (рис. 5). Слово цикловой синхронизации синхронизирует приемник NICAM телевизора и всегда имеет значение 01001110, а биты С0-С4 нужны для управления и синхронизации декодера, причем бит СО называют флагом цикла.

Принимаем стереофоническое звуковое сопровождение

Далее применяют побитовое перемежение. Оно требуется для минимизации битовых ошибок (пакетов ошибок), которые вызываются шумами и помехами и могут исказить несколько соседних битов. Устройство побитового перемежения отделяет смежные биты один от другого на 16 тактов синхронизации (т. е. между ними расположено 15 других битов). Поэтому, так как пакет ошибок обычно не превышает 16 битов (а это наиболее вероятно), в телевизоре он будет рассредоточен по различным отсчетам в виде одиночных битовых ошибок, а это практически не влияет на качество звука.

Устройство побитового перемежения содержит ОЗУ, куда вначале записываются данные 704-битового блока, а затем они считываются из него в указанной выше последовательности. Порядок считывания сохраняется в ПЗУ, называемом иначе датчиком последовательности адресов. Подобное же ПЗУ использовано в телевизоре для восстановления там исходной битовой последовательности.

Принимаем стереофоническое звуковое сопровождение

Для того чтобы сигнал воспринимался как случайный, т. е. имел равномерное распределение энергии, и чтобы уменьшить влияние на сигнал звука NICAM обычного звукового сигнала со стороны частотного модулятора, поток битов проходит на устройство скремблирования. Очевидно, что скремблированию не подвергаются биты слова цикловой синхронизации. В телевизоре выполняется обратная процедура, называемая дескремблированием битов звуковых данных, для восстановления их в первоначальном виде.

В системе NICAM для передачи цифрового сигнала по радиоканалу применен метод фазовой манипуляции несущей звука QPSK (Quadrature Phase Shift Keying - квадратурная фазовая манипуляция). Однако скремблированный поток цифровых звукоданных перед подачей на модулятор подвергается дифференциальному кодированию, поэтому манипуляция носит еще и название дифференциальной (Differential) - DQPSK. Это нужно для того, чтобы в телевизоре можно было бы использовать не только синхронную демодуляцию, но и более простую - разностную.

Фазовая манипуляция - наиболее экономичный вид модуляции, при которой частота несущей остается постоянной, в то время как ее фаза изменяется в соответствии с состоянием битов данных. Квадратурная фазовая манипуляция, называемая также четырехпозиционной, имеет четыре значения фазы: 45°, 135°, 225° и 315°. Для их получения сначала фазу несущей сдвигают на 90° и формируют два находящихся в квадратуре сигнала данных: I и Q. В результате создается сигнал с результирующей фазой 45°. Затем для формирования остальных результирующих векторов эти оба сигнала подвергают изменению фазы на 180° (рис. 6). Каждый из векторов может быть представлен двумя битами двоичного числа:

  • 00 - 0° (изменений фазы нет);
  • 01 - изменение фазы на -90°;
  • 10 - изменение фазы на -270°;
  • 11 - изменение фазы на -180°.

Следовательно, представленные битовые комбинации изменяют фазу несущей на различные углы по отношению к фазе предыдущего сигнала, как это показано на временной диаграмме рис. 7. Для обеспечения такой манипуляции фазы предусмотрено преобразование последовательного потока цифровых звукоданных в параллельный двухбитовый формат. В результате битовая скорость передачи снижается в два раза, что приводит к сужению полосы частот, занимаемых сигналом.

Принимаем стереофоническое звуковое сопровождение

Модулированный сигнал DQPSK и частотно-модулированный сигнал монозвука поступают на преобразователь частоты, где они переносятся на заданную несущую частоту. ВЧ сигнал усиливается и излучается антенной.

Рассмотрим фрагмент структурной схемы телевизора со встроенными демодулятором и декодером NICAM (рис. 8).

Принимаем стереофоническое звуковое сопровождение

Как и обычно, сигнал вещательного телевидения поступает на антенный вход селектора каналов (тюнера), в котором происходят выбор и преобразование принятых радиочастотных сигналов в сигналы ПЧ изображения и звука. Усиленные и прошедшие фильтр на ПАВ они проходят в соответствующие тракты обработки телевизора.

Полосовой фильтр NICAM (на частоту 5,85 МГц для стандартов В, G, Н, D, К или 6,552 МГц для стандарта I) выделяет сигналы ПЧ NICAM, которые после усиления поступают на демодулятор NICAM (рис. 9). Его работа основана на тех же принципах, что и обычного демодулятора ЧМ сигналов, в котором изменения фазы или частоты колебаний приводят к изменению выходного постоянного напряжения. Однако при квадратурной модуляции помимо синфазного фазового детектора используется еще и квадратурный фазовый демодулятор, на который подают сдвинутый по фазе на 90° сигнал с генератора несущей.

Принимаем стереофоническое звуковое сопровождение

С выходов детектора и демодулятора через ФНЧ сигналы данных I и Q приходят на дифференциальный логический декодер, устройство восстановления битов синхронизации и устройство ФАПЧ. Последнее, как обычно, при необходимости вырабатывает сигнал ошибки, который подстраивает частоту и фазу генератора несущей. Устройство восстановления битов синхронизации входит во вторую петлю ФАПЧ, синхронизированную со скоростью передачи битов. Для обеспечения синхронизации битовой скорости в качестве системной используется частота, кратная битовой скорости. Битовая скорость передачи получается делением системной частоты синхронизации на 8.

Дифференциальный логический декодер преобразует потоки данных I и Q в соответствующие двухбитовые параллельные данные, которые затем проходят на параллельно-последовательный преобразователь, восстанавливающий исходный последовательный поток данных.

В декодере NICAM (рис. 10) обеспечивается дескремблирование, деперемежение, экспандирование данных, восстановление исходных 14-битовых слов и управление ЦАП.

Принимаем стереофоническое звуковое сопровождение

Закодированные данные с демодулятора NICAM поступают на детектор слова цикловой синхронизации и на дескремблер для распознавания цикла и дескремблирования. Дескремблированные данные приходят на устройство деперемежения, на выходе которого воспроизводятся исходные двухканальные (L и R) данные вместе с сигналом опознавания нужного канала. Для деперемежения, по аналогии с передатчиком, сначала выполняется запись в ячейки ПЗУ потока данных блок за блоком а затем для воспроизведения правильного порядка следования битов содержимое ячеек считывается в соответствии с записанной в ПЗУ программой.

Дескремблированные данные проходят также на устройство выбора режимов работы, которое декодирует биты управления С0-С4 (см. рис. 5) и передает информацию о типе передачи на экспандер и другие узлы декодера, а также телевизора. В нем, в частности, формируется сигнал блокировки канала монофонического звука при приеме стереофонического. Такая блокировка предотвращает попадание на усилитель 3Ч помех и шумов из канала монофонического звука.

Восстановленное в правильном порядке устройством деперемежения каждое 11-битовое слово (напомним: 10 битов данных + 1 бит четности) расширяется экспандером до 14-битового формата. Экспандер использует масштабные множители, заложенные в биты четности, которые и расширяют 10-битовые коды отсчетов до 14 битов.

В устройстве проверки наличия ошибок для коррекции битового потока используются биты четности.

Затем в данных корректируются предыскажения и они поступают на устройство управления ЦАП, которое формирует три сигнала: битовый поток данных, сигнал опознавания и сигнал синхронизации.

Обычно используют один ЦАП, работающий попеременно на кодовые слова сигналов L и R. На выходах ЦАП формируются аналоговые сигналы 3Ч, которые и подают на соответствующие усилители мощности.

Рассмотрим теперь принципиальную схему приемника NICAM (плата К) телевизора PHILIPS - 29РТ-910В/42(58), собранного на шасси FL2.24, FL2.26 или FL4.27 (АА) (рис. 11). Приемник сконструирован так, что может обрабатывать сигналы как стандартов В, G, Н, так и стандарта I.

Принимаем стереофоническое звуковое сопровождение
(нажмите для увеличения)

На входные контакты платы 1N43 и 1N50 (IF INPUT) подан сигнал ПЧ NICAM. Два полосовых фильтра 1002 и 1004, включенных параллельно, обеспечивают выделение сигналов упомянутых стандартов. Каскад на транзисторе 7008 играет роль эмиттерного повторителя, а на транзисторе 7009 - усилителя сигналов ПЧ.

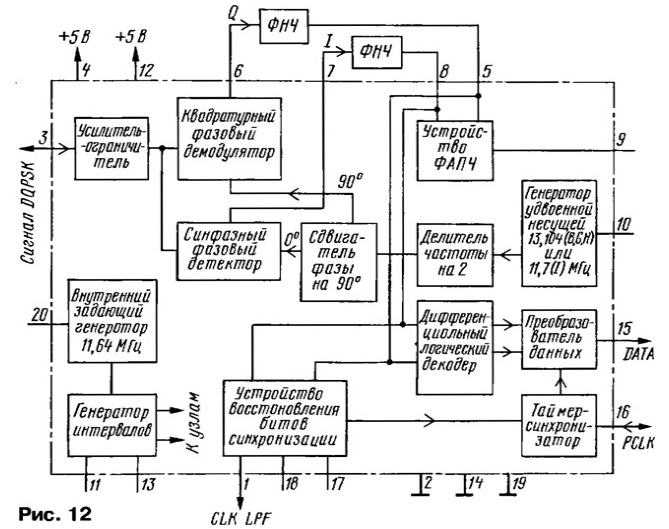
Далее сигнал NICAM (DQPSK) поступает на вывод 3 микросхемы 7000, выполняющую функцию демодулятора составляющих звукового спектра NICAM. В ней же происходят восстановление временных интервалов (битов) цифрового кода, преобразование параллельного кода сигнала данных в последовательный и фазовая автоподстройка частоты генератора удвоенной несущей.

Структурная схема микросхемы TDA8732 изображена на рис. 12. Через усилитель-ограничитель внутри микросхемы сигнал приходит на синфазный фазовый детектор и квадратурный демодулятор. На один из них подан сигнал поднесущей без изменения фазы, а на другой - сдвинутый на 90°.

Принимаем стереофоническое звуковое сопровождение

Образующиеся на выходах этих устройств сигналы I и Q через выводы 7 и 6 микросхемы, ФНЧ (дроссель 5001, конденсатор 2005 и дроссель 5000, конденсатор 2004 на рис. 11), выводы 8 и 5 микросхемы проходят на дифференциальный логический декодер (рис. 12), устройство восстановления битов синхронизации и устройство ФАПЧ. Первый из них преобразует параллельно принимаемые сигналы I и Q в двухбитовые цифровые данные, а включенный далее преобразователь данных восстанавливает их в первоначальный последовательный поток.

На выходе устройства восстановления битов CLK LPF (вывод 1 микросхемы) включен ФНЧ (конденсаторы 2042, 2012, 2014, резисторы 3011, З010) и варикап 6006 (см. рис. 11). Под воздействием сформированного на выводе 1 микросхемы уровня напряжения емкость варикапа изменяется, в результате чего происходит автоматическая подстройка кварцевого резонатора 1001. Так обеспечивается синхронизация детектора слова цикловой синхронизации, находящегося в микросхеме 7001.

К выходу устройства ФАПЧ (вывод 9 микросхемы 7000) подключены ФНЧ (конденсаторы 2006, 2007, резистор 3005) и варикап 6005. Под воздействием сформированного на выводе 9 микросхемы уровня напряжения емкость варикапа изменяется, в результате чего автоматически подстраивается частота кварцевого резонатора 1003, а значит, и генератора удвоенной несущей частоты (рис. 12). Так происходит системная синхронизация устройств демодулятора.

Преобразователь данных микросхемы 7000 синхронизируется внешними синхронизирующими импульсами PCLK, подаваемыми на таймер-синхронизатор через вывод 16 микросхемы (см. рис. 11) с внутреннего генератора микросхемы 7001.

Последовательный поток данных DATA с вывода 15 микросхемы 7000 проходит через вывод 21 микросхемы 7001 (рис. 13) на детектор слова цикловой синхронизации и дескремблер. Работа большинства устройств микросхемы SAA7280 совпадает с уже рассказанной по рис. 10 в предыдущей части статьи и комментариев не требует.

Принимаем стереофоническое звуковое сопровождение

Необходимо только добавить, что с устройства выбора режимов работы через вывод 22 микросхемы (см. рис. 11) управляющее напряжение поступает на коммутатор звуковых сигналов и обеспечивает блокировку канала обычного монофонического звука при приеме стереофонического. Остальные выходы устройства выбора режимов работы (см. рис. 11 и 13) в этом конкретном телевизоре не использованы.

Устройства микросхемы 7001 управляются сигналами цифровой шины 1С, поэтому внутри микросхемы предусмотрен интерфейс этой шины (рис. 13). Сигналы синхронизации SCL поданы на него через вывод 26 микросхемы (см. рис. 11), резистор 3027 и контакт 4N43 платы, а сигналы данных SDA поступают и снимаются через вывод 24 микросхемы, резистор 3026 и контакт 5N43 платы.

С устройства управления ЦАП микросхемы 7001 (рис. 13) через выводы 10, 8 и 9 цифровые сигналы данных SDAT, синхронизации SCLK и опознавания STIM соответственно проходят на выводы 3, 2 и 1 микросхемы 7007 (TDA1543), выполняющей функцию ЦАП. На ее выходах (выводы 6 и 8) формируются звуковые стереофонические сигналы левого (L) и правого (R) каналов, подаваемые на усилитель 3Ч.

Принимаем стереофоническое звуковое сопровождение
(нажмите для увеличения)

На рис, 14 показан фрагмент принципиальной схемы звуковой платы (AUDIO) телевизоров SAMSUNG - CS6277PF/PT, собранных на шасси SCT51 А. Следует отметить, что в демодуляторе-декодере все постоянные резисторы, кроме RJ08, RJ11, и все неполярные конденсаторы применены в исполнении для поверхностного монтажа (CHIP). Канал обработки сигнала NICAM в телевизорах построен на одной БИС ICJ01 (SAA7283ZP), выполняющей функции демодулятора сигналов DQPSK, декодера демодулированных сигналов и ЦАП (рис. 15).

Принимаем стереофоническое звуковое сопровождение

Квадратурно (фазово) модулированный сигнал DQPSK NICAM через контакт SIF(QPSK) соединителя CN601 (см. рис. 14) звуковой платы и вывод 29 микросхемы (рис. 15) поступает на встроенные в нее полосовые фильтры (5,85 и 6,552 МГц) и усилитель, охваченный АРУ и управляемый внутренним контроллером АРУ.

Сигнал DQPSK детектируется фазовым детектором с контурами несущих, на которых (в зависимости от принимаемого стандарта) выделяется напряжение ошибки, преобразуемое затем ГУН в управляющее напряжение (в нашем случае на выводе 27, см. рис. 14). Оно и воздействует на цепь подстройки контуров.

Сформированные сигналы I и Q приходят (см. рис. 15) на устройство восстановления битов синхронизации, которое через выводы 39 и 40 микросхемы воздействует на кварцевый генератор.

В декодере NICAM происходит дескремблирование, деперемежение и экспандирование сигналов данных. Декодированные данные после цифрового фильтра усиливаются, проходят устройство коррекции предыскажений и преобразуются встроенным в микросхему ЦАП в аналоговые звуковые сигналы каналов L и R. Пропущенные через выходные переключатели сигналы L и R с выводов 15 и 8 микросхемы соответственно поступают на усилитель 3Ч.

На выходные переключатели могут быть поданы и другие звуковые сигналы, например, монофонический сигнал обычного звука при отсутствии стереофонического сопровождения. В рассматриваемом модуле через выводы 7 и 16 микросхемы, конденсаторы CJ28 и CJ23 и контакт SECAM-L соединителя CN601 приходит монофонический звуковой сигнал.

Всеми узлами микросхемы управляет контроллер, совмещенный с декодером NICAM и ПЗУ. Управление обеспечивается по цифровой шине l2C. Для этого на вывод 49 микросхемы поступает сигнал синхронизации SCL, а на вывод 50 подается и с него же снимается сигнал данных SDA.

Литература

  1. ISO/IEC 958. Digital Audio Interface.
  2. Радиовещание и электроакустика: Учебник для ВУЗов/С. И. Алябьев, А. В. Выходец, Р. Е. Гермер и др./Под ред. Ю. А. Ковалгина. - М.: Радио и связь, 2000.
  3. Ковалгин Ю. Цифровые системы радиовещания и сопровождения телевидения. Ч. II. - Broadcasting, 2002, № 4(24), с. 60-63.
  4. Ибрагим К. Ф. Телевизионные приемники. - М.: Мир, 2000.

Автор: А.Пескин, г.Москва

Смотрите другие статьи раздела Телевидение.

Читайте и пишите полезные комментарии к этой статье.

<< Назад

Последние новости науки и техники, новинки электроники:

Ощущение текстуры через экран гаджета 27.11.2025

Гаджеты научились передавать изображение и звук с впечатляющей реалистичностью, но тактильные ощущения по-прежнему остаются недоступными для полноценной цифровой симуляции. Именно поэтому инженеры и исследователи во всем мире стремятся создать технологии, которые позволят "почувствовать" виртуальный объект так же естественно, как и настоящий. Новая разработка специалистов Северо-Западного университета США стала одним из самых заметных шагов в этом направлении. Возглавлявшая исследование аспирантка Сильвия Тан (Sylvia Tan) подчеркивает, что прикосновение остается последним фундаментальным чувственным каналом, для которого пока нет зрелого цифрового аналога. По ее словам, если визуальные и звуковые интерфейсы давно обеспечивают высокую степень реалистичности, то осязание лишь начинает приближаться к этому уровню. В недавней публикации в журнале Science Advances Тан отмечает, что новая технология способна изменить само представление о взаимодействии человека с устройствами. Разработ ...>>

AirPods Pro с инфракрасными камерами 27.11.2025

Apple традиционно играет роль новатора, поэтому ожидания от следующего поколения AirPods Pro особенно высоки. Новая модель, над которой компания уже активно работает, должна не просто улучшить звук, но и расширить способы взаимодействия человека с цифровой средой. Одним из наиболее заметных нововведений станет появление чипа Apple H3. Сегодняшние AirPods Pro используют поколение H2, обеспечивающее высокую скорость обработки звука, однако переход к H3 обещает еще более точное шумоподавление и сокращение задержки при беспроводной передаче аудио. По данным источников, новая архитектура улучшит энергоэффективность, а также позволит чипу глубже интегрироваться с устройствами экосистемы Apple. Особенно это касается гарнитуры Vision Pro, которая получит более синхронную работу с будущими наушниками. Не менее интригующей выглядит вторая инновация - миниатюрные инфракрасные камеры, встроенные непосредственно в корпус AirPods. Специалисты предполагают, что эти сенсоры смогут фиксировать дв ...>>

ИИ нужно воспринимать как пользователя 26.11.2025

Искусственный интеллект постепенно перестает быть скрытым компонентом программных решений и выходит на передний план. Сегодня алгоритмы не просто помогают обрабатывать данные, но и активно участвуют в рабочих процессах, принимают решения, взаимодействуют с корпоративными сервисами и получают доступ к критически важной инфраструктуре. Такое расширение их возможностей заставляет специалистов по безопасности переосмыслить, что именно означает присутствие ИИ в цифровой среде. Президент по продуктам и технологиям Okta Рик Смит подчеркивает, что воспринимать ИИ исключительно как технологическую надстройку уже невозможно. По его словам, компании обязаны учитывать, что искусственные агенты становятся участниками процессов наравне с живыми сотрудниками, а значит, требуют аналогичных мер защиты. Он формулирует это предельно прямо: "Мы должны защищать клиентов не только от людей, но и от ИИ-агентов - относиться к ним как к пользователям". Однако многие организации продолжают рассматривать И ...>>

Случайная новость из Архива

Где мозгу щекотно 15.11.2016

Очевидно, что щекотка как-то отражается на активности мозга. Действительно, в мозге при этом срабатывают сразу несколько зон, и в первую очередь соматосенсорная кора, воспринимающая прикосновения к телу. Но именно смех и прочие эмоции, сопутствующие щекотке, возникают, как считалось до сих пор, в эмоциональных центрах, в то время как соматосенсорный участок должен просто обрабатывать физические ощущения от прикосновения.

Однако, как показали эксперименты исследователей из Института биологии при Берлинском университете имени Гумбольдта, смех от щекотки действительно может возникать, грубо говоря, только из физических ощущений.

Симпэй Исияма (Shimpei Ishiyama) и Михаэль Брехт (Michael Brecht) щекотали крыс - это может показаться странным, однако сейчас накопилось уже достаточно много свидетельств того, что грызуны способны чувствовать щекотку и получать от нее удовольствие: животные возвращаются в то место, где их щекотали, чтобы снова получить порцию тех же ощущений, в их мозге активируется система подкрепления, отвечающая за чувство удовольствия, и в поведении крыс есть все те же характерные проявления положительных эмоций, которые можно наблюдать у других видов зверей. В эксперименте молодых самцов приучали играть с человеком, который во время игр щекотал им спины и животы, так что в конце концов крысы начали даже гоняться за рукой экспериментатора и подставлять себя по щекотку.

Естественно, игры закончились вживлением в мозг электродов, с помощью которых можно было отслеживать активность нейронов соматосенсорной коры и по желанию стимулировать их электрическими разрядами. И довольно быстро выяснилось, что эти нейроны, которые должны были бы отвечать только на механическое раздражение, продолжали "активничать" и тогда, когда крыса бежала за только что щекотавшей ее рукой, попискивая от предвкушения новой порции щекотки. И еще более удивительным оказалось то, что искусственная стимуляция нервных клеток, реагирующих на физические ощущения от щекотки, вызывает те же эмоционально-поведенческие признаки, что и натуральная щекотка - в частности, крысы особым образом попискивали, издавая звуки, означавшие удовольствие и радость.

Иными словами, на нейробиологическом уровне реакция на щекотку возникала только от "механических" нервных импульсов и без участия обычных эмоциональных нейронных контуров.

Попутно удалось показать, что восприимчивость к щекотке зависит от эмоционального состояния: когда крыс сажали на открытое место и освещали ярким светом - что для них, ночных животных, было достаточно стрессовой ситуацией - на щекотку они отвечали слабее, и активность соответствующих клеток в мозге была подавлена.

Другие интересные новости:

▪ Источники питания Mean Well HRP/N

▪ MAX17701 - синхронный контроллер заряда для суперконденсатора

▪ Красное вино ускоряет сжигание жира в печени

▪ Аккумуляторные батареи Ampd Energy для больших башенных кранов.

▪ Антибиотики мешают детским прививкам

Лента новостей науки и техники, новинок электроники

 

Интересные материалы Бесплатной технической библиотеки:

▪ раздел сайта Регуляторы мощности, термометры, термостабилизаторы. Подборка статей

▪ статья Работник вдохновенный, ремесленник во славу красоты. Крылатое выражение

▪ статья Кто такие ацтеки? Подробный ответ

▪ статья Шип-дерево. Легенды, выращивание, способы применения

▪ статья Схема электрооборудования автомобиля ВАЗ-2115. Энциклопедия радиоэлектроники и электротехники

▪ статья Радиотелефоны и все о них. Энциклопедия радиоэлектроники и электротехники

Оставьте свой комментарий к этой статье:

Имя:


E-mail (не обязательно):


Комментарий:





Главная страница | Библиотека | Статьи | Карта сайта | Отзывы о сайте

www.diagram.com.ua

www.diagram.com.ua
2000-2025