Menu Home

Бесплатная техническая библиотека для любителей и профессионалов Бесплатная техническая библиотека


Переключатели видео- и аудиосигналов на микросхемах. Энциклопедия радиоэлектроники и электротехники

Бесплатная техническая библиотека

Энциклопедия радиоэлектроники и электротехники / Телевидение

Комментарии к статье Комментарии к статье

Возможность подключения нескольких внешних источников сигналов (видеомагнитофона, видеоплейера, видеокамеры, видеопроигрывателя и др.) к современным телевизорам - очень важная их функция. О переключателях видео- и аудиосигналов на транзисторах уже были опубликованы материалы в нашем журнале. Здесь автор предлагает описание конструкций на микросхемах, которые можно использовать как в новых, так и в старых аппаратах.

Переключатель, позволяющий подключать к телевизору внешние источники видео- и аудиосигналов. - обязательная составная часть любого современного телевизора.

В отечественной аппаратуре такие устройства использовали, начиная со второго поколения цветных телевизоров. В приемниках УПИМЦТ. например, на плате блока обработки сигналов (БОС) предусмотрено место для установки модуля УМ 1-5. обеспечивающего сопряжение видеомагнитофона (ВМ) с телевизором. Такой модуль устанавливают на вилке соединителя (если ее нет. то ее устанавливают) с семью контактами. В модуле применены десять транзисторов. Его схема рассмотрена в[1].

Модуль УМ1 -5 работает в двух режимах: воспроизведение программ с видеокассет и запись на них эфирных программ. Он имеет двухпроводный вход-выход и предназначен для эксплуатации с ВМ, также имеющими общие гнезда входа-выхода сигналов. Это обстоятельство затрудняет его применение с новыми моделями ВМ, у которых входы и выходы раздельные. Подключение модупя к видеоплейерам, казалось бы, никаких затруднений не представляет. Но питание модуля и включение его в режим воспроизведения предусмотрено только от ВМ. а современные аппараты не вырабатывают необходимых напряжений, что не позволяет применить УМ 1-5 без доработки для связи с такой видеоаппаратурой.

В телевизорах серии ЗУСЦТ использован тот же модуль УМ 1-5, подвергшийся небольшой модернизации. В нем появился еще один транзистор, соединитель для установки модуля на плату МРК имеет уже десять контактов. Принципиальная схема этого варианта модуля УМ 1 -5 опубликована в [2]. Система его питания и управления режимами работы не изменилась, и недостатки остались те же.

Промышленность выпускала еще один вариант этого модуля под тем же названием. Эта модель отличалась от прежней, предназначенной для телевизоров ЗУСЦТ. тем. что получала питание не от ВМ, а от телевизора. Управление же модулем по-прежнему происходило от ВМ. Такая модель использована в телевизорах четвертого поколения "Рубин - ТЦ4102/4103/4105". Ее схема описана в [3].

В телевизорах SELENA-CTV441, TVT441. ГОРИЗОНТ-СТУ518 применен модуль согласования с внешними устройствами СУС-45. в котором названные ранее недостатки устранены. Модуль содержит пять транзисторов. В телевизоре ГОРИЗОНТ-CTV510 для этой цели применен модуль МУС-501 на пяти транзисторах и двух микросхемах. Принципиальные схемы этих двух модулей рассмотрены в [4].

Аналогичные устройства для телевизоров разных конструкций, начиная с УЛПЦТ. предлагают на радиорынках. Большой интерес к их созданию проявляют и радиолюбители. Многие из них разработали такие устройства в основном на транзисторах и реле. Последний вариант такого переключателя был описан в [5].

В телевизорах пятого и следующих поколений переключатели видео- и аудиосигналов реализуют уже. как правило, в интегральном исполнении. В них применяют специализированные микросхемы, а в ряде случаев (например, в телевизорах на микросхемах TDA8360-TDA8362 и их аналогах) переключатели включены в структуру самих микросхем.

Преимущества использования микросхем очевидны. Они позволяют упростить конструкцию переключателя сигналов, избавиться от механических устройств, улучшить развязку входов и выходов. Сегодня в распоряжении радиолюбителей имеется много микросхем, способных переключать сигналы от любого числа источников. Напряжение питания их различно и обычно находится в пределах от 5 до 15 В. Рассмотрим те из них. которые питаются напряжением 12 В. имеющимся во всех отечественных телевизорах.

В аппаратах ЗУСЦТ простейшим вариантом переключателя видео- и аудиосигналов для двух источников (например, от радиоканала телевизора и от ВМ) может быть устройство, построенное на микросхеме ТЕА1014 фирмы SGS-THOMSON. Его схема показана на рис. 1. Микросхема DA1 имеет три электронных переключателя, коммутирующих видео- (S1) и аудио- (S2) сигналы. Переключатель S3 в положении AV соединяет контакт 7 соединителя ХЗ (А1) - изменение т АПЧиФ - с общим проводом.

Переключатели видео- и аудиосигналов на микросхемах
(нажмите для увеличения)

Видео- и аудиосигналы из модуля радиоканала (МРК) телевизора через контакты 1 и 5 соединителя ХЗ (А1) проходят на выводы 3 и 8 микросхемы DA1. Такие же сигналы от внешнего источника поступают на выводы 14 и 7 микросхемы. С выводов 12 и 6 видео- и аудиосигналы приходят на контакты 4 и 2 соединителя ХЗ (А1), а с них - в МРК. Переключают источники сигналов тумблером SA1. Для включения эфирной программы (TV) нужно подать напряжение +12 В на вывод 10 микросхемы и соединить вывод 11 с общим проводом. Для включения внешнего источника (AV) напряжение 12 В подают на вывод 11 и соединяют вывод 10 с общим проводом.

При переходе к режиму AV нужно обеспечить переключение устройства АПЧиФ строчной развертки в режим работы с широкой полосой захвата. Это достигается соединением контакта 7 соединителя ХЗ (А 1) с общим проводом внутри микросхемы, когда ее вывод 10 подключен к общему проводу при установке тумблера SA1 в положение "AV".

Назначение контактов вилки и розетки соединителя ХЗ (А1) на рис. 1 указано по-разному. На вилке оно соответствует заводской схеме МРК. рассмотренной в [2]. а на розетке - назначению цепей в переключателе.

Плату переключателя подключают к вилке соединителя ХЗ на плате радиоканала МРК, предназначавшейся для модуля УМ 1-5. Если такой вилки нет, то ее следует установить в гнезда, предусмотренные для нее.

При использовании переключателя в МРК телевизора ЗУСЦТ необходимо внести изменения, показанные на рис. 1: удалить участки цепей, изображенные штриховыми линиями, и проложить новые цепи, нарисованные утолщенными линиями.

Суть переделки состоит в следующем. По заводской схеме МРК видеосигнал с вывода 7 субмодуля СМРК-2 проходит параллельно на контакт 1 соединителя ХЗ, в блок УСР через контакт 1 соединителя Х8 (А 1.4) и в модуль цветности через контакт 1 соединителя Х6 (А2). По новой схеме соединение СМРК-2 и соединителя ХЗ сохраняют, а на соединители Х8 (А1.4) и Х6 (А2) сигнал поступает после коммутации в переключателе через контакт 4 соединителя ХЗ.

Аудиосигнал с вывода 23 СМРК-2 приходил на резистор R6. Теперь он должен проходить в переключатель на вывод 5 соединителя ХЗ (А 1), а на резистор R6 нужно подать сигнал с выхода переключателя (вывод 2 соединителя ХЗ).

При использовании модуля УМ 1-5 в режиме воспроизведения сигналов ВМ в телевизор из модуля поступает команда блокировки УПЧИ и УПЧЗ. Изменение цепей передачи видео- и аудиосигналов исключает такую блокировку и позволяет подавать эфирную программу из телевизора в ВМ постоянно. Поэтому контакт 6 соединителя ХЗ (А1) оставляют свободным.

Переключатель для двух источников, внешний вид которого показан на рис. 2, собран на плате из двустороннего фольгированного стеклотекстолита толщиной 1,5 мм. Ее чертеж и размещение деталей на ней представлены на рис. 3. Печатные проводники от контакта 7 соединителя ХЗ (А1) к выводу 5 микросхемы DA1 и or конденсатора С6 к ее выводу 8 проведены на плате со стороны деталей (показаны штриховыми зелеными линиями). Стрелки на соединителе Х21 - это металлические ограничители, устанавливаемые для обеспечения правильного соединения.

Переключатели видео- и аудиосигналов на микросхемах

Резисторы R1 и R2 - чип-компоненты типоразмера 1206 или 0805, остальные - МЛТ с допуском ±10 %. Конденсатор С11 - К50-35 или любой оксидный малогабаритный. С1. C3. Сб. С7. С10 - танталовые любого типа, остальные - К10-17. Соединитель ХЗ (А1) - розетка с десятью контактами, Х21 - розетка с шестью контактами.

На рис. 4 изображена принципиальная схема переключателя сигналов для трех источников: TV, AV1, AV2, где AV1 - ВМ с раздельными входами и выходами, a AV2 - видеоустройство, не обладающее функцией записи сигналов (видеоплейер, игровая приставка, проигрыватель лазерных дисков).

Переключатели видео- и аудиосигналов на микросхемах

Переключатель собран на двух микросхемах ТА7348Р фирмы TOSHIBA, предназначенных для переключения как видео-, так и аудиосигналов. Его схема не имеет принципиальных отличий от показанной на рис. 1, и он требует такие же переделки в МРК телевизора. Изменены лишь цепи управления и формирования сигнала "Изм. т АПЧиФ". Для переключения источников сигналов применены два тумблера: SA1 с положениями "TV" и "AV и SA2 с положениями MAV1" и "AV2". Сигнал "Изм. т АПЧиФ" (он должен быть равен 0 В в режимах AV1, AV2) поступает на контакт 7 соединителя ХЗ (А1) с контакта 1 соединителя Х21.

Переключатель для трех источников, внешний вид которого представлен на рис. 5, собирают на такой же плате, как и описанный выше.

Переключатели видео- и аудиосигналов на микросхемах

Чертеж печатной платы и размещение деталей на ней показаны на рис. 6.

Переключатели видео- и аудиосигналов на микросхемах

Резисторы R1, R3 - чип-компоненты, остальные - МЛТ с допуском ±10%. Конденсатор С12 - оксидный. С2, С7-С10 - танталовые. остальные - К10-17.

В переключателях использованы чип-компоненты, пока что редко применяемые в радиолюбительской практике. Это резисторы, конденсаторы, катушки, диоды и транзисторы в миниатюрном исполнении. Чип-резисторы и конденсаторы выполняют в виде прямоугольных корпусов стандартных размеров. Корпусы имеют цифровые обозначения: 0603, 0805,1206,1210,1808 и др. Первые две цифры указывают длину корпуса в сотых долях дюйма, последние - его ширину. Наиболее распространены и удобны для монтажа корпусы 1206 и 0805. Чип-резистор в корпусе 1206 имеет длину 0,12 дюйма (3,2 мм) и ширину 0,06 дюйма (1,6 мм) при высоте около 1 мм.

Чип-компоненты поступают от производителя упакованными в индивидуальные ячейки бумажной ленты и до монтажа должны храниться в этой упаковке. Более подробные сведения об особенностях их монтажа, проверки и демонтажа можно найти в [6].

Чип-компоненты монтируют на площадках с размерами, изображенными на рис. 7. В дробных размерах числитель означает размер для корпуса 1206, знаменатель - для 0805. Все размеры указаны в миллиметрах.

Переключатели видео- и аудиосигналов на микросхемах

Монтировать чипы рекомендуется в следующем порядке. Монтажные площадки (облуженные) покрывают паяльной пастой, и к ним прикладывают чип. За счет вязкости пасты этот практически невесомый корпус фиксируется в нужном месте в процессе пайки. Затем чип размещают более точно и фиксируют на время пайки узкой отверткой, деревянной палочкой. Интересно, что чип-резистор, в отличие от других чип-деталей, притягивается к металлической отвертке, которая обычно бывает намагничена.

Торцы корпуса чипа металлизированы никелем и сверху оловом (или припоем). Металлизация захватывает узкие полоски на верхней и нижней частях корпуса у торцов. Паяют чип. используя припой ПОС-61. Мощность паяльника с острозаточенным жалом должна быть не более 30 Вт. Ввиду малого расстояния между монтажными площадками и близости их к проходящим рядом печатным линиям возможно появление нежелательных перемычек. Их отсутствие проверяют омметром. При работе с чипами рекомендуется пользоваться лупой.

Следует иметь в виду характерную особенность чип-компонентов. При монтаже из-за колебания воздуха они могут в любой момент "улететь". Поэтому нужно соблюдать особую осторожность при извлечении их из упаковки, установке на место, в начальный момент пайки и т. д.

ри желании иметь переключатель на четыре или пять видеовходов следует использовать и соответствующие микросхемы: например. BA7644AN. ВА7649А фирмы ROHM могут переключать четыре входа, а ВА7649А той же фирмы - пять. Для переключения аудиовходов потребуются две микросхемы ТА7348Р, включенные последовательно. К входам одной из них подключают три источника сигналов, а к входам другой - выход первой микросхемы и остальные источники. Управление их переключением, естественно, усложнится, однако схему нетрудно выполнить с учетом вариантов, рассмотренных на рис. 1 и 4 в первой части статьи.

Внешнее обрамление (навесные детали) микросхем и способ формирования сигнала "Изм. τ АПЧиФ" могут быть аналогичными варианту для трех источников (см. рис. 4) с поправкой на другую цоколевку микросхем. Их структурные схемы и цоколевки имеются в [7].

Переключатели, схемы которых представлены на рис. 1 и 4. можно применить в телевизорах УПИМЦТ. В них (как уже было сказано) устанавливают семиконтактный вариант модуля УМ 1-5. Для подключения рассмотренных переключателей розетка ХЗ (А1) в них должна иметь также семь контактов, что требует внесения изменений в печатные платы. Они изображены на рис. 8,а - для первого варианта переключателя и на рис. 8,б - для второго. Цепи, не подвергающиеся изменению, изображены красным цветом, новые - зеленым.

Переключатели видео- и аудиосигналов на микросхемах

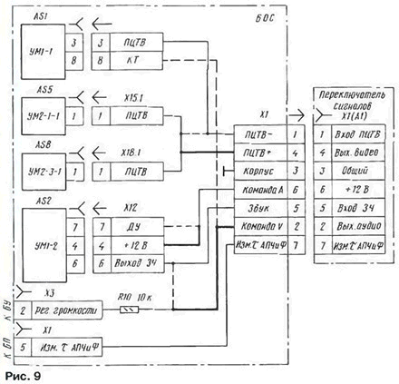
Изменения на плате БОС, необходимые при использовании любого варианта переключателя, показаны на рис. 9.

Переключатели видео- и аудиосигналов на микросхемах

Все сказанное выше относится к телевизорам с кнопочными устройствами выбора программ УСУ-1-15 и СВП (КВП. МВП) любого типа. Переключение режимов работы и источников сигналов в них обеспечивается тумблерами, устанавливаемыми на передней панели телевизора или в любом другом удобном месте.

Если в телевизоре установлен синтезатор напряжения МСН-405 (или МСН-501), то управлять переключателем сигналов можно через него.

Управление переключателем по схеме на рис. 1 обеспечивается сигналом AV/TV, формируемым на выводе 12 соединителя Х2 (А1) синтезатора МСН-405 (или на выводе 8 соединителя Х7 (А1) в МСН-501). В МСН-405 он возникает при нажатии кнопок VCR на ПДУ или клавиатуре на передней панели телевизора. В МСН-501 нажимают на кнопки AV или TV на ПДУ.

Для реализации такого способа управления в переключатель по схеме на рис. 1 нужно внести изменения согласно рис. 10.

Переключатели видео- и аудиосигналов на микросхемах

Тумблер SA1, резисторы R4 и R5 не нужны. На плату дополнительно устанавливают в свободном месте транзистор VT1 и резисторы R21. R22. В случае применения синтезатора МСН-405 потребуется также добиться требуемого уровня напряжения на выводе 32 микроконтроллера, руководствуясь указаниями в разделе и8АА1293Аи справочника [8].

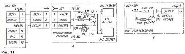
Если же используют переключатель сигналов трех источников, то для управления им требуются два сигнала: AV/TV и AV1/AV2. В МСН-501 первый из них, как уже было сказано, снимают с вывода 8 соединителя Х7 (А1) синтезатора, а в качестве второго - подойдет сигнал переключения стандартов вещания PAL или SECAM - выводы 12 или 15 соединителя Х10 (А1 синтезатора. Этот сигнал при установке блока МСН-501 в телевизор ЗУСЦТ не нужен, и выводы остаются свободными. Сигнал AV/TV формируется нажатием кнопок AV и TV на ПДУ. Сигнал AV1/AV2 возникает при нажатии на кнопку SS на клавиатуре синтезатора. Схема соединения МСН с переключателем сигналов показана на рис. 11,а. Тумблеры SA1, SA2, резисторы R5 и R6 и диод VD1 не нужны.

Переключатели видео- и аудиосигналов на микросхемах
(нажмите для увеличения)

Отметим, что имеется несколько модификаций такого синтезатора, выпускаемых различными предприятиями. Они имеют некоторые отличия. Так, в синтезаторе МСН-503 (аналог МСН-501) и некоторых моделях МСН-501 кнопка SS (переключение стандартов) заменена кнопкой CL (очистка памяти). В этом случае для формирования сигнала AV1/AV2 придется установить тумблер.

В отдельных моделях МСН-501 сигналы PAL, SECAM с выводов микроконтроллера не приходят на соединитель X10 (А1). Для устранения этого недостатка нужно соединить вывод 38 микроконтроллера DD2 с выводом 15 соединителя X10 (А 1) через цепь, изображенную на рис. 11, б.

Что касается синтезатора МСН-405, то примененный в нем микроконтроллер SAA1293A имеет вывод 25, на котором формируется сигнал выбора стандарта цветности. Однако задействовать его невозможно, так как на ПДУ и клавиатуре синтезатора нет кнопок управления этой функцией. Приходится для переключения AV1/AV2 использовать внешний тумблер.

Все указанные в статье микросхемы имеются в каталогах торговых фирм по цене от 0.4 до 1 долл.

Переключатель, собранный из проверенных деталей, наладки не требует и после проверки на замыкание в цепях питания +12 В его можно устанавливать в телевизор. Работоспособность проверяют переключением тумблеров (кнопок ПДУ и клавиатуры).

Следует также убедиться, что в режиме TV на контакт 7 соединителя ХЗ (А1) поступает напряжение 5... 11 В, а о режиме AV оно равно нулю. Потребляемый ток по цепи 12В - около 35 мА у переключателя по схеме на рис. 1 и около 27 мА - у переключателя по схеме на рис. 4.

Литература

  1. Ельяшкевич С. А., Кишиневский С. Э. Блоки и модули цветных унифицированных телевизоров - М.: Радио и связь. 1982.
  2. Ельяшкевич С. А. Цветные стационарные телевизоры и их ремонт, изд. 2 - М.: Радио и связь. 1990.
  3. Соколов В. С, Пичугин Ю. М. Ремонт цветных стационарных телевизоров 4УСЦТ. - М.: Радио и связь. 1994.
  4. Лукин Н., Корякин-Черняк С, Янковский С. Практическая схемотехника современных телевизоров. Серия "Ремонт", вып. 8. - М.: Солон & Наука и техника, 1996.
  5. Нечаев И. Автомат-переключатель аудио- и видеовходов. - Радио. 1997. № 3. с. 10, 11.
  6. Рюмик С. Поверхностный монтаж: компоненты, технология, ремонт. - Радиолюбитель. 1998. № 6. с. 12. 13; № 7. с. 12. 13: № 8. с. 13. 14.
  7. Микросхемы для современных импортных телевизоров. Энциклопедия ремонта, вып. 1. - М.: ДОДЭКА. 1997.
  8. Интегральные микросхемы. Микросхемы для телевидения и видеотехники, вып 2. - М.: ДОДЭКА. 1995.

Автор: В.Брылов, г.Москва

Смотрите другие статьи раздела Телевидение.

Читайте и пишите полезные комментарии к этой статье.

<< Назад

Последние новости науки и техники, новинки электроники:

Власть является ключевым фактором счастья в отношениях 11.03.2026

Исследования семейных и романтических отношений показывают, что длительное счастье пары зависит не только от привычных факторов, таких как доверие, уважение и преданность, но и от более тонких психологических аспектов. Современные ученые ищут закономерности, которые отличают действительно счастливые пары от остальных, чтобы понять, какие механизмы поддерживают гармонию в отношениях. Группа исследователей из Университета Мартина Лютера в Галле-Виттенберге и Бамбергского университета провела опрос среди 181 пары, которые состояли в совместных отношениях более восьми лет и прожили вместе хотя бы месяц. Участники заполняли анкету, описывая различные аспекты своих отношений, включая распределение обязанностей, эмоциональную поддержку и степень вовлеченности в совместные решения. Анализ данных показал интересный паттерн: пары, где оба партнера ощущали высокий уровень личной власти, оказывались наиболее счастливыми и удовлетворенными. В данном контексте под властью понимается способност ...>>

Защищенная колонка-повербанк Anker Soundcore Boom Go 3i 11.03.2026

Компания Anker представила новую модель линейки Soundcore - колонку Soundcore Boom Go 3i, ориентированную на активное использование на улице. Новинка отличается высокой степенью защиты: корпус соответствует стандарту IP68, что обеспечивает водо- и пыленепроницаемость, а ударопрочный дизайн выдерживает падение с высоты до одного метра. За качество звука отвечает 15-ваттный драйвер, обеспечивающий пик громкости до 92 дБ, а технология BassUp 2.0 усиливает низкие частоты, делая звучание более насыщенным. Колонка обладает автономностью до 24 часов, а LED-индикатор позволяет контролировать уровень заряда батареи. Кроме того, Soundcore Boom Go 3i может выполнять функцию павербанка: согласно внутренним тестам, устройство способно зарядить iPhone 17 с нуля до 40% за один час, что делает его полезным аксессуаром в походах и поездках. Среди функциональных особенностей модели стоит выделить технологию Auracast, которая улучшает подключение и позволяет создавать стереопару из двух колонок ...>>

Раннее воздержание от алкоголя перестраивает мозг и иммунитет 10.03.2026

Алкогольная зависимость - хроническое расстройство с компульсивным употреблением спиртного, которое влияет не только на поведение, но и на функционирование мозга и иммунной системы. Недавние исследования показали, что даже на ранних этапах воздержания организм начинает перестраиваться, открывая новые возможности для терапии зависимости. Ученые сосредоточились на пациентах, находящихся в первые недели абстиненции, и зафиксировали значительные изменения в мозговой активности. С помощью функциональной магнитно-резонансной томографии они выявили перестройку сетей нейронных связей, отвечающих за контроль импульсов и принятие решений. Эти изменения могут быть ключевыми для восстановления самоконтроля и снижения риска рецидива. Одновременно с нейронной перестройкой исследователи наблюдали колебания иммунной системы. В крови повышался уровень цитокинов - сигнальных белков, регулирующих воспалительные процессы. Эти данные свидетельствуют о существовании нейроиммунного взаимодействия, при ...>>

Случайная новость из Архива

Обнаружена новая стабильная форма плутония 31.10.2019

Группа исследователей из института HZDR (Helmholtz Zentrum Dresden-Rossendorf), Германия, совершенно случайно обнаружила совершенно новую стабильную форму плутония. Этот нестабильный и радиоактивный элемент нуждается в особых мерах при транспортировке, хранении и утилизации, а находка немецких ученых может стать новым способом решения упомянутых выше задач.

Нестабильность плутония делает его невероятно сильным источником энергии, с одной стороны, и, с другой стороны, потенциально разрушительной силой, способной вызвать экологическую катастрофу. Некоторые из изотопов плутония могут существовать в течение десятков миллионов лет и легко представить себе, к чему приведет заражение грунтовых вод, к примеру, такими изотопами. Поэтому ученые постоянно изыскивают новые способы, которые позволят более безопасно хранить, перевозить и утилизировать плутоний и его соединения. И как раз во время подобных исследований учеными из HZDR была случайно найдена новая стабильная форма.

Одна из наиболее безопасных форм плутония является диоксид плутония, который представляет собой керамический материал, не растворяющийся в воде и имеющий достаточно высокую температуру плавления. Наночастицы из диоксида плутония могут быть получены разными путями, используя различные исходные материалы, называемые прекурсорами (precursors), содержащие изотопы плутония. Немецкие ученые в своих экспериментах использовали прекурсоры под названием Plutonium (VI) (Pu (VI)), растворенные в воде и заметили весьма странные химические реакции.

Pu (VI) во время его превращения в диоксид плутония, проходил через переходную фазу, в которой этот материал становился твердым и стабильным. В обычных условиях пентавалентный плутоний Pu (V) не является ни твердым, ни стабильным материалом, поэтому то, что ученые успели заметить, было списано ими на неправильный ход химических реакций синтеза диоксида плутония.

Для того, чтобы подтвердить некоторые предположения, исследователи использовали рентгеновский спектрометр Rossendorf Beamline (ROBL). Этот прибор позволяет измерять энергию радиоактивных элементов, облучая их рентгеновским излучением и измеряя интенсивность их флюоресценции. Эти исследования подтвердили факт существования новой фазы Pu (V), а отобранные образцы были подвергнуты повторной проверке через три месяца, что позволило подтвердить стабильность новой формы плутония в течение длительного времени.

Другие интересные новости:

▪ Блоки питания Corsair CV Series

▪ Инновационный элемент питания прослужит десятки лет

▪ AD8370 - усилитель с цифровым управлением коэффициентом усиления

▪ Звуковые карты Asus Essence STX II и Asus Essence STX II 7.1

▪ Природный холодильник

Лента новостей науки и техники, новинок электроники

 

Интересные материалы Бесплатной технической библиотеки:

▪ раздел сайта Электричество для начинающих. Подборка статей

▪ статья Одна, но пламенная страсть. Крылатое выражение

▪ статья У каких животных некрофилия является распространенной стратегией размножения? Подробный ответ

▪ статья Автомобильные аккумуляторы. Справочник

▪ статья Ремонт прерывателя. Энциклопедия радиоэлектроники и электротехники

▪ статья Телекинез. Секрет фокуса

Оставьте свой комментарий к этой статье:

Имя:


E-mail (не обязательно):


Комментарий:





Главная страница | Библиотека | Статьи | Карта сайта | Отзывы о сайте

www.diagram.com.ua

www.diagram.com.ua
2000-2026