Бесплатная техническая библиотека
Магистральный усилитель для СТВ-приемника. Энциклопедия радиоэлектроники и электротехники

Энциклопедия радиоэлектроники и электротехники / Телевидение
Комментарии к статье
В комплект для приема спутниковых ТВ-программ входят параболическая антенна, которая устанавливается таким образом, чтобы попадала в зону прямой видимости со спутника, понижающий конвертор и тюнер (внутренний блок). Между собой они соединяются коаксиальным кабелем, длина которого обычно не должна превышать 15...20 м, но на практике бывает и больше. В результате сигнал, приходящий на тюнер, существенно ослабляется, и качество принимаемого изображения ухудшается.
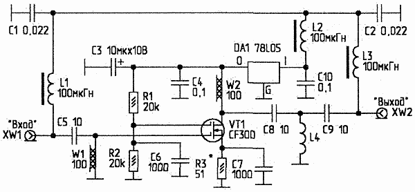
Для компенсации затухания в кабеле предлагаю магистральный усилитель (рис.1). Он питается от инжектируемого в кабель напряжения и включается посередине кабеля. Усилитель собран по однокаскадной схеме, его усиление - не менее 10 дБ. Он построен на двухзатворном малошумящем полевом СВЧ-транзисторе. Напряжение питания стабилизируется маломощной ИМС DA1. ФНЧ L1-С1, L3-C2 предотвращают самовозбуждение усилителя и обеспечивают прохождение на конвертор напряжение питания.

Рис.1. Принципиальная схема магистрального усилителя
Усилитель собирают на печатной плате (рис.2) из фольгированного стеклотекстолита толщиной 1,5 мм. Все детали - SMD или обычные, с выводами минимальной длины (для уменьшения паразитных индуктивностей выводов). XW1, XW2 - разъемы типа "F". L4 имеет 2 витка провода ПЭВТЛ-2 d0,36 мм, намотанных на оправке d2 мм, которую после намотки удаляют.

Рис.2. Печатная плата
Усилитель помещают в латунный или литой дюралюминиевый корпус. Корпус после настройки герметизируют. VT1 можно заменить на отечественный 3П351А-2 (параметры усилителя при этом должны улучшиться, но такой транзистор найти весьма трудно). При наладке, возможно, придется подобрать резистор R3 по максимальному коэффициенту усиления устройства в целом.
Автор: В.Федоров, г.Липецк; Публикация: radioradar.net
Смотрите другие статьи раздела Телевидение.
Читайте и пишите полезные комментарии к этой статье.
<< Назад
Последние новости науки и техники, новинки электроники:
Оптимальная продолжительность сна
12.11.2025
Сон играет ключевую роль в поддержании здоровья, когнитивных функций и общего самочувствия. Несмотря на широко распространенный стереотип о восьмичасовом сне, последние исследования показывают, что оптимальная продолжительность сна для большинства здоровых взрослых ближе к семи часам.
Эволюционный биолог из Гарварда, Дэниел Э. Либерман, утверждает, что традиционная норма восьми часов сна - это скорее культурное наследие индустриальной эпохи, чем биологическая необходимость. По его словам, полевые исследования, проведенные в сообществах, не использующих электричество, показывают, что средняя продолжительность сна составляет 6-7 часов, что значительно отличается от общепринятого стандарта.
Современные эпидемиологические данные подтверждают этот взгляд. Исследования выявили так называемую "U-образную кривую" зависимости между продолжительностью сна и рисками для здоровья. Минимальные показатели заболеваемости и смертности наблюдаются именно у людей, спящих около семи часов в сутки. ...>>
Дефицит кислорода усиливает выброс закиси азота
12.11.2025
Парниковые газы играют ключевую роль в изменении климата, а закись азота (N2O) - один из наиболее опасных среди них. Этот газ не только втрое сильнее углекислого газа в удержании тепла, но и разрушает озоновый слой. Недавнее исследование американских ученых показало, что микробы в зонах с низким содержанием кислорода активно производят N2O, усиливая глобальные климатические риски.
Команда из Университета Пенсильвании изучала прибрежные воды у Сан-Диего и провела наблюдения на глубинах от 40 до 120 метров в Восточной тропической северной части Тихого океана - одной из крупнейших зон дефицита кислорода. Исследователи сосредоточились на том, как морские микроорганизмы превращают нитраты в закись азота.
В ходе работы выяснилось, что существует два пути образования N2O. Один путь начинается с нитрата, другой - с нитрита. На первый взгляд более короткий путь должен быть эффективнее, однако микробы, использующие нитрат, продуцируют больше газа, поскольку этот "сырьевой" источник более д ...>>
Омега-3 помогают молодым кораллам выживать
11.11.2025
Сохранение коралловых рифов становится все более актуальной задачей в условиях глобального изменения климата. Молодые кораллы особенно уязвимы на ранних стадиях развития, когда стрессовые условия и нехватка питательных веществ могут привести к высокой смертности. Недавнее исследование ученых из Технологического университета Сиднея показывает, что специальные пищевые добавки способны существенно повысить выживаемость личинок кораллов.
В ходе работы исследователи разработали особый состав "детского питания" для коралловых личинок. В него вошли масла, богатые омега-3 жирными кислотами, а также важные стерины, необходимые для формирования клеточных мембран. Личинки, получавшие эти добавки, развивались быстрее, становились крепче и демонстрировали более высокую устойчивость к стрессовым факторам.
Особое внимание ученые уделили липидам. Анализ показал, что личинки активно усваивают эти вещества, что напрямую влияет на их жизнеспособность. Стерины, содержащиеся в корме, повышают устойчи ...>>
Случайная новость из Архива Ноутбук Acer Predator Helios 18P AI
04.09.2025
Компания Acer представила Predator Helios 18P AI - флагманскую модель, сочетающую вычислительные ресурсы корпоративного уровня и игровые технологии последнего поколения.
Главная особенность устройства кроется в его гибридной направленности. Модель Predator Helios 18P AI (PH18P-73) может использоваться как креативными специалистами, так и геймерами, которым важна высокая скорость отклика и графическая точность. В максимальной комплектации ноутбук оборудован процессором Intel Core Ultra 9 285HX с поддержкой Intel vPro. Это решение не только обеспечивает высокую производительность, но и дает корпоративный уровень защиты данных, что делает модель подходящей для задач бизнеса. Объем оперативной памяти достигает внушительных 192 ГБ ECC, что по сути выводит ее на уровень серверных решений.
Не менее впечатляющей выглядит графическая часть. Ноутбук оснащается видеокартой NVIDIA GeForce RTX 5090 Laptop GPU, которая способна развивать производительность до 1824 AI TOPS и поддерживает современные технологии рендеринга, включая DLSS 4. Хранилище данных можно расширить до 6 ТБ, используя SSD PCIe Gen 5, что открывает широкие возможности для хранения массивов мультимедиа и сложных проектов.
Экран устройства заслуживает отдельного внимания. 18-дюймовая Mini LED-панель формата 16:10 имеет разрешение 4K WQUXGA и частоту обновления 120 Гц. Яркость HDR достигает 1000 нит, цветовой охват полностью покрывает пространство DCI-P3, а время отклика составляет всего 3 миллисекунды. Такой дисплей одинаково хорошо подходит как для игр с насыщенной графикой, так и для профессиональной работы с цветом.
Сложное "железо" требует эффективного охлаждения, и здесь Acer использовала комбинацию передовых технологий. Система основана на двух металлических вентиляторах AeroBlade шестого поколения с ультратонкими лопастями толщиной 0,05 мм, тепловых трубках векторного типа и термопасте на основе жидкого металла. Такой подход позволяет поддерживать стабильную работу при максимальных нагрузках.
Подключение периферии также не вызывает затруднений. В корпусе предусмотрены два разъема Thunderbolt 5 Type-C, три порта USB Type-A, выход HDMI 2.1 и картридер SD. За сетевое взаимодействие отвечает контроллер Killer Ethernet E5000B, а беспроводные стандарты Wi-Fi 7 и Bluetooth 5.4 гарантируют высокую скорость связи. Аудиосистема DTS:X Ultra с шестью динамиками обеспечивает объемное звучание, а видеосвязь реализована через веб-камеру Full HD с ИК-датчиком.
Несмотря на внушительное "начинка", ноутбук сохранил относительно компактные размеры: его корпус имеет габариты 400,96 х 307,9 х 17,3-29,55 мм при весе 3,5 кг. Управление режимами работы и настройкой параметров осуществляется через фирменное приложение PredatorSense v5.0, которое позволяет детально регулировать производительность системы.
Стоимость Predator Helios 18P AI на европейском рынке составляет 4999 евро.
|
Другие интересные новости:
▪ Ген суточного цикла влияет на продолжительность жизни
▪ Портативная колонка Sony Extra Bass SRS-XB33
▪ Однокристальный контроллер SM2320 для портативных внешних SSD
▪ Кристалл в 1,6 раза прочнее и жестче алмаза
▪ Электропроводные бактерии
Лента новостей науки и техники, новинок электроники
Интересные материалы Бесплатной технической библиотеки:
▪ раздел сайта Индикаторы, датчики, детекторы. Подборка статей
▪ статья Родимые пятна капитализма. Крылатое выражение
▪ статья Что такое огонь? Подробный ответ
▪ статья Католет стартует в завтра. Личный транспорт
▪ статья Вечные чернила. Простые рецепты и советы
▪ статья Приемник персонального радиовызова для диапазона 148...174 МГц. Энциклопедия радиоэлектроники и электротехники
Оставьте свой комментарий к этой статье:
Главная страница | Библиотека | Статьи | Карта сайта | Отзывы о сайте

www.diagram.com.ua
2000-2025