Menu Home

Бесплатная техническая библиотека для любителей и профессионалов Бесплатная техническая библиотека


Коротковолновый трансивер УРАЛ-84. Энциклопедия радиоэлектроники и электротехники

Бесплатная техническая библиотека

Энциклопедия радиоэлектроники и электротехники / Гражданская радиосвязь

Комментарии к статье Комментарии к статье

Трансивер предназначен для проведения радиолюбительских радиосвязей в диапазоне коротких волн 1,8...29 МГц. Вид работы - телефон (SSB) и телеграф (CW). Трансивер полностью выполнен на полупроводниковых приборах и микросхемах, имеет встроенную цифровую шкалу (по схеме радиолюбителя В. Криницкого (RA9CJL), опубликованную в настоящем сборнике), встроенный блок питания. В трансивере предусмотрено подключение внешнего ГПД, что позволяет проводить радиосвязи на разнесенных частотах.

При разработке трансивера основное внимание уделялось получению высоких динамических параметров приемного тракта и хороших эргонометрических характеристик трансивера в целом.

Отсутствие усилителя ВЧ на входе приемника, применение высокоуровневого балансного смесителя, малошумящего и линейного тракта ПЧ позволило осуществить первую задачу. Вторая задача была решена применением неперестраиваемых полосовых фильтров на входе приемника, электронной коммутацией диапазонов и режима "передачи-приема".

Коротковолновый трансивер УРАЛ-84
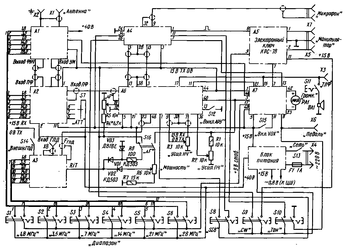
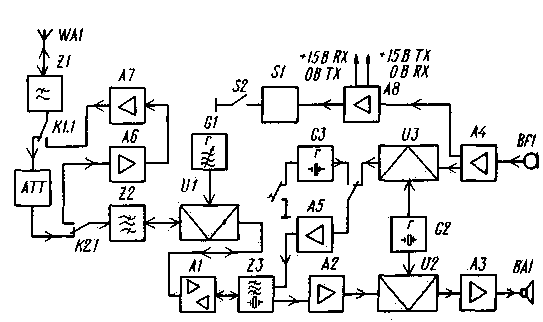
Рис. 1. Функциональная схема трансивера "Урал-84"

Трансивер (рис. 1) выполнен по схеме с одним преобразованием частоты. Выбор промежуточной частоты 9100 кГц определяется наличием самодельного кварцевого фильтра, изготовленного по методике, изложенной в журнале "Радио" № 1, 2 за 1982 г. (возможно применение промышленного кварцевого фильтра типа ФП2П-410-8,815 с незначительными изменениями в принципиальной схеме). Общими узлами трансивера в режиме приема-передачи являются: фильтры нижних частот Z1, полосовые фильтры Z2, смеситель U1, обратимый согласующий каскад А1, генератор плавного диапазона G1, кварцевый фильтр Z3.

Основные технические данные трансивера
Чувствительность приемного тракта при соотношении сигнал/шум 10 дБ, мкВ, не хуже 0,5
Динамический диапазон по "забитию", дБ 120
Двухсигнальная избирательность (при расстройке сигналов 20 кГц), дБ 96
Полоса пропускания переключаемая: в режиме SSB, кГц 2,4
в режиме CW, кГц 0,8
Диапазон регулирования АРУ (при изменении выходного напряжения не более чем на 6 дБ), дБ, не менее 100
Уход частоты генератора плавного диапазона на наивысшей частоте за 20 мин после получасового "прогрева", Гц, не более 100
Выходная мощность передающего тракта, измеренная на эквиваленте антенны (R=75 Ом), Вт, не менее 25
Подавление несущей и нерабочей боковой полосы частот, дБ, не менее 60
Импеданс антенного входа, Ом 75

Подключение узлов на прием или передачу производится контактами реле K1, К2, а также коммутатором S1. На схеме узлы показаны в режиме приема. Сигнал с антенного входа через фильтры нижних частот Z1, ступенчатый аттенюатор АТТ и трехконтурные полосовые фильтры Z2 поступает на балансный смеситель U1. На этот же смеситель подается напряжение от плавного гетеродина G1. Преобразованный сигнал проходит через согласующий каскад обратимого типа Л/и далее на кварцевый фильтр Z3, усиливается узлом А2 и поступает на смеситель U2, где смешивается с напряжением с опорного кварцевого генератора G2. Низкочастотный сигнал с выхода смесителя поступает на усилитель низкой частоты A3 и с него на громкоговоритель ВА1.

При переходе с приема на передачу происходит соответствующее переключение функциональных узлов. Это делается либо вручную, либо системой голосового управления. Сигнал с микрофона BFJ, усиленный узлом А4, поступает на устройство голосового управления А8, которое в свою очередь управляет коммутатором S1, а также на смеситель U3, на котором присутствует напряжение с опорного генератора. Сформированный сигнал DSB усиливается узлом А5, проходит кварцевый фильтр Z3, где выделяется напряжение промежуточной частоты 9100 кГц с верхней боковой полосой частот и поступает через узел А1 на смеситель U1, на другой вход которого подано напряжение плавного гетеродина. Выделенный полосовыми фильтрами Z2 сигнал рабочей частоты с выхода смесителя U2 поступает на усилитель А6 и далее, усиливаясь по мощности в узле А7, через ФНЧ Z1 поступает на антенну WA1.

Формирование телеграфного сигнала в трансивере производится с помощью манипулируемого генератора G3, который подключается к узлу А5, вместо устройства формирования однополосного сигнала.

Трансивер выполнен по блочному принципу. На схеме нумерация элементов в каждом блоке своя.

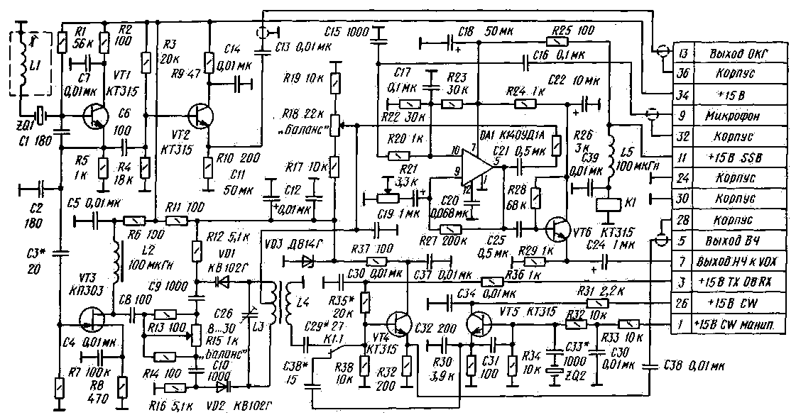
На основной плате (узел А6, рис. 2) расположены обратимый смеситель, согласующий каскад, тракт УПЧ приемника, кварцевые фильтры, смесительный детектор, усилитель низкой частоты приемника, схема АРУ, широкополосный усилитель напряжения плавного гетеродина.

Рис.2,a. Принципиальная схема основной платы трансивера (узел А6)

Рис.2,б. Принципиальная схема основной платы трансивера (узел А6)

Высокоуровневый пассивный смеситель VD1 - VD8, Т2, Т3 собран по двойной балансной схеме. Его особенность - применение широкополосных трансформаторов с объемным короткозамкнутым витком (конструкция описана в журнале "Радио" № 1 за 1983 г.). В случае использования в смесителе современных высокочастотных диодов типа КД514А (а еще лучше диодов с барьером Шотки типа АА112) потери сигнала в нем составят около 4...5 дБ. Сигнал при приеме поступает на первичную обмотку L3 трансформатора Т2. Преобразованный сигнал снимается со средней точки обмотки L4. Напряжение плавного гетеродина усиливается широкополосным усилителем на транзисторе VT1 и подается на входную обмотку L7 трансформатора Т3. На мощном полевом транзисторе VT2 собран каскад согласования смесителя с кварцевым фильтром. Транзистор типа КП905 выбран благодаря его хорошим шумовым параметрам и линейности. При приеме каскад работает усилителем с общим затвором и коэффициентом усиления около 12 дБ, входное сопротивление его имеет активный характер и постоянно в широком диапазоне частот. Согласование с восьмикристальным SSB кварцевым фильтром на частоту 9100 кГц обеспечивается с помощью автотрансформатора L12.

Схемы кварцевых фильтров ZQ1 и ZQ2 изображены на рис. 3 и 4.

Коротковолновый трансивер УРАЛ-84
Рис. 3. Принципиальная схема кварцевого фильтра ZQ1

Коротковолновый трансивер УРАЛ-84
Рис. 4. Принципиальная схема кварцевого фильтра ZQ2

Фильтр ZQ1 имеет следующие параметры:

Полоса пропускания, кГц (на уровне -3 дБ) 2,3
Коэффициент прямоугольности 1,8
Неравномерность в полосе пропускания, дБ, не более 1,5
Входное сопротивление, Ом 270
Выходное сопротивление. Ом 120

Если в фильтре ZQ1 будут использованы кварцевые резонаторы от радиостанции "Гранит" с частотами 9000...9150 кГц, то значения емкостей в схеме фильтра могут остаться без изменений.

В фильтре ZQ2 полоса пропускания может изменяться. В режиме SSB она равна 2,3 кГц, а в режиме CW, когда параллельно кварцевым резонаторам включены конденсаторы величиной 68 пФ, полоса пропускания сужается до 800 Гц.

При передаче каскад на транзисторе VT2 является истоковым повторителем. Реверсирование режима работы этого каскада осуществляется коммутирующими напряжениями с шин управления. При приеме +15 В в шине Rх 0 В в шине Тх. При передаче 0 В в шине Rx, +15 В в шине Тх. Диодные ключи VD9 и VD10 подключают "горячий" конец автотрансформатора L12 к стоку транзистора при приеме или к его затвору при переходе на передачу. Заземление "холодного" конца автотрансформатора L12 по высокой частоте при приеме происходит через диодный ключ VD10 и конденсатор С5, при передаче - через диодный ключ VD9 и конденсатор С4.

На транзисторах VT5, VT6 собран первый каскад УПЧ, имеющий усиление около 20 дБ. П-контур L17C29C30 позволяет согласовать транзисторы каскодной схемы и осуществить дополнительную фильтрацию полезного сигнала. Нагрузкой каскада является контур L16C26. Согласование со вторым кварцевым фильтром ZQ2 осуществляется с помощью катушки связи Lсв. Этот фильтр собран по лестничной схеме на 4 кварцах, имеет полосу пропускания по уровню 3 дБ, равную 2,6 кГц. В режиме приема телеграфных сигналов он переключается с помощью реле типа РЭС-49 на узкую полосу около 0,7 кГц путем подключения параллельно кварцам фильтра емкостей, равных примерно 68 пФ. Применение двух кварцевых фильтров ZQ1 с полосой пропускания 2,4 кГц и ZQ2 значительно улучшило подавление сигналов вне полосы "прозрачности" фильтров, которое достигло 100 дБ. Основное усиление сигнала производится каскадом на микросхеме DA1 К224УР4 (К2УС248 - старое обозначение). Смесительный детектор на транзисторах VT8, VT9 особенностей не имеет. Между детектором и входом предварительного усилителя низкой частоты на микросхеме DA2 включен ФНЧ ZQ3 типа Д3,4 (от радиостанций "Гранит"), который улучшает шумовые и избирательные параметры приемного тракта. Выходной каскад УНЧ собран по обычной схеме на транзисторах VT15, VT16, VT17. На транзисторе VT14 собран электронный ключ, с помощью которого шунтируется вход УНЧ в режиме передачи. В телеграфном режиме этот ключ закрыт, что позволяет прослушивать сигнал самоконтроля при передаче.

Схема АРУ состоит из предварительного усилителя АРУ DA3, VT13, эмиттерного повторителя VT12, детекторов АРУ VD18, VD19 и VD24. На транзисторе VT11 и диоде VD17 собрана вспомогательная цепь "быстрого разряда" с временем разряда около 0,2 с.

При приеме полезного сигнала время разряда АРУ определяется основной цепочкой R36C53. При исчезновении сигнала происходит быстрый разряд С53 через диод VD17 и транзистор VT11. С истокового повторителя VT10 положительное напряжение АРУ, которое увеличивается с ростом силы сигнала, подается на регулирующие транзисторы VT4 и VT7, управляющие усилением каскадов ПЧ. Для осуществления задержки АРУ исток транзистора VT6 подключается к источнику опорного напряжения, собранного на стабилитроне VD11 и резисторе R25. В режиме передачи на транзисторы VT4, VT7 подается коммутирующее напряжение +15 ВТХ-О BRX, которое практически закрывает тракт ПЧ приемника. На транзисторе VT3 собран регулируемый усилитель, работающий в режиме передачи SSB или CW сигнала. Регулировка усиления каскада производится изменением напряжения на втором затворе VT3 и достигает глубины более -40 дБ. При желании на второй затвор этого транзистора можно завести напряжение ALC.

При передаче манипулируемый телеграфный сигнал усиливается транзистором VT3, проходит через контуры L15C22 и паразитные емкости закрытого тракта ПЧ приемника, смешивается в детекторе с сигналом опорного гетеродина и поступает в УНЧ для самоконтроля. С этого же контура сигнал SSB или CW проходит через кварцевый фильтр ZQ1, поступает на согласующий каскад VT2, работающий в данном случае истоковым повторителем, и далее в смеситель VD1 - VD8, осуществляющий перенос сигнала на рабочую частоту. Преобразованный сигнал снимается с обмотки L3 на полосовой фильтр узла А2.

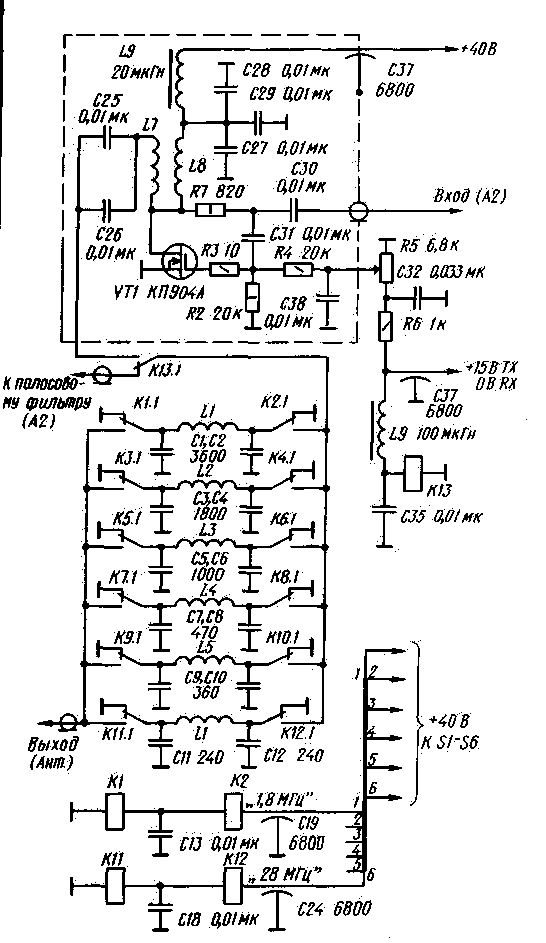
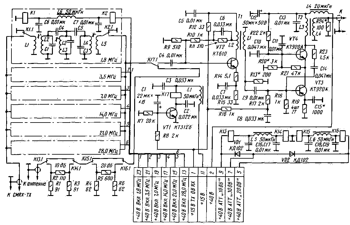
В узле А2 (рис. 5) расположены: ступенчатый аттенюатор приемника, коммутирующее реле К17, полосовые диапазонные фильтры, предварительные каскады передатчика. В режиме приема сигнал из узла А1 поступает на аттенюатор, выполненный на двух резисторных, П-звеньях: R1R2R3, обеспечивающих затухание 10 дБ и R4R5R6 - 20 дБ. Управление аттенюатором производится переключателем на передней панели приемника S7 "АТТ", имеющего положения "0", "10 дБ", "20 дБ", "30 дБ". П-звенья коммутируются контактами реле К13 - К.16 типа РЭС-49 (РЭС-79). После аттенюатора сигнал проходит через нормально замкнутые контакты реле К17 (РЭС-55А) и поступает на трехконтурные полосовые диапазонные фильтры, выбор которых производится шестью кнопочными переключателями "Диапазон" (SI - S6) с зависимой фиксацией. Коммутация диапазонных фильтров осуществляется с помощью реле К1 - К12 типа РЭС-49 (РЭС-79). Полосовые фильтры подавляют зеркальный канал более чем на 80 дБ.

Рис.5.Принципиальная схема предварительного усилителя мощности и полосовых фильтров (узел А2)

Применение реле для коммутации полосовых фильтров и аттенюатора обусловлено стремлением достичь максимально высокого динамического диапазона, переключение же с помощью диодных ключей (p-i-n диоды и т. п.) неоправдано из-за значительного уменьшения динамического диапазона и увеличения шума приемного тракта.

После полосовых фильтров сигнал поступает в узел А6, рассмотренный ранее. В режим передачи напряжение SSB или CW сигнала, поступающее из узла А6, проходит через полосовые фильтры в обратном направлении и через контакты реле К17 поступает на широкополосный усилитель, выполненный на СВЧ транзисторах VT2, VT3, VT4, где усиливается до уровня 5...7 В эфф. с неравномерностью в диапазоне от 1,8...35 МГц не более 2 дБ.

Нагрузкой предварительного усилителя служит широкополосный трансформатор 77 с объемным короткозамкнутым витком, аналогичный трансформаторам смесителя в узле А6. Широкополосный трансформатор Т2 выполнен из 16 ферритовых колец, надетых на медную трубку (конструкция описана в журнале "Радио" № 12 за 1984 г.). Цепочки R10R11C6 и R23C14 осуществляют частотную коррекцию АЧХ предварительного усилителя. Резисторы R13, R24 подбираются по минимальной неравномерности выходного напряжения во всем диапазоне усиливаемых частот. Каскад на транзисторе VT1 - электронный ключ с задержкой, необходимой для коммутации антенной цепи в узле А1.

Узел А1 - усилитель мощности передатчика (рис.6) выполнен на мощном полевом транзисторе VTI типа КП904А. Здесь же находятся диапазонные фильтры нижних частот (П-контур), коммутируемые реле типа РЭС-10.

Напряжение сигнала с рабочей частотой от предварительного усилителя поступает на затвор транзистора VTI и усиливается до выходной мощности около 30 Вт. Нагрузка каскада - широкополосный трансформатор, выполненный на ферритовом кольце проницаемостью 300НН диаметром 32 мм по известной методике. Максимальный ток стока транзистора достигает 2 А. Через контакты реле К13, замкнутые во время передачи, усиленный сигнал проходит через фильтр нижних частот и поступает в антенну (разъем XI). Резистор R5 служит для установки начального тока транзистора. Через цепочку R7C31 осуществляется частотно-зависимая ООС. Усилитель мощности обладает достаточно хорошей линейностью. При правильном подборе тока покоя внеполосные излучения подавлены до -50 дБ.

В режиме приема с гнезда XI сигнал проходит диапазонные ФНЧ и через нормально замкнутые контакты реле K13 (типа РЭС-55А) поступает на диапазонные полосовые фильтры (узел А2).

Как показала практика (на трансивере проведено более 6000 связей), опасения, что сравнительно маломощные реле в усилителе мощности будут часто выходить из строя, необоснованы, так как все их контакты переключаются в отсутствии сигнала.

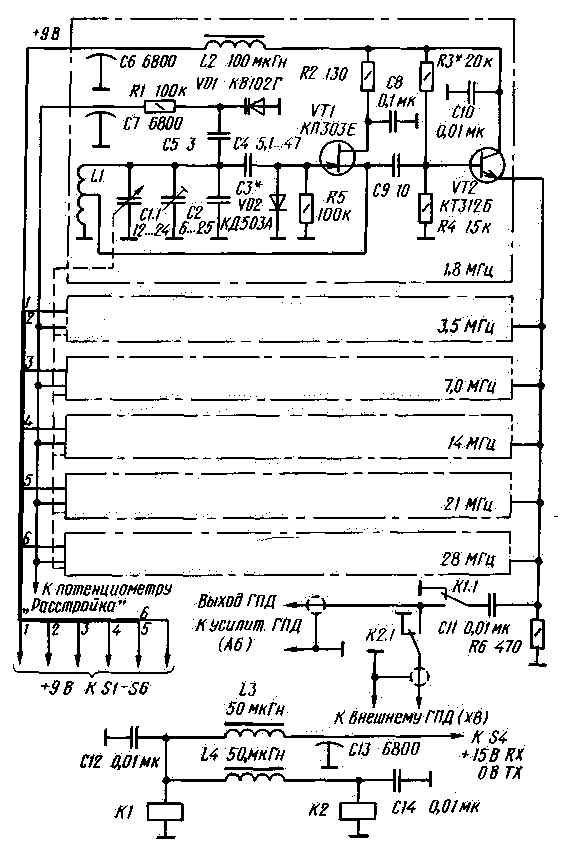
Генератор плавного диапазона - узел A3 (рис. 7) представляет собой шесть отдельных диапазонных генераторов, коммутируемых по питанию вторым направлением (первое-для коммутации полосовых фильтров) кнопочных переключателей S1 -S6. На полевом транзисторе VTI собран непосредственно генератор по схеме индуктивной трехточки. Транзистор VT2 - эмиттерный повторитель. Нагрузкой всех шести эмиттерных повторителей служит резистор R6. Падение напряжения на нем, равное около +5 В, закрывает эмиттерные переходы неработающих повторителей, тем самым исключая влияние на частоту работающего генератора других диапазонных генераторов. ..Распределение частот ГПД по диапазонам и данные контуров приведены в табл. 1. Частоты ГПД выбраны таким образом, что при смене диапазона происходит автоматический выбор нужной боковой полосы. С помощью реле К1, К2 (РЭС-55А) к трансиверу может быть подключен внешний ГПД. Отсутствие механических переключении, а также наличие отдельных контуров для каждого диапазона при их тщательной термокомпенсации позволило достичь хорошей стабильности, не прибегая к умножению частоты. Такое построение гетеродина позволяет оптимизировать уровни выходных напряжений, создать перекрытие по частоте, сделать величину расстройки независимой для каждого диапазона.

Таблица 1
Диапазон Частота ГПД, МГц L1,мкГ С3*,пф Провод Шаг намотки, мм Примечание
1,830...1,930 10,900...11,150 0,8 260 Посеребр. 0,8 0,5 Каркас - керамика диаметром 12мм. Намотка горячая, внатяг с клеем БФ-2 и сушка 100°С
3,500...3,800 12,600...12,900 0,5 300 То же 0,5
7,000...7,200 16,100...16,300 0,25 330 " 0,5
14,00...14,35 4,900...5,250 10 82 ПЭВ 0,41 Рядовая
21,00...21,45 11,900...12,350 1 140 Посеребр. 0,8 0,5
28,00...29,00 18,900...19,900 0,5 100 То же 0,5

Формирователь напряжения SSB и CW сигнала - узел А4 показан на рис. 8. На транзисторе VTI собран опорный кварцевый генератор с частотой 9100 кГц. Транзистор VT2-буферный каскад, с которого сигнал опорного генератора поступает на балансный модулятор на варикапах VD1, VD2 и трансформаторе Т1. Модулятор имеет высокую линейность и позволяет подавить несущую частоту не менее чем на 50 дБ. Каскад на микросхеме DA1 [представляет собой микрофонный УНЧ, с выхода 'которого усиленное напряжение низкой частоты поступает на среднюю точку обмотки L3 балансного модулятора и через эмиттерный повторитель VT6 в систему голосового управления (VOX). Каскад на транзисторе VT5 - манипулируемый телеграфный гетеродин, стабилизированный кварцем ZQ2. Его частота на 800...900 Гц выше частоты опорного гетеродина, т. е. совпадает с полосой "прозрачности" кварцевого фильтра ZQ1.

В зависимости от вида работы, телефон или телеграф, на эмиттерный повторитель VT4 подается через контакты реле К1 напряжение либо от балансного модулятора (SSB), либо от телеграфного гетеродина (CW). С выхода транзистора VT4 сигнал поступает для дальнейшего преобразования в узел А6 (основная плата). С помощью подстроечного резистора R21 устанавливается необходимое усиление микрофонного УНЧ, с помощью резисторов RI8, R15 производится балансировка несущей частоты опорного гетеродина. Индуктивность L1 служит для точной установки частоты опорного гетеродина на нижнем скате характеристики кварцевого фильтра ZQI.

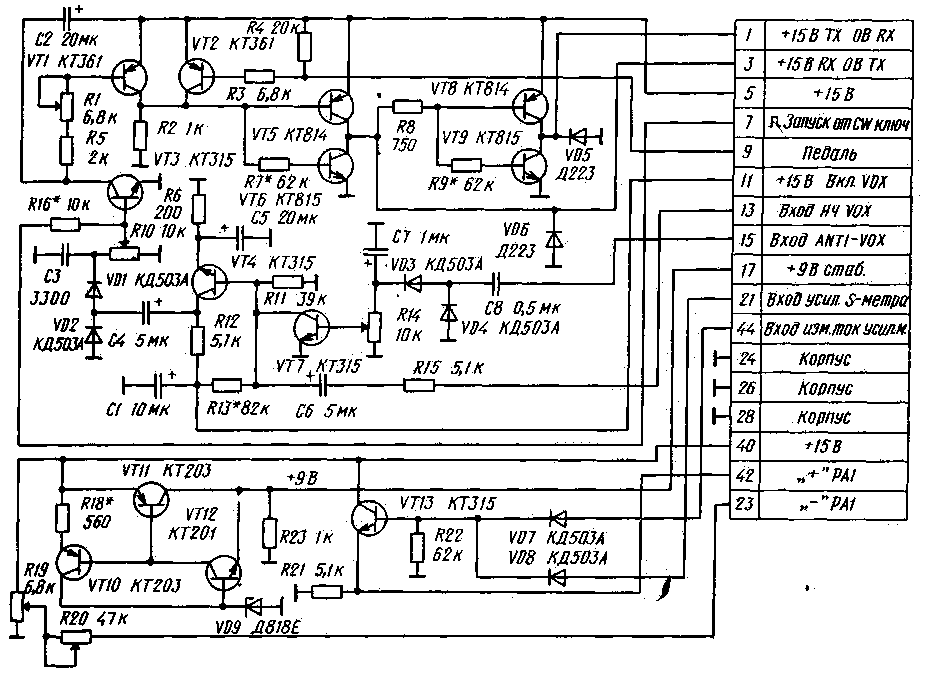
Работой трансивера в режиме "прием" или <передача" управляет коммутатор - узел А7 (рис. 9). Собственно коммутатор выполнен на мощных транзисторах VT5 - VT9. Транзисторы VT1. VT3, VT4 входят в систему VOX. VT7 - Anti-VOX. С помощью подстроечного резистора R1 устанавливается задержка срабатывания системы голосового управления, a RIO - порог срабатывания системы VOX. Резисторы R14 устанавливает порог срабатывания системы Anti-VOX. На транзисторах VT10 - VT12 выполнен стабилизатор напряжения плавного гетеродина +9 В. На транзисторе VT13 собран усилитель S-метра. В режиме приема на его вход через диод VD7 подается напряжение АРУ с основной платы, а через диод VD8 напряжение с узла А1, пропорциональное току стока мощного транзистора VT1. С помощью подстроечного резистора R19 устанавливается нуль S-метра, a R20 служит для калибровки.

Рис.9. Принципиальная схема коммутатора RX - ТХ, стабилизатора напряжения +9 В и усилителя S-метра (узел А7)

Управление коммутатором может происходить от педали, которая подключена к контакту 9 разъема XI как в режиме SSB, так и в CW. В режиме CW положительные импульсы, которые подаются на контакт 7 разъема XI от электронного автоматического телеграфного ключа, воздействуют на систему голосового управления, т. е. может осуществляться полудуплексная работа трансивера. Напряжения +15 В ТХ - О В RX снимаются с контактов 1,3 разъема X1 и поступают в узлы трансивера.

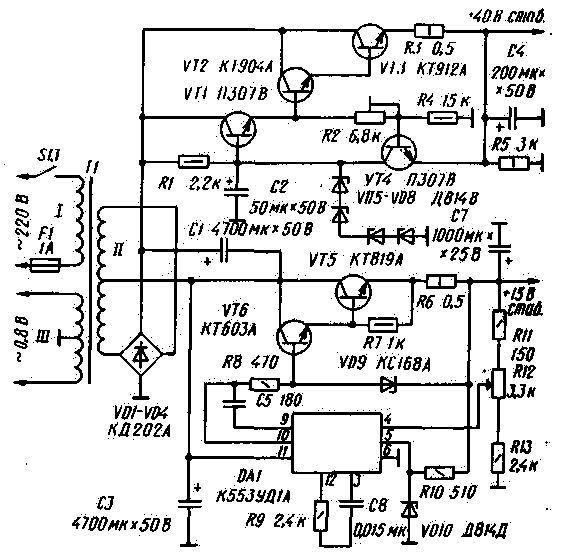
Стабилизаторы +40 В и +15 В в блоке питания (рис. 10) выполнены по известным схемам и защищены по току.

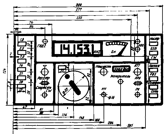
Схема соединений узлов трансивера приведена на рис. 11. Каркас изготовлен из дюралюминиевых листов толщиной 5 мм, соединенных с помощью винтов М2,5 в торец. Передняя и задняя панель имеют размеры 315Х130 мм и скреплены между собой двумя боковинами размером 270X130 мм.

Боковины установлены на расстоянии 40 мм от кромок передней и задней панели, образуя подвалы, в которых размещены печатные платы: слева - плата узла А2, справа - узлов А7, А5 (электронный телеграфный ключ). Между боковинами на высоте 40 мм от нижней кромки передней и задней панелей закреплено субшасси размером 225Х150 мм. На нем сверху установлены платы гетеродина А2 и формирователя А4. Снизу в подвале размещены основная плата А6, а между боковинами на высоте 25 мм от нижних кромок передней и задней панели находится второе субшасси размером 225Х80 мм. На нем установлены сверху справа трансформатор блока питания, снизу, в подвале, плата стабилизаторов +40 В и +15 В. На рис.12, 13 и 14 приведены размеры передней, лицевой и задней панелей трансивера.

Узел усилителя мощности находится в экранированной коробке размерами 115Х90Х50 мм, которая прикреплена вместе с мощным транзистором выходного каскада слева над вторым субшасси к задней панели трансивера. На задней же панели установлен радиатор с 29 ребрами высотой 15 мм для мощных транзисторов выходного каскада и стабилизаторов напряжения. Размеры радиатора 315Х90 мм.

Рис.12. Передняя панель трансивера

Рис.13. Лицевая панель трансивера

Рис.14. Задняя панель трансивера

Платы узлов А2, А4, А5, А6, А7 съемные. С монтажным жгутом они соединяются с помощью разъемов типа ГРППЗ-(46)24ШП-В. Плата плавного гетеродина размещена в экранированной коробке.

Основная плата А6 выполнена из двухстороннего стеклотекстолита толщиной 1,5...2 мм размерами 210Х 137,5 мм. Слой фольги со стороны деталей не снимается. Выводы деталей, соединенных с корпусом, припаиваются к фольге с обеих сторон платы, образуя общую "землю". Остальные отверстия со стороны деталей раззенковываются для исключения замыкания на общий провод.

Печатная плата узла А6 приведена на рис. 15

Кварцевые фильтры выполнены в. отдельных экранированных и хорошо пропаянных латунных коробках на резонаторах типа Б1 от радиостанций "Гранит".

На рис. 16, 17 приведены печатные платы узлов А4 и А7 и размещение элементов на них.

Рис.16. Узел А4

Рис.17. Узел A7

Конденсатор переменной емкости - шестисекционный от радиостанции Р-123. Контуры гетеродинов размещены непосредственно в разделенных перегородками секциях конденсатора. Возможно применение переменных конденсаторов от радиостанций Р-108. В этом случае берутся два конденсатора, и с помощью имеющейся шестерни синхронно соединяются между собой, позволяя создать восьмидиапазонный ГПД.

В трансивере использованы постоянные резисторы типа МЛТ-0,125 (МЛТ-0,25), подстроечные - типа СП4-1. Реле - РЭС-55А (РС4.569.601), РЭС-10 (РС4.524.302), РЭС-49 (РС4.569.421-07). Переменные резисторы типа СПЗ-12а. Конденсаторы типа КМ, КЛС, К50-6.

Высокочастотные дроссели 50 мкГн намотаны на ферритовых кольцах Ф-1000НН К7Х4Х2 и имеют по 30 витков ПЭЛШО 0,16, а дроссели 100 мкГн - около 50 витков.

Данные контуров полосовых фильтров приведены в табл.2. Диаметр всех катушек здесь 5 мм, сердечник СЦР типа СБ12А.

Таблица 2
Элемент 1.8 МГц 3.5 МГц 7 МГц 14 МГц 21 МГц 28 МГц
число витков провод число витков провод число витков провод число витков провод .число витков провод число витков провод
L4 6 ПЭВ 0,21 3,5 ПЭВ 0,21 3 ПЭВ 0,21 2,5 ПЭВ 0,21 2 ПЭВ 0,21 1,5 ПЭВ 0,21
L1 38 ПЭВ 0,16 27 ПЭВ 0,21 21 ПЭВ 0,21 16 ПЭВ 0,41 10 ПЭВ 0,61 10 ПЭВ 0,61
L2 38 " 27 " 21 " 16 " 10 " 10
L3 38 " 27 " 21 " 16 " 10 " 10 "
L5 6 ПЭВ 0,21 3,5 ПЭВ 0,21 3 ПЭВ 0,21 2,5 ПЭВ 0,21 2 ПЭВ 0,21 1,5 ПЭВ 0,21
Емкость, пФ Емкость, пФ Емкость, пФ Емкость, пФ Емкость, пФ Емкость, пФ
С1 510 390 270 120 91 68
С2 510 390 270 120 91 68
C3 510 390 270 120 91 68
С4 15 12 5,1 3,3 22 1,5
С5 15 12 5,1 3,3 22 1,5
 

В табл.3 приведены данные намотки остальных элементов.

Таблица 3
Узел Обозначение Число витков Каркас, магнитопровод Провод Примечание
A1 L1 20 0 20 ПЭВ 0,2 Намотка на оправке, бескаркасная. Шаг намотки подбирается при настройке
L2 15 " "
L3 10 " "
L4 7 " "
L5 5 " "
L6 4
А2 L1 5 М1000НМ ПЭЛШО 0,31 Выполняется по конструкции трансформатора с объемным витком. Конструкция описана в "Радио" 1984 г., № 12
L2 2Х6 К10Х6ХЗ МГТФ 0,14
L3 2 8Х2 кольцо Медная трубка
L4 1 М600НМ К 10Х6Х3
A4 L1 15 0 5 мм, серд. СЦР ПЭЛШО 0,21 L3 - в два провода, L4 - равномерно поверх L3
L3 2Х15 20ВЧ К10Х6ХЗ ПЭЛШО 0,18
L4 20
А6 L1 5 М1000НМ ПЭЛШО 0,31 То же, что 2Т1
L2 2Х6 K10X6X3
L3 12 м1000HM ПЭЛШО 0,21 "
L4 2Х12 K10X6X3
L5 12
L6 12 " ПЭЛШО 0,21 "
L7 12
L9 16 20ВЧ К10Х6ХЗ ПЭЛШО 0,21
L12 14Х2 М1000НМ К10Х6ХЗ ПЭЛШО 0,21 Намотка в два провода
L16, LI5 29 Диам.5 мм Н=20 мм ПЭЛШО 0,16 Намотка рядовая, экран 16Х16Х
L18 Lсв=4 витка сердечник СЦР " Х25 мм
L17 40 " " "
А6 L19 2Х10 20ВЧ К10Х6ХЗ ПЭЛШО 0.21 Трифилярная намотка
L20 10
A1 L7L8 2Х9 м300ннК32Х16Х8 МГФ 0.14 Намотка 6-ю сильно скрученными проводами по 3 провода параллельно

Контуры полосовых фильтров размещены в алюминиевых экранах размерами 20Х20 мм и высотой 25 мм.

Трансформатор блока питания с габаритной мощностью около 70 Вт намотан на ленточном кольцевом магнитопроводе ОЛ50/80-40. Первичная обмотка намотана проводом ПЭВ-2 0,41 и содержит 1600 витков. Вторичная обмотка намотана проводом ПЭВ-2 1,5 и содержит 260 витков.

Транзистор КП905 в узле А6 может быть заменен на КП903А. Настройка трансивера. Перед установкой элементов на платы необходимо проверить их исправность. Сначала каждая плата настраивается отдельно. Для этого используются отдельный источник питания и необходимые приборы.

Настройку целесообразно проводить в такой последовательности :

Узел А7. Коллектор транзистора VT1 соединяют с общим проводом и подбирают резистор R7 так, чтобы на коллекторе транзистора VT6 остаточное напряжение было не более +0,3 В. Соединения восстанавливают. Подбором резисторов R8. R9 устанавливают на коллекторе VT9 напряжение, близкое к нулю, но не более +0,3 В. Выводы 1, 3 на разъеме XI должны быть нагружены при настройке на резисторы сопротивлением около 30 Ом и мощностью рассеивания не менее 5 Вт.

Узел A3. Налаживание диапазонных генераторов заключается в установке генерирующей частоты, указанной в табл. 2, с помощью конденсаторов С2, С3 и числа витков индуктивности L1 (отвод от катушки берется от 1/4-1/5 части витков). Конденсатор С4 подбирают минимальным, контролируя устойчивость генерации. Подбором С5 устанавливается необходимая расстройка частоты. В заключение проводится тщательная термокомпенсация контура с помощью конденсатора C3, составленного из групп с разным ТКЕ. Коробка ГПД при проведении термокомпенсации нагревается до 35...40 °С. Выходное напряжение на резисторе R6 должно составлять 0,15...0,2 Вэфф.

Узел А4. Напряжение ВЧ на стоке транзистора VT3, подаваемое на модулятор, должно быть около 2 Вэфф. Напряжение НЧ на выходе микросхемы DA1 должно составлять 1...1,5 А, при подаче на микрофонный вход напряжения от звукового генератора частотой 1000 Гц и амплитудой 3...5 мВ. Модулятор, настраивается следующим образом: вначале, подключив к эмиттеру VT4 ВЧ-милливольтметр, с помощью С26 настраивают в резонанс контур L3C26VD1VD2 по максимуму сигнала. Затем закорачивают вход микрофонного усилителя и последовательной регулировкой резисторами R18, R15 балансируют модулятор на максимальное подавление несущей частоты по минимуму ВЧ напряжения на эмиттере VT4.

Настройка манипулируемого генератора заключается в установке частоты кварцевого генератора ZQ2. Она должна быть выше частоты опорного генератора на 800...900 Гц (контролируется частотомером на контактах 5, 28 разъема XI). Величина выходного напряжения в этой точке должна быть около 0,3 В,.. как в телеграфном, так и в телефонном режиме (при произнесении громкого "а...а"). На выходе эмиттерного повторителя VT2 напряжение опорного генератора должно составлять 1,5...1,8 Вэфф.

Узел А6. Настройку платы начинают с УНЧ приемника. Его чувствительность должна быть 5...10 мВ при нормальной громкости на выходе. Детектор VT8, VT9 балансируется при поданном напряжении опорного гетеродина и закороченном входе регулировкой резистора R31 по минимуму шумов на выходе УПЧ. Настройка УПЧ особенностей не имеет и заключается в настройке контуров на среднюю частоту кварцевого фильтра (при отключенной системе АРУ вывод 11 разъема X1 закоротить на "землю"). На выходе системы АРУ (контакт 13 разъема XI) постоянное напряжение должно достигать положительного значения около +5 В при подаче на ее вход (конденсатор С75) напряжения около 30...40 мВ от звукового генератора.

Напряжение ГПД, подаваемое на балансный модулятор (на обмотке L7), должно быть 1,3... 1,5 Вэфф. При передаче напряжение сигнала SSB или CW на истоке транзистора VT2 не должно превышать 0,3 Вэфф. Постоянные напряжения на коллекторах транзисторов VT4 и VT7 имеют величину +9 В и +2,6 В соответственно. На смеситель в этом случае должно быть подано напряжение ГПД. При подаче входного сигнала на обмотку L3 от ВЧ генератора величиной около 1 мВ напряжения на коллекторах указанных транзисторов уменьшаются до +0,4 В и +0,3 В соответственно. Система АРУ при этом включена. После настройки основной платы ее чувствительность со входа должна составлять 0,2...0,3 мкВ.

Особое внимание необходимо уделить согласованию кварцевых фильтров с каскадами ПЧ. При настройке кварцевых фильтров следует учитывать, что их параметры в сильной степени зависят от емкостей измерительной схемы, включенной параллельно входам и выходам фильтров. По этой причине рекомендуется производить настройку фильтров с помощью измерительной схемы, изображенной на рис. 18. При этом емкости С12 в восьмикристальном и С4 в четырехкристальном фильтрах необходимо временно отпаять.

Коротковолновый трансивер УРАЛ-84
Рис. 18. Принципиальная схема устройства для измерений и настройки кварцевых фильтров ZQI и ZQ2

Узел А2. Полосовые диапазонные фильтры настраиваются по общеизвестной методике, но при этом необходимо нагрузить их входы и выходы резисторами величиной 75 Ом. Широкополосный усилитель на транзисторах VT2, VT3, VT4 настраивается вначале по постоянному току. Постоянное напряжение на коллекторе VT3 +15...20 В, ток покоя транзистора при этом должен быть около 70...80 мА. Затем проверяется и подбирается с помощью резисторов R13, R24 неравномерность выходного напряжения при подаче на вход полосового фильтра от ГСС сигнала величиной 100...150 мВ в диапазоне 1,8...30 МГц. При этом к резистору R24 параллельно подключается емкость около 270 пФ (имитируется входная емкость КП904А). Напряжение ВЧ на выходе должно составлять 5-7 Вэфф.

Узел А1. К выходу каскада подключается эквивалент антенны 75 Ом мощностью не менее 30 Вт и проверяется величина выходной мощности. Диапазонные фильтры нижних частот предварительно должны быть настроены по методу "холодной" настройки. Ток "покоя" транзистора КП904А должен быть около 200 мА. Его установка производится потенциометром R5.

После тщательной наладки отдельных узлов проводится комплексная настройка трансивера во всех режимах работы - "прием", "передача", "тон".

Литература:

  1. Лучшие конструкции 31-й и 32-й выставок творчества радиолюбителей. М. ДОСААФ, 1989 г. с.58-70

Автор: А. Першин UA9CKV; Публикация: Н. Большаков, rf.atnn.ru

Смотрите другие статьи раздела Гражданская радиосвязь.

Читайте и пишите полезные комментарии к этой статье.

<< Назад

Последние новости науки и техники, новинки электроники:

Власть является ключевым фактором счастья в отношениях 11.03.2026

Исследования семейных и романтических отношений показывают, что длительное счастье пары зависит не только от привычных факторов, таких как доверие, уважение и преданность, но и от более тонких психологических аспектов. Современные ученые ищут закономерности, которые отличают действительно счастливые пары от остальных, чтобы понять, какие механизмы поддерживают гармонию в отношениях. Группа исследователей из Университета Мартина Лютера в Галле-Виттенберге и Бамбергского университета провела опрос среди 181 пары, которые состояли в совместных отношениях более восьми лет и прожили вместе хотя бы месяц. Участники заполняли анкету, описывая различные аспекты своих отношений, включая распределение обязанностей, эмоциональную поддержку и степень вовлеченности в совместные решения. Анализ данных показал интересный паттерн: пары, где оба партнера ощущали высокий уровень личной власти, оказывались наиболее счастливыми и удовлетворенными. В данном контексте под властью понимается способност ...>>

Защищенная колонка-повербанк Anker Soundcore Boom Go 3i 11.03.2026

Компания Anker представила новую модель линейки Soundcore - колонку Soundcore Boom Go 3i, ориентированную на активное использование на улице. Новинка отличается высокой степенью защиты: корпус соответствует стандарту IP68, что обеспечивает водо- и пыленепроницаемость, а ударопрочный дизайн выдерживает падение с высоты до одного метра. За качество звука отвечает 15-ваттный драйвер, обеспечивающий пик громкости до 92 дБ, а технология BassUp 2.0 усиливает низкие частоты, делая звучание более насыщенным. Колонка обладает автономностью до 24 часов, а LED-индикатор позволяет контролировать уровень заряда батареи. Кроме того, Soundcore Boom Go 3i может выполнять функцию павербанка: согласно внутренним тестам, устройство способно зарядить iPhone 17 с нуля до 40% за один час, что делает его полезным аксессуаром в походах и поездках. Среди функциональных особенностей модели стоит выделить технологию Auracast, которая улучшает подключение и позволяет создавать стереопару из двух колонок ...>>

Раннее воздержание от алкоголя перестраивает мозг и иммунитет 10.03.2026

Алкогольная зависимость - хроническое расстройство с компульсивным употреблением спиртного, которое влияет не только на поведение, но и на функционирование мозга и иммунной системы. Недавние исследования показали, что даже на ранних этапах воздержания организм начинает перестраиваться, открывая новые возможности для терапии зависимости. Ученые сосредоточились на пациентах, находящихся в первые недели абстиненции, и зафиксировали значительные изменения в мозговой активности. С помощью функциональной магнитно-резонансной томографии они выявили перестройку сетей нейронных связей, отвечающих за контроль импульсов и принятие решений. Эти изменения могут быть ключевыми для восстановления самоконтроля и снижения риска рецидива. Одновременно с нейронной перестройкой исследователи наблюдали колебания иммунной системы. В крови повышался уровень цитокинов - сигнальных белков, регулирующих воспалительные процессы. Эти данные свидетельствуют о существовании нейроиммунного взаимодействия, при ...>>

Случайная новость из Архива

Новые функции робота-пылесоса 07.05.2025

С каждым годом роботы все активнее внедряются в повседневную жизнь, особенно в домашних условиях. Бытовые устройства, такие как пылесосы и газонокосилки, давно перестали быть экзотикой, а мировой рынок в этой области уже оценивается в миллиарды долларов. В 2023 году его объем составил 10,3 миллиарда долларов, и, по оценкам аналитиков, к 2028 году он вырастет более чем вдвое - до 24,5 миллиарда. Однако при столь стремительном развитии технологий немало пользователей все еще сомневаются в реальных возможностях домашних роботов, особенно учитывая их проблемы с такими простыми задачами, как уборка ковров или преодоление кабелей на полу.

Тем не менее исследователи из Университета Бата и Университета Калгари решили пересмотреть традиционное представление о назначении подобных устройств. Они исходили из предположения, что роботы, изначально созданные для ограниченных задач, обладают скрытым потенциалом и при небольших изменениях могут выполнять куда более разнообразные функции. В результате работы ученые составили список из ста возможных задач, которые типичный бытовой робот мог бы взять на себя без значительных технических переделок.

Для подтверждения своей гипотезы исследовательская группа взялась за переработку стандартного пылесоса Roomba. Они перепрограммировали его, добавив функции, выходящие далеко за рамки уборки. Так, устройство научилось сопровождать пользователя в качестве мобильной зарядной станции, проецировать обучающие видеоролики на потолок или стены, транслировать изображение с камеры для удаленного наблюдения за домашними приборами, например духовкой, а также отображать табличку "Не беспокоить" в нужном месте квартиры, помогая тем самым создать комфортную рабочую атмосферу.

Особо важной стала идея, что такие дополнения не требуют кардинального изменения конструкции устройства. Вместо этого достаточно внести изменения в программное обеспечение и добавить недорогие модули. Таким образом, робот может получить функциональность, сравнимую с более сложными и дорогими системами автоматизации дома.

Более того, ученые предложили и другие интересные сценарии применения домашних роботов. Среди них - автоматический полив растений, помощь в переноске покупок с парковки до кухни, а также организация игр для домашних животных. Все эти идеи демонстрируют, что возможности подобных устройств ограничены скорее воображением разработчиков, чем техническими барьерами.

Авторы проекта подчеркивают, что главной целью их эксперимента было показать, насколько просто и эффективно можно расширить роль бытовых роботов в жизни человека. Вместо того чтобы создавать новые дорогостоящие устройства, разумнее адаптировать уже существующие, превратив их в многофункциональных помощников.

Направление, выбранное исследователями, открывает путь к новому этапу эволюции домашних роботов. Их будущая роль может выйти далеко за рамки уборки - они вполне способны стать полноценными участниками повседневной жизни, выполняя десятки полезных задач и снижая когнитивную и физическую нагрузку на человека.

Другие интересные новости:

▪ Вечная флэш-память

▪ Робот-курьер Hyundai

▪ Самый долговечный сплав

▪ Магнитный наноматериал для защиты ценных бумаг от подделок

▪ Новый способ измерения температуры воды в океане

Лента новостей науки и техники, новинок электроники

 

Интересные материалы Бесплатной технической библиотеки:

▪ раздел сайта И тут появился изобретатель (ТРИЗ). Подборка статей

▪ статья Распиловочная установка. Советы домашнему мастеру

▪ статья Какие арбитры показывали красную карточку самим себе? Подробный ответ

▪ статья Первая помощь при остановке сердца и дыхания. Медицинская помощь

▪ статья Сварочные электроды. Энциклопедия радиоэлектроники и электротехники

▪ статья Палец сквозь ухо. Секрет фокуса

Оставьте свой комментарий к этой статье:

Имя:


E-mail (не обязательно):


Комментарий:




Комментарии к статье:

Leonid
Отличная статья! Спасибо!


Главная страница | Библиотека | Статьи | Карта сайта | Отзывы о сайте

www.diagram.com.ua

www.diagram.com.ua
2000-2026