Áåñïëàòíàÿ òåõíè÷åñêàÿ áèáëèîòåêà
Óñèëèòåëü ìîùíîñòè íà 144 ÌÃö. Ýíöèêëîïåäèÿ ðàäèîýëåêòðîíèêè è ýëåêòðîòåõíèêè

Ýíöèêëîïåäèÿ ðàäèîýëåêòðîíèêè è ýëåêòðîòåõíèêè / Â× óñèëèòåëè ìîùíîñòè
Êîììåíòàðèè ê ñòàòüå
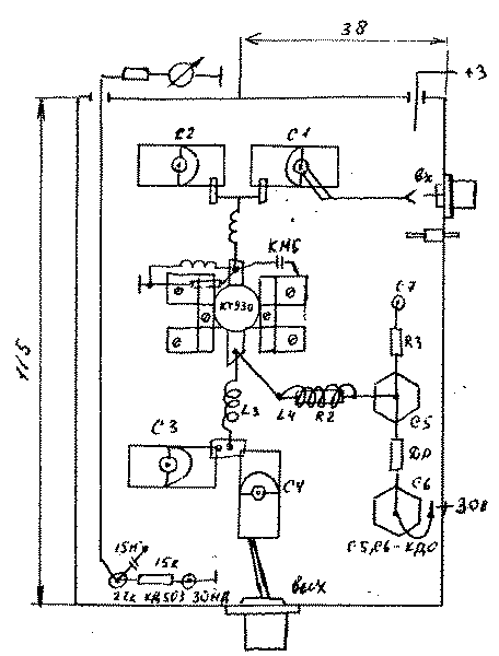
Êîðïóñ âûïîëíåí èç ñòåêëîòåêñòîëèòà òîëùèíîé 2 ìì, ê êîòîðîìó ïî âñåìó ïåðèìåòðó êðåïèòñÿ ðàäèàòîð.  äíå êîðïóñà ñäåëàíî îòâåðñòèå òî÷íî ïî ðàçìåðó êîðïóñà òðàíçèñòîðà, êîòîðûé ñèäèò íà ðàäèàòîðå, à äíî íàáðàíî òàêîé òîëùèíû, ÷òî ýìèòòåðíûå âûâîäû òðàíçèñòîðà ëîæàòñÿ íà ôîëüãó êîðïóñà è ïðèæèìàþòñÿ ê íåìó ëàòóííûìè ïëàñòèíêàìè è âèíòàìè Ì3. ×òîáû áàçà è êîëëåêòîð íå êàñàëèñü "çåìëè", ïîä íèìè ó êîðïóñà òðàíçèñòîðà ôîëüãà ñíÿòà íà 3 ìì, à âûâîäû ñëåãêà çàãíóòû ââåðõ. Ñ2 è Ñ3 êðåïÿòñÿ âåðòèêàëüíî íà Ã-ñòîéêàõ èç ëàòóíè, êîòîðûå ÿâëÿþòñÿ çàçåìëåíèåì ðîòîðîâ, Ñ1 è Ñ4 - íà Ï-îáðàçíûõ ñòîéêàõ èç òåêñòîëèòà.

Êîíñòðóêöèÿ óñèëèòåëÿ
Äåòàëè:
Ñ1, Ñ2, Ñ3, Ñ4 - 1ÊÏÂÌ 1 (3...27ïô).
L1 - 3 âèòêà ïðîâîäîì 0,8 ìì, äèàìåòð íàìîòêè 6 ìì.
L2 - 8 âèòêîâ ïðîâîäîì 0,8 ìì, äèàìåòð íàìîòêè 5 ìì, l=18ìì.
L3 - 4 âèòêà øèíîé 2õ0,7 ìì, äèàìåòð íàìîòêè 8 ìì, l=16ìì.
L4 - 4 âèòêà ïðîâîäîì 0,8 ìì, äèàìåòð íàìîòêè 15 ìì (âíóòðè êàòóøêè ðåçèñòîð R2).
Òðàíçèñòîð ÊÒ930À (30Â, 2,4À), ÊÒ931À (30Â, 3À ).
Ïðè èñïîëüçîâàíèè òðàíçèñòîðà ÊÒ931À ó L2 çàêîðà÷èâàþò 2 âèòêà, â ñõåìó äîáàâëÿþòñÿ òðè êîíäåíñàòîðà, ïîêàçàííûå ïóíêòèðîì. Ïîäáèðàÿ ýòè åìêîñòè è L2 äîáèâàþòñÿ ñîãëàñîâàíèÿ ÐÀ.
Àâòîð: Þ.Ãðåáíåâ (RA9AA); Ïóáëèêàöèÿ: Í. Áîëüøàêîâ, rf.atnn.ru
Ñìîòðèòå äðóãèå ñòàòüè ðàçäåëà Â× óñèëèòåëè ìîùíîñòè.
×èòàéòå è ïèøèòå ïîëåçíûå êîììåíòàðèè ê ýòîé ñòàòüå.
<< Íàçàä
Ïîñëåäíèå íîâîñòè íàóêè è òåõíèêè, íîâèíêè ýëåêòðîíèêè:
Âëàñòü ÿâëÿåòñÿ êëþ÷åâûì ôàêòîðîì ñ÷àñòüÿ â îòíîøåíèÿõ
11.03.2026
Èññëåäîâàíèÿ ñåìåéíûõ è ðîìàíòè÷åñêèõ îòíîøåíèé ïîêàçûâàþò, ÷òî äëèòåëüíîå ñ÷àñòüå ïàðû çàâèñèò íå òîëüêî îò ïðèâû÷íûõ ôàêòîðîâ, òàêèõ êàê äîâåðèå, óâàæåíèå è ïðåäàííîñòü, íî è îò áîëåå òîíêèõ ïñèõîëîãè÷åñêèõ àñïåêòîâ. Ñîâðåìåííûå ó÷åíûå èùóò çàêîíîìåðíîñòè, êîòîðûå îòëè÷àþò äåéñòâèòåëüíî ñ÷àñòëèâûå ïàðû îò îñòàëüíûõ, ÷òîáû ïîíÿòü, êàêèå ìåõàíèçìû ïîääåðæèâàþò ãàðìîíèþ â îòíîøåíèÿõ.
Ãðóïïà èññëåäîâàòåëåé èç Óíèâåðñèòåòà Ìàðòèíà Ëþòåðà â Ãàëëå-Âèòòåíáåðãå è Áàìáåðãñêîãî óíèâåðñèòåòà ïðîâåëà îïðîñ ñðåäè 181 ïàðû, êîòîðûå ñîñòîÿëè â ñîâìåñòíûõ îòíîøåíèÿõ áîëåå âîñüìè ëåò è ïðîæèëè âìåñòå õîòÿ áû ìåñÿö. Ó÷àñòíèêè çàïîëíÿëè àíêåòó, îïèñûâàÿ ðàçëè÷íûå àñïåêòû ñâîèõ îòíîøåíèé, âêëþ÷àÿ ðàñïðåäåëåíèå îáÿçàííîñòåé, ýìîöèîíàëüíóþ ïîääåðæêó è ñòåïåíü âîâëå÷åííîñòè â ñîâìåñòíûå ðåøåíèÿ.
Àíàëèç äàííûõ ïîêàçàë èíòåðåñíûé ïàòòåðí: ïàðû, ãäå îáà ïàðòíåðà îùóùàëè âûñîêèé óðîâåíü ëè÷íîé âëàñòè, îêàçûâàëèñü íàèáîëåå ñ÷àñòëèâûìè è óäîâëåòâîðåííûìè.  äàííîì êîíòåêñòå ïîä âëàñòüþ ïîíèìàåòñÿ ñïîñîáíîñò ...>>
Çàùèùåííàÿ êîëîíêà-ïîâåðáàíê Anker Soundcore Boom Go 3i
11.03.2026
Êîìïàíèÿ Anker ïðåäñòàâèëà íîâóþ ìîäåëü ëèíåéêè Soundcore - êîëîíêó Soundcore Boom Go 3i, îðèåíòèðîâàííóþ íà àêòèâíîå èñïîëüçîâàíèå íà óëèöå.
Íîâèíêà îòëè÷àåòñÿ âûñîêîé ñòåïåíüþ çàùèòû: êîðïóñ ñîîòâåòñòâóåò ñòàíäàðòó IP68, ÷òî îáåñïå÷èâàåò âîäî- è ïûëåíåïðîíèöàåìîñòü, à óäàðîïðî÷íûé äèçàéí âûäåðæèâàåò ïàäåíèå ñ âûñîòû äî îäíîãî ìåòðà. Çà êà÷åñòâî çâóêà îòâå÷àåò 15-âàòòíûé äðàéâåð, îáåñïå÷èâàþùèé ïèê ãðîìêîñòè äî 92 äÁ, à òåõíîëîãèÿ BassUp 2.0 óñèëèâàåò íèçêèå ÷àñòîòû, äåëàÿ çâó÷àíèå áîëåå íàñûùåííûì.
Êîëîíêà îáëàäàåò àâòîíîìíîñòüþ äî 24 ÷àñîâ, à LED-èíäèêàòîð ïîçâîëÿåò êîíòðîëèðîâàòü óðîâåíü çàðÿäà áàòàðåè. Êðîìå òîãî, Soundcore Boom Go 3i ìîæåò âûïîëíÿòü ôóíêöèþ ïàâåðáàíêà: ñîãëàñíî âíóòðåííèì òåñòàì, óñòðîéñòâî ñïîñîáíî çàðÿäèòü iPhone 17 ñ íóëÿ äî 40% çà îäèí ÷àñ, ÷òî äåëàåò åãî ïîëåçíûì àêñåññóàðîì â ïîõîäàõ è ïîåçäêàõ.
Ñðåäè ôóíêöèîíàëüíûõ îñîáåííîñòåé ìîäåëè ñòîèò âûäåëèòü òåõíîëîãèþ Auracast, êîòîðàÿ óëó÷øàåò ïîäêëþ÷åíèå è ïîçâîëÿåò ñîçäàâàòü ñòåðåîïàðó èç äâóõ êîëîíîê ...>>
Ðàííåå âîçäåðæàíèå îò àëêîãîëÿ ïåðåñòðàèâàåò ìîçã è èììóíèòåò
10.03.2026
Àëêîãîëüíàÿ çàâèñèìîñòü - õðîíè÷åñêîå ðàññòðîéñòâî ñ êîìïóëüñèâíûì óïîòðåáëåíèåì ñïèðòíîãî, êîòîðîå âëèÿåò íå òîëüêî íà ïîâåäåíèå, íî è íà ôóíêöèîíèðîâàíèå ìîçãà è èììóííîé ñèñòåìû. Íåäàâíèå èññëåäîâàíèÿ ïîêàçàëè, ÷òî äàæå íà ðàííèõ ýòàïàõ âîçäåðæàíèÿ îðãàíèçì íà÷èíàåò ïåðåñòðàèâàòüñÿ, îòêðûâàÿ íîâûå âîçìîæíîñòè äëÿ òåðàïèè çàâèñèìîñòè.
Ó÷åíûå ñîñðåäîòî÷èëèñü íà ïàöèåíòàõ, íàõîäÿùèõñÿ â ïåðâûå íåäåëè àáñòèíåíöèè, è çàôèêñèðîâàëè çíà÷èòåëüíûå èçìåíåíèÿ â ìîçãîâîé àêòèâíîñòè. Ñ ïîìîùüþ ôóíêöèîíàëüíîé ìàãíèòíî-ðåçîíàíñíîé òîìîãðàôèè îíè âûÿâèëè ïåðåñòðîéêó ñåòåé íåéðîííûõ ñâÿçåé, îòâå÷àþùèõ çà êîíòðîëü èìïóëüñîâ è ïðèíÿòèå ðåøåíèé. Ýòè èçìåíåíèÿ ìîãóò áûòü êëþ÷åâûìè äëÿ âîññòàíîâëåíèÿ ñàìîêîíòðîëÿ è ñíèæåíèÿ ðèñêà ðåöèäèâà.
Îäíîâðåìåííî ñ íåéðîííîé ïåðåñòðîéêîé èññëåäîâàòåëè íàáëþäàëè êîëåáàíèÿ èììóííîé ñèñòåìû. Â êðîâè ïîâûøàëñÿ óðîâåíü öèòîêèíîâ - ñèãíàëüíûõ áåëêîâ, ðåãóëèðóþùèõ âîñïàëèòåëüíûå ïðîöåññû. Ýòè äàííûå ñâèäåòåëüñòâóþò î ñóùåñòâîâàíèè íåéðîèììóííîãî âçàèìîäåéñòâèÿ, ïðè ...>>
Ñëó÷àéíàÿ íîâîñòü èç Àðõèâà Çíàìåíèòîñòè â ðåêëàìå âðåäíûõ ïðîäóêòîâ
13.06.2016
Èññëåäîâàíèå ñïåöèàëèñòîâ ìåäèöèíñêîãî öåíòðà NYU Langone ïîêàçàëî, ÷òî áîëüøàÿ ÷àñòü ïðîäóêòîâ è íàïèòêîâ, ëèöîì êîòîðûõ â ðåêëàìå ñòàíîâÿòñÿ ïîïóëÿðíûå ìóçûêàíòû, âðåäíû äëÿ çäîðîâüÿ - è ïðåæäå âñåãî, çäîðîâüÿ ïîäðîñòêîâ, ãëàâíûõ ôàíàòîâ ïîï-çâåçä. Ïî ìíåíèþ èññëåäîâàòåëåé, òàêàÿ ñèòóàöèÿ âî ìíîãîì ñïîñîáñòâóåò ðàçâèòèþ äåòñêîãî è ïîäðîñòêîâîãî îæèðåíèÿ.
×àùå âñåãî, ïîïóëÿðíûå â ïîäðîñòêîâîé ñðåäå ìóçûêàíòû ðåêëàìèðóþò ñëàäêèå ãàçèðîâàííûå íàïèòêè, ôàñò-ôóä è ðàçëè÷íûå ñëàäîñòè, âûÿñíèëè àâòîðû ïî èòîãàì àíàëèçà ðåêëàìíûõ ñîîáùåíèé. Ïîïóëÿðíîñòü ìóçûêàíòîâ îíè îöåíèâàëè ñ ïîìîùüþ ðàçëè÷íûõ ÷àðòîâ, â òîì ÷èñëå îñíîâàííûõ íà ìíåíèè ïîäðîñòêîâ, êàê, íàïðèìåð, Teen Choice Award. Äàëåå ó÷åíûå ñîîòíåñëè åãî ñ ÷èñëîì ïðîñìîòðîâ âèäåîðîëèêîâ íà YouTube, ãäå ìóçûêàíòû ðåêëàìèðóþò ïðîäóêòû è íàïèòêè. Êðîìå òîãî, ñ ïîìîùüþ ñïåöèàëüíîé áàçû äàííûõ îíè íàøëè âñå ðåêëàìíûå ðîëèêè ñ ó÷àñòèåì çâåçä çà ïåðèîä 2000-2014 ãîä, ïîÿâëÿâøèåñÿ íà ÒÂ, â æóðíàëàõ è íà ðàäèî, è ñîñòàâèëè ñïèñîê êîíöåðòîâ, ñïîíñèðóåìûõ ïðîèçâîäèòåëÿìè íàïèòêîâ è ïðîäóêòîâ.
Èññëåäîâàòåëè âûÿñíèëè, ÷òî 65 ïîï-çâåçä ñâÿçàíû ñ ðåêëàìîé 57 ðàçëè÷íûõ ïðîäóêòîâ è íàïèòêîâ. Ïî êàæäîìó èç ýòèõ òîâàðîâ îíè íàøëè èíôîðìàöèþ ïî åãî ïèòàòåëüíîé öåííîñòè. Îêàçàëîñü, ÷òî 81% èç íèõ îïðåäåëÿþòñÿ êàê áåäíûå ïèòàòåëüíûìè âåùåñòâàìè, íàïèòêè ÷àùå âñåãî áûëè èç êàòåãîðèè î÷åíü ñëàäêèõ, ñ ïåðåèçáûòêîì ñàõàðà.
Êîìïàíèè, ïðîèçâîäÿùèå íàïèòêè è ïðîäóêòû, òðàòÿò îãðîìíûå äåíüãè íà ðåêëàìó, íàïðàâëåííóþ íà ïîäðîñòêîâóþ àóäèòîðèþ. À ñúåìêà â íåé çâåçä äåëàåò ýòó ðåêëàìó ïîïóëÿðíîé ñðåäè ïîäðîñòêîâ. Âîçðàñòíîå ñòðåìëåíèå ïîäðàæàòü êóìèðàì ïðèâîäèò ê íåçäîðîâûì ïðèâû÷êàì â ïèòàíèè, ÷òî ñêàçûâàåòñÿ íà çäîðîâüå ìîëîäåæè, ïðåäóïðåæäàþò ó÷åíûå, è ïðèçûâàþò ïðèíÿòü êàêèå-ëèáî ðåãëàìåíòû â äàííîé ñôåðå.
|
Äðóãèå èíòåðåñíûå íîâîñòè:
▪ Ìîáèëüíûé ïðèíòåð Brother PocketJet 7
▪ Â êàðòèíå Ðåìáðàíäòà îáíàðóæåí ÿä
▪ Óíèâåðñàëüíûé ïðîãðàììàòîð ñ èíòåðôåéñîì USB
▪ Ðó÷íîé îñöèëëîãðàô ScopeMeter 190
▪ Æåñòêèå äèñêè êîðïîðàòèâíîãî êëàññà 15000 îá/ìèí îò HGST
Ëåíòà íîâîñòåé íàóêè è òåõíèêè, íîâèíîê ýëåêòðîíèêè
Èíòåðåñíûå ìàòåðèàëû Áåñïëàòíîé òåõíè÷åñêîé áèáëèîòåêè:
▪ ðàçäåë ñàéòà Èíäèêàòîðû, äàò÷èêè, äåòåêòîðû. Ïîäáîðêà ñòàòåé
▪ ñòàòüÿ Îñíîâû àíàòîìèè. Èñòîðèÿ è ñóòü íàó÷íîãî îòêðûòèÿ
▪ ñòàòüÿ Ïî÷åìó äëÿ ïåðåäà÷è è ðàñïðåäåëåíèÿ ýëåêòðè÷åñêîé ýíåðãèè èñïîëüçóþò ïðåèìóùåñòâåííî ïåðåìåííûé òîê, à íå ïîñòîÿííûé? Ïîäðîáíûé îòâåò
▪ ñòàòüÿ Îëèâà êóëüòóðíàÿ. Ëåãåíäû, âûðàùèâàíèå, ñïîñîáû ïðèìåíåíèÿ
▪ ñòàòüÿ Ïðåîáðàçîâàòåëü, 12/220 âîëüò. Ýíöèêëîïåäèÿ ðàäèîýëåêòðîíèêè è ýëåêòðîòåõíèêè
▪ ñòàòüÿ Íîðìû ïðèåìî-ñäàòî÷íûõ èñïûòàíèé. Âîçäóøíûå ëèíèè ýëåêòðîïåðåäà÷è íàïðÿæåíèåì âûøå 1êÂ. Ýíöèêëîïåäèÿ ðàäèîýëåêòðîíèêè è ýëåêòðîòåõíèêè
Îñòàâüòå ñâîé êîììåíòàðèé ê ýòîé ñòàòüå:
Ãëàâíàÿ ñòðàíèöà | Áèáëèîòåêà | Ñòàòüè | Êàðòà ñàéòà | Îòçûâû î ñàéòå

www.diagram.com.ua
2000-2026