Menu Home

Бесплатная техническая библиотека для любителей и профессионалов Бесплатная техническая библиотека


Конструкции УКВ контуров. Энциклопедия радиоэлектроники и электротехники

Бесплатная техническая библиотека

Энциклопедия радиоэлектроники и электротехники / Радиоприем

Комментарии к статье Комментарии к статье

В диапазонах 144 и 430 МГц и выше чаще всего применяют или открытые контуры из двухпроводных линий, или коаксиальные контуры. Более новые типы - плоские и желобные контуры - пока не нашли широкого распространения.

Основное внимание при выполнении любых контуров на УКВ сводится к уменьшению всех видов потерь. Токи ВЧ идут в основном по наружной поверхности проводника, глубина проникания их внутрь очень незначительна и зависит от проводимости материала и частоты. Так, для меди, наиболее ходового материала, глубина проникания на частоте 300 МГц будет 0,0038 мм, а на частоте 500 МГц- 0,003 мм. Надо учитывать, что латунь и дюралюминий создают потери в два раза больше, чем медь. Изделия из латуни желательно серебрить. Для контуров выгодно применять гладкие тонкостенные стальные трубки, если имеется возможность, то желательно их хромировать.

Для коаксиальных контуров и двухпроводных линий лучшим материалом является медь. Малая глубина проникания токов на УКВ требует, чтобы поверхности были гладкими, отшлифованными до зеркального блеска, так как всякие шероховатости равноценны увеличению поверхностного сопротивления и ВЧ потерь. Для предотвращения окисления меди ее покрывают серебром или бесцветным лаком (детали, где нет скользящих контактов).

Изготовление контуров зависит от типа лампы и назначения прибора. Наиболее приспособленными лампами для Диапазона 144 МГц являются ГУ-32, ГУ-29, 6П21С, ГУ-50 и к ним проще применять двухпроводные линии.

Для дециметровых диапазонов хороши специальные лампы типа 6С5Д, так называемые маячковые, металло-керамические ГИ11Б, ГИ12, и 6С11Д - дисковая, дециметровая. Качества этих ламп могут полностью использоваться только с применением коаксиальных линий.

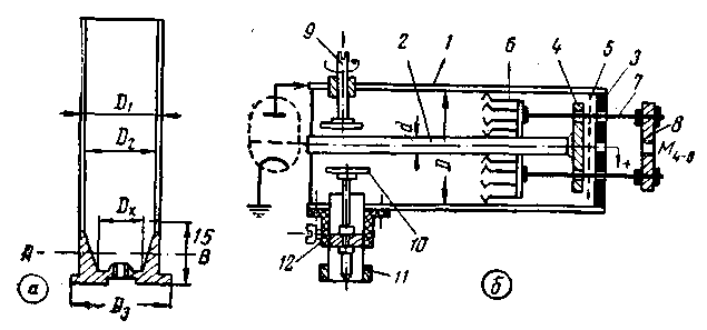
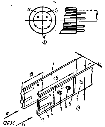
На рис.1 и 2 показаны наиболее крупные узлы Двухпроводных контуров применительно к лампе ГУ-32. Длина линии должна быть 250-270 мм с учетом добавочной емкости подстроечного конденсатора, расстояние между проводами D=25 мм определяется расстоянием между выводами анодов, диаметр провода или трубки d=4-6 мм. Применять провод или трубки большего диаметра нецелесообразно, они неудобны в обработке и, кроме того, повышают потери в контуре за счет увеличенного излучения, которое растет при уменьшении D/d. Для уменьшения продольных габаритов симметричные линии можно изгибать по-разному (см. рис.1,б). Провода линии закрепляются к колодках из изолирующего материала на короткозамкнутом конце и у середины линии (см. рис. 1,а).

Конструкции УКВ контуров
Рис.1. Конструкции двухпроводных контуров

Очень удачными являются плоские или ленточные ВЧ линии. На рис. 1,в даны размеры четвертьволновой анод ной линии для диапазона 430 МГц для лампы ГУ-32, работающей утроителем частоты (144-432 МГц). В конструкции изображенной на рис.1,е, предполагается, что лампа ГУ-32 расположена перпендикулярно шасси. Если ее расположить горизонтально, то это позволит избежать изгиба линии в месте ее подключения к анодам и она будет являться продолжением плоскостей электродов анода.

Чтобы уменьшить неоднородность этого перехода, которая эквивалентна внесению добавочной емкости и влечет укорочение контура, в полосках сделаны треугольные выемки куда впаиваются пружинящие контакты К1 и K2. Это позволяет вплотную придвинуть линию к баллону лампы по всей высоте полоски и уменьшить разрыв между ней и анодами лампы ГУ-32.

Конструкции УКВ контуров
Рис.2. Деталь двухпроводных контуров

На рис.2 показаны конструкции зажимов контура для соединения с лампой. На рис.2,в дан пружинящий плоский зажим, впаянный в паз в проводах линии. Зажим делают из 10-миллиметровой полоски листовой бронзы (твердой латуни), на конце полоски лобзиком выпиливают четыре-пять прорезей на глубину 12 мм.

Получившиеся полоски сначала отгибают в тисках в пазные стороны, а затем при помощи сверла или провода диаметром 1,5 мм отжимают, образуя плотные цилиндрики. Полоски эластичны и дают надежный контакт с выводом лампы ГУ-32.

Контакты такого типа можно применять и для более тонких выводов, например у лампы 6НЗП.

При горизонтальном расположении лампы ГУ-32 желательно, чтобы пружинящий контакт был продолжением самой линии в осевом направлении. Наиболее просто это получается, если в провод линии впаять гнезда от панельки для лампы ГУ-50 (рис.2,б).

Надежный зажим можно сделать, используя проводник линии (рис.2,а). Для этого с торцовой части линии делают продольное отверстие диаметром 1,5 мм на глубину 11 мм и сквозное - для болта М2 на расстоянии 13 мм, затем провод разрезают на длину 16 мм и верхнюю часть отделяют. В нижней части делают резьбу М2, плоскости среза зачищают и обе части снова соединяют винтом М2. Если линию подсоединяют к штырькам анодов ГУ-32, то их можно жестко зажать, затянув винт М2.

Закорачивающий мостик для настройки линии можно сделать из полоски бронзы толщиной 0,3-0,4 мм, шириной 10-12 мм, изогнутой по рис.2,г. Через центральное отверстие диаметром 3 мм и шайбу 3 полоски 1 и 2 стягивают винтом М3 и обхватывают провода линий.

Конструкции коаксиальных контуров

Материалом для конструкций являются медные или латунные трубки в пределах от 4 до 100 мм. Для таких контуров подойдут охотничьи гильзы калибра № 12-32. Их данные приведены в табл.1.

Номер гильзы121620242832
Диаметр внешний (Д1), ммДиаметр внутренний (Д2), мм20,219,618,717,717,516,616,515,715,614,813,412,6
Максимальный диаметр бортика22,220,619,318,217,315,5

Гильзы № 20/24 и 24/28 входят друг в друга с малым люфтом и могут дать скользящий контакт. Внутренний диаметр гильз примерно на высоте 15 мм от дна имеет конический переход, так что в сечении дна толщина гильзы увеличивается с 0,5 до 2,0-2,5 мм, а это дает возможность получить любые переходные диаметры (рис.3,а). Так как стандартная длина гильз равна 70 мм, то из двух гильз можно сделать четвертьволновый контур для 430 МГц.

Конструкции УКВ контуров
Рис.3. а - разрез охотничьей гильзы; б - конструкция коаксиального контура

Поверхность материалов, применяемых для коаксиальных контуров, должна быть ровной, гладкой и защищенной от быстрого окисления (серебряные, хромированные).

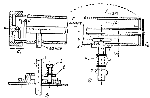
На рис.3,б показан упрощенный разрез коаксиального контура с необходимыми рабочими элементами. Рассмотрим в отдельности назначение этих деталей, их конструкцию и ее варианты, применительно к любительским возможностям изготовления.

Диаметры D и d трубок 1 и 2 (рис.3,б) определяются или системой выводов электродов у ламп, или удобством конструкции наиболее ответственного элемента контура - поршня настройки G. Если диаметры трубок надо изменить незначительно (на 1-2 мм) и на коротком протяжении, то впаивают добавочное кольцо в нужное сечение трубок D и d

Конструкции УКВ контуров
Рис.4. Детали коаксиального контура

с последующей обработкой до нужного диаметра Dв и Dн (Рис.4,а). Добавочные вкладыши чаще всего устанавливаются в месте подсоединения лампы к линии. В этом случае впаянные кольца и часть несущей трубки разрезают по образующей в нескольких местах (6-12 полосок и более) Для получения пружинящего контакта. Длина трубок определяется системой генератора и рассматривается в главе о передатчиках на УКВ.

Коаксиальные контуры обычно коротко замкнуты на одном конце, т. е. трубки 1 и 2 (рис.3,б) соединяются между собой при помощи дна 3 и диска 4 или без него (рис.4,б и в). При неразборном соединении трубок (рис.4,б) их впаивают в дно 3; для взаимной точной центровки дно делают с выемками. Если дно неточеное, то достаточную центровку можно обеспечить так: на листовом металле наносят острым циркулем диаметры D и d и вторые диаметры на 2 мм меньше D и на 2 мм больше d. Эти вспомогательные круги помогают при ручной обработке сохранить концентричность внешнего обвода дна и внутренне отверстия с диаметром d, так как при обработке поверхность есть возможность контроля ее кривизны по ближайшим вспомогательным кругам.

На рис.4,в показан второй вариант соединения трубок 1 и 2 через разделительную емкость. Для этого на трубку 2 перпендикулярно впаивают диск 4 и на конце трубке делают резьбу. Внешнюю трубку 1 впаивают в дно 3, в центре которого пропускают втулку В из изолирующего материала. Трубки 1 и 2 соединяют вместе болтом М3, причем между гладкими, отполированными поверхностями дна 3 диска 4 прокладывают слюду 5 толщиной 0,1-0,15 мм: слюда должна доходить до диаметра D. Диаметр диска 4 делают на 2-3 мм меньше D. Если диаметр диска 4 будет 30 мм, то при слюде толщиной 0,1 мм емкость разделительного конденсатора будет около 375 пФ, а емкостное сопротивление перехода на частоте 430 МГц около 0,8 ом. Такие конденсаторы необходимы для разделения цепей ВЧ от цепей питания.

При соединении деталей на УКВ и СВЧ очень серьезно надо подходить к пайке деталей. Плохая пайка может в два три раза ухудшить добротность контуров.

Самым сложным элементом коаксиальных конструкций являются системы настройки в широком диапазоне. Обычно это осуществляется продольным перемещением "короткого замыкания", выполненного в виде разных поршней. Сущность такой системы видна на рис. 1-20,6, детали 6, 7, 8. Основное требование к любой системе перестройки - минимальные потери, вносимые ей в контур, и постоянство их со временем. Так как в радиолюбительских условиях можно обойтись без широкодиапазонной настройки, то в системе перестройки поршней излагаются лишь основные соображения и конструкции поршней, наиболее просто осуществимы;

Контактный лепестковый поршень, у которого получается пружинящий механический контакт между поверхностями трубок коаксиального контура (рис.5,а);

Конструкции УКВ контуров
Рис.5. Лепестковый и скользящий поршни для настройки коаксиального контура

- скользящий поршень, создающий короткое замыкания линии через значительную емкость (рис.5,б);

- диэлектрический поршень, дающий перестройку по частоте за счет изменения волнового сопротивления самой линии (рис.6).

Конструкции УКВ контуров
Рис.6. Диэлектрический поршень для настройки коаксиального контура

Все другие типы поршней - бесконтактные, z-образные дроссельные и другие - сложны и трудно повторимы в любительской практике. Контактный, лепестковый поршень (см. рис.5) проще всего собрать из кусков латунных трубок Т1, Т2 подходящих диаметров с толщиной стенки 1-5мм. В зависимости от упругости материала и возможности обработки длина поршня lр может быть от 10 до 25 мм. Наружный диаметр трубки Т1 по длине уменьшается на 0,4-0,5 мм с таким расчетом, чтобы на одном конце остался бортик шириной 2-3 мм. Такой же бортик оставляют и у трубки Т2, но только с внутренней стороны. Это позволяет сосредоточить давление на концах трубок T1, T2 и значительно улучшает надежность и постоянство контакта.

При обработке на токарном станке по середине бортика можно сделать неглубокую (0,15-0,2 мм) канавку, на которую при сборке натягивают пружинящее кольцо из стальной проволоки диаметром 0,4-0,6 мм. У трубки T1 канавку делают с внутренней стороны, у T2 - с наружной (на рис.5 показано точками). По ободу трубок, со стороны бортика, лобзиком или тонкой шлицовкой протачивают продольные прорези, создающие контактные лепестки. Их число и разме-ры зависят от упругих свойств материала, диаметра и длины поршня. Обычно ширина лепестка бывает около 2-3 мм на Т2 и 3-5 мм на внешней трубке. Эту операцию необходимо делать очень осторожно, чтобы не создать остаточной деформации у будущих лепестков, не оставить заусениц и не поцарапать поверхность бортиков, которая должна всегда оставаться очень гладкой, скользящей. Трубки Т1 и Т2 при этой операции надевают на деревянные болванки нужных диаметров. Затем их соединяют с дном 3 и хорошо пропаивают.

В дне на окружности диаметром (D'+d'')/2 делают два или три отверстия с резьбой М2 или М3 для крепления тяг 7 (см. рис.2,б), необходимых для передвижения поршня. Хорошим материалом для тяг могут быть двухмиллиметровые спицы. Кольцо 8, скрепляющее тяги снаружи системы, имеет центральное отверстие с резьбой М4 или М6, через которое пропускают винт М4 (М6), создающий при вращении поступательное движение поршня. Без такой кинематической системы привода настроиться на нужную частоту "от руки" невозможно. В качестве трубок Т1, Т2 для поршня иногда можно использовать основания охотничьих гильз. Наружный бортик на гильзе необходимо обточить до нужного диаметра. Бортик и нужный внутренний диаметр у трубки Т2 можно получить, срезав тыловую часть гильзы на определенной высоте (см. рис.3,а, линии среза АВ).

Контактный поршень создает короткое замыкание в коаксиальном контуре и механически и электрически. Часто, однако, требуется, чтобы цепь по высокой частоте была замкнута, но в общей цепи не было бы замыкания для источника питания. В таких случаях поршень должен работать как емкость для токов ВЧ и, следовательно, наружные трубки Т1 и Т2 в нем должны быть изолированы друг от друга и одновременно иметь достаточную емкость. Такая конструкция поршня с разделительной емкостью схематически показана на рис.5,б. Поршень мало чем отличается от конструкции, изображенной на рис.4,в. Так как центральная часть в поршне должна быть свободна для прохождения внутреннего проводника d коаксиального контура, то дно 3 и дополнительный диск 4, впаянный на трубку поршня Т2, должны соединяться тремя болтами, расположенными по диаметру Т1+Т2 и быть изолированными друг от друга. Это достигается прокладкой из слюды (0,08-0,1 мм) и тремя втулками из изолирующего материала (оргстекло, эбонит). После сборки узла необходимо проверить изоляцию под высоким напряжением (250-300 В).

Преимуществом коротких поршней является большое перекрытие по диапазону, но они вносят значительные потери, так как контактные лепестки близки к пучности тока, всегда расположенного в резонаторе у короткозамкнутого конца. Для уменьшения потерь все поверхности должны быть гладкими нажим лепестков достаточно твердый, но с соблюдением плавного хода. Хорошо оправдывает себя хромирование или никелировка лепестков поршня.

Скользящий поршень представляет собой легко скользящий по контуру алюминиевый цилиндр, поверхность которого анодирована. Скользящий цилиндр является как бы центрирующей системой контура.

Диэлектрический поршень, так же как и скользящий, заполняет часть пространства внутри резонатора и на этом участке уменьшает волновое сопротивление Zo линии в корень из "эпсилон" раз, т. е.

Конструкции УКВ контуров

где е-диэлектрическая постоянная материала;

Zd и Zo - в омах.

Формула точна в предположении, что диэлектрик заполняет пространство без добавочного воздушного зазора, в действительности уменьшение Zo меньше расчетного.

Линия контура при наличии поршня становится не однородной с сопротивлениями Zo-Zd-Zo (см. рис.6,б), что равноценно внесению в месте поршня некоторой добавочной емкости Сg и, следовательно, понижению рабочей частоты. При перемещении поршня от короткозамкнутого конца контура к открытому (к лампе) в четвертьволновом контуре частота линейно уменьшается на величину, зависящую от е материала и точности изготовления (воздушный зазор). Для поршня из миканекса (е=7-9) длиной 25 мм на частотах от 200 до 700 МГц изменение частоты настройки составляет 30-40%, при этом потери быстро возрастают на участке самых низких частот. Это вызвано тем, что поршень находится у лампы в пучности напряжения, а потери в диэлектрике пропорциональны квадрату напряжения. Этот недостаток несущественен для работы в узких диапазонах частот, а преимущество диэлектрического поршня заключается в отсутствии металлических трущихся -контактов. К сожалению, выбор подходящих материалов, -термостойких, с большими е и легко обрабатываемых - ограничен (миканекс, керамика).

Перекрытие диапазона, которое дают описанные поршни, не всегда может быть использовано, так как наиболее широкий диапазон 430-440 МГц требует относительной перестройки в fмакс -fмин =1,06, т. е. меньше 10%. В этих условиях наиболее простой является настройка сосредоточенной временной емкостью. Один из возможных вариантов такой настройки схематически показан на рис.3,б деталь 9, два других - на рис.7. Во всех случаях переменная добавочная емкость вводится в контур в месте небольшого ВЧ напряжения (по рис.3 и 7,а на конце резонатора), в случае применения конструкции по рис.7,б-на расстояние от короткозамкнутого конца. Этот случай предполагает, что общая длина резонатора равна 3/4 лямбда и лампа включена у открытого конца.

Конструкции УКВ контуров
Рис.7. Настройка сосредоточенной переменной емкостью

Настройка осуществляется изменением расстояния между добавочным диском и центральным проводником коаксиальной системы или в случае необходимости большой перестройки - между двумя дисками (рис.7,а).

Иногда для перестройки в диапазоне (обычно на частотам выше 1 000 МГц) достаточно ввести в полость резонатора только торцовую часть винта, например Мб или М8.

Наиболее простая конструкция показана на рис.7,б. Гайка (М4, М6) надежно крепится на наружной поверхности контура. Винт 2 имеет на конце дополнительную резьбу 3, на которой ввинчиванием снаружи крепится диск 4 конденсатора. Перед сборкой на винт 2 надевают шайбу 5 затем расширяющуюся пружину 6, устраняющую люфт, и снова шайбу 5. Так как обычно приходится использовать только один-два захода винта, то хорошо подогнанная пружина не вносит механических осложнений в настройку.

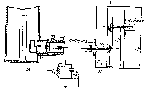
Наиболее просто связь коаксиального контура с нагрузкой или антенной осуществляется через емкость (см. рис.3,б детали 10, 11), при которой элемент связи-штырек с диском - располагается в пучности напряжения. Степень связи регулируется перемещением этого элемента по отношению к среднему проводнику.

В более простом случае коаксиальный разъем с элементом связи пропускается через втулку 12, жестко скрепленную снаружи проводником контура. Необходимая степень связи затем фиксируется винтом, проходящим через втулку 12.

Второй характерный способ связи - через магнитное поле резонатора - осуществляется при помощи индуктивной петли связи, всегда расположенной у короткозамкнутого конца линии (рис.8).

Конструкции УКВ контуров
Рис.8. Способы связи с коаксиальным контуром

Степень связи можно изменить скачком, меняя размеры петли и степень связи поворотом плоскости петли на 90°. Фиксировать нужную степень связи можно стопорным винтом (рис.8,а).

На рис.8,б показано автотрансформаторное включение цепи антенны при помощи общего отрезка коаксиальной линии l1 и цепи сетки с использованием длинной линии l2. Это помогает подобрать наивыгоднейшие условия работы (напри^ер, во входной цепи приемника). Правда, такой подбор у коаксиальной конструкции затруднителен и делается у опытного образца через продольную щель в наружном цилиндре.

Положение отвода для определенного коэффициента трансформации сопротивления К зависит от общей длины lо самого резонатора. Если длина lо равна чистой четверти волны (идеальный случай), то К=10 получается, когда отвод размещен на расстоянии l2=0,215Л/4. Если общая длина lo Равна 0,5Л/4 (сильно укороченная линия), то при отводе l2=0,15Л/4 К равен 10 и т. д.

Связь лампы с высокочастотными контурами

В предыдущих разделах рассматривались условия работы ВЧ контуров, не связанных с лампой, или когда эта связь была чисто схематическая. В действительности на УКВ взаимная связь между этими звеньями очень сильная: лампа вносит в контур не только неоднородность, емкость, но и значительные потери. С другой стороны^ наибольший к. п. д, лампы зависит и от величины резонансного сопротивления контура, и от фазы напряжения, которое создают на электродах внешние, контуры. Чем выше рабочая частота, тем эти связи критичнее.

Выше уже упоминалось о влиянии на внешний контур неоднородности, каковой является подключенная лампа.

Важным звеном конструкции УКВ аппаратуры является переход, или способ подключения лампы к остальной схеме. Необходимо, чтобы этот переход не вносил больших реактивных сопротивлений и потерь во внешнюю цепь. У специальных УКВ ламп, например "маячковых", этот переход уже задан концентрической конструкцией самих выводов применительно к коаксиальным контурам.

Но в диапазонах 144 и 430 МГц часто приходится использовать лампы обычной пальчиковой серии со штырьковыми выводами. Применение ламповой панельки удлиняет эти выводы и вносит значительную неоднородность, особенно заметную на 430 МГц и выше. На этих частотах лучше обходиться без панелек, соединяя лампу непосредственно с контуром каким-либо зажимом.

Во многих УКВ узлах встречаются разделительный конденсатор и сопротивление утечки сетки. От выполнения их, а не от величины емкости часто зависит работа подобных схем. Если на месте разделительного конденсатора в цепь сетки взять керамический конденсатор (типа КДК или КТК и подключить его к сетке лампы через панельку, то в диапазоне 430-440 МГц внешняя индуктивность будет иметь дли ну 50-60 мм.

Так как Л/4 равна примерно 17,5 см, то за счет емкость лампы и возникшей неоднородности действующая длина линии составляет лишь одну треть возможной длины, а это ведет к резкому понижению добротности контура и увеличению обратной связи и рабочего напряжения.

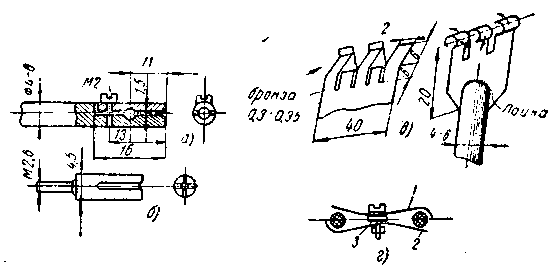
Конструкция разделительного конденсатора Сс для лампы 12C3С (LD1) показана на рис.9. Лампа имеет по два жестких вывода как сетки, так и анода (рис.9,а) и поэтому контур между ними удобно сделать в виде плоской линии из полоски меди шириной 10-12 мм и толщиной 0,8-1,0 мм (деталь 1 на рис.9,б).

Конструкции УКВ контуров
Рис.9. Конструкция разделительного конденсатора

На концах полосок делают по два желобка 2 глубиной 0,5 мм и поверх них накладывают полоску 3 из бронзы толщиной 0,3-0,35 мм, в которой тоже выдавливают по два желобка, и закрепляют на линии двумя тонкими заклепками 4.

После этого лампу 12C3С можно с торцовой стороны ставить в получившиеся зажимы-гнезда. Торцовую часть линии, к которой подсоединяется сетка лампы, отрезают на расстоянии 15 мм и затем присоединяют к линии снова, но через прокладку 5 из слюды. Соединение это проще сделать с помощью двух двухмиллиметровых винтов 6 через изолирующие шайбы 7.

Таким образом, между полосками 1 и 3 образуется конденсатор Сс емкостью 60-80 пФ, причем одновременно используется эластичная система зажимов для подключения лампы. Однородность линии контура не нарушается.

В результате длина внешней линии составляет 125-130 мм, т. е. укорочение по сравнению с Л/4 только на 40-50 мм. Получается такая добротность контура, что генератор, собранный на 430 МГц, работает устойчиво при напряжении 10-15 в.

Лампа, кроме внесения в контур большой собственной емкости, вносит и значительное затухание.

Измерения показывают, что в диапазоне 400-700 МГц у добротного коаксиального контура (диаметр 70 мм, длина 370 мм) с лампой типа ГИ11Б общие относительные потери в процентах распределяются так:

привносимое сопротивление потерь лампы64
контакты поршня контура19
цилиндрические поверхности контура14
торцовые части контура3

Следовательно, больше половины всех потерь создает лампа, затем идут потери от контактного поршня (или места короткого замыкания-пайка) и, наконец, потери, определяемые состоянием цилиндрических поверхностей контура.

Разные типы ламп по-разному шунтируют внешний колебательный контур, понижая его резонансное сопротивление еще до того, как вся система (например, генератор УКВ) нагружается на полную нагрузку.

Парализовать это влияние можно созданием более качественных ВЧ контуров с таким резонансным сопротивлением, чтобы оно после всех нагрузок еще с достаточным запасом обеспечивало оптимальное сопротивление нагрузки Rопт Для генераторной лампы, а также подключением самой лампы толькo к части ВЧ контура по автотрансформаторной схеме.

Литература:

  1. А.Колесников. "Справочник ультракоротковолновика". ДОСААФ, Москва, 1966.

Публикация: Н. Большаков, rf.atnn.ru

Смотрите другие статьи раздела Радиоприем.

Читайте и пишите полезные комментарии к этой статье.

<< Назад

Последние новости науки и техники, новинки электроники:

Канада планирует построить космодром 06.04.2026

Развитие космической инфраструктуры все чаще становится вопросом не только науки и технологий, но и национальной безопасности. Многие государства стремятся получить независимый доступ к космическим запускам, чтобы не зависеть от внешних партнеров и укреплять собственный технологический суверенитет. На этом фоне Канада объявила о запуске масштабного проекта по созданию собственного космодрома. Министр обороны Канады Дэвид Мак-Гинти сообщил, что правительство страны инвестирует 200 млн канадских долларов, что составляет около 150 млн долларов США, в строительство национального космодрома. Эти средства станут частью долгосрочной программы развития суверенных возможностей космических запусков. По словам Мак-Гинти, Министерство обороны подписало 10-летнее соглашение с компанией MLS на сумму 200 млн долларов. В рамках этого контракта планируется строительство стартовой площадки, которая будет использоваться не только военными структурами, включая Министерство обороны и Вооруженные силы ...>>

Обновленные телевизоры Xiaomi S Mini LED TV 2026 06.04.2026

Компания Xiaomi представила обновленную серию телевизоров S Mini LED TV 2026, которая заметно отличается от версии, недавно вышедшей на европейский рынок. Новое поколение ориентировано на расширенные возможности отображения и более гибкую конфигурацию экранов, что делает линейку более универсальной для разных сценариев использования. В обновленной серии Xiaomi S Mini LED TV 2026 предлагается сразу пять диагоналей, начиная от 55 дюймов и заканчивая внушительными 100 дюймами. Флагманская модель оснащена 1920 зонами локального затемнения, способна достигать пиковой яркости до 2000 нит и поддерживает частоту обновления изображения до 288 Гц, что делает ее особенно привлекательной для динамичного контента и игр. Младшая модель в линейке отличается в первую очередь количеством зон локального затемнения, которых здесь 576, однако остальные ключевые характеристики остаются на уровне старших версий. Это позволяет сохранить высокое качество изображения даже в более доступном сегменте, не ж ...>>

Беспилотный грузовой самолет с двигателем AEP100 05.04.2026

Авиационная отрасль стоит перед масштабной задачей перехода к экологически чистым технологиям, и одним из наиболее перспективных направлений считается использование водорода в качестве топлива. Этот элемент рассматривается как потенциальная альтернатива традиционным видам авиационного топлива благодаря своей энергоэффективности и отсутствию углеродных выбросов при использовании. На этом фоне Китай сообщил об успешном испытании беспилотного грузового самолета, оснащенного турбовинтовым двигателем AEP100 мегаваттного класса, работающим на водороде. Это событие стало важным этапом в развитии авиационных технологий, так как позволило протестировать двигатель в реальных условиях полета, а не только в лабораторной среде. Испытательный полет был проведен в субботу, 4 апреля, в городе Чжучжоу, расположенном в китайской провинции Хунань. Именно там впервые в реальных условиях был задействован водородный авиационный двигатель подобной мощности, что дало возможность оценить его стабильность ...>>

Случайная новость из Архива

Открыт шестой вкус 25.04.2025

Как считают специалисты, помимо традиционных пяти вкусов - сладкого, соленого, кислого, горького и умами - существует возможность выделить и шестой вкус. Недавние исследования, проведенные учеными из Университета Южной Калифорнии, открыли новую главу в изучении вкусового восприятия, добавив к известным ароматам еще один, ранее не замеченный.

Этот шестой вкус связан с веществом, называемым хлоридом аммония, которое давно известно своим острым, неприятным вкусом. Исследования показали, что хлорид аммония активирует специальный рецептор в организме, который носит название OTOP1. Этот рецептор является аналогом того, который отвечает за восприятие кислотности. Такое открытие может значительно изменить представление ученых о том, как мы воспринимаем вкус и как химические соединения в пище влияют на наше восприятие.

Исследователи изучали реакцию клеток с белком OTOP1 на воздействие хлорида аммония. Эксперименты подтвердили, что это вещество вызывает такую же реакцию, как и кислота, активируя рецептор. Интересно, что этот процесс наблюдается не только у человека, но и у других видов животных, включая птиц и рыб. Это открытие подсказывает, что восприятие хлорида аммония могло эволюционно развиться как способ защиты, позволяя организму избегать потенциально опасных и токсичных веществ.

Хотя для большинства людей вкус хлорида аммония достаточно неприятен, он все же имеет свою нишу. В некоторых странах, например, в Нидерландах и северной Германии, хлорид аммония добавляют в лакричные конфеты, придавая им характерную резкость и уникальный вкус. Ученые полагают, что вкусовые предпочтения людей могут формироваться под влиянием культурных традиций и пищевых привычек, которые различаются по регионам.

Тем не менее, хлорид аммония не является единственным кандидатом на звание шестого вкуса. В последние годы ученые активно исследуют возможность выделения вкуса для жиров, который называется олеогустус. Этот вкус связан с восприятием окисленных жиров, что, по мнению исследователей, может служить сигналом о порче пищи. Однако, в отличие от хлорида аммония, восприятие олеогустуса не связано с конкретным рецептором, что делает его восприятие менее четким и однозначным.

Необычное открытие о рецепторе OTOP1 и его реакции на хлорид аммония может кардинально изменить подходы к изучению вкусового восприятия. Это исследование подчеркивает, насколько сложным и многогранным может быть процесс восприятия пищи. Открытие нового вкуса и нового механизма его восприятия открывает перед учеными новые горизонты и возможности для дальнейших исследований.

Шестой вкус, пока представленный хлоридом аммония, может стать важным шагом в изучении биологии вкусов. Оно демонстрирует, как сложное взаимодействие химических веществ и рецепторов в нашем организме определяет наши ощущения от пищи.

Другие интересные новости:

▪ Музыка Моцарта поможет уменьшить приступы эпилепсии

▪ Военный беспилотник Loyal Wingman с искусственным интеллектом

▪ ИБП Panduit UPS003024024015 без аккумуляторов

▪ Смоделировано столкновение протонов

▪ Плесени открытый космос нипочем

Лента новостей науки и техники, новинок электроники

 

Интересные материалы Бесплатной технической библиотеки:

▪ раздел сайта Электрику. ПТЭ. Подборка статей

▪ статья Основы эмбриологии. История и суть научного открытия

▪ статья Почему настольный теннис некорректно называть пинг-понгом? Подробный ответ

▪ статья Работник теплицы. Типовая инструкция по охране труда

▪ статья Средства для окраски волос. Простые рецепты и советы

▪ статья Загадки логические

Оставьте свой комментарий к этой статье:

Имя:


E-mail (не обязательно):


Комментарий:





Главная страница | Библиотека | Статьи | Карта сайта | Отзывы о сайте

www.diagram.com.ua

www.diagram.com.ua
2000-2026