Menu Home

Бесплатная техническая библиотека для любителей и профессионалов Бесплатная техническая библиотека


УКВ приемник в пачке Marlboro. Энциклопедия радиоэлектроники и электротехники

Бесплатная техническая библиотека

Энциклопедия радиоэлектроники и электротехники / Радиоприем

Комментарии к статье Комментарии к статье

Одно из несомненных достоинств приемника - возможность приема около десятка популярных радиостанций в диапазоне 65,8...74 МГц или 88...108 МГц. Кроме того, приемник обладает неплохими параметрами: его чувствительность - не хуже 7 мкВ, выходная мощность - более 40 мВт, отношение сигнал/шум - не менее 40 дБ, ток потребления в режиме молчания (при отсутствии принимаемого сигнала) - максимум 10 мА, а потребляемый ток - не более 35 мА. Звуковой излучатель приемника (малогабаритная динамическая головка) воспроизводит сигналы в полосе частот 450...3150 Гц. Источник питания - батарея напряжением 3 В, работоспособность приемника сохраняется при снижении напряжения до 2 В. Если в качестве источника питания использовать два последовательно соединенных элемента A316, они проработают непрерывно 40...50 ч, а с элементами "Varta" - 70...80 ч.

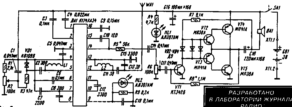
УКВ приемник в пачке Marlboro. Схема приемника
Рис. 1 (нажмите для увеличения)

Основу приемника (рис. 1) составляет многофункциональная микросхема К174ХА34 (DA1), которая представляет собой готовый супергетеродинный УКВ приемник, поскольку содержит и гетеродин, и смеситель, и усилитель ПЧ, и частотный детектор, и предварительный усилитель 3Ч. Кроме того, имеются амплитудный ограничитель и система автоподстройки частоты (АПЧ). Остается лишь подключить навесные элементы да "раскачать", при необходимости, выходной сигнал 3Ч до нужной мощности - это и было осуществлено в радиолаборатории журнала "Радио", причем с максимальным использованием типового включения микросхемы.

С антенны WA1 (ею служит плетеная ручка приемника из многожильного монтажного провода в изоляции) принимаемый сигнал поступает на широкополосный входной колебательный контур L2C11C13, рассчитанный на выбранный диапазон, а с контура - на вход микросхемы (выводы 12, 13). К другому входу микросхемы (выводы 4. 5) подключен контур гетеродина L1C2VD1. Изменением резонансной частоты этого контура настраивают приемник на нужную радиостанцию. Органом настройки в данном случае является варикап VD1. Его емкость изменяют электронным способом, подавая на варикап то или иное постоянное напряжение, снимаемое с движка переменного резистора R2. При этом частота настройки гетеродина превышает частоту сигнала принимаемой радиостанции на 75 кГц - значение промежуточной частоты.

Вся остальная обработка сигналов - смешение, усиление сигнала ПЧ, детектирование, предварительное усиление сигнала 3Ч осуществляется микросхемой. В итоге на выводе 14 появляется сигнал 3Ч амплитудой не менее 100 мВ, который, в принципе, можно подавать на головной телефон сопротивлением не менее 100 Ом. Для получения наибольшего выходного сигнала 3Ч вывод 16 микросхемы соединен с общим проводом через конденсатор С9. а для корректировки предыскажений сигнала ЧМ и обеспечения большей устойчивости работы усилителя между выводами 15 и 14 включен конденсатор С 10, образующий отрицательную обратную связь.

На выводе 9 микросхемы формируется постоянное напряжение, обратно пропорциоиальное уровню несущей частоты. Его можно использовать, например. для индикации настройки приемника на радиостанцию - светодиод HL2, являющийся одновременно индикатором включения приемника, при точной настройке на радиостанцию будет гаснуть. Правда, в данном варианте приемника эта цепь не реализована.

Катушка L1 содержит 12 витков на каркасе диаметром 5 мм, длина намотки 12...16 мм. L2 содержит 7 витков на таком же каркасе, длина намотки 7...10 мм. Провод для обеих катушек - ПЭВ 0,9.

Выходной сигнал 3Ч поступает с микросхемы на переменный резистор регулировки громкости R6, а с его движка - на усилитель 3Ч, выполненный по двухтактной схеме на транзисторах VT1-VT5. Но возможно применение других вариантов усилителей, способных работать на нагрузку сопротивлением 8 Ом при питающем напряжении 2-3 В. Рассмотрим некоторые из них.

УКВ приемник в пачке Marlboro. Схема усилителя
Рис. 2

Более всего этим требованиям удовлетворяет усилитель, выполненный на микросхеме К174УН4А (рис. 2), несмотря на то, что в справочнике на нее приведена нижняя граница питающего напряжения 5,4 В. Тем не менее эксперименты показали, что собранный по приведенной схеме усилитель при напряжении питания 3 В развивает на нагрузке сопротивлением 8 Ом выходную мощность 50...60 мВт и сохраняет работоспособность при снижении напряжения до 2 В. Достоинство усилителя также и в малом токе потребления: в режиме молчания - 3 мА, при максимальной громкости - 40...50 мА. Недостатком усилителя следует признать искажения типа "ступенька", которые становятся заметны при уменьшении питающего напряжения и амплитуды входного сигнала.

Следующим вариантом может быть усилитель 3Ч, выполненный на микросхеме К174УН17, рассчитанной на работу с высокоомными (не менее 30 Ом) стереофоническими головными телефонами. В данном случав вместо телефонов будет работать, например, динамическая головка 0.5ГДШ-1 со звуковой катушкой сопротивлением 50 Ом. При напряжении 2...3 В такой усилитель сможет развивать выходную мощность около 20 мВт, что обеспечит достаточно громкое звучание.

Усилитель 3Ч на микросхеме К174УН14 работает без искажений при минимальном напряжении питания 2,5 В. Недостатком такого усилителя является значительный ток потребления - это необходимая плата за "чистый* и громкий звук. Так, при питающем напряжении 3 В ток покоя составлял 17 мА. При входном сигнале амплитудой 40 мВ выходное напряжение достигало 1 В, потребляемый ток - 40 мА, а выходная мощность на нагрузке сопротивлением 8 Ом - 45 мВт.

Если использовать две микросхемы К174УН14 и включить их по мостовой схеме, то при питающем напряжении 3 В можно добиться выходной мощности 100... 110 мВт на той же нагрузке 8 Ом, но значительно (до 120... 130 мА) возрастет максимальный потребляемый ток, что неприемлемо для малогабаритного приемника.

Опробован и вариант использования микросхемы К174УН20, представляющей собой стереоусилитель для переносной и автомобильной аппаратуры. Она содержит в своем корпусе как бы два микросхемы К174УН14 и имеет несколько лучшие параметры по сравнению с К174УН14 в обычном и мостовом включении. К примеру, нижняя граница питающего напряжения сместилась к 2,2 В, а выходную мощность в мостовом включении 100...110 мВт на нагрузке 8 Ом удалось получить при напряжении 3 В и токе потребления 80...100 мА.

Усилитель 3Ч на микросхеме К174УН7 начинал работать без искажений при питающем напряжении 3,8 В, его выходная мощность на нагрузке сопротивлением 8 Ом составляла 50 мВт при потребляемом токе 35 мА. С таким же напряжением получались хорошие результаты в случае использования операционного усилителя К157УД1, обладающего максимальным выходным током 300 мА.

Многие вопросы при построении усилителей 3Ч для низковольтной миниатюрной аппаратуры снимаются при использовании микросхемы К174УН23 - двухканального усилителя мощности 3Ч с электронной регулировкой громкости. Эта микросхема может работать как в стереофоническом режиме с выходом на головные телефоны, так и в мостовом монофоническом варианте с нагрузкой на низкоомную динамическую головку.

Печатная плата радиоприемника

Автор: Д. Макаров, г. Москва; Публикация: cxem.net

Смотрите другие статьи раздела Радиоприем.

Читайте и пишите полезные комментарии к этой статье.

<< Назад

Последние новости науки и техники, новинки электроники:

Питомцы как стимулятор разума 06.10.2025

Помимо эмоциональной поддержки, домашние питомцы могут оказывать заметное воздействие на когнитивные процессы, особенно у пожилых людей. Новое масштабное исследование показало, что общение с кошками и собаками не просто улучшает настроение - оно действительно способствует замедлению возрастного снижения умственных способностей. Работа проводилась в рамках проекта Survey of Health, Ageing and Retirement in Europe (SHARE), охватывающего период с 2004 по 2022 год. В исследовании приняли участие тысячи европейцев старше 50 лет. Анализ показал, что владельцы домашних животных демонстрируют более устойчивые когнитивные функции по сравнению с теми, кто не держит питомцев. Особенно выражен эффект оказался у владельцев кошек и собак. Согласно данным ученых, владельцы собак дольше сохраняют хорошую память, в то время как хозяева кошек медленнее теряют способность к быстрому речевому взаимодействию. Исследователи связывают это с тем, что ежедневное взаимодействие с животными требует внимани ...>>

Мини-ПК ExpertCenter PN54-S1 06.10.2025

Компания ASUSTeK Computer презентовала новый мини-компьютер ASUS ExpertCenter PN54-S1. Устройство ориентировано на пользователей, которым важно сочетание производительности, энергоэффективности и универсальности - от офисных задач до мультимедийных проектов. В основе ExpertCenter PN54-S1 лежит современная аппаратная платформа AMD Hawk Point, использующая архитектуру Zen 4. Это поколение чипов отличается улучшенным управлением энергопотреблением и повышенной вычислительной мощностью. Новинка доступна в конфигурациях с процессорами Ryzen 7260, Ryzen 5220 и Ryzen 5210, представленных AMD в начале 2025 года. Таким образом, устройство охватывает широкий диапазон задач - от базовых офисных до ресурсоемких вычислений. Корпус мини-ПК выполнен из прочного алюминия и имеет размеры 130&#215;130&#215;34 мм, что делает его практически незаметным на рабочем столе или за монитором. Несмотря на компактность, внутренняя компоновка позволяет установить два модуля оперативной памяти SO-DIMM ...>>

Глазные капли, возвращающие молодость зрению 05.10.2025

С возрастом человеческий глаз постепенно теряет способность четко видеть на близком расстоянии - развивается пресбиопия, или возрастная дальнозоркость. Этот естественный процесс связан с утратой эластичности хрусталика и ослаблением цилиарной мышцы, отвечающей за фокусировку. Миллионы людей по всему миру сталкиваются с необходимостью носить очки для чтения или прибегают к хирургическим методам коррекции. Однако исследователи из Центра передовых исследований пресбиопии в Буэнос-Айресе представили решение, которое может стать удобной и неинвазивной альтернативой - специальные глазные капли, способные улучшать зрение на длительный срок. Разработку возглавила Джованна Беноцци, директор Центра. По ее словам, цель исследования состояла в том, чтобы предоставить пациентам с пресбиопией эффективный и безопасный способ коррекции зрения без хирургического вмешательства. Новые капли, созданные на основе пилокарпина и диклофенака, показали убедительные результаты: уже через час после первого пр ...>>

Случайная новость из Архива

Антропоцентризм 24.01.2016

Термин "антропоцен" вошел в широкое употребление в 2000 г. благодаря голландскому химику, лауреату Нобелевской премии Паулю Крутцену (Paul Crutzen) и американскому биологу Юджину Стермеру (Eugene Stoermer). Этим термином обозначают геологическую эпоху с уровнем человеческой активности, играющей существенную роль в экосистеме Земли. В отличие от других сегментов стратиграфической шкалы с похожими названиями (например, ледникового периода плейстоцена), антропоцен не является официально признанным понятием.

Однако влияние жизнедеятельности человека на Землю стало настолько очевидным, что в Международной комиссии по стратиграфии, являющейся частью Международного союза геологических наук, была создана в рамках подкомиссии по четвертичной стратиграфии рабочая группа по изучению антропоцена. Недавно эта группа опубликовала промежуточный доклад, в котором делается вывод о том, что эра антропоцена действительно наступила, поскольку воздействие человека на окружающую среду будет обнаружено нашими потомками в отложениях и горных породах через миллионы лет.

Впрочем, для того, чтобы сделать антропоцен частью формальной классификации, нужно решить еще несколько вопросов - например, когда началась новая эпоха. Некоторые участники рабочей группы считают, что отсчет надо вести с 1950-х гг., когда началось т.н. "Великое ускорение" - резкий рост населения Земли и потребления ресурсов. Оно совпало с широким распространением "техноматериалов" - алюминия, бетона и пластика. Кроме того, в это десятилетие благодаря испытаниям термоядерного оружия по миру разлетелись радиоактивные элементы, и их наличие будет очевидно наблюдателю через сотни миллионов лет.

Помимо этого для эмпирического подтверждения новой эпохи нужно пробурить пробные скважины, которые показали бы, например, что в осадочных породах озер и океанов содержатся признаки загрязнения окружающей среды в виде сажи от сгорания ископаемых видов топлива. Поскольку собранные образцы должны отражать глобальные, а не только локальные следы человеческой активности, на бурение скважин и сбор образцов могут уйти многие годы.

Другие интересные новости:

▪ Опасности для виноделия

▪ Пора кипятить белье

▪ Два семейства недорогих высокоскоростных контроллеров USB 18.03.2005

▪ Интернет в лифте

▪ Лайки не поднимают настроение

Лента новостей науки и техники, новинок электроники

 

Интересные материалы Бесплатной технической библиотеки:

▪ раздел сайта Электробезопасность, пожаробезопасность. Подборка статей

▪ статья Самый человечный человек. Крылатое выражение

▪ статья Как проводится командное первенство мира по автогонкам? Подробный ответ

▪ статья Увольнение за нарушение в сфере охраны труда

▪ статья Параметрические датчики. Энциклопедия радиоэлектроники и электротехники

▪ статья Ремонт DVB-T2 тюнера Globo GL50. Энциклопедия радиоэлектроники и электротехники

Оставьте свой комментарий к этой статье:

Имя:


E-mail (не обязательно):


Комментарий:





Главная страница | Библиотека | Статьи | Карта сайта | Отзывы о сайте

www.diagram.com.ua

www.diagram.com.ua
2000-2025