Бесплатная техническая библиотека
Конвертер TRAN-C. Энциклопедия радиоэлектроники и электротехники

Энциклопедия радиоэлектроники и электротехники / Радиоприем
Комментарии к статье
Предлагаемый конвертер является первым в серии конвертеров TRAN. На его основе был разработан УКВ конвертер, описанный в [1], и многое, сказанное там, справедливо и для предлагаемого конвертера. Считаю нужным привести лишь дополнительные сведения.
Чувствительность конвертера невысока, что предполагает использование данного конвертера лишь как вспомогательного, служащего для проверки и настройки аппаратуры и для связи на небольшие расстояния. Конвертер довольно широкополосен и позволяет перенести весь двухметровый диапазон на радиовещательный УКВ ЧМ.

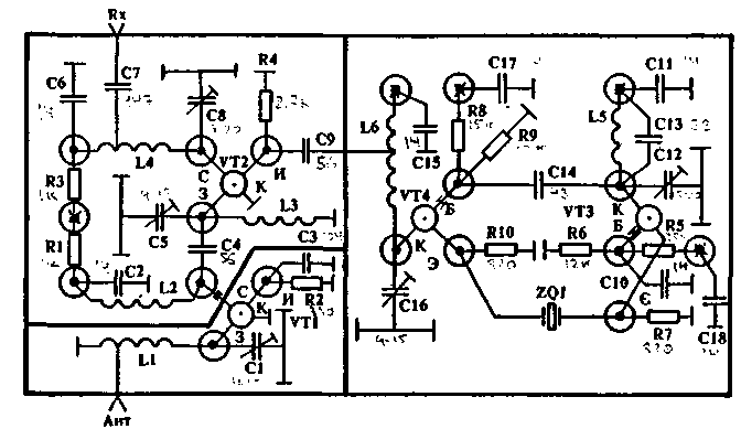
Конвертер (рис.1) предназначен для работы в сети TRAN (Tyumen Radio Amateur Net) на частоте 145,5 МГц совместно с любым радиовещательным ЧМ радиоприемником. Он состоит из УВЧ (VT1), смесителя (VT2) и кварцевого гетеродина (VT3, VT4). Все катушки бескаркасные, намотаны проводом диаметром 0,6 мм на оправке диаметром 6 мм.
LI - 5 витков, отвод от 1,5 от холодного конца; L3 - 5 витков; L4 - 11 витков, отвод от 1,5; L5 - 15 витков (для he - 13 МГц); L6 - 9 витков, отвод от 4,5. На выводы баз VT3 и VT4 на вывод стока VT1 надеты ферритовые колечки. L2 - дроссель ДМ (0.1-100 мкГн).
Монтаж выполненна "пятачках" на плате 110х55 мм из двустороннего фольгированного стеклотекстолита. "Пятачки", отмеченные крестиком, просверлены насквозь, раззенкованы с обратной стороны, через эти отверстия подводится питание.
Конвертер имеет малые габариты, прост по конструкции и может быть изготовлен в минимальный срок. На плате имеется два экрана: один экранирует гетеродин от УРЧ и смесителя, другой - смеситель от УРЧ.
Корпус конвертера может быть выполнен опайкой платы по периметру полосками стеклотекстолита, как это выполнено в [1]. Применение луженой "белой" жести в данном случае приводит к микрофонному эффекту из-за большого рассеяния энергии гетеродина, связанного с небольшой добротностью катушек, отсутствием экранов на катушках и небольшими габаритами устройства.
Простота конструкции и выбранная схема гетеродина, в которой возбуждаются даже малоактивные кварцевые резонаторы, а также отсутствие полосовых фильтров способствуют возникновению побочных каналов приема, например, по зеркальному каналу. Это необходимо учитывать и отнестись к конструкции конвертера с пониманием. Кварцевый резонатор в гетеродине возбуждается на 3-ей гармонике (39 МГц), далее идет удвоение - 78 МГц, затем сигнал подается на смеситель. Частота. гетеродина-может варьироваться в зависимости от наличия кварцевых резонаторов и ПЧ, свободной от радиовещательных станций. Конвертер, в принципе, может быть добавлен и к приемникам УКВ ЧМ радиостанций, работающих на низких частотах - 30-60 МГц (например, серии "Лен", "Гранит"). Вдоль экранов желательно "прошить" плату отрезками луженого провода и пропаять с обеих сторон, как это сделано в [1]. При настройке гетеродина желательно пользоваться резонансным волномером, амплитуда гармоник в данной схеме генератора очень велика, и можно ошибиться.
Литература:
1. В.Беседин. УКВ конвертер на 144 МГц. Радио №9/1991 г. стр.22-25
Автор: В.Беседин (UA9LAQ), Тюмень; Публикация: Н. Большаков, rf.atnn.ru
Смотрите другие статьи раздела Радиоприем.
Читайте и пишите полезные комментарии к этой статье.
<< Назад
Последние новости науки и техники, новинки электроники:
Питомцы как стимулятор разума
06.10.2025
Помимо эмоциональной поддержки, домашние питомцы могут оказывать заметное воздействие на когнитивные процессы, особенно у пожилых людей. Новое масштабное исследование показало, что общение с кошками и собаками не просто улучшает настроение - оно действительно способствует замедлению возрастного снижения умственных способностей.
Работа проводилась в рамках проекта Survey of Health, Ageing and Retirement in Europe (SHARE), охватывающего период с 2004 по 2022 год. В исследовании приняли участие тысячи европейцев старше 50 лет. Анализ показал, что владельцы домашних животных демонстрируют более устойчивые когнитивные функции по сравнению с теми, кто не держит питомцев. Особенно выражен эффект оказался у владельцев кошек и собак.
Согласно данным ученых, владельцы собак дольше сохраняют хорошую память, в то время как хозяева кошек медленнее теряют способность к быстрому речевому взаимодействию. Исследователи связывают это с тем, что ежедневное взаимодействие с животными требует внимани ...>>
Мини-ПК ExpertCenter PN54-S1
06.10.2025
Компания ASUSTeK Computer презентовала новый мини-компьютер ASUS ExpertCenter PN54-S1. Устройство ориентировано на пользователей, которым важно сочетание производительности, энергоэффективности и универсальности - от офисных задач до мультимедийных проектов.
В основе ExpertCenter PN54-S1 лежит современная аппаратная платформа AMD Hawk Point, использующая архитектуру Zen 4. Это поколение чипов отличается улучшенным управлением энергопотреблением и повышенной вычислительной мощностью. Новинка доступна в конфигурациях с процессорами Ryzen 7260, Ryzen 5220 и Ryzen 5210, представленных AMD в начале 2025 года. Таким образом, устройство охватывает широкий диапазон задач - от базовых офисных до ресурсоемких вычислений.
Корпус мини-ПК выполнен из прочного алюминия и имеет размеры 130×130×34 мм, что делает его практически незаметным на рабочем столе или за монитором. Несмотря на компактность, внутренняя компоновка позволяет установить два модуля оперативной памяти SO-DIMM ...>>
Глазные капли, возвращающие молодость зрению
05.10.2025
С возрастом человеческий глаз постепенно теряет способность четко видеть на близком расстоянии - развивается пресбиопия, или возрастная дальнозоркость. Этот естественный процесс связан с утратой эластичности хрусталика и ослаблением цилиарной мышцы, отвечающей за фокусировку. Миллионы людей по всему миру сталкиваются с необходимостью носить очки для чтения или прибегают к хирургическим методам коррекции. Однако исследователи из Центра передовых исследований пресбиопии в Буэнос-Айресе представили решение, которое может стать удобной и неинвазивной альтернативой - специальные глазные капли, способные улучшать зрение на длительный срок.
Разработку возглавила Джованна Беноцци, директор Центра. По ее словам, цель исследования состояла в том, чтобы предоставить пациентам с пресбиопией эффективный и безопасный способ коррекции зрения без хирургического вмешательства. Новые капли, созданные на основе пилокарпина и диклофенака, показали убедительные результаты: уже через час после первого пр ...>>
Случайная новость из Архива Умные очки и вживляемые чипы вместо смартфонов
01.06.2022
Генеральный директор занимающейся производством телекоммуникационного оборудования компании Nokia Пекка Лундмарк (Pekka Lundmark) заявил, что коммерческое использование сетей связи шестого поколения (6G) начнется в 2030 году. При этом он отметил, что к тому времени, вероятнее всего, многие люди откажутся от использования смартфонов, отдав предпочтение носимой электронике и вживляемым чипам.
Во время выступления на Всемирном экономическом форуме в Давосе Лундмарк сообщил, что ожидает начала коммерческого использования 6G примерно в 2030 году. Он отметил, что еще до этого, люди, вероятно, откажутся от смартфонов и перейдут на использование смарт-очков и других подобных устройств, которые смогут подключаться к интернету и взаимодействовать друг с другом. Причем некоторые из таких устройств будут вживляться в тело человека.
"К тому времени смартфон, каким мы его знаем сегодня, определенно перестанет быть самым распространенным интерфейсом. Многие из этих вещей будут встроены непосредственно в наши тела", - заявил Лундмарк.
Он не уточнил, что именно имел ввиду, но, вероятно, речь идет об электронных имплантатах, подобных тем, что разрабатывает компания Илона Маска (Elon Musk) Neuralink. В более широком смысле речь может идти о чипах, предназначенных для вживления в пальцы руки или другие части тела.
Лундмарк также заявил, что к 2030 году появится "цифровой двойник всего", что потребует "огромных вычислительных мощностей". По его словам, для передачи данных в метавселенной сети должны быть в 100 или даже 1000 раз быстрее, чем мы имеем сегодня.
|
Другие интересные новости:
▪ Компьютер читает мысли
▪ Сверхтонкий аккумулятор Glacier Battery 6100 мАч
▪ iPhone предугадывает желания хозяина
▪ Укол без прокола
▪ Клонирования древних животных обсуждается российскими учеными
Лента новостей науки и техники, новинок электроники
Интересные материалы Бесплатной технической библиотеки:
▪ раздел сайта Освещение. Подборка статей
▪ статья Вездеход-внутриход. Советы моделисту
▪ статья Для чего на боевом посту командира дежурных сил РВСН находится кувалда? Подробный ответ
▪ статья Финансовый аналитик. Должностная инструкция
▪ статья Проводниковые материалы. Общие сведения. Энциклопедия радиоэлектроники и электротехники
▪ статья Фильтр КСС - шумоподавитель. Энциклопедия радиоэлектроники и электротехники
Оставьте свой комментарий к этой статье:
Главная страница | Библиотека | Статьи | Карта сайта | Отзывы о сайте

www.diagram.com.ua
2000-2025