Бесплатная техническая библиотека
Приставка для записи телефонных разговоров. Энциклопедия радиоэлектроники и электротехники

Энциклопедия радиоэлектроники и электротехники / Телефония
Комментарии к статье
Иногда возникает необходимость записать телефонный разговор на магнитную ленту, не отвлекаясь для включения магнитофона. Проблема будет решена, если вы соедините магнитофон с телефоном через предлагаемую приставку-автомат.
Описываемое устройство автоматически включает магнитофон для записи разговора и выключает, когда будет положена трубка. При эксплуатации приставки-автомата магнитофон должен быть постоянно включен на запись. Включение и выключение происходят путем коммутации цепи питания. Схема устройства показана на рис.1.
(нажмите для увеличения)
Напряжение телефонной линии приложено к делителю на резисторах R1 и R2. Когда трубка лежит на рычаге, в линии напряжение около 60 В, на выходе элемента DD1.1 низкий уровень, конденсатор С1 разряжен, на выходе DD1.3 также низкий уровень, транзистор VT1 закрыт, реле К1 обесточено, питание магнитофона выключено.
При снятии трубки напряжение в линии падает до 5...12 В, на выходе DD1.1 - высокий уровень, конденсатор С1 начинает заряжаться через резистор R3. При достижении на выводах конденсатора порогового уровня состояние элементов DD1.2 и DD1.3 изменяется на противоположное, в результате чего на выходе DD1.3 появляется высокий уровень. Транзистор VT1 открывается, реле К1 срабатывает. Через замыкающиеся контакты реле поступает питание на магнитофон. Напряжение звуковой частоты с линии подается через цепь C3, С4, VD4, VD5, С5 на линейный вход магнитофона.
По окончании разговора, как только телефонная трубка будет положена на рычаг, напряжение в линии возрастет до 60 В. На выходе элемента DD1.1 появляется низкий уровень. Конденсатор С1 начинает разряжаться через резистор R3 и элемент DD1.1. Как только напряжение на конденсаторе достигнет порогового уровня, элементы DD1.2 и DD1.3 изменят свое состояние. Транзистор VT1 закроется, контакты реле К1 разомкнутся и отключат питание магнитофона.
Поскольку постоянная времени цепи R3C1 значительно больше периода следования серии "наборных" импульсов, при снятии трубки и наборе номера магнитофон остается обесточенным. Однако, если снять трубку и не набирать номер какое-то время, конденсатор С1 успеет зарядиться и магнитофон включится.
Посылка сигнала вызова (80...120 В, 25 Гц) также не изменяет состояния элементов DD1.2 и DD1.3. Диод VD2 ограничивает напряжение на входе элемента DD1.1. Сопротивление конденсаторов C3 и С4 на частоте 25 Гц высоко, поэтому они не шунтируют вызывной сигнал. Диоды VD4 и VD5 ограничивают напряжение на входе магнитофона на уровне 0,6...0,7 В.
Микросхема К561ЛА7 заменима на К561ЛЕ5, а также на аналогичные серий К176 и 564. Диодную сборку КЦ407А (VD1) можно заменить на КЦ402Б, КЦ405Б или четырьмя диодами с допустимым обратным напряжением более 200 В. Транзистор VT1 - структуры n-p-n с допустимой мощностью рассеяния коллектора не менее 150 мВт. Реле К1 - на напряжение срабатывания 5...7 В, например, РЭС10 (паспорт РС4.524.302 или 031-04-02), РЭС15 (паспорт РС4.591.003).
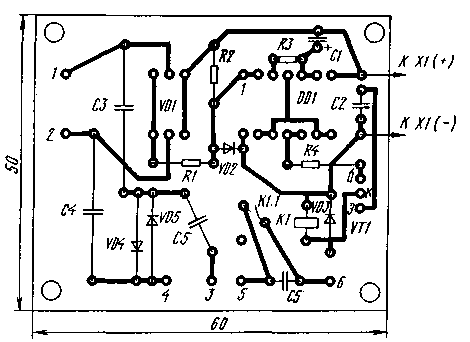
Детали устройства смонтированы на печатной плате из фольгированного стеклотекстолита. Ее чертеж показан на рис. 2.
Налаживание устройства сводится к подбору резисторов R1 и R2 для обеспечения четкого срабатывания элемента DD1.1 при поднятии и опускании трубки. Но сопротивление резистора R1 не должно быть менее 330 кОм. Время задержки срабатывания реле можно, в случае необходимости, изменить подбором резистора R3.
Автор: А.Кургузов, г.Москва; Публикация: Н. Большаков, rf.atnn.ru
Смотрите другие статьи раздела Телефония.
Читайте и пишите полезные комментарии к этой статье.
<< Назад
Последние новости науки и техники, новинки электроники:
Алкоголь может привести к слобоумию
29.11.2025
Проблема влияния алкоголя на стареющий мозг давно вызывает интерес как у врачей, так и у исследователей когнитивного старения. В последние годы стало очевидно, что границы "безопасного" употребления спиртного размываются, и новое крупное исследование, проведенное международной группой ученых, вновь указывает на это. Работы Оксфордского университета, выполненные совместно с исследователями из Йельского и Кембриджского университетов, показывают: даже небольшие дозы алкоголя способны ускорять когнитивный спад.
Команда проанализировала данные более чем 500 тысяч участников из британского биобанка и американской Программы миллионов ветеранов. Дополнительно был выполнен метаанализ сорока пяти исследований, в общей сложности включавших сведения о 2,4 миллиона человек. Такой масштаб позволил оценить не только прямую связь между употреблением спиртного и развитием деменции, но и влияние генетической предрасположенности.
Один из наиболее тревожных результатов касается людей с повышенным ге ...>>
Искусственный мозговой матрикс
29.11.2025
Биоинженерия стремительно выходит за пределы традиционной работы с клетками и биоматериалами. Ученые пытаются не просто выращивать ткани, но и воссоздавать механизмы, управляющие жизнью клеток в реальном организме. Одним из наиболее амбициозных направлений стала разработка искусственных матриксов, которые могли бы подменить природную среду и дать исследователям возможность изучать работу мозга без участия биологических компонентов. На этом фоне работа специалистов Калифорнийского университета в Риверсайде представляет собой особенно заметный шаг вперед.
В центре их исследования - платформа BIPORES, созданная полностью из синтетических веществ. Цель проекта заключалась в попытке смоделировать сложную, многослойную структуру внеклеточного матрикса, который в настоящем мозге обеспечивает питание, связь и организацию нервных клеток. При этом разработчики сознательно отказались от каких-либо белков, традиционно необходимых для прикрепления клеток, таких как ламинин или фибрин. Это решени ...>>
Ранняя Вселенная не была ледяной
28.11.2025
Понимание того, как формировались первые структуры во Вселенной, требует взгляда в эпохи, в которых не существовало ни звезд, ни галактик, ни привычных нам источников света. Научные группы по всему миру пытаются восстановить картину тех времен при помощи слабейших радиосигналов, оставшихся от водорода, который наполнял космос вскоре после Большого взрыва. Новые результаты, полученные на радиотелескопе Murchison Widefield Array в Австралии, неожиданным образом меняют представление об этих ранних этапах.
Сразу после Большого взрыва, произошедшего около 13,8 миллиарда лет назад, пространство стремительно расширялось и остывало. Через несколько сотен тысяч лет образовался нейтральный водород, и началась так называемая эпоха тьмы, когда Вселенная была лишена источников излучения. Лишь значительно позже гравитация собрала газ в плотные области, где зародились первые звезды и ранние черные дыры, а их интенсивное излучение привело к реионизации водорода и окончательному появлению света.
...>>
Случайная новость из Архива Водка из парниковых газов
03.06.2022
Американская компания Air Company представила водку под названием Air Vodka из захваченного углекислого газа. Еще одним компонентом напитка является вода. Это всего лишь один из нескольких новых продуктов, для производства которых используют выбросы CO2, которые можно улавливать в различных отраслях промышленности.
"У нас есть партнеры, с которыми мы работаем. Они улавливают углекислый газ до того, как он попадает в атмосферу. Затем мы используем этот углекислый газ в процессе создания алкоголя. С каждой бутылкой, которую мы производим, удаляется углекислый газ, который бы попал в атмосферу и я думаю, что это очень хорошо для нашей планеты", - говорит Грегори Константин, соучредитель компании Air Company.
Производство спиртных напитков традиционным способом приводит к выбросу углекислого газа в атмосферу. Американские ученые выяснили, что производство одной бутылки алкоголя объемом 0,75 л приводит к выбросу примерно 3 кг углекислого газа в атмосферу.
Создание водки традиционным способом не только приводит к выбросам, но и требует много воды - около 35 литров на один литр дистиллята. В то же время Air Vodka содержит всего два компонента: углекислый газ и воду. По словам Константина, для производства этой водки воды нужно намного меньше.
Алкогольный напиток производится путем выделения водорода и кислорода из воды с помощью электролиза. Затем водород вместе с отдельно захваченным CO2 подают в специальную систему для переработки углерода. При этом образуется этанол, который в сочетании с водой образует разновидность водки.
Но несмотря на пользу для окружающей среды от такого "зеленого" алкогольного производства, особенная водка стоит не дешево - 65 долларов за бутылку, а потому этот напиток можно отнести к люксовым брендам алкоголя.
|
Другие интересные новости:
▪ Как защититься от морских разбойников
▪ Интерфейс для офисной техники
▪ Mean Well HLG-600H - супермощный источник питания для LED освещения
▪ Новая система зеленой энергетики
▪ Игры с квантами энергии
Лента новостей науки и техники, новинок электроники
Интересные материалы Бесплатной технической библиотеки:
▪ раздел сайта Аккумуляторы, зарядные устройства. Подборка статей
▪ статья Газонокосилка ГК-1. Чертеж, описание
▪ статья Кто такие муравьеды? Подробный ответ
▪ статья Функциональный состав телевизоров Chaub Lorenz. Справочник
▪ статья Индикатор радиоактивности. Энциклопедия радиоэлектроники и электротехники
▪ статья Блок питания для Ethernet коммутатора D-Link DES-1005D. Энциклопедия радиоэлектроники и электротехники
Оставьте свой комментарий к этой статье:
Главная страница | Библиотека | Статьи | Карта сайта | Отзывы о сайте

www.diagram.com.ua
2000-2025