Menu Home

Бесплатная техническая библиотека для любителей и профессионалов Бесплатная техническая библиотека


Средневолновый приемник с синхронным детектором. Энциклопедия радиоэлектроники и электротехники

Бесплатная техническая библиотека

Энциклопедия радиоэлектроники и электротехники / Радиоприем

Комментарии к статье Комментарии к статье

При разработке описываемого приемника автор ставил перед собой задачу создания простои конструкции, пригодной для повторения радиолюбителями, делающими первые шаги в освоении синхронного радиоприема. Синхронные приемники, как известно, обладают высокой селективностью и обеспечивают линейное детектирование AM сигналов, чем и объясняется растущий к ним интерес. Само название приемника говорит о том, что прием на него возможен, когда напряжение гетеродина синхронизировано с напряжением сигнала, т. е. частота гетеродина равна частоте сигнала.

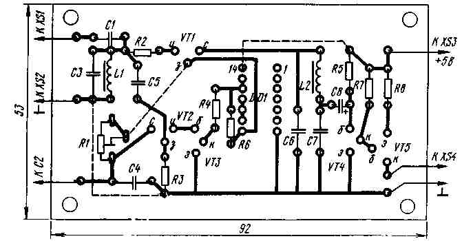
Местный гетеродин синхронизируется, как правило, методом фазовой автоподстройки частоты (ФАПЧ) или методом прямого захвата частоты гетеродина входным сигналом. В данном случае использован второй, как наиболее простой, метод синхронизации. Обратимся к рассмотрению принципиальной схемы приемника, изображенной на рис. 1. На входе установлен широкополосный колебательный контур L1C3, настраиваемый на середину выбранного участка СВ диапазона подбором конденсатора C3. Такое изменение можно реализовать с помощью набора конденсаторов, переключающихся дискретно с помощью переключателя. Смеситель выполнен на транзисторе VT1, входной сигнал на который подается через резистор R2, играющий роль аттенюатора.

Средневолновый приемник с синхронным детектором. Схема приемника

Аттенюатор предназначен для уменьшения перекрестных помех, возникающих при прямом детектировании сильных сигналов вследствие нелинейности канала полевого транзистора. Сопротивление аттенюатора выбирается исходя из конкретных условий приема. Напряжение гетеродина поступает непосредственно на затвор транзистора VT1, работающего в ключевом режиме, функции гетеродина выполняет управляемый RC-генератор, основу которого составляет триггер, Шмитта на цифровой микросхеме DD1. Режим генерации триггера обеспечивается включением в его цепь положительной обратной связи управляемой частотно-зависимой RC-цепи. Частота гетеродина определяется элементами R1, С2, С4 и сопротивлением канала транзистора VT2, на затвор которого через конденсатор CS подается синхронизирующий входной сигнал. При указанных на схеме номиналах элементов диапазон перестройки гетеродина составляет примерно 300 кГц. Средняя частота диапазона устанавливается подстроечным резистором R1.

Плавная перестройка частоты гетеродина по диапазону осуществляется конденсатором переменной емкости С2. Когда частота гетеродина близка к несущей частоте входного сигнала, происходит ее захват и устанавливается равенство частот гетеродина и входного сигнала. При этом смеситель обеспечивает синхронное детектирование входного сигнала. Сигнал звуковой частоты после смесителя выделяется фильтром L2C6C7 с частотой среза 5 кГц. Усилитель ЗЧ приемника выполнен на транзисторах VT4, VT5, включенных по схеме с непосредственной связью. Режим работы обоих транзисторов устанавливается резисторами R5 и R7.

Последний каскад усилителя ЗЧ нагружен на низкоомные телефоны ТА-56М с сопротивлением постоянному току 50 Ом. Резистор R8 ограничивает величину тока, потребляемого последним каскадом усилителя ЗЧ, и обеспечивает отрицательную обратную связь по переменному току, повышающую линейность усиления. Для питания приемника желателен стабилизированный источник, но можно использовать и свежую батарею 3336Л или батарею, составленную из не скольких элементов, обеспечивающих требуемое напряжение питания. Ток, потребляемый приемником, составляет пример но 30 мА. Работоспособность его сохраняется при снижении питающего напряжения до 4 В.

Приемник смонтирован на печатной плате из двустороннего фольгированного стеклотекстолита, размещенной в корпусе, спаянном из того же стеклотекстолита, или в любой другой подходящей металлической коробке. Размеры корпуса выбирают произвольно, ограничиваются они только размерами платы и конденсатора переменной емкости. На боковых стенках корпуса устанавливают гнезда для подключения источника питания, головных телефонов, антенны и заземления. Все транзисторы, кроме выходного, могут быть с любым буквенным индексом. В высокочастотной части приемника применены керамические конденсаторы. Конденсатор переменной емкости можно взять от переносного приемника. Конденсаторы С6, С7 и С8 могут быть любого типа. Резисторы - МЛТ-0,25 или МЛТ-0,125, подстроечный резистор R1 - СПЗ - 16.

Катушка L1 намотана про водом ПЭЛ 0,2 на кольце К7х4х2 из феррита 600НН и содержит 30 витков. При этом частота настройки входного контура, при указанном на схеме номинале конденсатора C3, составляет 1250 кГц. Катушка L2 намотана на кольце К18х9х5 из феррита 2000 НН и содержит 260 витков провода ПЭЛ 0,2. Налаживание приемника начинают с проверки усилителя ЗЧ. При прикосновении отверткой к его входу в телефонах должен быть слышен сильный низкочастотный фон переменного тока, свидетельствующий о нормальной работе усилителя. Дополнительной настройки при использовании исправных деталей он не требует. Проверить наличие генерации и установить диапазон перестройки гетеродина можно, прослушивая его сигнал на стоящем рядом средневолновом радиовещательном приемнике.

Диапазон перестройки гетеродина определяется по основной (самой нижней) частоте его излучения. Изменением сопротивления резистора R1 смещают среднюю частоту диапазона гетеродина так, чтобы в него попал интересующий участок СВ диапазона. После этого подбором конденсатора C3 на среднюю частоту выбранного участка диапазона настраивается входной контур. Его настройку контролируют с помощью генератора стандартных сигналов (ГСС) и высокочастотного милливольтметра или осциллографа. Сигнал с ГСС через резистор сопротивлением 100 кОм подают на контур и по максимуму напряжения на нем определяют его резонансную частоту.

Следует отметить, что полоса пропускания контура, уже включенного в приемник, существен но расширяется из-за шунтирующего действия аттенюатора и смесителя. Это позволяет принимать сигналы нескольких станций, близко расположенных по частоте без пере стройки входной цепи. Несмотря на свою простоту, настроенный приемник имеет высокую чувствительность, позволяющую принимать сигналы весьма удаленных радиостанций на антенну в виде отрезка провода длиной 1 м и подключенном заземлении.

Недостатком приемника является невысокая стабильность частоты его гетеродина, свойственная всем RC-генераторам. Поэтому в процессе приема, особенно слабых сигналов, из-за влияния дестабилизирующих факторов может нарушиться синхронизация и возникнет необходимость подстройки приемника.

Автор: А.Руднев, г. Балашов Саратовской обл.; Публикация: Н. Большаков, rf.atnn.ru

Смотрите другие статьи раздела Радиоприем.

Читайте и пишите полезные комментарии к этой статье.

<< Назад

Последние новости науки и техники, новинки электроники:

Власть является ключевым фактором счастья в отношениях 11.03.2026

Исследования семейных и романтических отношений показывают, что длительное счастье пары зависит не только от привычных факторов, таких как доверие, уважение и преданность, но и от более тонких психологических аспектов. Современные ученые ищут закономерности, которые отличают действительно счастливые пары от остальных, чтобы понять, какие механизмы поддерживают гармонию в отношениях. Группа исследователей из Университета Мартина Лютера в Галле-Виттенберге и Бамбергского университета провела опрос среди 181 пары, которые состояли в совместных отношениях более восьми лет и прожили вместе хотя бы месяц. Участники заполняли анкету, описывая различные аспекты своих отношений, включая распределение обязанностей, эмоциональную поддержку и степень вовлеченности в совместные решения. Анализ данных показал интересный паттерн: пары, где оба партнера ощущали высокий уровень личной власти, оказывались наиболее счастливыми и удовлетворенными. В данном контексте под властью понимается способност ...>>

Защищенная колонка-повербанк Anker Soundcore Boom Go 3i 11.03.2026

Компания Anker представила новую модель линейки Soundcore - колонку Soundcore Boom Go 3i, ориентированную на активное использование на улице. Новинка отличается высокой степенью защиты: корпус соответствует стандарту IP68, что обеспечивает водо- и пыленепроницаемость, а ударопрочный дизайн выдерживает падение с высоты до одного метра. За качество звука отвечает 15-ваттный драйвер, обеспечивающий пик громкости до 92 дБ, а технология BassUp 2.0 усиливает низкие частоты, делая звучание более насыщенным. Колонка обладает автономностью до 24 часов, а LED-индикатор позволяет контролировать уровень заряда батареи. Кроме того, Soundcore Boom Go 3i может выполнять функцию павербанка: согласно внутренним тестам, устройство способно зарядить iPhone 17 с нуля до 40% за один час, что делает его полезным аксессуаром в походах и поездках. Среди функциональных особенностей модели стоит выделить технологию Auracast, которая улучшает подключение и позволяет создавать стереопару из двух колонок ...>>

Раннее воздержание от алкоголя перестраивает мозг и иммунитет 10.03.2026

Алкогольная зависимость - хроническое расстройство с компульсивным употреблением спиртного, которое влияет не только на поведение, но и на функционирование мозга и иммунной системы. Недавние исследования показали, что даже на ранних этапах воздержания организм начинает перестраиваться, открывая новые возможности для терапии зависимости. Ученые сосредоточились на пациентах, находящихся в первые недели абстиненции, и зафиксировали значительные изменения в мозговой активности. С помощью функциональной магнитно-резонансной томографии они выявили перестройку сетей нейронных связей, отвечающих за контроль импульсов и принятие решений. Эти изменения могут быть ключевыми для восстановления самоконтроля и снижения риска рецидива. Одновременно с нейронной перестройкой исследователи наблюдали колебания иммунной системы. В крови повышался уровень цитокинов - сигнальных белков, регулирующих воспалительные процессы. Эти данные свидетельствуют о существовании нейроиммунного взаимодействия, при ...>>

Случайная новость из Архива

ESP32-PICO-D4 - самый миниатюрный WiFi-модуль ESP32 06.06.2019

ESP32-PICO-D4 представляет собой самый миниатюрный WiFi-модуль из всей линейки Espressif ESP32. Модуль выпущен в форм-факторе QFN-микросхемы (SiP) и имеет размеры 7,0х7,0x0,94 мм. ESP32-PICO-D4 построен на базе двухъядерного процессора Xtensa LX6. В ультракомпактном корпусе c 48-выводами размещены кристалл ESP32, кварцевый резонатор, флэш-память 32 мбит (4 мбайт), защитный TVS-диод и LC-элементы обвязки. Модуль не требует подключения внешних элементов, за исключением антенны, что позволяет реализовать на его основе наиболее миниатюрные устройства интернета вещей. Кроме WiFi 802.11 b/g/n модуль поддерживает также Bluetooth v4.2 BR/EDR/BLE.

Выходная мощность модуля достигает 100 мВт. Рекомендованный диапазон питающего напряжения 2,7...3,6 В, при этом источник питания должен быть способен отдавать ток до 0,5 А. Для быстрого знакомства с возможностями модуля можно воспользоваться отладочной платой ESP32-PICO-KIT

Особенности ESP32-PICO-D4:

На базе ESP32, 32-битное ядро Xtensa dual-core LX6 (600 DMIPS).
32 Мбит Flash, 520 кбайт RAM, 448 кбайт ROM, 1 кбит eFuse.
Стандарты 802.11 b/g/ni и Bluetooth v4.2 BR/EDR/BLE.
Размещение всех необходимых компонентов внутри чипа.
Условие начала работы - подача питания и подключение антенны.
Интерфейсы GPIO, UART, SPI, SDIO, I2C, PWM, I2S, IR, АЦП, ЦАП.
Встроенные датчики Холла и температуры.
Корпус 7,0х7.0х0,94 мм, 48-выводов.
Рабочий диапазон температур -40°C... +85°C.

Другие интересные новости:

▪ Тестостерон мешает мужчинам думать

▪ ИС беспроводного питания полезной мощностью 12 Вт

▪ NB3N3020 - новый умножитель частоты

▪ Стандарт телевидения 8K Ultra HD

▪ Умная скакалка Hyrope

Лента новостей науки и техники, новинок электроники

 

Интересные материалы Бесплатной технической библиотеки:

▪ раздел сайта И тут появился изобретатель (ТРИЗ). Подборка статей

▪ статья За красивые глаза. Крылатое выражение

▪ статья Как, по мнению первого консула Наполеона Бонапарта, следует писать конституцию? Подробный ответ

▪ статья Бухгалтер по учету капитальных вложений. Должностная инструкция

▪ статья Определитель номеров проводов кабеля с речевой индикацией. Энциклопедия радиоэлектроники и электротехники

▪ статья Видеопередатчик. Энциклопедия радиоэлектроники и электротехники

Оставьте свой комментарий к этой статье:

Имя:


E-mail (не обязательно):


Комментарий:





Главная страница | Библиотека | Статьи | Карта сайта | Отзывы о сайте

www.diagram.com.ua

www.diagram.com.ua
2000-2026